патент
№ RU 2592582
МПК E21B43/267

СПОСОБ ГИДРАВЛИЧЕСКОГО РАЗРЫВА ПЛАСТА

Авторы:
Зиятдинов Радик Зяузятович Салимов Олег Вячеславович Ганиев Булат Галиевич
Все (4)
Номер заявки
2015136423/03
Дата подачи заявки
27.08.2015
Опубликовано
27.07.2016
Страна
RU
Как управлять
интеллектуальной собственностью
Чертежи 
2
Реферат

Изобретение относится к способам гидравлического разрыва пласта. Способ включает вскрытие пласта вертикальной скважиной, спуск в скважину колонны труб до интервала пласта и проведение гидравлического разрыва пласта - ГРП закачкой жидкости разрыва по колонне труб. При этом на устье скважины нижний конец колонны труб оснащают щелевым перфоратором с обратным клапаном снизу и спускают в скважину в интервал пласта. Производят обратную промывку в полуторократном объеме скважины. Затем посредством щелевого перфоратора с ориентировкой по азимуту максимального напряжения прорезают эксплуатационную колонну скважины и создают в интервале подошвы и кровли пласта по две оппозитные щели диаметром до 1,5 м и высотой щели 0,2-0,25 диаметра скважины. После чего в пласте между щелями через щелевой перфоратор закачкой жидкости разрыва по колонне труб выполняют ГРП с образованием трещин разрыва. После образования трещин разрыва производят крепление трещин сверхлегким проппантом плотностью 1200-1250 кг/м. При этом закачку жидкости разрыва по колонне труб через щелевой перфоратор продолжают и одновременно в заколонное пространство скважины производят закачку сверхлегкого проппанта под давлением, не превышающим допустимое на стенки скважины. По окончании крепления трещин колонну труб с щелевым перфоратором и обратным клапаном извлекают из скважины. Технический результат заключается в повышении качества вторичного вскрытия продуктивного пласта и расширении технологических возможностей реализации способа. 3 ил.

Формула изобретения

Способ гидравлического разрыва пласта, включающий вскрытие пласта вертикальной скважиной, спуск в скважину колонны труб до интервала пласта и проведение гидравлического разрыва пласта - ГРП закачкой жидкости разрыва по колонне труб, отличающийся тем, что на устье скважины нижний конец колонны труб оснащают щелевым перфоратором с обратным клапаном снизу и спускают в скважину в интервал пласта, производят обратную промывку в полуторократном объеме скважины, затем посредством щелевого перфоратора с ориентировкой по азимуту максимального напряжения прорезают эксплуатационную колонну скважины и создают в интервале подошвы и кровли пласта по две оппозитные щели диаметром до 1,5 м и высотой щели 0,2-0,25 диаметра скважины, после чего в пласте между щелями через щелевой перфоратор закачкой жидкости разрыва по колонне труб выполняют ГРП с образованием трещин разрыва, после образования трещин разрыва производят крепление трещин сверхлегким проппантом плотностью 1200-1250 кг/м3, при этом закачку жидкости разрыва по колонне труб через щелевой перфоратор продолжают и одновременно в заколонное пространство скважины производят закачку сверхлегкого проппанта под давлением, не превышающим допустимое на стенки скважины, по окончании крепления трещин колонну труб с щелевым перфоратором и обратным клапаном извлекают из скважины.

Описание

[1]

Изобретение относится к нефтегазодобывающей промышленности, а именно к способам гидравлического разрыва пласта, и способствует повышению продуктивности скважин.

[2]

Известен способ гидравлического разрыва пласта (ГРП) (Справочное руководство по проектированию разработки и эксплуатации нефтяных месторождений. Под ред. Ш.К. Гиматудинова. - М.: Недра, 1983. - С.333-343), заключающийся в первичном вскрытии пласта скважиной, вторичном вскрытии его перфорацией, нагнетании технологической жидкости при давлении, превышающем прочность пород призабойной зоны скважины, и образовании трещины, ее заполнении высокопроницаемым и механически прочным материалом-наполнителем, который уплотняется при снижении давления и сжатии трещины, при этом в скважине с глубиной выше 1500 м образуется вертикальная трещина, распространяющаяся в противоположных направлениях от ствола вглубь пласта и по вертикали, ее заполнение осуществляется текучей смесью технологической жидкости и наполнителя (песок, проппант). Давление начала разрыва пласта значительно превышает предельно допустимое давление в колонне скважины, поэтому продуктивный интервал изолируется пакером, разобщающим кольцевое пространство с низким давлением, сообщающиеся насосно-компрессорные трубы (НКТ) и забой с высоким давлением, поэтому создаваемая трещина проходит через продуктивный пласт и служит основным дренирующим пласт каналом.

[3]

Недостатками данного способа являются:

[4]

- во-первых, невозможность управления напряженным состоянием в прискважинной зоне, поскольку горные породы под действием сжимающих сил находятся в напряженном состоянии, вследствие чего поры в породе продуктивного пласта сжимаются и проницаемость продуктивного пласта снижается;

[5]

- во-вторых, невозможность создания более одной трещины;

[6]

- в-третьих, сложность достижения равномерного заполнения трещины, неизбежность ее сужения при снижении давления и сжатии.

[7]

Также известен способ гидравлического разрыва пласта (патент RU №2311528, МПК Е21В 43/26, опубл. 27.11.2007, бюл. №33), включающий вскрытие пласта вертикальной или наклонной скважиной, размещение в ней в заданном интервале пласта гидромониторного инструмента с серией струйных насадок, закачку рабочей жидкости через струйные насадки гидромониторного инструмента для образования каверн в пласте, последующий разрыв пласта из каверн за счет давления торможения в них струи, при этом используют гидромониторный инструмент с серией струйных насадок, расположенных вдоль инструмента в две линии с фазировкой 180° и расстоянием между насадками в линии не более двух диаметров обсадной колонны, гидромониторный инструмент поворачивают на заданный угол для изменения направления развития каждой последующей трещины, при этом трещины образуются при давлении в обсадной колонне ниже бокового горного давления, а в качестве рабочей жидкости используют жидкость, родственную пластовой жидкости.

[8]

Недостатками способа являются:

[9]

- во-первых, невозможность управления напряженным состоянием в прискважинной зоне, поскольку горные породы под действием сжимающих сил находятся в напряженном состоянии, вследствие чего поры в породе продуктивного пласта сжимаются и проницаемость продуктивного пласта снижается;

[10]

- во-вторых, низкое качество вскрытия пласта вследствие его вторичной кольматации при образовании каверн в пласте струйными насадками гидромониторного инструмента без предварительной промывки скважины;

[11]

- в-третьих, низкая надежность ГРП, связанная с тем, что в процессе его проведения происходит неравномерное развитие двух трещин, что обусловлено наличием струйных насадок, расположенных вдоль инструмента в две линии с фазировкой 180°, это приводит к тому, что трещина преимущественно будет развиваться только в одном из направлений по пути наименьшего сопротивления, а также в процессе проведения ГРП в вертикальной скважине происходит растяжение колонны труб, обусловленное отсутствием пакера в скважине.

[12]

Наиболее близким по технической сущности и достигаемому результату является способ гидравлического разрыва пласта (патент RU №2538009, МПК Е21В 43/267, опубл. 10.01.2015 г., бюл. №1), включающий вскрытие пласта вертикальной скважиной, спуск в скважину на колонне труб гидромониторного инструмента с четным количеством струйных насадок и размещение его в заданном интервале пласта, закачку рабочей жидкости через струйные насадки гидромониторного инструмента для прорезания эксплуатационной колонны в скважине и образования каверн в пласте, последующий разрыв пласта из каверн за счет давления торможения в них струи, при этом используют гидромониторный инструмент с серией струйных насадок, расположенных вдоль инструмента с расстоянием между насадками в линии не более двух диаметров обсадной колонны, гидромониторный инструмент поворачивают на заданный угол для изменения направления развития каждой последующей трещины, при этом трещины образуют при давлении нагнетания рабочей жидкости в обсадной колонне ниже бокового горного давления, перед спуском колонны труб в скважину на нижний конец гидромониторного инструмента устанавливают поворотное устройство и механический пакер, спускают колонну труб в скважину до тех пор, пока гидромониторная насадка не разместится напротив заданного интервала пласта, подлежащего гидравлическому разрыву, производят посадку механического пакера, определяют объем рабочей жидкости для создания и развития трещин, производят закачку рабочей жидкости по колонне труб через струйные насадки гидромониторного инструмента для образования каверн в пласте, при этом с целью компенсации утечек и расклинивания трещин в пласте в процессе гидравлического разрыва пласта применяют кислоту в объеме, равном 20% от объема рабочей жидкости, производят закачку рабочей жидкости по колонне труб через гидромониторный инструмент в каверну до создания трещины разрыва, после чего в заколонное пространство скважины начинают закачивать кислоту с целью компенсации утечек и расклинивания трещины, при этом закачку жидкости по колонне труб продолжают, при этом давление закачки кислоты в заколонное пространство скважины составляет 85% от давления, создаваемого в колонне труб в процессе развития трещины, по окончании развития трещины и расклинивания трещины в одном направлении приподнимают колонну труб на 1 м, поворачивают колонну труб на угол, соответствующий направлению формирования следующей трещины, и опускают, затем повторяют технологические операции, начиная с закачки жидкости через струйные насадки гидромониторного инструмента для образования каверн в пласте, количество поворотов колонны труб соответствует количеству направлений трещин, создаваемых в данном интервале пласта.

[13]

Недостатками данного способа являются:

[14]

- во-первых, невозможность управления напряженным состоянием в прискважинной зоне, поскольку горные породы под действием сжимающих сил находятся в напряженном состоянии, вследствие чего поры в породе продуктивного пласта сжимаются и проницаемость продуктивного пласта снижается;

[15]

- во-вторых, низкое качество вскрытия пласта вследствие его вторичной кольматации при образовании каверн в пласте струйными насадками гидромониторного инструмента без предварительной промывки скважины;

[16]

- в-третьих, ограниченные технологические возможности реализации способа (только в карбонатных коллекторах), поскольку невозможно закрепить образованные трещины проппантом.

[17]

Техническими задачами предложения являются создание условий контроля управления напряженным состоянием в прискважинной зоне, повышение качества вторичного вскрытия продуктивного пласта и расширение технологических возможностей реализации способа.

[18]

Поставленные задачи решаются способом гидравлического разрыва пласта - ГРП, включающим вскрытие пласта вертикальной скважиной, спуск в скважину колонны труб до интервала пласта, прорезание эксплуатационной колонны скважины и проведение гидравлического разрыва пласта закачкой жидкости разрыва по колонне труб.

[19]

Новым является то, что на устье скважины нижний конец колонны труб оснащают щелевым перфоратором с обратным клапаном снизу и спускают в скважину в интервал пласта, производят обратную промывку в полуторократном объеме скважины, затем посредством щелевого перфоратора с ориентировкой по азимуту максимального напряжения прорезают эксплуатационную колонну скважины и создают в интервале подошвы и кровли пласта по две оппозитные щели диаметром до 1,5 м и высотой щели 0,2-0,25 диаметра скважины, после чего в пласте между щелями через щелевой перфоратор закачкой жидкости разрыва по колонне труб выполняют ГРП с образованием трещин разрыва, после образования трещин разрыва производят крепление трещин сверхлегким проппантом плотностью 1200-1250 кг/м3, при этом закачку жидкости разрыва по колонне труб через щелевой перфоратор продолжают и одновременно в заколонное пространство скважины производят закачку сверхлегкого проппанта под давлением, не превышающим допустимое на стенки скважины, по окончании крепления трещин колонну труб с щелевым перфоратором и обратным клапаном извлекают из скважины.

[20]

На фиг. 1 схематично изображен предлагаемый способ в процессе выполнения оппозитных щелей с помощью щелевого перфоратора.

[21]

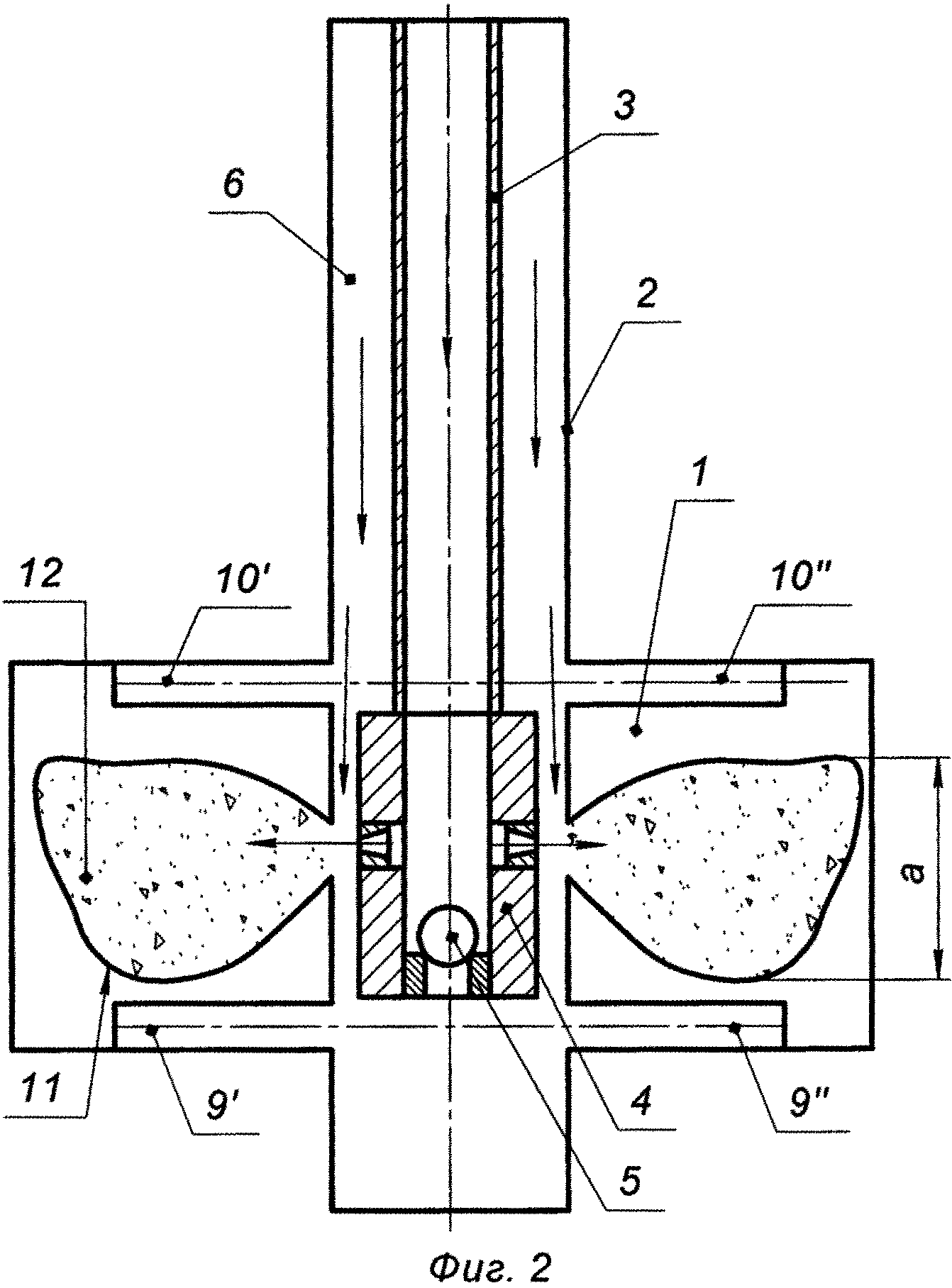
На фиг. 2 схематично изображен предлагаемый способ в процессе проведения ГРП посредством щелевого перфоратора.

[22]

На фиг. 3 схематично изображены оппозитные щели, выполненные в интервале подошвы и кровли пласта.

[23]

Предлагаемый способ реализуют следующим образом.

[24]

Вскрывают продуктивный пласт 1 вертикальной скважиной 2 (см. фиг. 1). На устье скважины 2 нижний конец колонны труб 3 оснащают щелевым перфоратором 4 с обратным клапаном 5 снизу и спускают в скважину 2 в интервал пласта 1.

[25]

Производят обратную промывку скважины в полуторократном объеме, например, 25 м3, при этом подачу промывочной жидкости производят с устья в заколонное пространство 6 скважины 2, а подъем промывочной жидкости через обратный клапан 5 и щелевой перфоратор 4 по колонне труб 3.

[26]

Обратная промывка скважины, проводимая непосредственно перед щелевой перфорацией, позволяет исключить вторичную кольматацию пласта в процессе щелевой перфорации, что исключает ухудшение коллекторских свойств пласта в призабойной зоне.

[27]

Посредством щелевого перфоратора 4 с ориентировкой по азимуту максимального напряжения - σмax прорезают эксплуатационную колонну скважины 2 и создают в интервале подошвы 7 и кровли 8 пласта 1 по две оппозитные (диаметрально противоположно расположенные) щели 9′ и 9′′, а также 10′ и 10′′ соответственно диаметром D до 1,5 м (см. фиг. 3) и высотой щели d2=(0,2-0,25)·d1, где d1 - диаметр скважины 2 (см. фиг. 1).

[28]

Оппозитные щели 9′, 9′′ и 10′, 10′′ создают путем одновременной подачи жидкости в колонну труб 3 и реверсивным угловым вращением с устья скважины 2 колонны труб 3 с щелевым перфоратором 4, оснащенным двумя диаметрально противоположно размещенными насадками (на фиг. 1 и 2 показано условно), на расчетный угол, например, 150° (см. фиг. 3) с угловой скоростью 5-10 об/мин.

[29]

В качестве щелевого перфоратора применяют любое известное устройство, обеспечивающее прорезание эксплуатационной колонны скважины 2 с последующим созданием щелей 9′ и 9′′, а также 10′ и 10′′ в породе пласта 1 под действием давления жидкости до диаметра D=1,5 м (см. фиг. 1 и 3) и высотой щели d2=(0,2-0,25)·d1.

[30]

Геометрия каждой щели определяется в зависимости от геологических условий и направления максимального напряжений - σмах до вскрытия пласта 1 опытным путем.

[31]

При одновременном формировании двух диаметрально расположенных щелей 9′, 9′′ и 10′, 10′′ снимаются кольцевые сжимающие напряжения металла эксплуатационной колонны скважины 2, что полностью исключает возможность смыкания сформированных щелей.

[32]

Создание параллельных по отношению друг к другу двух щелей 9′, 9′′ и 10′, 10′′ приводит к перераспределению напряжений, а именно к трансформации сжимающих сил в растягивающие, вследствие чего поры в породе продуктивного пласта в прискважинной зоне раскрываются и проницаемость продуктивного пласта увеличивается.

[33]

Проведение ГРП в пласте 1 между щелями 9′, 9′′ и 10′, 10′′ приводит как к увеличению производительности скважины, так и продолжительности эффекта повышения продуктивности скважины от щелевой разгрузки пласта, также увеличивается коэффициент проницаемости пласта за счет изменения величины и направления касательных напряжений в прискважинной зоне. Кроме того, за счет создания щелей в прискважинной зоне увеличивается коэффициент гидродинамического совершенства скважины.

[34]

Производят обратную промывку скважины от заколонного кольматанта, осевшего в скважине после создания щелей 9′, 9′′ и 10′, 10′′, например, в двукратном объеме, равном 33 м3, при этом подачу промывочной жидкости производят с устья в межколонное пространство 6 скважины 2, а подъем промывочной жидкости через обратный клапан 5 и щелевой перфоратор 4 по колонне труб 3.

[35]

Далее в пласте 1 между щелями 9′, 9′′ и 10′, 10′′ (см. фиг. 2) через щелевой перфоратор 4 закачкой жидкости разрыва по колонне труб 3 выполняют ГРП с образованием трещин разрыва 11. Подачей жидкости разрыва в колонну НКТ 3 через насадки щелевого перфоратора 4 прорезают эксплуатационную колонну и образуют трещины разрыва 11 в направлении максимального напряжения - σмах. После образования трещин разрыва 11 производят крепление трещин 11 проппантом 12. В качестве проппанта используют сверхлегкий проппант плотностью 1200-1250 кг/м3.

[36]

Как показали исследования, проводимость частичного монослоя сверхлегкого проппанта плотностью 1200-1250 кг/м3 превосходит проводимость пяти слоев кварцевого песка 20/40 меш (фракционный состав песка). Данный факт позволяет установить, что при закачке гораздо меньших объемов сверхлегких проппантов можно создать трещину с большей проводимостью, чем если бы в качестве проппанта использовался кварцевый песок. Меньшие объемы закачки сверхлегкого проппанта для образования в трещине структуры частичного монослоя позволяют сэкономить на реагентах, необходимых для проведения гидроразрыва, снизить скорость закачки, сократить продолжительность проведения работ.

[37]

Закачку жидкости разрыва по колонне труб 3 через щелевой перфоратор 4 продолжают и одновременно в заколонное пространство 6 скважины 2 производят закачку проппанта под давлением, не превышающим допустимое на стенки скважины, например, 9,0 МПа.

[38]

После проведения ГРП с образованием трещин разрыва 11 и заполнения их сверхлегким проппантом 12 между щелями 9′, 9′′ и 10′, 10′′ происходит увеличение производительности скважины и продолжительности эффекта от ГРП, что связано с щелевой разгрузкой пласта 1 в прискважинной зоне, а также увеличивается коэффициент проницаемости пласта 1 за счет изменения величины и направления касательных напряжений в прискважинной зоне.

[39]

Кроме того, за счет создания щелей 9′, 9′′ и 10′, 10′′ в прискважинной зоне увеличивается коэффициент гидродинамического совершенства скважины.

[40]

По окончании крепления трещин колонну труб 3 с щелевым перфоратором 4 и обратным клапаном 5 извлекают из скважины 2.

[41]

Предлагаемый способ ГРП позволяет:

[42]

- управлять напряженным состоянием в прискважинной зоне;

[43]

- повысить качество вторичного вскрытия продуктивного пласта;

[44]

- расширить технологические возможности реализации способа.

Как компенсировать расходы
на инновационную разработку
Похожие патенты