Изобретение относится к вакуумной установке пиролиза метана. Установка содержит вакуумную рабочую камеру, соединенную линией откачки с механическим вакуумным насосом. При этом в линию откачки между механическим вакуумным насосом и вакуумной рабочей камерой установлен уравнительный вакуумный бак, разделенный герметичной перегородкой на две равные части. Нижняя часть уравнительного вакуумного бака соединена с вакуумной рабочей камерой посредством вакуумного трубопровода, а с другой стороны соединена через вакуумный клапан с механическим вакуумным насосом. Верхняя часть уравнительного вакуумного бака соединена через вакуумный клапан с вакуумным насосом, а с другой стороны соединена с вакуумной рабочей камерой посредством вакуумного трубопровода, в котором герметично установлена упругая мембрана, соединенная штоком с подвижным поршнем, корпус которого снабжен сквозными осевыми каналами. На внешней цилиндрической поверхности установлены два вакуумных кольцевых уплотнения, пространство между которыми соединено с вакуумной рабочей камерой сквозными каналами. Технический результат заключается в повышении безопасности и точности поддержания заданного рабочего давления в процессе пиролиза метана в вакуумной рабочей камере и качества выпускаемой продукции. 4 з.п. ф-лы, 2 ил.
1. Вакуумная установка пиролиза метана, содержащая вакуумную рабочую камеру, соединенную линией откачки с механическим вакуумным насосом, отличающаяся тем, что в линию откачки между механическим вакуумным насосом и вакуумной рабочей камерой установлен уравнительный вакуумный бак, разделенный герметичной перегородкой на две равные части, объем каждой из которых составляет не менее 2. Вакуумная установка по п.1, отличающаяся тем, что нижняя и верхняя части уравнительного вакуумного бака соединены с механическим вакуумным насосом посредством вакуумных трубопроводов разного сечения. 3. Вакуумная установка по п.1, отличающаяся тем, что вакуумная рабочая камера содержит нагреватели. 4. Вакуумная установка по п.3, отличающаяся тем, что нагреватели подключены к блоку регулирования и поддержания температуры. 5. Вакуумная установка по п.1, отличающаяся тем, что вакуумные клапаны имеют ручной тип регулирования.
от объема вакуумной рабочей камеры, при этом нижняя часть уравнительного вакуумного бака соединена с вакуумной рабочей камерой посредством вакуумного трубопровода, а с другой стороны соединена через вакуумный клапан с механическим вакуумным насосом, верхняя часть уравнительного вакуумного бака соединена через вакуумный клапан с вакуумным насосом, а с другой стороны соединена с вакуумной рабочей камерой посредством вакуумного трубопровода, в котором герметично установлена упругая мембрана, соединенная штоком с подвижным поршнем, корпус которого снабжен сквозными осевыми каналами, а на внешней цилиндрической поверхности установлены два вакуумных кольцевых уплотнения, пространство между которыми соединено с вакуумной рабочей камерой сквозными каналами, выполненными в корпусе указанного вакуумного трубопровода.
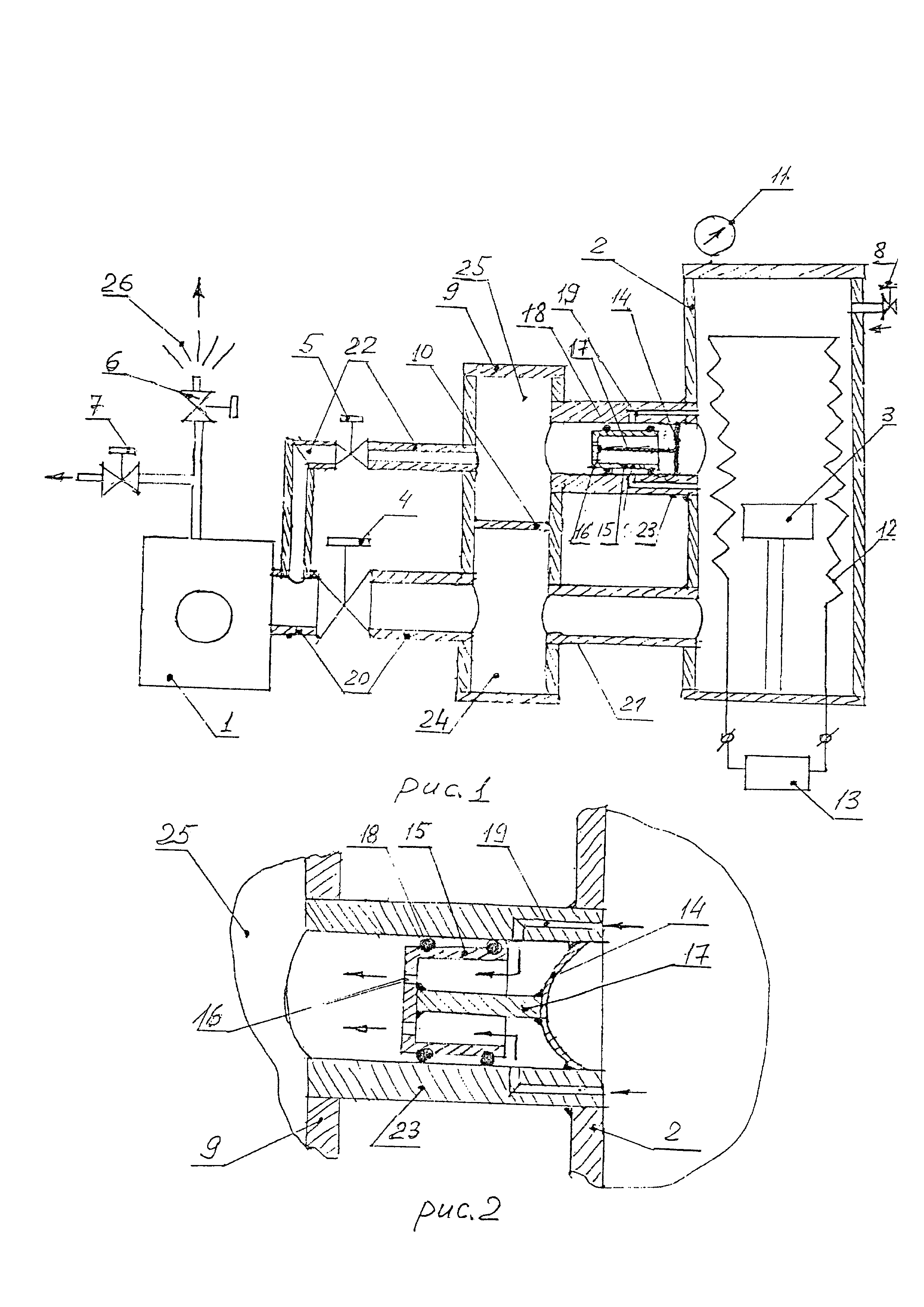
Изобретение относится к области машиностроения, а именно к вакуумным установкам пиролиза метана, предназначенных для получения изделий из углерод-углеродных композитных материалов путем пиролитического разложения магистрального природного газа (метана - СН4) в вакууме. Из уровня техники известна вакуумная установка пиролиза для получения изделий из углерод-углеродных композиционных материалов, выбранная за наиболее близкий аналог (прототип) (патент РФ №2016843, дата публикации 30.07.1994). Установка содержит вакуумную рабочую камеру, соединенную линией откачки с вакуумным насосом. В вакуумной рабочей камере установлены нагреватели. Недостатком прототипа является сложность устройства в целом. Технической проблемой, на решение которой направлено заявленное изобретение является появление избыточного давления в процессе пиролиза, которое приводит к выпадению сажи на поверхность изделия из композита, что значительно ухудшает его качество и увеличивает брак. Технический результат заключается в повышение безопасности и точности поддержания заданного рабочего давления в процессе пиролиза метана в вакуумной рабочей камере и качества выпускаемой продукции за счет исключения выпадения сажи на ее поверхность. Технический результат достигается тем, что вакуумная установка пиролиза метана, содержит вакуумную рабочую камеру, соединенную линией откачки с механическим вакуумным насосом. При этом в линию откачки между механическим вакуумным насосом и вакуумной рабочей камерой установлен уравнительный вакуумный бак, разделенный герметичной перегородкой на две равные части, объем каждой из которых составляет не менее Технический результат достигается также тем, что нижняя и верхняя части уравнительного вакуумного бака соединены с механическим вакуумным насосом посредством вакуумных трубопроводов разного сечения. Технический результат достигается также тем, что вакуумная рабочая камера содержит нагреватели, которые подключены к блоку регулирования и поддержания температуры. Технический результат достигается также тем, что вакуумные клапана имеют ручной (механически) тип регулирования. Сущность заявленного изобретения поясняется следующими иллюстрациями: - на фиг. 1 вакуумная установка графитизации пиролиза природного газа (метана CH4); - на фиг. 2 механизм сброса избыточного давления из объема рабочей камеры 2. На иллюстрациях обозначены следующие позиции: механический вакуумный насос 1; вакуумная рабочая камера 2; изделие 3; вакуумные клапана 4, 5, 6, 7; газовый вентиль 8; уравнительный вакуумный бак 9; перегородка 10; вакуумметр 11; нагреватели 12; блок регулирования и поддержания температуры 13; упругая мембрана 14; поршень 15; каналы в поршне 16; шток 17; кольцевые вакуумные уплотнения 18; сквозные каналы 19; вакуумные трубопроводы 20, 21, 22, 23; нижняя часть уравнительного вакуумного бака 24; верхняя часть уравнительного вакуумного бака 25; факел сжигания водорода 26. В вакуумной рабочей камере 2 размещается изделие 3 и нагреватели 12, которые подключены к блоку регулирования и поддержания температуры 13. Уравнительный вакуумный бак 9 герметично разделен перегородкой 10 на две равные части - нижнюю часть 24 и верхнюю часть 25, объем каждой из которых составляет не менее Вакуумная установка пиролиза работает следующим образом. Предварительная откачка воздуха из объемов вакуумной системы осуществляется механическим вакуумным насосом 1 при полностью открытых вакуумных клапанах 4, 5, 7 до предельного остаточного давления ≈10-3 мм.рт.ст. Подача метана в вакуумную рабочую камеру 2 с расходом 50 л/мин., обеспечивается системой напуска газа, включающей в себя расходомер (ротаметр) и ручной газовый вентиль 8. Рабочее давление в вакуумной рабочей камере 2 устанавливается с помощью регулировки газового вентиля 8 при открытых вакуумных клапанах 4, 5, 7. Температура процесса пиролиза метана в вакуумной рабочей камере 2 в диапазоне 980°С±10°С обеспечивается за счет нагревателей ленточного типа, выполненных из углерод-углеродного композитного материала и блока регулирования и поддержания температуры 13. В процессе пиролиза при рабочем давлении 30 мм.рт.ст и температуре 980°С метан разлагается на газообразный водород и углерод, который кристаллизуется из газовой фазы на твердой поверхности изделия из композита, образуя пироуглерод, а водород и остатки метана откачиваются механическим вакуумным насосом 1 и сжигаются, при открытом вакуумном клапане 6 и закрытом вакуумном клапане 7. Поддержание рабочего давления метана в вакуумной рабочей камере 2 в диапазоне 30±5 мм.рт.ст. и сглаживание его пульсаций во время процесса пиролиза осуществляется с помощью механического вакуумного насоса 1, обеспечивающего поддержание давления ≈1 мм.рт.ст. в объеме нижней части 24 уравнительного вакуумного бака 9. Возникающее во время процесса пиролиза резкие всплески давления, превышающие номинальное рабочее давление на десятки мм.рт.ст. и выше, устраняются с помощью механизма его быстрого сброса из вакуумной рабочей камеры 2 в верхнюю часть 25 уравнительного бака 9, давление в котором поддерживается механическим вакуумным насосом 1 на уровне ≈10-3 мм.рт.ст. Избыточное давление, возникающее в рабочей камере 9 деформирует упругую тонкостенную мембрану 14 с прикрепленными к ней штоком 17, который толкает поршень 15 по трубопроводу 23 в сторону верхней части 25 уравнительного вакуумного бака 9, имеющего значительно меньшее давление ≈10-3 мм.рт.ст. За счет возникшего перепада давления перемещение поршня 15 будет происходить до выхода полости между кольцевыми уплотнениями 18 из соединения (совмещения) со сквозными каналами 19, при этом избыточный газ через сквозные каналы 19 перетечет во внутреннюю полость поршня 15 и через сквозные каналы 16 в верхнюю часть 25 уравнительного вакуумного бака 9. После сброса избыточного давления упругая мембрана 14 за счет сил упругости вернется в исходное положение. Величина деформации упругой мембраны 14 зависит от величины перепада давления между вакуумной рабочей камерой 2 и верхней части 25 уравнительного вакуумного бака 9 и определяется расчетным экспериментальным путем. По окончанию процесса пиролиза нагрев печи выключается, подача метана прекращается закрытием газового вентиля 8. Вакуумный клапан 7 закрывается и открывается вакуумный клапан 6, происходит охлаждение изделия с одновременной вакуумной откачкой рабочей камеры 2. Преимущество перед другими вакуумными установками пиролиза: 1. Повышение качества и экономичность выпускаемых изделий из композита; 2. Повышение точности поддержания давления газа в вакуумной рабочей камере; 3. Повышение безопасности из-за отсутствия образования сажи в вакуумной рабочей камере; 4. Отсутствие электроавтоматики при поддержании номинального рабочего давления в рабочей камере.
