Изобретение относится к области электротехники и может быть использовано в частотно-регулируемом электроприводе штангового глубинного насоса с асинхронным двигателем, подключенным к силовой сети через преобразователь частоты. Техническим результатом является уменьшение установленной мощности асинхронного двигателя и преобразователя частоты за счет использования кинетической энергии неуравновешенных масс механизма штангового глубинного насоса (станок-качалка), которые приводятся в движение двигателем посредством кривошипно-шатунного механизма. В способе регулирования скорости асинхронного двигателя уменьшается потребление энергии за счет реализации возможности управления скоростью вращения асинхронного двигателя по предлагаемому закону посредством специального вычислительного устройства. 2 ил.
Способ управления частотно-регулируемым электроприводом штангового глубинного насоса, при котором асинхронный двигатель, получающий питание от преобразователя частоты, приводит в движение механизм штангового глубинного насоса, а для регулирования скорости асинхронного двигателя применяют вычислительное устройство, использующее сигнал с датчика положения штанги насоса и выдающее на преобразователь частоты управляющий сигнал, устанавливающий заданную скорость ωзад вращения асинхронного двигателя, отличающийся тем, что сигнал с датчика положения штанги насоса используют вычислительным устройством для определения направления движения штанги насоса, а сигнал управления скоростью, подаваемый с выхода вычислительного устройства на вход преобразователя частоты, используют для уменьшения или увеличения заданной скорости вращения двигателя при подъеме или опускании штанги согласно следующим уравнениям: при подъеме штанги - ωзад = ωmax - ε⋅t1, при опускании штанги - ωзад = ωmin + ε⋅t2, где ωmax - максимальное значение заданной скорости вращения асинхронного двигателя, устанавливаемое из технологических условий работы насоса; ωmin - минимальное значение заданной скорости вращения асинхронного двигателя, устанавливаемое с целью уменьшения мощности применяемого электропривода и допустимое из технологических условий работы насоса; t1 - время, отсчитываемое от момента начала подъема штанги, t2 - время, отсчитываемое от момента начала опускания штанги; i - передаточное число редуктора между осями двигателя и кривошипа.
- темп, с которым должна изменяться скорость вращения асинхронного двигателя;
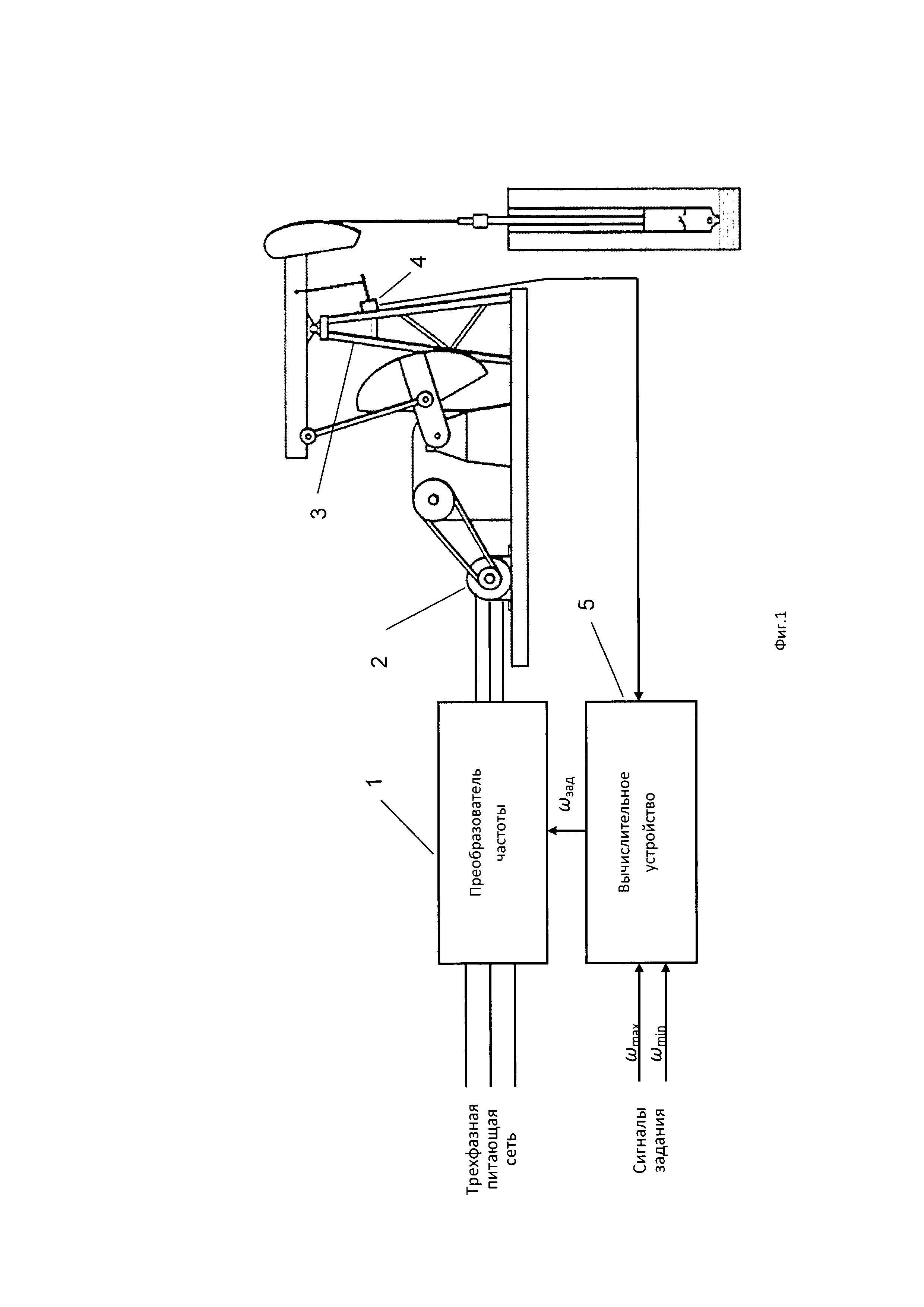
Изобретение относится к области электротехники и может быть использовано для управления частотным регулируемым электроприводом штангового глубинного насоса с асинхронным двигателем. Наиболее близким по технической сущности к предлагаемому изобретению является способ управления частотным регулируемым электроприводом штангового глубинного насоса с преобразователем частоты ACS-601, (патент США №6890156 ((Reciprocating pump control system» (Система управления штанговым глубинным насосом), опубл. 06.05.2004) согласно которому питаемый от стандартной трехфазной сети преобразователь частоты подсоединен своим выходом к асинхронному двигателю, работающему с неизменной заданной скоростью вращения и приводящему в движение механизм штангового глубинного насоса, а для задания скорости асинхронного двигателя применяется вычислительное устройство, использующее сигнал с датчика положения штанги насоса. Недостатком известного способа является завышенное энергопотребление определяемое отсутствием возможности использовать кинетическую энергию неуравновешенных масс механизма при перемещении штанги, тогда как хорошо известно, что в конструкции штангового глубинного насоса (станка - качалки) имеются значимые по своей массе противовесы, способные запасать кинетическую энергию. Технической задачей предлагаемого изобретения является реализация возможности использовать кинетическую энергию неуравновешенных масс конструкции насоса при перемещении штанги насоса посредством кривошипно-шатунного механизма. Технический результат заключается в уменьшении энергопотребления, и, как следствие - уменьшении установленной мощности асинхронного двигателя и преобразователя частоты, за счет использования кинетической энергии неуравновешенных масс механизма штангового глубинного насоса, которые приводятся в движение кривошипно-шатунным механизмом. Технический результат достигается тем, что в известном способе управления частотно-регулируемым электроприводом штангового глубинного насоса, при котором асинхронный двигатель, получающий питание от преобразователя частоты, приводит в движение механизм штангового глубинного насоса, а для регулирования скорости асинхронного двигателя применяют вычислительное устройство, использующее сигнал с датчика положения штанги насоса и выдающее на преобразователь частоты управляющий сигнал, устанавливающий заданную скорость ωзад вращения асинхронного двигателя, согласно изобретению, сигнал с датчика положения штанги насоса используют вычислительным устройством для определения направления движения штанги насоса, а сигнал управления скоростью, подаваемый с выхода вычислительного устройства на вход преобразователя частоты, используют для уменьшения или увеличения заданной скорости вращения двигателя при подъеме или опускания штанги согласно следующим уравнениям: где: ωmax - максимальное значение заданной скорости вращения асинхронного двигателя, устанавливаемое из технологических условий работы насоса; ωmin - минимальное значение заданной скорости вращения асинхронного двигателя, устанавливаемое с целью уменьшения мощности применяемого электропривода, и допустимое из технологических условий работы насоса; t1 - время, отсчитываемое от момента начала подъема штанги, t2 - время, отсчитываемое от момента начала опускания штанги; - темп, с которым должна изменяться скорость вращения асинхронного двигателя; i - передаточное число редуктора между осями двигателя и кривошипа. Сущность предлагаемого способа поясняется чертежами, где на фиг. 1 изображена структурная схема устройства, реализующего предлагаемый способ управления частотно-регулируемым электроприводом штангового глубинного насоса с асинхронным двигателем, на фиг. 2 представлена кривая иллюстрирующая изменения сигнала задания скорости ωзад при подъеме и опускании штанги и соответствующий этой кривой сигнал, получаемый от датчика перемещения штанги. Устройство, реализующее предлагаемый способ управления частотно-регулируемым электроприводом штангового глубинного насоса с асинхронным двигателем, приведенное на фиг. 1, содержит преобразователь частоты 1, вход которого подсоединен к трехфазной питающей сети, а выход - ко входу асинхронного двигателя 2, приводящего в движение механизм штангового глубинного насоса 3, на котором установлен датчик положения 4, выход которого подсоединен ко входу вычислительного устройства 5, сигнал управления скоростью с выхода которого подается на преобразователь частоты 1. Устройство работает следующим образом: на управляющие входы вычислительного устройства 5 подаются сигнал задания максимальной скорости вращения ωmax, сигнал задания минимальной скорости вращения ωmin и сигнал с датчика положения 4. При подъеме штанги глубинного насоса с датчика положения 4 поступает сигнал логической единицы, при этом вычислительное устройство выдает на свои выход уменьшающийся сигнал задания скорости вращения, в соответствии С (1), а при опускании штанги глубинного насоса с датчика положения 4 поступает сигнал логического нуля, при этом вычислительное устройство выдает на свой выход увеличивающийся сигнал задания скорости вращения в соответствии с (2). При таком управлении скорость асинхронного двигателя изменяется в пределах от ωmax до ωmin (фиг. 2), что предопределяет изменение запаса кинетической энергии неуравновешенных движущихся масс механизма глубинного насоса, равное изменению потенциальной энергии этих масс за половину оборота его кривошипа (за один ход штанги). При этом осуществляется использование кинетической энергии неуравновешенных движущихся масс механизма глубинного насоса путем управления скоростью двигателя с определенным темпом замедления при движении штанги вверх. Затем затраченная часть запаса кинетической энергии восстанавливается на участке опускания штанги благодаря разгону двигателя до скорости ωmax. В результате двигатель затрачивает меньше энергии на подъем неуравновешенной массы, используя запас кинетической энергии этой массы. Необходимое значение темпа изменения скорости (угловое ускорение) определяется очевидным образом (см. фиг. 2) по уравнению: где t0 - время изменения угловой скорости в пределах ωmax, ωminопределяется из условия поворота вала двигателя на угол 2πi со средней скоростью Подставляя (5) в (4) и учитывая необходимость иметь запас темпа изменения скорости на компенсацию погрешности измерений получаем уравнение (3), приведенное выше. Использование предлагаемого способа позволяет уменьшить поток энергии, проходящий через преобразователь и двигатель, что приводит к уменьшению потери энергии и установленной мощности электрооборудования.



, т.е.