Изобретение относится к электроэнергетике и может быть использовано для диагностики состояния изолирующих подвесок воздушной линии электропередачи и электротяговой сети. Сущность: способ определения состояния изолирующей подвески заключается в измерении величины тока утечки с последующим сравнением с заданными пороговыми значениями и определением состояния изолирующей подвески. Измеряют величину тока утечки в подвесках изоляторов воздушной линии, полученные данные сравнивают с заданными значениями в формирователях пороговых значений тока утечки. Полученную информацию направляют в виде сигнала на сканирующую станцию в реальном времени, которая анализирует информацию и сигнализирует о состоянии изоляторов. Если измеренный ток утечки больше первого порогового значения тока утечки, но меньше второго порогового значения тока утечки, то мобильная сканирующая станция выдает сигнал о нахождении изолятора в предаварийном состоянии. Если измеренный ток утечки меньше первого порогового значения тока утечки, то мобильная сканирующая станция выдает сигнал о нахождении изолятора в рабочем состоянии. Если измеренный ток утечки больше второго порогового значения тока утечки, то мобильная сканирующая станция выдает сигнал о нахождении изолятора в аварийном или послеаварийном состоянии. Устройство индикации пробоя содержит измеритель тока утечки; формирователь первого порогового значения тока утечки; формирователь второго порогового значения тока утечки; элемент сравнения в устройстве индикации пробоя и/или в сканирующей станции; элемент памяти (реле времени); несколько радиопередающих устройств; радиопринимающее устройство; радиоприемопередающее устройство. Технический результат: снижение количества отказов воздушных линий электропередачи по причине повреждения изоляции и снижение времени поиска поврежденной подвески. 5 н.п. ф-лы, 5 ил.
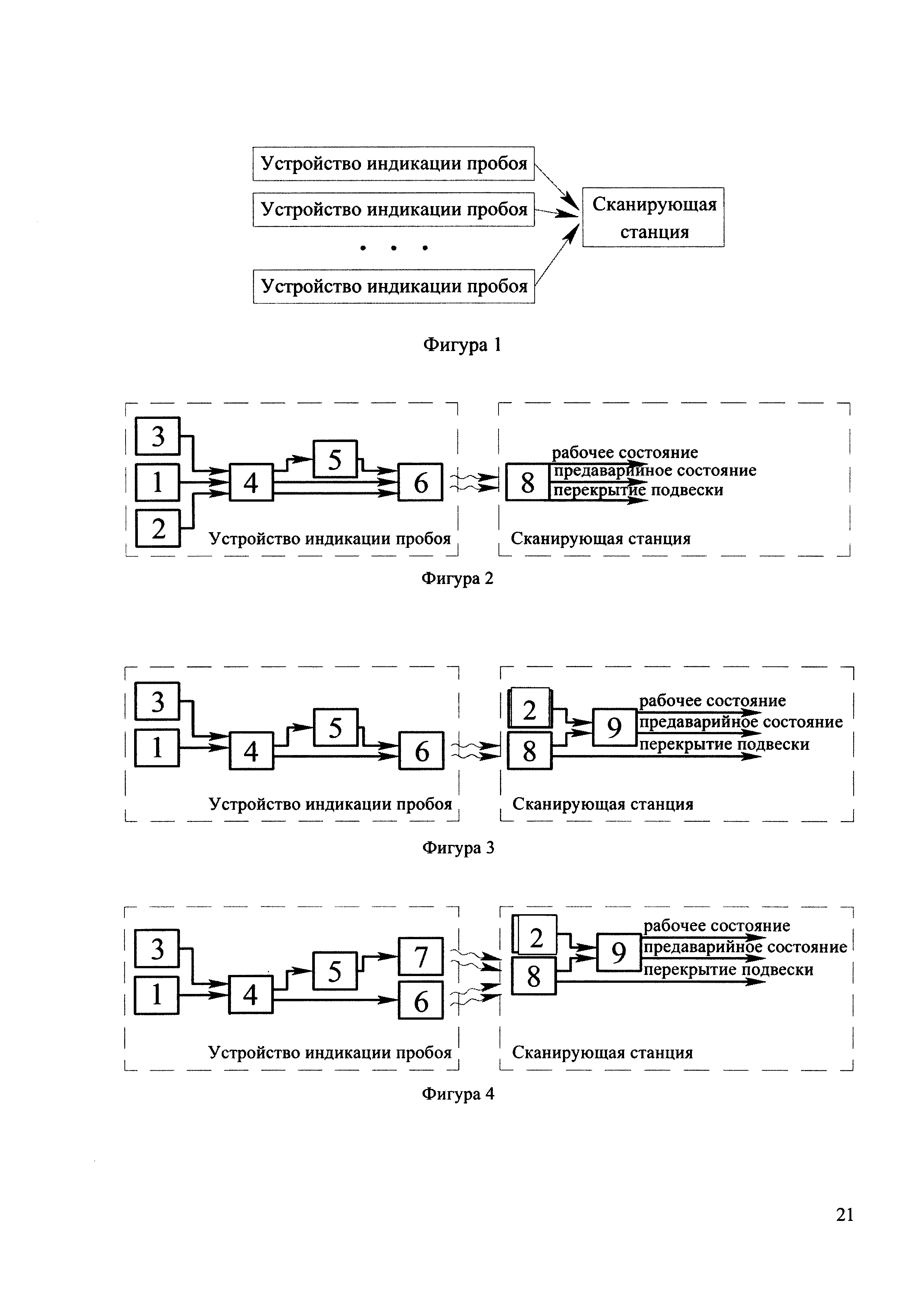
1. Устройство определения состояния изолирующих подвесок, содержащее устройство индикации пробоя и сканирующую станцию, отличающееся тем, что устройство индикации пробоя снабжено измерителем тока утечки (1), формирователями первого (2) и второго (3) порогового значения тока утечки, которые подключены к элементу сравнения (4), элементом памяти (5), получающим информацию от элемента сравнения о перекрытии изолирующей подвески, когда измеренный ток утечки больше второго порогового значения, радиопередающее устройство (6), получающее от элемента памяти (5) информацию о случившемся перекрытии изолирующей подвески, а от элемента сравнения (4) - информацию о нахождении изолятора в рабочем состоянии, когда измеренный ток утечки меньше первого порогового значения или предаварийном состоянии, когда измеренный ток утечки меньше второго порогового значения, но больше первого порогового значения, при этом сканирующая станция снабжена радиопринимающим устройством (8), получающим информацию с радиопередающего устройства по каналу радиосвязи о состоянии изолирующей подвески. 2. Устройство определения состояния изолирующих подвесок, содержащее устройство индикации пробоя и сканирующую станцию, отличающееся тем, что устройство индикации пробоя снабжено измерителем тока утечки (1), формирователем второго (3) порогового значения тока утечки, которые подключены к элементу сравнения (4), элементом памяти (5), получающим информацию от элемента сравнения о перекрытии изолирующей подвески, когда измеренный ток утечки больше второго порогового значения, радиопередающим устройством (6), получающее от элемента памяти (5) информацию о случившемся перекрытии изолирующей подвески, а от элемента сравнения (4) - информацию о величине тока утечки, когда измеренный ток утечки меньше второго порогового значения, при этом сканирующая станция снабжена радиопринимающим устройством (8), получающим информацию с радиопередающего устройства по каналу радиосвязи о состоянии изолирующей подвески или о величине тока утечки, и формирователем первого (2) порогового значения тока утечки, которые подключены к элементу сравнения (9), который сравнивает величину тока утечки с заданным в формирователе порога (2) первым пороговым значением. 3. Устройство определения состояния изолирующих подвесок, содержащее устройство индикации пробоя и сканирующую станцию, отличающееся тем, что устройство индикации пробоя снабжено измерителем тока утечки (1), формирователем второго (3) порогового значения тока утечки, которые подключены к элементу сравнения (4), элементом памяти (5), получающим информацию от элемента сравнения о перекрытии изолирующей подвески, когда измеренный ток утечки больше второго порогового значения, радиопередающим устройством (7), подключенным к элементу памяти (5) и получающим информацию о случившемся перекрытии изолирующей подвески, радиопередающим устройством (6), подключенным к элементу сравнения и получающим информацию о величине тока утечки, когда измеренный ток утечки меньше второго порогового значения, при этом сканирующая станция снабжена радиопринимающим устройством (8), получающим информацию с радиопередающего устройства (7) по каналу радиосвязи о случившемся перекрытии изолирующей подвески, а с радиопередающего устройства (6) о величине тока утечки, сканирующая станция также снабжена формирователем первого (2) порогового значения тока утечки, которые подключены к элементу сравнения (9), который сравнивает величину тока утечки, полученную с радиопередающего устройства (6) с заданным в формирователе порога (2) первым пороговым значением. 4. Устройство определения состояния изолирующих подвесок, содержащее устройство индикации пробоя и сканирующую станцию, отличающееся тем, что устройство индикации пробоя снабжено измерителем тока утечки (1), формирователем второго (3) порогового значения тока утечки, которые подключены к элементу сравнения (4), элементом памяти (5), получающим информацию от элемента сравнения о перекрытии изолирующей подвески, когда измеренный ток утечки больше второго порогового значения, радиоприемопередающим устройством (10), получающим от элемента памяти (5) информацию о случившемся перекрытии изолирующей подвески, от элемента сравнения (4) - информацию о величине тока утечки, когда измеренный ток утечки меньше второго порогового значения, а также информацию об измеренном токе утечки от аналогичных радиоприемопередающих устройств (10), установленных на предыдущих смежных опорах воздушной линии, при этом сканирующая станция снабжена радиопринимающим устройством (8), получающим сигнал с радиоприемопередающего устройства (10) по каналу радиосвязи о случившемся перекрытии изолирующей подвески и величине тока утечки, сканирующая станция также снабжена формирователем первого (2) порогового значения тока утечки, которые подключены к элементу сравнения (9), который сравнивает величину тока утечки, полученную с радиоприемопередающего устройства (10) с заданным в формирователе порога (2) первым пороговым значением. 5. Способ определения состояния изолирующей подвески, заключающийся в том, что измеряют величину тока утечки с последующим сравнением с заданными пороговыми значениями и определяют состояния изолирующей подвески, отличающийся тем, что измеряют величину тока утечки в подвесках изоляторов воздушной линии, полученные данные сравнивают с заданными значениями в формирователях пороговых значений тока утечки, полученную информацию направляют в виде сигнала на сканирующую станцию в реальном времени, которая анализирует информацию и сигнализирует о нахождении изоляторов в рабочем состоянии или в предаварийном состоянии или выявляет поврежденный изолятор после пробоя, т.е. сигнализирует о перекрытии изолирующей подвески, при этом если измеренный ток утечки больше первого порогового значения тока утечки, но меньше второго порогового значения тока утечки, то сканирующая станция выдает сигнал о нахождении изолятора в предаварийном состоянии, если измеренный ток утечки меньше первого порогового значения тока утечки, то сканирующая станция выдает сигнал о нахождении изолятора в рабочем состоянии, если измеренный ток утечки больше второго порогового значения тока утечки, то сканирующая станция выдает сигнал о нахождении изолятора в аварийном или послеаварийном состоянии.
Область техники, к которой относится изобретение Изобретение относится к электроэнергетике и может быть использовано для диагностики состояния изолирующих подвесок воздушной линии электропередачи и электротяговых сетях 110-500 кВ. Уровень техники Известен визуальный способ определения состояния изолирующей подвески воздушной линии электропередачи и электротяговых сетей. Недостатками визуального способа являются: во-первых, то, что он требует непосредственного присутствия наблюдателя в месте контроля, во-вторых, практически не реализуем в условиях плохой видимости и, в-третьих, точность способа из-за визуальной оценки принципиально не высока. Визуальный способ практически не применим при возникновении перекрытия фарфоровых и стеклянных изоляторов, в виду отсутствия на них видимых изменений. Известен тепловизионный способ определения состояния изолирующей подвески воздушной линии электропередачи и электротяговых сетей, основанный на измерении степени нагрева поверхности изолятора. Данный способ также требует присутствия наблюдателя в месте контроля, имеет высокую погрешность, зависящую от расстояния до изолятора, температуры и влажности воздуха, скорости ветра, не применим при отыскании поврежденного изолятора после отключения воздушной линии. Известен способ определения места повреждения изоляции воздушной линии, согласно которому на силовой линии создают колебательный контур из фазного провода линии и предварительно заряженного высоковольтного накопительного конденсатора ([1] патент на изобретение РФ №2413234, МПК G01R 31/08, опубл. 27.02.2011). Согласно способу определяют расстояние до места повреждения изоляции по измеренному временному интервалу, кратному периоду возбужденного в линии колебательного процесса, при известных емкости высоковольтного накопительного конденсатора, удельных индуктивности и активного сопротивления петли "фазный провод - земля» или по отношению временных интервалов поврежденной и неповрежденной фаз при известной длине линии. Зондирующие способы диагностики воздушной линии чувствительны к высокочастотным помехам, имеют погрешность, зависящую от конфигурации и длины линии, что позволяет лишь приблизительно определить местоположение поврежденного изолятора. Способ не позволяет диагностировать предпробойное состояние изолятора, что необходимо для минимизации риска перекрытия изолирующей подвески. Известен способ диагностики технического состояния опорно-стержневого фарфорового высоковольтного изолятора ([2] патент на изобретение РФ №2275647, МПК G01R 31/00, G01M 7/00, опубл. 10.01.2005; [3] патент на изобретение РФ №2262690, МПК G01N 29/04, опубл. 20.10.2005). В соответствии со способом проводят ударное возбуждение в изоляторе колебаний, прием собственных колебаний и определение спектра колебании, рассчитывают произведения спектров, полученных от ударов в разных точках, а о степени дефектности изолятора судят по количеству пиков в произведениях спектров в обследованных точках, превышающих заданный контрольный уровень этих параметров. Недостатком способа является его ограниченное применение только на опорно-стержневых фарфоровых изоляторах и требует обязательного механического воздействия на диагностируемый изолятор. Способ не позволяет диагностировать предпробойное состояние изолятора. Известны устройства и способы определения состояния изолирующей подвески, основанные на изменении напряженности электрического и магнитного поля вблизи изолятора ([4] патент на изобретение РФ №126144, МПК G01R 31/08, опубл. 20.03.2013; [5] патент на полезную модель РФ №140278, МПК G01R 31/12, опубл. 10.05.2014; [6] патент на изобретение РФ №2009127683, МПК G01R 31/00, опубл. 27.01.2011; [7] патент на изобретение РФ №2007133044, МПК G01R 31/12, опубл. 10.03.2009). Напряженности полей вблизи диагностируемого изолятора сравнивают с эталонными напряженностями полей, при отклонении величины напряженности поля от эталонной, делают вывод о предаварийном или аварийном состоянии изолятора. Данный способ реализуем посредством дорогостоящих анализаторов полей, требующих организации питания. Известен способ индикации пробоя полимерного изолятора, подразумевающий установку в разрыв траверсы и полимерного изолятора специального устройства, содержащего диэлектрический элемент, имеющий протяженную вдоль оси центральную часть с открытой на одном из концов полостью, радиально-протяженную периферическую часть и проводящий стержень для крепления к изолятору, одним из своих концов установленный в упомянутую полость, управляющий электрод, установленный соосно упомянутому стержню впритык к внутренней поверхности упомянутой периферической части, покрытие, выполненное с возможностью электрической изоляции зоны контакта упомянутого управляющего электрода с упомянутым диэлектрическим элементом, в котором (в индикаторе) упомянутый диэлектрический элемент выполнен из хрупкого термонапряженного материала и снабжен оптическим пробоем, а относительная диэлектрическая проницаемость упомянутого покрытия меньше диэлектрической проницаемости материала упомянутого диэлектрического элемента ([8] патент на изобретение РФ №2479057, Н01В 17/46, опубл. 10.04.2013). Способ позволяет определить неисправный полимерный изолятор в сети визуальным методом по разрушению индикатора пробоя. Недостатки визуального метода приведены выше. Известно устройство для определения дефектов в изоляторах ([9] патент на изобретение РФ №2503076, МПК Н01В 17/42, опубл. 27.12.2013). Изобретение относится к электротехническому оборудованию, а именно к штыревым, вводным и проходным изоляторам. Крепежный элемент выполняют выступающим за пределы изолятора в месте крепления к заземленной конструкции, покрывают поверхность крепежного элемента равномерной по толщине пленкой из токопроводящего материала, на выступающей части крепежного элемента к пленке жестко прикрепляют металлический проводник, другой конец которого через сигнальное устройство соединен с заземленной конструкцией. Устройство позволяет обнаружить дефект изолятора за счет использования тока замыкания на землю, то есть за счет самого дефекта изолятора, и исключить использование контрольно-измерительной аппаратуры. Недостатками приведенных способов и устройств диагностики изоляторов является то, что при их реализации необходимо внесение изменений в конструкцию изолирующей подвески (устройства устанавливаются вместо изолятора или в разрыв изолятора и траверсы), устройства обеспечивают визуальную индикацию, что не всегда удобно; кроме того, устройства одноразового срабатывания. При ложном срабатывании необходима их замена. Описанные способы не позволяют диагностировать предпробойное состояние изолятора. Известен способ бесконтактного и дистанционного контроля состояния гирлянд изоляторов воздушных высоковольтных линий электропередачи ([10] патент на изобретение РФ №2359280, G01R 31/12, опубл. 20.06.2009), включающий пассивный прием электромагнитного излучения, индикацию и обработку сигнала. Пассивный прием электромагнитного излучения осуществляют в ультракоротковолновом диапазоне направленной антенной, а обработку сигналов проводят путем подсчета среднего количества импульсов частичных разрядов и их амплитуды, при этом о неисправной гирлянде судят по превышению уровня этих параметров для исправных гирлянд. Недостатком способа бесконтактного и дистанционного контроля состояния гирлянд изоляторов является то, что увеличение амплитуды и количества импульсов частичных разрядов может не наблюдаться на изоляторах, находящихся в предаварийном состоянии, особенно если изолятор имеет внутренние повреждения. Еще одним недостатком является отсутствие электромагнитного излучения от изоляторов после аварийного отключения линии, что затрудняет поиск приведшего к аварии изолятора. Известен способ бесконтактной дистанционной диагностики состояния высоковольтных полимерных изоляторов ([11] патент на изобретение РФ №2566391, G01R 31/12, опубл. 27.10.2015), при котором осуществляют пассивный прием электромагнитным приемником электромагнитного излучения от частичных разрядов, причем одновременно с пассивным приемом электромагнитным приемником электромагнитного излучения от частичных разрядов осуществляют пассивный прием инфракрасным приемником ИК излучений от частичных разрядов, индикацию и совместную компьютерную обработку электромагнитных и ИК сигналов, синхронизацию электромагнитных и ИК сигналов с фазой высокого напряжения, накопление их по узким фазовым интервалам, осуществляют расчеты реального заряда и определяют среднее количество импульсов частичных разрядов в каждом из дискретных интервалов фазового напряжения, электромагнитные и ИК сигналы частичных разрядов регистрируют на двух источниках - на эталонном источнике внутренних и поверхностных частичных разрядов, а также на полимерном изоляторе с внутренними и поверхностными дефектами, причем электромагнитный и ИК приемники предварительно градуируют по чувствительности с учетом расстояния от источника измерения для определения среднего количества импульсов частичных разрядов и величины реального заряда, при этом электромагнитным приемником регистрируют сигналы излучения от внутренних частичных разрядов, а ИК приемником регистрируют сигналы от поверхностных частичных разрядов, а о состоянии высоковольтных полимерных изоляторов судят по трем диагностическим признакам, отличающим исправные полимерные изоляторы от дефектных: появление одиночных частичных разрядов и постепенное увеличение количества импульсов частичных разрядов за дискретный фазовый интервал напряжения со средним значением реального заряда 100 пКл, характерных для внутренних дефектов и начала внутреннего разрушения полимерного изолятора; наличие серийно идущих один за другим частичных разрядов со средним значением реального заряда 100 пКл, являющееся признаком предпробойной ситуации, обусловленной внутренними дефектами полимерного изолятора; увеличение за дискретный фазовый интервал напряжения количества импульсов мощных поверхностных частичных разрядов со средним значением реального заряда 2000 пКл, являющееся признаком предпробойной ситуации, за счет разрушения поверхности полимерного изолятора. Недостатком является отсутствие электромагнитного излучения от изоляторов после аварийного отключения линии, что затрудняет поиск приведшего к аварии изолятора. Наиболее близким аналогом к заявляемому способу является способ визуального обнаружения электрического пробоя, реализуемый посредством устройства для визуального обнаружения электрического пробоя электрооборудования линий электропередачи ([12] патент на изобретение Украины №84497, МПК G01R 31/08, опубл. 27.10.2008), содержащее элемент контроля протекающего тока и сигнальный элемент, отличающийся тем, что элемент контроля протекающего тока, состоит из двух полуколец, выполненных из ферромагнитного материала, скрепленных с одной стороны плоской пружиной, а с другой стороны разделенных зазором, величина которого составляет, по меньшей мере, 1 мм, при этом одно полукольцо элемента контроля протекающего тока является неподвижным, а другое установлено с возможностью перемещения путем крепления его к недвижимому полукольцу вышеупомянутой плоской пружиной. В основу изобретения поставлена задача повышения достоверности определения изоляторов, кабелей, разрядников, ограничителей перенапряжений, а также определения опоры линии электропередачи с пробитым изолятором. В момент электрического пробоя полимерного изолятора ток короткого замыкания, протекающий вдоль его стержня, создаст переменный магнитный поток, который пронизывает ферромагнитные полукольца, неподвижное и подвижное. Вследствие действия на ферромагнитные полукольца электродинамической силы, что притягивает подвижное полукольцо к неподвижному, зазор между полукольцами уменьшается, толкатель вызывает размыкание замка, которым зафиксирован один конец сигнальной ленты. Вследствие упругого распрямления плоской ленты сигнального элемента, ее откинутый конец сигнализирует о срабатывании устройства. Сигнальный элемент выполнен в виде плоской ленты из упругого материала, что обеспечивает ее распрямления при раскрытии замка, который удерживает ее конец. Устройство позволяет визуально определять изолятор, кабель, разрядник, ограничитель перенапряжений или опору линии электропередачи с пробитым изолятором, которые вышли из строя в результате электрического пробоя, во время обхода или облета линии электропередачи. Главным недостатком описанного способа является невозможность проведения диагностики предпробойного состояния изолирующей подвески; способ позволяет отслеживать только факт случившегося однофазного замыкания на землю в сетях с эффективно заземленной нейтралью. Способ не может быть применен для отслеживания перекрытия изоляторов в сети с изолированной нейтралью в виду малого значения тока однофазного замыкания в этих сетях, обусловленного емкостью линии относительно земли. Способ предполагает визуальную индикацию, что не удобно в эксплуатации при плохой видимости. Еще одним недостатком является необходимость замыкания замка для фиксации индикаторной ленты при ложном срабатывании устройства, реализующего способ. При протяженности высоковольтных линий (ВЛ) в Российской Федерации в 690,5 тыс км, перекрытие изолирующих подвесок - это причина: - 30% аварий ВЛ (0,18-1,17 отказов в год на 100 км ВЛ 110-500 кВ); - недоотпуска 68-334 тыс кВт × час/год электроэнергии на 100 км ВЛ 110-500 кВ; - отключения потребителей в среднем на 2-5 часов. Сущность изобретения Задачей предлагаемого изобретения является диагностика состояния изолирующих подвесок воздушной линии электропередачи и электротяговой сети, в том числе факта перекрытия изолирующей подвески, при любом типе подвески на линиях всех классов напряжений и режимов заземления нейтрали в любую погоду и при любой видимости. Техническим результатом является снижение потока отказов воздушных линий электропередачи по причине повреждения изоляции и снижение времени поиска поврежденной подвески для ее ремонта или замены. Поставленный технический результат в части первого варианта устройства решается за счет того, что устройство определения состояния изолирующих подвесок содержит устройство индикации пробоя и мобильную сканирующую станцию, причем устройство индикации пробоя снабжено измерителем тока утечки (1), формирователями первого (2) и второго (3) порогового значения тока утечки, которые подключены к элементу сравнения (4), элементом памяти (5), получающим информацию от элемента сравнения о перекрытии изолирующей подвески, когда измеренный ток утечки больше второго порогового значения, радиопередающее устройство (6), получающее от элемента памяти (5) информацию о случившемся перекрытии изолирующей подвески, а от элемента сравнения (4) - информацию о нахождении изолятора в рабочем состоянии, когда измеренный ток утечки меньше первого порогового значения или предаварийном состоянии, когда измеренный ток утечки меньше второго порогового значения, но больше первого порогового значения, при этом мобильная сканирующая станция снабжена радиопринимающим устройством (8), получающим информацию с радиопередающего устройства по каналу радиосвязи о состоянии изолирующей подвески. Поставленный технический результат в части второго варианта устройства решается за счет того, что устройство определения состояния изолирующих подвесок, содержит устройство индикации пробоя и мобильную сканирующую станцию, причем устройство индикации пробоя снабжено измерителем тока утечки (1), формирователем второго (3) порогового значения тока утечки, которые подключены к элементу сравнения (4), элементом памяти (5), получающим информацию от элемента сравнения о перекрытии изолирующей подвески, когда измеренный ток утечки больше второго порогового значения, радиопередающим устройством (6), получающее от элемента памяти (5) информацию о случившемся перекрытии изолирующей подвески, а от элемента сравнения (4) - информацию о величине тока утечки, когда измеренный ток утечки меньше второго порогового значения, при этом мобильная сканирующая станция снабжена радиопринимающим устройством (8), получающим информацию с радиопередающего устройства по каналу радиосвязи о состоянии изолирующей подвески или о величине тока утечки, и формирователем первого (2) порогового значения тока утечки, которые подключены к элементу сравнения (9), который сравнивает величину тока утечки с заданным в формирователе порога (2) первым пороговым значением. Поставленный технический результат в части третьего варианта устройства решается за счет того, что устройство определения состояния изолирующих подвесок, содержит устройство индикации пробоя и мобильную сканирующую станцию, причем устройство индикации пробоя снабжено измерителем тока утечки (1), формирователем второго (3) порогового значения тока утечки, которые подключены к элементу сравнения (4), элементом памяти (5), получающим информацию от элемента сравнения о перекрытии изолирующей подвески, когда измеренный ток утечки больше второго порогового значения, радиопередающим устройством (7), подключенным к элементу памяти (5) и получающим информацию о случившемся перекрытии изолирующей подвески, радиопередающим устройством (6), подключенным к элементу сравнения и получающим информацию о величине тока утечки, когда измеренный ток утечки меньше второго порогового значения, при этом мобильная сканирующая станция снабжена радиопринимающим устройством (8), получающим информацию с радиопередающего устройства (7) по каналу радиосвязи о случившемся перекрытии изолирующей подвески, а с радиопередающего устройства (6) о величине тока утечки, мобильная сканирующая станция также снабжена формирователем первого (2) порогового значения тока утечки, которые подключены к элементу сравнения (9), который сравнивает величину тока утечки, полученную с радиопередающего устройства (6) с заданным в формирователе порога (2) первым пороговым значением. Поставленный технический результат в части четвертого варианта устройства решается за счет того, что устройство определения состояния изолирующих подвесок содержит устройство индикации пробоя и мобильную сканирующую станцию, причем устройство индикации пробоя снабжено измерителем тока утечки (1), формирователем второго (3) порогового значения тока утечки, которые подключены к элементу сравнения (4), элементом памяти (5), получающим информацию от элемента сравнения о перекрытии изолирующей подвески, когда измеренный ток утечки больше второго порогового значения, радиоприемопередающим устройством (10), получающим от элемента памяти (5) информацию о случившемся перекрытии изолирующей подвески, от элемента сравнения (4) - информацию о величине тока утечки, когда измеренный ток утечки меньше второго порогового значения, а также информацию об измеренном токе утечки от аналогичных радиоприемопередающих устройств (10), установленных на предыдущих смежных опорах воздушной линии, при этом мобильная сканирующая станция снабжена радиопринимающим устройством (8), получающим сигнал с радиоприемопередающего устройства (10) по каналу радиосвязи о случившемся перекрытии изолирующей подвески и величине тока утечки, мобильная сканирующая станция также снабжена формирователем первого (10) порогового значения тока утечки, которые подключены к элементу сравнения (9), который сравнивает величину тока утечки, полученную с радиоприемопередающего устройства (10) с заданным в формирователе порога (2) первым пороговым значением. Поставленный технический результат в части способа определения состояния подвески решается за счет того, что способ определения состояния изолирующей подвески, заключающийся в том, что измеряют величину тока утечки с последующим сравнением с заданными пороговыми значениями и определяют состояния изолирующей подвески. Измеряют величину тока утечки в подвесках изоляторов воздушной линии, полученные данные сравнивают с заданными значениями в формирователях пороговых значений тока утечки, полученную информацию направляют в виде сигнала на мобильную сканирующую станцию в реальном времени, которая анализирует информацию и сигнализирует о нахождении изоляторов в рабочем состоянии или в предаварийном состоянии или выявляет поврежденный изолятор после пробоя, т.е. сигнализирует о перекрытии изолирующей подвески, при этом если измеренный ток утечки больше первого порогового значения тока утечки, но меньше второго порогового значения тока утечки, то мобильная сканирующая станция выдает сигнал о нахождении изолятора в предаварийном состоянии, если измеренный ток утечки меньше первого порогового значения тока утечки, то мобильная сканирующая станция выдает сигнал о нахождении изолятора в рабочем состоянии, если измеренный ток утечки больше второго порогового значения тока утечки, то мобильная сканирующая станция выдает сигнал о нахождении изолятора в аварийном или послеаварийном состоянии. Краткое описание чертежей Сущность изобретения поясняется чертежами, где: Фиг. 1 - структурная схема способа определения состояния изолирующей подвески; Фиг. 2 - блок-схема первого варианта выполнения способа определения состояния изолирующей подвески; Фиг. 3 - блок-схема второго варианта выполнения способа определения состояния изолирующей подвески; Фиг. 4 - блок-схема третьего варианта выполнения способа определения состояния изолирующей подвески; Фиг. 5 - блок-схема четвертого варианта выполнения способа определения состояния изолирующей подвески. На приведенных выше чертежах приняты следующие обозначения: поз. 1 - измеритель тока утечки; поз. 2 - формирователь первого порогового значения тока утечки; поз. 3 - формирователь второго порогового значения тока утечки; поз. 4 - элемент сравнения; поз. 5 - элемент памяти (реле времени); поз. 6 - радиопередающее устройство; поз. 7 - радиопередающее устройство; поз. 8 - радиопринимающее устройство; поз. 9 - элемент сравнения; поз. 10 - радиоприемопередающее устройство. Осуществление изобретения Устройство для осуществления способа определения состояния изолирующих подвесок состоит из мобильной сканирующей станции с программным обеспечением и устройств индикации пробоя (УИП). УИП - устройство с полимерным литым виброустойчивым корпусом, надевающимся на лодочку подвески. Устройство для осуществления способа определения состояния изолирующей подвески состоит из устройств индикации пробоя и мобильной сканирующей станции (фиг. 1). По первому варианту реализации (фиг. 2) устройство индикации пробоя содержит измеритель тока утечки через изолирующую подвеску 1, установленный на изолирующей подвеске воздушной линии электропередачи; два формирователя порога (2-3); элемент сравнения 4; элемент памяти (реле времени) 5; радиопередающее устройство 6. Мобильная сканирующая станция содержит радиопринимающее устройство 8. Измеренное с помощью измерителя 1 значение тока утечки сравнивается в элементе сравнения 4 с наперед заданными в формирователях порога 2 и 3 первым и вторым пороговыми значениями. Первое пороговое значение задается в интервале 1-100 мА, а второе в интервале 1-500 А. Если измеренное значение больше первого порогового значения, но меньше второго порогового значения, то на радиопередающее устройство 6 поступает сигнал о нахождении изолятора в предаварийном состоянии. Если измеренный ток утечки меньше первого порогового значения, то на радиопередающее устройство 6 поступает сигнал о нахождении изолятора в рабочем состоянии. Если измеренный ток утечки больше второго порогового значения, то на элемент памяти (реле времени) 5 поступает сигнал о случившемся перекрытии изолирующей подвески. После чего в течение наперед заданного времени (интервал устанавливается в диапазоне 5-48 часов) элемент памяти (реле времени) 5 высылает на радиопередающее устройство 6 сигнал о случившемся перекрытии изолирующей подвески. Радиопередающее устройство 6 при любом поступившем на него сигнале транслирует его на радиопринимающее устройство 8. Если на радиопринимающее устройство 8 приходит сигнал о нахождении изолятора в рабочем состоянии, то мобильная сканирующая станция сигнализирует о нахождении изолятора в рабочем состоянии. Если на радиопринимающее устройство 8 приходит сигнал о нахождении изолятора в предаварийном состоянии, то мобильная сканирующая станция сигнализирует о нахождении изолятора в предаварийном состоянии. Если на радиопринимающее устройство 8 приходит сигнал о случившемся перекрытии изолирующей подвески, то мобильная сканирующая станция сигнализирует о случившемся перекрытии изолирующей подвески. По второму варианту реализации (фиг. 3) устройство индикации пробоя содержит измеритель тока утечки через изолирующую подвеску 1, установленный на изолирующей подвеске воздушной линии электропередачи; формирователь второго порогового значения 3; элемент сравнения 4; элемент памяти (реле времени) 5; радиопередающее устройство 6. Мобильная сканирующая станция содержит радиопринимающее устройство 8; элемент сравнения 9; формирователь первого порогового значения 2. Измеренное с помощью измерителя 1 значение тока утечки сравнивается в элементе сравнения 4 с наперед заданным в формирователе порога 3 вторым пороговым значением (второе пороговое значение задается в интервале 1-500 А). Если измеренный ток утечки больше второго порогового значения, то на элемент памяти (реле времени) 5 поступает сигнал о случившемся перекрытии изолирующей подвески. После чего в течение наперед заданного времени (интервал устанавливается в диапазоне 5-48 часов) элемент памяти (реле времени) 5 высылает на радиопередающее устройство 6 сигнал о случившемся перекрытии изолирующей подвески. Если измеренный ток утечки меньше второго порогового значения, то на радиопередающее устройство 6 поступает сигнал о величине тока утечки. Радиопередающее устройство 6 при любом поступившем на него сигнале транслирует его на радиопринимающее устройство 8. Если на радиопринимающее устройство 8 приходит сигнал о случившемся перекрытии изолирующей подвески, то мобильная сканирующая станция сигнализирует о случившемся перекрытии изолирующей подвески. Если на радиопринимающее устройство 8 приходит сигнал о величине тока утечки, то с радиопринимающего устройства 8 сигнал о величине тока утечки поступает на элемент сравнения 9. Сигнал о величине тока утечки сравнивается в элементе сравнения 9 с наперед заданным в формирователе порога 2 первым пороговым значением (первое пороговое значение задается в интервале 1-100 мА). Если измеренный ток утечки больше первого порогового значения, то мобильная сканирующая станция сигнализирует о нахождении изолятора в предаварийном состоянии. Если измеренный ток утечки меньше первого порогового значения, то мобильная сканирующая станция сигнализирует о нахождении изолятора в рабочем состоянии. По третьему варианту реализации (фиг. 4) устройство индикации пробоя содержит измеритель тока утечки через изолирующую подвеску 1, установленный на изолирующей подвеске воздушной линии электропередачи; формирователь второго порогового значения 3; элемент сравнения 4; элемент памяти (реле времени) 5; радиопередающие устройства 6 и 7. Мобильная сканирующая станция содержит радиопринимающее устройство 8; элемент сравнения 9; формирователь первого порогового значения 2. Измеренное с помощью измерителя 1 значение тока утечки сравнивается в элементе сравнения 4 с наперед заданным в формирователе порога 3 вторым пороговым значением (второе пороговое значение задается в интервале 1-500 А). Если измеренный ток утечки больше второго порогового значения, то на элемент памяти (реле времени) 5 поступает сигнал о случившемся перекрытии изолирующей подвески. После чего в течение наперед заданного времени (интервал устанавливается в диапазоне 5-48 часов) элемент памяти (реле времени) 5 высылает на радиопередающее устройство 7 сигнал о случившемся перекрытии изолирующей подвески. Если измеренный ток утечки меньше второго порогового значения, то на радиопередающее устройство 6 поступает сигнал о величине тока утечки. Радиопередающее устройство 6 при любом поступившем на него сигнале и радиопередающее устройство 7 при поступлении на него сигнала о случившемся перекрытии изолирующей подвески транслируют его на радиопринимающее устройство 8. Если на радиопринимающее устройство 8 приходит сигнал о случившемся перекрытии изолирующей подвески, то мобильная сканирующая станция сигнализирует о случившемся перекрытии изолирующей подвески. Если на радиопринимающее устройство 8 приходит сигнал о величине тока утечки, то с радиопринимающего устройства 8 сигнал о величине тока утечки поступает на элемент сравнения 9. Сигнал о величине тока утечки сравнивается в элементе сравнения 9 с наперед заданным в формирователе порога 2 первым пороговым значением (первое пороговое значение задается в интервале 1-100 мА). Если измеренный ток утечки больше первого порогового значения, то мобильная сканирующая станция сигнализирует о нахождении изолятора в предаварийном состоянии. Если измеренный ток утечки меньше первого порогового значения, то мобильная сканирующая станция сигнализирует о нахождении изолятора в рабочем состоянии. По четвертому варианту реализации (фиг. 5) устройство индикации пробоя содержит измеритель тока утечки через изолирующую подвеску 1, установленный на изолирующей подвеске воздушной линии электропередачи; формирователь второго порогового значения 3; элемент сравнения 4; элемент памяти (реле времени) 5; радиоприемопередающее устройство 10. Мобильная сканирующая станция содержит радиопринимающее устройство 8; элемент сравнения 9; формирователь первого порогового значения 2. Измеренное с помощью измерителя 1 значение тока утечки сравнивается в элементе сравнения 4 с наперед заданным в формирователе порога 3 вторым пороговым значением (второе пороговое значение задается в интервале 1-500 А). Если измеренный ток утечки больше второго порогового значения, то на элемент памяти (реле времени) 5 поступает сигнал о случившемся перекрытии изолирующей подвески. После чего в течение наперед заданного времени (интервал устанавливается в диапазоне 5-48 часов) элемент памяти (реле времени) 5 высылает на радиоприемопередающее устройство 10 сигнал о случившемся перекрытии изолирующей подвески. Если измеренный ток утечки меньше второго порогового значения, то на радиоприемопередающее устройство 10 поступает сигнал о величине тока утечки. Радиоприемопередающее устройство 10 при любом поступившем на него сигнале от элементов сравнения (4) и памяти (5) дополняет его сигналами от радиоприемопередающих устройств 10 устройств индикации пробоя, установленных на предыдущей смежной опоре воздушной линии и, транслирует их на радиоприемопередающие устройства 10 устройств индикации пробоя, установленных на последующей смежной опоре воздушной линии при ее наличии или на радиопринимающее устройство 8 мобильной сканирующей станции. Пришедшие на радиопринимающее устройство 8 сигналы о величине тока утечки в подвесках сравниваются в элементе сравнения 9 с наперед заданным в формирователе порога 2 первым пороговым значением (первое пороговое значение задается в интервале 1-100 мА). Сканирующая станция по любому варианту выполнения может быть не мобильной. Если измеренный ток утечки на какой-либо подвеске больше первого порогового значения, то мобильная сканирующая станция сигнализирует о нахождении этой подвески в предаварийном состоянии. Если измеренные токи утечки меньше первого порогового значения, то мобильная сканирующая станция сигнализирует о нахождении изоляторов в рабочем состоянии. Если на радиопринимающее устройство 8 приходит сигнал о случившемся перекрытии какой-либо изолирующей подвески, то мобильная сканирующая станция сигнализирует о случившемся перекрытии этой изолирующей подвески. Второй и третий вариант реализации способа определения состояния изолирующей подвески позволяют не организовывать обратную связь с устройством индикации пробоя, так как предполагают изменение первого порогового значения тока утечки в формирователе порога 2 в сканирующей станции. Изменение уставки, например, с 1 мА до 100 мА производят исходя из погодных условий (относительной влажности воздуха и падающих капель (дождя)), которые влияют на коррелируемую зависимость между степенью увлажнения поверхности изолятора и током утечки, то есть влияют на величину тока утечки в подвеске. Третий вариант реализации, при котором устройство индикации пробоя содержит два радиопередающих устройства, выделен, так как это позволяет минимизировать энергопотребление. На большое расстояние (например, на 1000 м) транслируется только сигнал о случившемся перекрытии изолирующей подвески от радиопередающего устройства 7. Сигнал о величине тока утечки транслируется от радиопередающего устройства 6 на меньшее расстояние (например, на 100 м), чем сигнал от радиопередающего устройства 7. По первому, второму и третьему вариантам реализации технический результат достигается следующим образом: во время плановых осмотров бригада линейной службы, оборудованная сканирующей станцией, перемещается вдоль линии и собирает данные о состоянии подвесок на мобильную сканирующую станцию. На основе собранных данных планируются мероприятия по очистке и замене изоляторов в соответствии с технологической инструкцией (ТИ). В случае возникновения отключения высоковольтной линии (ВЛ) с последующим успешным или неуспешным срабатыванием автоматического повторного включения, бригада со станцией выезжает в район, локализованный автоматикой подстанций (фиксирующими измерительными приборами, микропроцессорными фиксирующими индикаторами или цифровыми индикаторами аварийных процессов), и при достижении радиоконтакта между сканирующей станцией и сработавшим устройством индикации пробоя, мобильная сканирующая станция сигнализирует о нахождении поврежденной подвески. В результате бригада линейной службы может сразу приступать к устранению причины отключения. По четвертому варианту реализации технический результат достигается следующим образом: информация о величине токов утечки в подвесках изоляторов воздушной линии поступает на сканирующую станцию в реальном времени постоянно. Станция анализирует информацию и сигнализирует диспетчеру о нахождении определенных изоляторов в предпробойном состоянии или выявляет поврежденный изолятор после пробоя. В случае возникновения аварийной ситуации бригада линейной службы сразу выезжает к опоре, на которой произошел пробой. При выявлении нахождения изолятора в предпробойном состоянии, бригада линейной службы может произвести отключение линии и замену изолятора не дожидаясь аварии или включить изолятор в формируемый перечень заменяемых при ближайшем плановом отключении. Пример Реализация функций сравнения, формирования порога производится на основе стандартных контроллеров, например, STM. Радиомодемы (радиопередающие или приеморадиопередающие устройства) могут использоваться любого производителя с любой разрешенной частотой (например, 430 МГц). Устройством индикации пробоя является разомкнутый трансформатор тока, который надевается на подвеску, который также включает плату управления со встроенным радиомодулем и аккумулятором, а также устройство отбора мощности с провода. Таким образом, трансформатор тока для измерений обеспечивает: 1) преобразование переменного тока любого значения в переменный ток, приемлемый по значению для непосредственного измерения с помощью стандартных измерительных приборов; 2) изолирование измерительных приборов, к которым имеет доступ обслуживающий персонал, от цепи высокого напряжения. Мобильной сканирующей станцией может быть любой гаджет (планшет, телефон и т.д.), который будет снабжен радиомодемом, и на него будет установлено соответствующее программное обеспечение. По четвертому варианту реализации: в конце линии ставится мобильная сканирующая станция, представляющая собой шкаф с электроникой: принимающий радиомодем и, например, GSM-передающий модем, который передает пакеты информации на сервер, а сервер на компьютер диспетчера передает информацию для визуализации. Технико-экономическое обоснование