патент
№ RU 2327105
МПК G01B7/16

СПОСОБ КОНТРОЛЯ СОСТОЯНИЯ КОНСТРУКЦИИ ЗДАНИЯ ИЛИ ИНЖЕНЕРНО-СТРОИТЕЛЬНОГО СООРУЖЕНИЯ И УСТРОЙСТВО ДЛЯ ЕГО ОСУЩЕСТВЛЕНИЯ

Авторы:
Золотов Николай Сергеевич
Номер заявки
2006117589/28
Дата подачи заявки
23.05.2006
Опубликовано
20.06.2008
Страна
RU
Как управлять
интеллектуальной собственностью
Чертежи 
1
Реферат

[47]

Изобретение относится к измерительной технике и может быть использовано для мониторинга состояния конструкции здания или другого инженерно-строительного сооружения в процессе его эксплуатации. Способ заключается в опросе датчиков, установленных в местах диагностирования конструкции, преобразовании полученной с датчиков информации и ее передаче на пункт контроля в виде компьютера. Результаты опроса датчиков отражают в виде наглядной картины текущего состояния конструкции на экране компьютера. Устройство содержит пункт контроля в виде компьютера, датчики, размещенные в местах диагностирования конструкции, связанный с ними блок предварительной обработки сигналов и средства связи блока предварительной обработки сигналов с упомянутым компьютером. При этом блок предварительной обработки выполнен с возможностью опроса датчиков, приема и регистрации сигналов, содержащих измерительную информацию, и с возможностью сравнения упомянутой информации с заранее внесенными в его память фиксированными величинами. Технический результат заключается в предотвращении разрушения конструкции сооружений за счет оперативности реагирования благодаря визуализации полученной информации в более наглядной и доступной для восприятия оператора форме. 2 н. и 7 з.п. ф-лы, 2 ил.

Формула изобретения

1. Способ контроля состояния конструкции здания или инженерно-строительного сооружения, включающий опрос датчиков, установленных в местах диагностирования конструкции, преобразование полученной с датчиков информации и ее передачу на пункт контроля, выполненный в виде компьютера с программным обеспечением, где осуществляют регистрацию и сравнение полученной информации с заранее введенными в память компьютера фиксированными величинами, отличающийся тем, что формируют условное изображение контролируемого объекта, повторяющее его конструкцию, размещают на нем в местах, соответствующих реальному расположению датчиков, цветные метки-индикаторы, выводят упомянутое изображение с метками-индикаторами на экран компьютера, обеспечивая постоянную связь упомянутых меток-индикаторов с датчиками, в качестве фиксированной величины для каждого датчика используют полученное путем предварительных расчетов предельное допустимое значение измеряемого параметра, а результаты опроса датчиков и результаты сравнения последней принятой с них информации отражают в реальном времени через цвет меток-индикаторов и его смену на условном изображении объекта, по которому судят об исправности датчиков и состоянии конструкции.

2. Способ по п.1, отличающийся тем, что со сменой цвета метки-индикатора на экран дополнительно выводят информацию о типе и исполнении элемента конструкции, на котором размещен соответствующий этой метке-индикатору датчик.

3. Способ по п.1, отличающийся тем, что одновременно со сменой цвета метки-индикатора осуществляют подачу звукового сигнала «тревоги».

4. Способ по п.1, отличающийся тем, что в качестве датчиков используют тензометрические датчики, при этом в качестве фиксированной величины для сравнения поступающей с них информации используют расчетное значение предельно допустимой деформации элемента конструкции, на котором установлен упомянутый датчик.

5. Устройство контроля состояния конструкции здания или инженерно-строительного сооружения, содержащее пункт контроля, характеризующийся использованием компьютера, измерительные преобразователи, размещенные в местах диагностирования конструкции, связанный с ними блок предварительной обработки сигналов, включающий плату аналого-цифрового преобразователя, и средства связи блока предварительной обработки сигналов с упомянутым компьютером, выполненным с возможностью опроса измерительных преобразователей, приема и регистрации сигналов, содержащих измерительную информацию, и с возможностью сравнения упомянутой информации с заранее внесенными в его память фиксированными величинами, отличающееся тем, что оно снабжено средствами наглядного представления информации, включающими выведенное на экран компьютера условное изображение контролируемой конструкции и цветные метки-индикаторы, размещенные на упомянутом изображении в соответствии с размещением измерительных преобразователей и выполненные с возможностью отражения в реальном времени посредством своего цвета и его изменения исправности соответствующего измерительного преобразователя и результатов сравнения последней принятой с него информации, при этом компьютер выполнен с возможностью одновременного со сменой цвета метки-индикатора вывода на экран дополнительных сведений о типе и исполнении элемента конструкции, на котором размещен соответствующий упомянутой метке-индикатору измерительный преобразователь.

6. Устройство по п.5, отличающееся тем, что в качестве измерительных преобразователей используют тензометрические датчики.

7. Устройство по п.5, отличающееся тем, что средства связи блока предварительной обработки сигналов с компьютером включают цифровую линию связи и размещенное на входе компьютера устройство согласования сигналов.

8. Устройство по п.7, отличающееся тем, что устройство согласования сигналов выполнено в виде конвертора.

9. Устройство по п.7, отличающееся тем, что измерительные преобразователи сгруппированы в группы, каждая из которых связана со своим блоком предварительной обработки сигналов, при этом все упомянутые блоки подключены к общей цифровой линии связи.

Описание

[1]

Область техники, к которой относится изобретение

[2]

Изобретение относится к измерительной технике, а именно к автоматическим средствам непрерывного отслеживания состояния конструкции здания или строительного сооружения в процессе его эксплуатации, позволяющим своевременно выявить превышение допустимых деформаций конструкции и предупредить ее разрушение.

[3]

Уровень техники

[4]

Известен способ контроля состояния элементов строительных конструкций, основанный на периодически проводимых оператором замерах деформаций посредством тензометрических датчиков, устанавливаемых в местах опасных сечений (см. Ренский А.Б., Руководство по тензометрированию строительных конструкций и материалов. М., 1971 г., стр.133). Недостатками способа являются субъективность снятия показаний с приборов-измерителей и ручная обработка информации.

[5]

Известен способ автоматизированного сбора тензометрической информации (см. Ренский А.Б., Руководство по тензометрированию строительных конструкций и материалов. М., 1971 г., стр.149-155), характеризующийся поочередным подключением измерительных каналов к блоку измерения и преобразованием снятой информации в цифровую табличную форму, что обеспечивает возможность автоматического ввода экспериментальных данных в вычислительную машину для дальнейшей обработки. По сравнению с ручным способом автоматизированные исследования обеспечивают повышение надежности результатов измерений за счет увеличения количества точек измерения и устранения субъективных ошибок, более полное использование полученной информации за счет глубокой обработки данных с помощью ЭВМ, существенное ускорение сроков проведения экспериментов и обработки данных, возможность исследования конструкций и сооружений, работающих в опасных условиях. Однако упомянутый способ автоматизированного сбора информации, как и ручной, является периодическим. Длительный промежуток времени между осмотрами не позволяет получить наглядную картину текущего состояния конструкции здания в любой конкретный момент времени.

[6]

В качестве ближайшего к заявляемому способу аналога принят способ дистанционного контроля и диагностики состояния конструкций и инженерных сооружений (см. патент на изобретение RU №2247958, МПК: G01М 5/00, опубл. 10.03.2005 г.), характеризующийся использованием ЭВМ в качестве пункта контроля и обработки информации. Согласно способу производят программный опрос датчиков (измерительных преобразователей), установленных в местах диагностирования конструкции, полученную информацию преобразуют, оцифровывают и передают на пункт контроля, где сигналы регистрируют и сравнивают их с заранее зафиксированными значениями, в качестве которых используют данные метрологической аттестации, проведенной перед началом эксплуатации, а по отклонению поступивших сигналов судят о наличии изменений контролируемых параметров. Способ позволяет осуществлять постоянный контроль за состоянием конструкции и в любой момент времени получать информацию о ее состоянии, однако для этого необходимо осуществить запрос информации с целью ее вывода на носитель.

[7]

Известна система измерительная тензометрическая СИИТ-3, предназначенная для проведения контроля состояния элементов строительных конструкций (Дайчик М.Л. Методы и средства натурной тензометрии. М.: Машиностроение, 1989 г., стр.61), включающая набор тензодатчиков, коммутатор, измерительный блок, преобразующий выходной сигнал датчиков в цифровую форму, и печатающее устройство или же интерфейс для связи с ЭВМ для обработки данных. Однако система позволяет проводить только периодический контроль состояния конструкции.

[8]

В качестве ближайшего аналога для заявляемого устройства принято устройство дистанционного контроля и диагностики состояния конструкций и инженерных сооружений (патент на изобретение RU №2247958, МПК: G01M 5/00, опубл. 10.03.2005 г.), содержащее измерительные преобразователи, в т.ч. тензометрические датчики, установленные в местах диагностирования конструкции, преобразователи сигналов с датчиков, несущих измерительную информацию, и контроллер, связанный через модем и линию связи с удаленным пунктом контроля, включающим ЭВМ. Устройство позволяет получать информацию в любой момент времени, т.е. осуществляет непрерывное отслеживание технического состояния конструкции в процессе ее эксплуатации. Однако устройство не обеспечивает наглядности представления информации, что снижает оперативность реагирования на аварийную ситуацию, и предназначено преимущественно для отслеживания состояния конструкций трубопроводов.

[9]

В последнее время в связи с участившимися случаями обрушения строительных конструкций различных зданий и гибели при этом людей возникла насущная потребность в средствах постоянного наблюдения и оценки (т.е. мониторинга) их состояния.

[10]

Раскрытие изобретения

[11]

Задачей заявляемого изобретения является предотвращение разрушения конструкции здания (сооружения) за счет распознавания угрозы на начальном этапе ее возникновения и обеспечение надежной защиты людей в случае возникновения аварийной ситуации и угрозе обрушения за счет оперативности реагирования.

[12]

Поставленная задача решена за счет того, что в способе контроля состояния конструкции здания или инженерно-строительного сооружения, включающем опрос датчиков, установленных в местах диагностирования конструкции, преобразование полученной с датчиков информации и ее передачу на пункт контроля, выполненный в виде компьютера с программным обеспечением, где осуществляют регистрацию и сравнение полученной информации с заранее введенными в память компьютера фиксированными величинами, согласно заявляемому изобретению формируют условное изображение контролируемого объекта, повторяющее его конструкцию, размещают на нем в местах, соответствующих реальному расположению датчиков, цветные метки-индикаторы, выводят упомянутое изображение с метками-индикаторами на экран компьютера, обеспечивая постоянную связь упомянутых меток-индикаторов с датчиками, в качестве фиксированной величины для каждого датчика используют полученное путем предварительных расчетов предельное допустимое значение измеряемого параметра, а результаты опроса датчиков и результаты сравнения последней принятой с них информации отражают в реальном времени через цвет меток-индикаторов и его смену на условном изображении объекта, по которому судят об исправности датчиков и состоянии конструкции.

[13]

В случае превышения полученной информацией расчетного предельного значения одновременно со сменой цвета метки-индикатора на экран выводят дополнительную информацию о типе и исполнении конструкции, на которой расположен соответствующий упомянутой метке-индикатору датчик.

[14]

Поставленная задача решена также за счет того, что устройство контроля состояния конструкции здания или инженерно-строительного сооружения, содержащее пункт контроля, характеризующийся использованием компьютера, измерительные преобразователи, размещенные в местах диагностирования конструкции, связанный с ними блок предварительной обработки сигналов, включающий плату аналого-цифрового преобразователя (АЦП), и средства связи блока предварительной обработки сигналов с упомянутым компьютером, выполненным с возможностью опроса измерительных преобразователей, приема и регистрации сигналов, содержащих измерительную информацию и с возможностью сравнения упомянутой информации с заранее внесенными в его память фиксированными величинами, согласно заявляемому изобретению снабжено средствами наглядного представления информации, включающими выведенное на экран компьютера условное изображение контролируемой конструкции, цветные метки-индикаторы, размещенные на упомянутом изображении в соответствии с размещением измерительных преобразователей и выполненные с возможностью отражения в реальном времени исправности соответствующего измерительного преобразователя и результатов сравнения последней принятой с него информации посредством своего цвета и его изменения, при этом компьютер выполнен с возможностью одновременного со сменой цвета метки-индикатора вывода на экран дополнительных сведений о типе и исполнении конструкции, на которой расположен соответствующий упомянутой метке-индикатору измерительный преобразователь.

[15]

Для описания устройства вместо термина «датчик» был применен идентичный ему термин «измерительный преобразователь» согласно рекомендациям ГОСТа 16263-70.

[16]

Основными показателями состояния конструкции здания или строительного сооружения являются наличие и величина деформации ее составных элементов. Поэтому в основном в качестве датчиков для проведения контроля состояния конструкции здания или строительного сооружения используют тензометрические датчики, при этом в качестве фиксированной величины для сравнения поступающей с них информации используют расчетное значение предельно допустимой деформации элемента конструкции, на котором установлен упомянутый датчик. Однако заявляемое решение не ограничивает возможности использования других измерительных преобразователей (датчиков) с целью контроля дополнительных параметров.

[17]

Вышеприведенные совокупности существенных признаков как способа, так и устройства позволяют получить новый положительный результат, а именно - наглядную и оперативную картину текущего состояния контролируемой конструкции, которая обеспечивает распознавание критической ситуации практически с момента ее возникновения и оперативность принятия своевременного и оптимально правильного решения по выводу людей из аварийной зоны.

[18]

Изменение ситуации в любой контролируемой точке конструкции, будь то неисправность работы датчика или превышение измеренной датчиком деформации предельно допустимой величины, практически мгновенно отражается на экране в виде изменения цвета метки-индикатора на другой, контрастный предыдущему, например зеленый - красный. Наглядность представления информации в виде картинки условного изображения конструкции с цветными метками-индикаторами и оперативность ее вывода на экран за счет работы устройства в режиме реального времени обеспечивает оперативность реагирования дежурного оператора, в зоне видимости которого расположен экран дисплея (или монитора) компьютера.

[19]

Вместе с тем на экране наглядно отражено место возникновения критической деформации, что обеспечено за счет расположения меток-индикаторов на условном изображении объекта в соответствии с реальным размещением датчиков. Это позволяет в короткий срок принять решение о том, как быстрее вывести людей из опасной зоны.

[20]

Еще одним фактором, способствующим оперативности принятия решения о дальнейших действиях, является вывод на экран одновременно с поступлением сигнала о превышении предельно допустимой величины, информации о типе элемента строительной конструкции, где произошло упомянутое превышение, т.к. в отличие от прототипа и других известных решений здание (строительное сооружение) состоит из элементов, относящихся к различным типам строительных конструкций, характеризующихся своими особенностями. Среди них могут быть железобетонные и металлические балки, различные вертикальные опоры, плиты перекрытий и проч. Кроме того, информация содержит дополнительные сведения о исполнении элемента конструкции, это могут быть подробности его расположения в общей конструкции здания и по отношению к близлежащим и/или контактирующим с ним элементам.

[21]

Результаты контроля могут быть использованы для текущей оценки технического состояния здания (сооружения) и служить основанием для решения специальных вопросов, возникающих в процессе эксплуатации, в том числе для разработки проектов ремонта, усиления конструкции, увеличения нагрузки на несущие конструкции и т.д.

[22]

С целью привлечения дополнительного внимания оператора одновременно со сменой цвета метки-индикатора осуществляют подачу звукового сигнала «тревоги».

[23]

В конкретном случае реализации устройства средства связи блока предварительной обработки сигналов с компьютером могут быть выполнены в виде проводной линии связи (цифровой шины) и размещенного на входе компьютера устройства согласования сигналов.

[24]

В качестве устройства согласования сигналов может быть использован конвертор.

[25]

Устройство предназначено предпочтительно для контроля крупногабаритных и высотных сооружений, занимающих большие площади. В этих случаях наиболее рациональным является размещение датчиков группами, каждая из которых связана со своим блоком предварительной обработки сигналов (БПОС). Все блоки (БПОС) подключены к общей шине. Решение позволяет исключить необходимость прокладывания протяженных проводных линий.

[26]

Краткое описание чертежей

[27]

Изобретение поясняется чертежами, где

[28]

на фиг.1 представлена структурная схема устройства, реализующего способ;

[29]

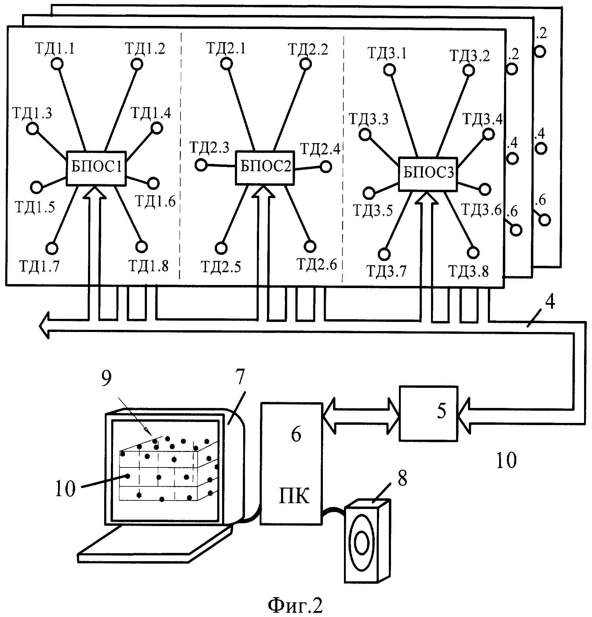
на фиг.2 - структурная схема устройства в случае контроля конструкции большой площади, показано размещение датчиков группами.

[30]

Осуществление изобретения

[31]

Устройство контроля состояния конструкции здания или инженерно-строительного сооружения содержит набор измерительных преобразователей 1, блок 2 предварительной обработки сигналов (БПОС), включающий плату 3 АЦП, линию связи - шину 4, устройство согласования сигналов - конвертор 5, пункт контроля, выполненный в виде компьютера 6, и связанные с последним дисплей 7 и устройство 8 звуковой сигнализации.

[32]

Все составляющие блоки устройства могут быть реализованы на базе известных выпускаемых элементов и микросхем, предназначенных для выполнения указанных функций.

[33]

Набор измерительных преобразователей 1 в приведенном примере реализации включает тензометрические датчики ТД-1, ТД-2,.., ТД-n. Однако приведенный пример не исчерпывает возможные случаи реализации устройства и не ограничивает применение для контроля здания (сооружения) других видов измерительных преобразователей, выдающих информацию в виде электрического аналогового сигнала.

[34]

Блок 2 предварительной обработки сигналов выполняет функции коммутации, подключения датчиков по запросу компьютера, снятие с них информации, необходимые преобразования, в том числе оцифровку информации, и ее передачу. Блок 2 может быть реализован на базе микросхемы управляющего контроллера, включающего плату АЦП и согласующего работу всех элементов блока.

[35]

К компьютеру 6, который предназначен для управления процессом контроля в соответствии с заложенной программой, а также для регистрации и обработки данных, не предъявляются серьезные технические или системные требования. Это может быть персональный компьютер, с тактовой частотой не менее 500 МГц и объемом оперативной памяти - не менее 256 Мб. Программа может работать на операционных системах от Windows 98 до Windows XP.

[36]

Заявляемый способ контроля осуществляется посредством заявляемого устройства следующим образом.

[37]

Осуществляют установку датчиков 1 в наиболее опасных сечениях конструкции, подверженных наибольшим нагрузкам. Упомянутые места обычно определяет конструктор здания. На экран дисплея 7 выведено условное изображение 9 контролируемой конструкции с размещенными на ней цветными метками-индикаторами 10, соответствующими датчикам 1. Работа датчиков, измерения которых находятся в допустимых пределах, отражается зеленым цветом метки-индикатора 10. Нерабочее состояние датчика 1 - отражается желтым цветом. Для отражения показаний датчиков, превышающих предельно допустимые значения, предусмотрен красный цвет индикатора.

[38]

В память компьютера 6 заносят расчетные величины предельно допустимой деформации для каждого контролируемого элемента конструкции здания, на который устанавливается датчик, а также сведения о типе конструкции, месте его расположения и другая необходимая при принятии решения информация.

[39]

За зданием (сооружением) устанавливают постоянный надзор на протяжении всего периода эксплуатации. Система находится в постоянном режиме самодиагностики.

[40]

Компьютер 6 в соответствии с заданной программой производит поочередный опрос датчиков 1, для чего на шину 4 выставляется адрес опрашиваемого датчика 1, блок 2 принимает сигнал, расшифровывает и подключает датчик с запрашиваемым адресом для считывания с него информации. Полученная с датчика 1 информация преобразуется в цифровую форму на плате 3 АЦП и передается на шину 4. Конвертор 5 осуществляет преобразование сигналов к виду, пригодному для обработки в компьютере. Компьютер 6 регистрирует сигнал, несущий измерительную информацию, и осуществляет сравнение полученных данных с заранее введенной в память предельной величиной. Сравнение может осуществляться, например, путем нахождения разности между упомянутыми величинами.

[41]

При превышении полученной с датчика 1 информации предельно допустимого значения, т.е. когда происходит смена знака полученной разницы, компьютер 6 выдает сигнал на смену цвета соответствующей метки-индикатора 10 и на звуковое устройство 8, осуществляющее подачу звукового сигнала. Одновременно с этим производится обращение к памяти компьютера и извлечение из нее всей имеющейся информации о том элементе строительной конструкции, на котором произошло превышение. Извлеченная информация выводится на экран дисплея 7.

[42]

Дежурный, в рабочей зоне которого расположен дисплей 7, фиксирует сигнал «тревоги». Эксплуатация здания приостанавливается, производится эвакуация людей, и специалисты производят обследование конструкции, с которой поступил тревожный сигнал. После анализа принимается решение о дальнейшей эксплуатации здания.

[43]

Система позволяет предупредить возникновение опасных деформаций в зданиях и сооружениях на ранних стадиях и тем самым предотвратить разрушение последних, осуществить своевременную эвакуацию людей и материальных ценностей.

[44]

В случаях больших площадей датчики 1 могут быть сгруппированы в группы (см. фиг.2), каждая из которых связана со своим блоком измерения: 1-я группа ТД1.1, ТД1.2,.. ТД1.8 связана с БПОС-1; 2-я группа, включающая ТД2.1, ТД2.2,.., ТД2.6, связана с БПОС-2, 3-я (ТД3.1, ТД3.2,..., ТД3.8) - с БПОС-3. Все блоки БПОС подключены к общей линии связи. Опрос групп производится поочередно в соответствии с программой. Обработка и вывод информации осуществляются аналогично вышеприведенному примеру.

[45]

Постоянный контроль-надзор особенно важен при эксплуатации крупных, высотных зданий, преимущественно офисных, а также сооружений культурно-досугового характера, т.е. для тех зданий и сооружений, в которых происходит массовое скопление людей, так как в этих случаях особенно необходимо быстрое реагирование на аварийную ситуацию и обеспечение оперативной эвакуации.

[46]

Заявляемая многоканальная компьютерная система мониторинга строительных конструкций позволяет круглосуточно автоматически отслеживать состояние контролируемой конструкции и выводить наглядную информацию на пульт дежурного, который может быть расположен в комнате охраны здания, а может быть выведен на пульт милиции, МЧС или другой соответствующей организации. В приведенном примере с проводной линией связи предусмотрена возможность удаления БПОС от блока конвертора, т.е. компьютера, расположенного на пункте контроля, до 1000 м. Однако приведенные примеры не ограничивают возможность использования изобретения в устройствах с беспроводными каналами связи.

Как компенсировать расходы
на инновационную разработку
Похожие патенты