патент
№ RU 2688049
МПК F03H1/00

АБЛЯЦИОННЫЙ ИМПУЛЬСНЫЙ ПЛАЗМЕННЫЙ ДВИГАТЕЛЬ

Авторы:
Семенихин Сергей Анатольевич Любинская Наталия Валентиновна Богатый Александр Владимирович
Все (4)
Номер заявки
2018122125
Дата подачи заявки
18.06.2018
Опубликовано
17.05.2019
Страна
RU
Как управлять
интеллектуальной собственностью
Чертежи 
2
Реферат

Изобретение относится к электрическим ракетным двигателям, применяемым в составе двигательных установок космических аппаратов. Абляционный импульсный плазменный двигатель содержит установленные напротив друг друга два разрядных электрода: катод (1) и анод (2). Электроды образуют расширяющийся разрядный канал. Между электродами установлен торцевой изолятор (3). Электроды подключены через токоподводы (5 и 6) к емкостному накопителю энергии. Две диэлектрические шашки (4), выполненные из аблирующего материала, расположены со стороны торцевого изолятора между разрядными электродами. Устройство (7) инициирования электрического разряда содержит электроды, установленные через отверстие, выполненное в катоде, в разрядном канале между торцевыми поверхностями диэлектрических шашек. Разрядные электроды установлены так, что касательные к противоположно расположенным образующим их поверхностей в продольной плоскости сечения разрядного канала, по меньшей мере, в пределах участка канала между торцевыми поверхностями диэлектрических шашек расположены под острым углом относительно друг друга. Поперечное сечение диэлектрических шашек по форме и размерам соответствует продольному сечению участка разрядного канала, ограниченного поверхностью торцевого изолятора и боковой поверхностью шашек, обращенной к открытой части разрядного канала. Разрядные электроды выполняются с плоской или криволинейной поверхностью. При использовании изобретения повышается эффективность использования рабочего вещества, увеличивается удельный импульс тяги и повышается тяговая эффективность плазменного двигателя. 6 з.п. ф-лы, 3 ил.

Формула изобретения

1. Абляционный импульсный плазменный двигатель, содержащий установленные напротив друг друга два разрядных электрода, образующие разрядный канал, торцевой изолятор, установленный между разрядными электродами и образующий закрытую торцевую часть разрядного канала, две диэлектрические шашки, выполненные из аблирующего материала и установленные у поверхности торцевого изолятора между разрядными электродами с противоположных боковых сторон разрядного канала симметрично относительно его продольной срединной плоскости сечения, устройство перемещения диэлектрических шашек в направлении к продольной срединной плоскости сечения разрядного канала и устройство инициирования электрического разряда с электродами, установленными в разрядном канале между торцевыми поверхностями диэлектрических шашек, отличающийся тем, что разрядный канал выполнен расширяющимся от поверхности торцевого изолятора, при этом касательные к противоположно расположенным образующим поверхностей разрядных электродов в продольной плоскости сечения разрядного канала, по меньшей мере, в пределах его участка между торцевыми поверхностями диэлектрических шашек расположены под острым углом относительно друг друга, причем поперечное сечение диэлектрических шашек по форме и размерам соответствует продольному сечению участка разрядного канала, ограниченного поверхностью торцевого изолятора и боковой поверхностью диэлектрических шашек, обращенной к открытой части разрядного канала.

2. Двигатель по п. 1, отличающийся тем, что использованы разрядные электроды с плоской поверхностью.

3. Двигатель по п. 2, отличающийся тем, что плоские разрядные электроды расположены симметрично относительно друг друга.

4. Двигатель по п. 2, отличающийся тем, что плоские разрядные электроды расположены несимметрично относительно друг друга.

5. Двигатель по п. 2, отличающийся тем, что угол между плоскими разрядными электродами составляет от 20° до 40°.

6. Двигатель по п. 1, отличающийся тем, что использованы разрядные электроды с криволинейной поверхностью.

7. Двигатель по п. 6, отличающийся тем, что угол между касательными к противоположно расположенным образующим поверхностей разрядных электродов в продольной плоскости сечения разрядного канала в пределах его участка между торцевыми поверхностями диэлектрических шашек составляет от 20° до 40°.

Описание

[1]

Изобретение относится к двигателям космических аппаратов (КА), в частности к электрическим ракетным двигателям, применяемым в составе двигательных установок (ДУ) КА. Абляционные импульсные плазменные двигатели (АИПД) используются для создания реактивной тяги и управления движением КА, а также для проведения экспериментальных исследований и модельных испытаний в наземных условиях.

[2]

В АИПД рельсотронного типа применяется твердое рабочее вещество в виде твердых диэлектрических шашек, выполненных из аблирующего материала, как правило из фторопласта. Ускорение плазмы осуществляется в разрядном (ускорительном) канале АИПД. Разрядный канал плазменного двигателя ограничен поверхностями плоских разрядных электродов, расположенных напротив друг друга, рабочими (торцевыми) поверхностями диэлектрических шашек, установленных между разрядными электродами, и поверхностью торцевого изолятора, обращенной к открытой части разрядного канала (Новый этап развития абляционных импульсных плазменных двигателей в НИИ ПМЭ / Н.Н. Антропов [и др.] // Вестник ФГУП «НПО им. С.А. Лавочкина». 2011, №5. С. 30-40).

[3]

Импульсное ускорение плазмы в АИПД осуществляется следующим образом. Перед электрическим разрядом в канале АИПД производится зарядка емкостного накопителя энергии (конденсаторной батареи), который электрически связан с разрядными электродами, от источника электроэнергии, в частности от системы электропитания КА. Основной разряд в разрядном канале инициируется искровым разрядом с помощью устройства инициирования электрического разряда (свечи). В межэлектродном объеме образуются заряженные частицы, после чего происходит электрический пробой разрядного промежутка. Импульсный разряд емкостного накопителя энергии обычно продолжается от 3 до 15 мкс. Разрядный ток первоначально протекает вдоль поверхности торцевого изолятора, а затем канал электрического разряда перемещается в объем разрядного канала. В процессе электрического разряда происходит интенсивный нагрев и излучение плазменного образования. Тепловой поток, излучаемый плазменной перемычкой, воздействуя на рабочие поверхности диэлектрических шашек, вызывает абляцию твердого рабочего вещества, в качестве которого обычно используется фторопласт. Продукты абляции фторопласта диссоциируют, переходя в газообразное состояние, и ионизуются в разрядном объеме.

[4]

При протекании разрядного тока через разрядные электроды в межэлектродном промежутке создается магнитное поле, основная компонента которого BZ направлена вдоль поперечной оси Z разрядного канала. При взаимодействии компоненты магнитного поля BZ с разрядным током JY, протекающим между разрядными электродами, создается объемная электромагнитная сила FX=JY x BZ, направленная вдоль продольной оси X разрядного канала (в направлении ускорения плазменного потока). Образующаяся в разрядном объеме плазма ускоряется электромагнитной силой FX до скоростей от 20 до 30 км/с.В конце апериодического разряда, когда разрядный ток JY существенно уменьшается, более существенный вклад в ускорение плазмы вносят газодинамические силы, обеспечивающие характерную скорость истечения плазменного образования от 3 до 5 км/с.

[5]

Основные особенности импульсного ускорения плазмы проявляются при рассмотрении модели разрядного контура в простейшем электродинамическом приближении (Колесников П.М. Электродинамическое ускорение плазмы. М.: Атомиздат, 1971. С. 207-216). В электродинамическом приближении плазменный двигатель, представляющий собой электромагнитный ускоритель плазмы, моделируется в виде эквивалентной разрядной цепи с подвижным проводником, моделирующим плазменную перемычку между разрядными электродами. Эквивалентная электрическая цепь имеет постоянные электрическую емкость С и сопротивление R. Индуктивность разрядной цепи L включает постоянную L0 (начальную индуктивность) и переменную ΔL=b⋅x составляющие (где b [Гн/м] - погонная индуктивность разрядных электродов, х - координата центра инерции плазменного сгустка в продольном направлении разрядного канала). Масса m подвижного участка цепи, моделирующего плазменный сгусток, в первом приближении принимается постоянной, а омическое сопротивление R существенно меньшим индуктивного сопротивления: R<<ωL (где ω - собственная круговая частота разрядного контура). При этом скорость плазменного сгустка зависит от величины погонной индуктивности b разрядных электродов и, соответственно, от переменной составляющей индуктивности ΔL. При ускорении плазменного сгустка в разрядном канале величина тока I разряда затухает за счет перехода электромагнитной энергии разрядного контура в кинетическую энергию ускоряемого плазменного сгустка.

[6]

Эффективность электродинамического ускорения плазмы в разрядном канале АИПД в значительной степени зависит от соотношения постоянной (начальной) L0 и переменной ΔL составляющих индуктивности разрядного контура. Эффективность ускорения плазмы повышается при росте погонной индуктивности b разрядных электродов и снижении начальной (паразитной) индуктивности. L0 разрядного контура

[7]

Для увеличения погонной индуктивности b разрядных электродов и соответствующего повышения эффективности электродинамического ускорения плазмы в АИПД используют профилированные электроды. В таких конструкциях ширина разрядных электродов уменьшается в направлении ускорения плазменного сгустка, а расстояние между электродами за пределами начального участка разрядного канала увеличивается в том же направлении (к выходной части разрядного канала). При данной конфигурации разрядных электродов разрядный канал включает начальный участок с параллельно расположенными электродами и расширяющуюся выходную часть (участок). Конструкция подобного типа АИПД описана, например, в патенте RU 2253953 C1 (опубликован 10.06.2005).

[8]

Известный АИПД включает в свой состав профилированные разрядные электроды, диэлектрические шашки, выполненные из аблирующего материала, торцевой изолятор, образующий закрытую торцевую часть разрядного канала, устройство инициирования разряда и токоподводы, соединяющие разрядные электроды с накопителем электрической энергии. Диэлектрические шашки устанавливаются у поверхности торцевого изолятора с противоположных сторон начального участка разрядного канала, образованного параллельно расположенными частями плоских разрядных электродов. Шашки размещаются симметрично относительно продольной срединной плоскости сечения разрядного канала. Восполнение расходуемого твердого рабочего вещества осуществляется с помощью устройства перемещения диэлектрических шашек, обеспечивающего движение шашек в направлении к продольной срединной плоскости сечения разрядного канала.

[9]

Следует отметить, что диэлектрические шашки в АИПД - аналоге устанавливаются между участками разрядных электродов, имеющих плоскую форму и постоянную вдоль направления ускорения плазмы ширину. В отличие от расширяющейся выходной части разрядного канала, на начальном участке разрядного канала в области размещения диэлектрических шашек участки разрядных электродов расположены параллельно друг другу. Поперечное сечение диэлектрических шашек по форме и размерам соответствует продольному сечению начального участка разрядного канала и поэтому имеет форму прямоугольника.

[10]

Другой, имеющей существенное значение для процесса ускорения плазмы, особенностью АИПД является то, что электрический разряд в разрядном канале одновременно выполняет две функции: обеспечивает дозированную подачу плазмообразующего рабочего вещества в разрядный объем и ускорение плазменного сгустка за счет действия объемной электромагнитной силы. На первой стадии развития конструкции АИПД было экспериментально установлено, что интегральный расход рабочего тела за импульс пропорционален энергии электрического разряда. При этом для достижения высокой эффективности использования рабочего вещества и тяговой эффективности АИПД необходимо обеспечить синхронизацию процессов ввода электрической энергии в разрядный канал и дозированной подачи рабочего вещества в область горения разряда.

[11]

Известны технические решения, направленные на обеспечение синхронизации указанных выше процессов, происходящих в разрядном канале АИПД. Так, например, в патенте RU 2542354 C1 (опубликован 20.02.2015) описана конструкция АИПД с двухступенчатым разрядным каналом, образованным катодом, двумя электрически изолированными анодами, торцевым изолятором и диэлектрическими шашками, расположенными между первым анодом и катодом.

[12]

Синхронизация процесса испарения твердого рабочего вещества и ускорения газообразного ионизованного вещества происходит за счет управляемого воздействия электрическим разрядом, генерируемым в первой ступени ускорительного канала (между первым анодом и катодом), на рабочие поверхности диэлектрических шашек, выполненных из аблирующего материала. Управление воздействием на рабочие поверхности диэлектрических шашек потоком энергии, излучаемым разрядом первой ступени, производится посредством создания управляющей электромагнитной силы. Для этого используется магнитное поле, возбуждаемое при протекании тока разряда через управляющий токоподвод, который ориентирован определенным образом между разрядными электродами. При взаимодействии тока разряда с внешним магнитным полем возникает сила Ампера, направленная к торцевому изолятору.

[13]

В результате действия электромагнитной силы движение канала разряда замедляется на начальном участке разрядного канала, и происходит интенсивная абляция (эрозия) и испарение рабочего вещества с рабочих поверхностей диэлектрических шашек в области локализации разряда. Вследствие этого на вход второй ступени поступает сформированный достаточно однородный поток рабочего вещества, что способствует эффективному ускорению плазмы во второй ступени разрядного канала. Участки разрядных электродов второй ступени смещены друг относительно друга, образуя расширяющуюся часть разрядного канала, а их ширина уменьшается в направлении ускорения плазмы.

[14]

Двухступенчатые схемы разрядных каналов с расширяющейся выходной частью используются также и в АИПД с продольной подачей твердого диэлектрического рабочего вещества. В таких конструктивных решениях диэлектрическая шашка, выполненная из аблирующего материала, подается, по мере ее расходования, вдоль разрядного канала со стороны его закрытой части (международная заявка WO 2008/035061 A1, опубликована 27.03.2008).

[15]

Наиболее близким аналогом изобретения является АИПД, описанный в патенте RU 2516011 C1 (опубликован 20.05.2014). Известный плазменный двигатель содержит установленные напротив друг друга два разрядных электрода, образующие разрядный канал. Торцевой изолятор установлен между разрядными электродами и образует закрытую торцевую часть разрядного канала. Две диэлектрические шашки, выполненные из аблирующего материала, расположены со стороны торцевого изолятора между разрядными электродами с противоположных сторон разрядного канала. Шашки размещены симметрично относительно продольной срединной плоскости сечения разрядного канала. В состав АИПД входит устройство перемещения диэлектрических шашек в направлении к продольной срединной плоскости сечения разрядного канала. Устройство инициирования электрического разряда содержит электроды, установленные в разрядном канале между торцевыми рабочими поверхностями диэлектрических шашек. Электроды устройства инициирования разряда расположены в отверстии, выполненном в катоде, и электрически изолированы от него.

[16]

Синхронизация процессов образования газообразного рабочего вещества, ионизации рабочего вещества и ускорения плазменного сгустка обеспечивается в известном техническом решении за счет профилирования рабочих поверхностей диэлектрических шашек в продольном сечении разрядного канала, проходящем через шашки, и расположения плоской поверхности торцевого изолятора под острым углом относительно срединной плоскости разрядного канала. При данном выполнении токовый канал разряда в начальный период времени ориентируется вдоль поверхности торцевого изолятора, ограничивающей поперечное сечение диэлектрических шашек на начальном участке разрядного канала. В этом случае рабочие поверхности диэлектрических шашек находятся в течение начальной стадии электрического разряда в области интенсивного воздействия высокотемпературного плазменного образования, формируемого в межэлектродном промежутке. В результате достигается относительно равномерный нагрев рабочих поверхностей диэлектрических шашек на начальной стадии разряда.

[17]

Данное выполнение позволяет повысить эффективность использования рабочего вещества и тяговую эффективность АИПД за счет частичной синхронизации процессов образования газообразного рабочего вещества и ускорения плазменного образования. Эффект может быть усилен посредством предварительного профилирования рабочих поверхностей диэлектрических шашек, однако такое профилирование теряет свое значение после многочисленных включений АИПД в течение длительной эксплуатации ДУ КА из-за неравномерной эрозии торцевых частей шашек. Влияние угла наклона поверхности торцевого изолятора на равномерный нагрев рабочих поверхностей диэлектрических шашек также снижается при изменении режима работы АИПД и из-за нерегулируемой эрозии диэлектрических шашек и других элементов конструкции разрядного канала.

[18]

Необходимо отметить, что описанные выше усовершенствования АИПД касаются выполнения участка разрядного канала, ограниченного плоскими участками параллельно расположенных разрядных электродов. Форма и взаимное расположение разрядных электродов изменяются, образуя расширяющуюся часть разрядного канала, за пределами начального участка, ограниченного, с одной стороны, поверхностью торцевого изолятора и боковой поверхностью диэлектрических шашек, обращенной к открытой части разрядного канала, с противоположной стороны.

[19]

Изобретение направлено на решение технических проблем, связанных с неполной синхронизацией в разрядном канале АИПД процессов образования и дозирования газообразного рабочего вещества и процессов ионизации и ускорения плазменного образования. Синхронизация указанных процессов должна обеспечиваться при длительной эксплуатации ДУ КА в течение всего ресурса АИПД. Вместе с тем изобретение направлено на повышение эффективности электродинамического ускорения плазмы за счет увеличения переменной составляющей индуктивности ΔL, величина которой зависит от погонной индуктивности b разрядных электродов, по сравнению с постоянной начальной индуктивностью L0 разрядного контура.

[20]

Технические результаты, достигаемые за счет решения перечисленных выше технических проблем, заключаются в повышении эффективности использования рабочего вещества (диэлектрического аблирующего материала), увеличении удельного импульса тяги и повышении тяговой эффективности АИПД.

[21]

Достижение технических результатов обеспечивается при использовании АИПД, содержащего установленные напротив друг друга два разрядных электрода. Электроды образуют разрядный канал. АИПД включает в свой состав торцевой изолятор, установленный между разрядными электродами и образующий закрытую торцевую часть разрядного канала. Две диэлектрические шашки, выполненные из аблирующего материала, расположены со стороны торцевого изолятора между разрядными электродами с противоположных боковых сторон разрядного канала. Шашки размещены симметрично относительно продольной срединной плоскости сечения разрядного канала. АИПД содержит устройство перемещения диэлектрических шашек в направлении к продольной срединной плоскости сечения разрядного канала и устройство инициирования электрического разряда с электродами, установленными в разрядном канале между торцевыми поверхностями диэлектрических шашек.

[22]

Разрядный канал АИПД, согласно изобретению, выполняется расширяющимся от поверхности торцевого изолятора. При этом касательные к противоположно расположенным образующим поверхностей разрядных электродов в продольной плоскости сечения разрядного канала, по меньшей мере, в пределах его участка между торцевыми поверхностями диэлектрических шашек расположены под острым углом относительно друг друга. Поперечное сечение диэлектрических шашек по форме и размерам соответствует продольному сечению участка разрядного канала, ограниченного поверхностью торцевого изолятора и боковой поверхностью диэлектрических шашек, обращенной к открытой части разрядного канала.

[23]

Выполнение начального участка разрядного канала расширяющейся формы за счет взаимного углового смещения или профилирования участков разрядных электродов, непосредственно примыкающих к торцевому изолятору, позволяет синхронизировать ввод массы рабочего вещества в разрядный объем и ввод электрической энергии разряда. При этом ввод энергии определяется апериодической зависимостью тока разряда от времени. В силу того, что поперечное сечение диэлектрических шашек соответствует форме и размерам начального расширяющегося участка разрядного канала, при перемещении плазменного образования вдоль рабочего канала по мере нарастания тока разряда увеличивается и площадь участков рабочих поверхностей диэлектрических шашек, расположенных напротив высокотемпературного плазменного сгустка в текущий момент времени. В этом случае минимальную площадь имеют участки рабочих поверхностей диэлектрических шашек, находящиеся в непосредственной близости от поверхности торцевого изолятора. В данной области происходит пробой межэлектродного промежутка, инициация разряда и формирование канала разряда. Данные процессы происходят в течение ~1 мкс. За счет сокращения площади рабочей поверхности диэлектрических шашек в области торцевого изолятора обеспечивается оптимальное дозирование рабочего вещества и соответствующее сокращение его непроизводительных потерь.

[24]

В результате абляции диэлектрических шашек и испарения рабочего вещества осуществляется дозированная подача рабочего вещества в область разряда, при этом масса рабочего вещества, вводимого в разрядный объем будет зависеть не только от подводимой энергии, но и от текущего положения канала разряда в полости начального расширяющегося участка разрядного канала. Для конкретной конструкции АИПД можно подобрать форму и размеры электродов на начальном участке канала и соответствующие размеры поперечного сечения диэлектрических шашек таким образом, чтобы рост массы рабочего вещества, вводимого в разрядный объем при текущем положении плазменной перемычки, происходил в большей степени синхронно с ростом тока разряда.

[25]

Синхронизация процессов образования в разрядном объеме рабочего вещества, его ионизации и ускорения плазменного образования позволяет повысить эффективность использования рабочего вещества, тяговую эффективность АИПД и увеличить удельный импульс тяги на 20% по сравнению с известными аналогами. Данный технический результат обусловлен также увеличением погонной индуктивности b электродов, определяющей величину переменной составляющей индуктивности ΔL разрядного контура. Погонная индуктивность b увеличивается в результате замены параллельно расположенных электродов на начальном участке канала на электроды, расположенные с угловым смещением относительно друг друга, расстояние между которыми увеличивается в направлении ускорения плазмы.

[26]

В АИПД могут использоваться разрядные электроды с плоской поверхностью. В зависимости от решаемых задач плоские разрядные электроды могут быть расположены симметрично или несимметрично относительно друг друга.

[27]

В предпочтительных вариантах конструкции АИПД угол между плоскими разрядными электродами составляет от 20° до 40°.

[28]

Возможны также варианты конструкции АИПД с разрядными электродами, имеющими криволинейную поверхность. Угол между касательными к противоположно расположенным образующим поверхностей разрядных электродов в продольной плоскости сечения разрядного канала предпочтительно выбирается в диапазоне оптимальных значений от 20° до 40°. Данные значения углового смещения электродов относятся к участку разрядного канала, расположенному между торцевыми поверхностями диэлектрических шашек.

[29]

Далее изобретение поясняется описанием конкретных примеров выполнения АИПД. На прилагаемых чертежах изображено следующее:

[30]

на фиг. 1 - схематичный продольный разрез разрядного канала АИПД с симметрично расположенными плоскими разрядными электродами;

[31]

на фиг. 2 - схематичный продольный разрез разрядного канала АИПД с несимметричным расположением плоских разрядных электродов;

[32]

на фиг. 3 - схематичный продольный разрез разрядного канала АИПД с разрядными электродами, имеющими криволинейную форму.

[33]

АИПД, вариант конструкции которого изображен на фиг. 1 чертежей, содержит расположенные напротив друг друга два разрядных электрода: катод 1 и анод 2. В рассматриваемом варианте конструкции АИПД используются разрядные электроды с плоской поверхностью. Электроды 1 и 2 расположены симметрично относительно друг друга и образуют расширяющийся разрядный канал, включающий начальный участок канала. Угол между плоскими разрядными электродами 1 и 2 составляет 30°. Между разрядными электродами установлен разделяющий торцевой изолятор 3, образующий закрытую торцевую часть разрядного канала. Торцевой изолятор 3 выполняется из высокотемпературной керамики, в качестве которой может использоваться нитрид бора или оксид алюминия. Длина разрядных электродов от поверхности торцевого изолятора 3 до их торцевых частей составляет 52 мм.

[34]

С противоположных боковых сторон разрядного канала у поверхности торцевого изолятора 3 расположены две диэлектрические шашки 4, выполненные из аблирующего диэлектрического материала, в качестве которого используется фторопласт. Диэлектрические шашки 4 установлены между разрядными электродами симметрично относительно продольной срединной плоскости сечения разрядного канала. Схема размещения диэлектрических шашек аналогична традиционно используемой в АИПД схеме (см., например, RU 2253953 C1, RU 2516011 C1). АИПД включает в свой состав устройство перемещения диэлектрических шашек в направлении к продольной срединной плоскости сечения разрядного канала. Данное устройство, обычно применяемое в составе АИПД, выполняется в виде пружинных толкателей с фиксаторами положения диэлектрических шашек (см., например, RU 2253953 C1).

[35]

Разрядные электроды 1 и 2 подключены через токоподводы 5 и 6 к емкостному накопителю энергии, выполненному в виде батареи конденсаторов. Данное устройство входит в состав системы электропитания АИПД. В отверстии, выполненном в катоде 1, напротив поверхности анода 2 установлено устройство 7 инициирования электрического разряда, электроды которого подключены к отдельному блоку электропитания. Перечисленные выше элементы конструкции АИПД установлены в диэлектрическом корпусе 8.

[36]

Разрядный канал расширяется непосредственно от поверхности торцевого изолятора 3. Поперечное сечение диэлектрических шашек 4, установленных между разрядными электродами, по форме и размерам соответствует продольному сечению начального участка разрядного канала. Данный участок ограничен в направлении ускорения плазмы с одной стороны поверхностью торцевого изолятора 3, а с противоположной стороны - боковой поверхностью диэлектрических шашек 4, обращенной к открытой части разрядного канала. В рассматриваемом примере выполнения АИПД поперечное сечение диэлектрических шашек 4 имеет форму равнобедренной трапеции со следующими размерами: высота трапеции - 14 мм, меньшее основание - 15 мм, большее основание - 23 мм. Диэлектрические шашки заполняют примерно 30% длины разрядного канала вдоль направления ускорения плазмы.

[37]

Вариант выполнения АИПД, изображенный на фиг. 2 чертежей, отличается несимметричным расположением разрядных электродов 9 и 10, образующих расширяющийся разрядный канал. Плоский анод 10 ориентирован перпендикулярно поверхности торцевого изолятора 11. Плоский катод 9 расположен под углом 30° относительно плоской поверхности анода 10 и, соответственно, под углом 120° к плоской поверхности торцевого изолятора 11.

[38]

Поперечное сечение диэлектрических шашек 12, установленных между разрядными электродами, соответствует продольному сечению начального участка разрядного канала. В рассматриваемом примере поперечное сечение диэлектрических шашек 12 имеет форму прямоугольной трапеции, высота которой составляет 14 мм. Разрядные электроды 9 и 10 подключены через токоподводы 13 и 14 к емкостному накопителю энергии. В отверстии, выполненном в катоде 9, напротив поверхности анода 10 размещено устройство 15 инициирования электрического разряда. Элементы конструкции АИПД установлены в диэлектрическом корпусе 16.

[39]

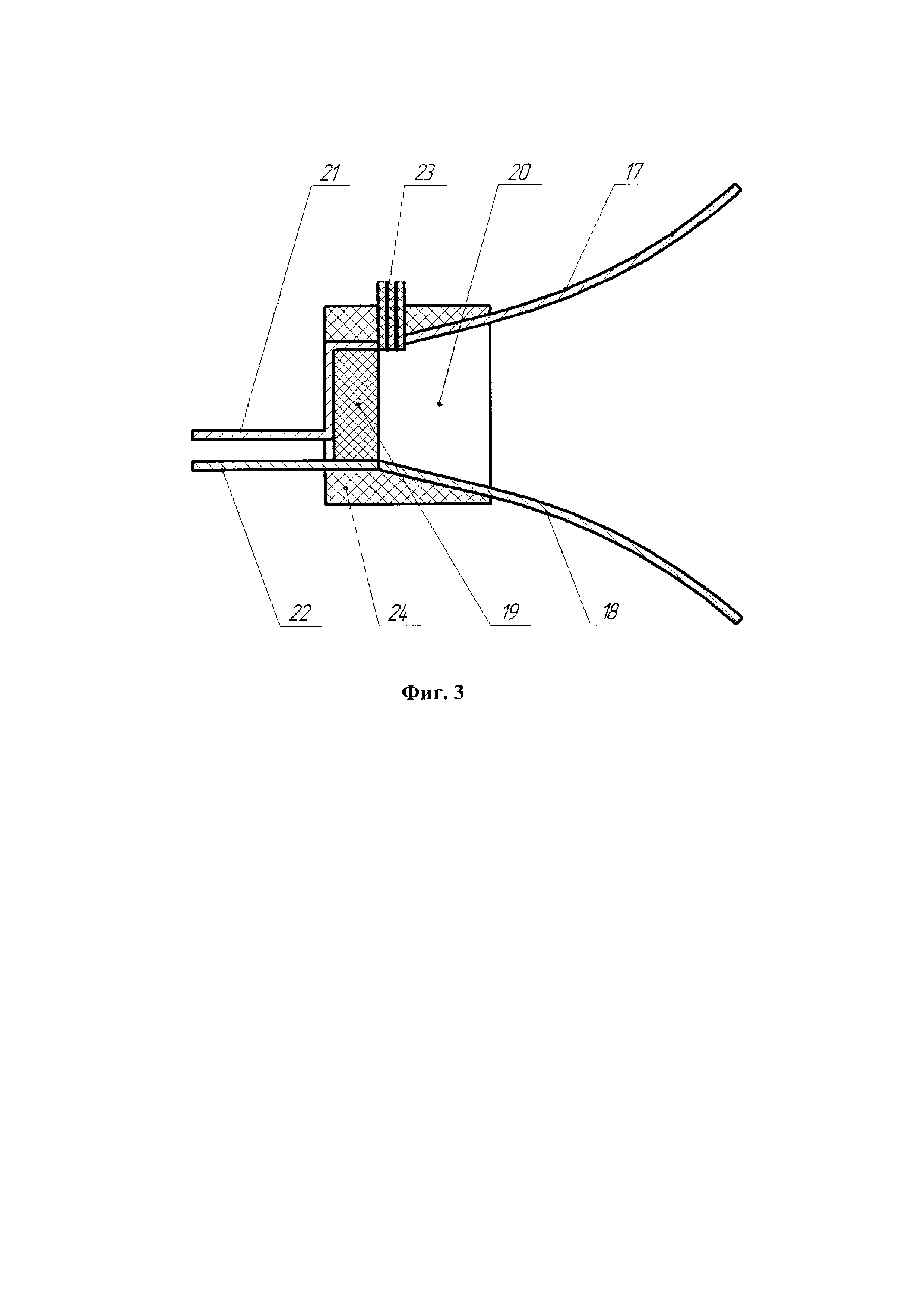
Вариант выполнения АИПД, изображенный на фиг. 3 чертежей, отличается формой выполнения разрядных электродов 17 и 18, образующих расширяющийся разрядный канал. В данном примере используются разрядные электроды с криволинейной поверхностью, между которыми установлен торцевой изолятор 19 с плоской поверхностью. С противоположных боковых сторон разрядного канала между разрядными электродами 17 и 18 расположены две диэлектрические шашки 20. Форма и размеры поперечного сечения диэлектрических шашек 20 соответствуют продольному сечению начального участка разрядного канала, ограниченного поверхностью торцевого изолятора 19 и боковой поверхностью диэлектрических шашек 20, обращенной к открытой части разрядного канала. В рассматриваемом примере поперечное сечение диэлектрических шашек имеет форму геометрической фигуры, ограниченной двумя параллельными отрезками прямых линий и двумя симметрично расположенными криволинейными отрезками. Диэлектрические шашки заполняют примерно 30% длины разрядного канала вдоль направления ускорения плазмы.

[40]

Угол между касательными к противоположно расположенным образующим поверхностей разрядных электродов 17 и 18 в продольной плоскости сечения разрядного канала, в пределах его участка между торцевыми поверхностями диэлектрических шашек, составляет 26°. Разрядные электроды подключены через токоподводы 21 и 22 к емкостному накопителю энергии. В отверстии, выполненном в катоде 17, напротив поверхности анода 18 расположено устройство 23 инициирования электрического разряда. Элементы конструкции АИПД установлены в диэлектрическом корпусе 24.

[41]

Работа АИПД, конструкция которого изображена на фиг. 1 чертежей, осуществляется следующим образом.

[42]

При включении АИПД производится инициация электрического разряда, зажигаемого между разрядными электродами. Для этого в блоке электропитания устройства 7 инициирования электрического разряда формируется короткий, длительностью порядка 10-6 с, высоковольтный импульс напряжения, подаваемый на изолированные электроды устройства 7, установленные в отверстии катода 1. В результате высоковольтного электрического пробоя по поверхности диэлектрика, разделяющего электроды устройства 7, образуется проводящий плазменный сгусток, который закорачивает разрядные электроды. После этого происходит электрический пробой межэлектродного промежутка между катодом 1 и анодом 2, на которые через токоподводы 5 и 6 предварительно подается напряжение 1200 В от емкостного накопителя энергии разрядное. Между разрядными электродами зажигается импульсный апериодический электрический разряд с двумя полупериодами тока. Абсолютное значение амплитуды тока составляет от 20 кА до 40 кА в зависимости от емкости накопителя энергии. Длительность импульсного электрического разряда составляет от 10-5 с до 10-4 с.

[43]

Под действием излучения и конвекции из канала электрического разряда происходит абляция и испарение рабочего вещества с рабочих поверхностей диэлектрических шашек 4. Образовавшееся газообразное углеродосодержащее рабочее вещество ионизуется в разрядном объеме и ускоряется в виде межэлектродной плазменной перемычки под действием объемной электромагнитной силы FX и газодинамического давления, создавая реактивную тягу.

[44]

По мере расходования диэлектрических шашек 4 в результате абляции происходит автоматическая подача шашек в полость разрядного канала в направлении к продольной срединной плоскости сечения канала с помощью устройства перемещения диэлектрических шашек. Ограничители перемещения диэлектрических шашек 4, выполненные в виде выступов на поверхности разрядных электродов (на чертеже не показаны), обеспечивают расчетное расстояние между рабочими поверхностями шашек.

[45]

Электромагнитное ускорение плазменного сгустка (плазменной перемычки), образованного в межэлектродном промежутке между разрядными электродами, осуществляется аналогично ускорению подвижного проводника с током под действием силы Ампера. Магнитное поле в разрядном канале создается за счет протекания разрядного тока через параллельно расположенные разрядные электроды.

[46]

Ускоряемые заряженные частицы имеют существенный разброс по скоростям: 20-40% испарившегося рабочего вещества покидают разрядный канал со скоростями от 20 до 30 км/с под действием объемной электромагнитной силы; остальная часть рабочего вещества покидает разрядный канал с субтепловыми и тепловыми скоростями от 0,5 до 5,0 км/с.Данный эффект объясняется тем, что испарившееся и ионизованное рабочее вещество не успевает взаимодействовать с объемной электромагнитной силой FX в течение малой длительности импульса разрядного тока.

[47]

Синхронизация процессов абляции, испарения, ионизации и электромагнитного ускорения заряженных частиц обеспечивается посредством дозированной подачи рабочего вещества в разрядный объем за счет профилирования поперечного сечения диэлектрических шашек в соответствии с изменением расстояния между разрядными электродами на начальном участке разрядного канала в направлении ускорения плазменного образования. По мере увеличения величины разрядного тока импульса и, соответственно, роста электрической энергии, вводимой в разрядный канал, происходит формирование импульсного электрического разряда у поверхности торцевого изолятора 3 и перемещение плазменной перемычки от торцевого изолятора к открытой выходной части разрядного канала. При этом соразмерно увеличению тока разряда увеличивается и площадь рабочей поверхности участков диэлектрических шашек 4, которые в текущий момент времени находятся в области высокотемпературного воздействия со стороны канала электрического разряда (данные участки находятся в непосредственной близости от плазменного образования).

[48]

Данный эффект связан с профилированием поперечного сечения диэлектрических шашек в направлении ускорения плазмы в соответствии с расширяющейся формой разрядного канала. Форма и размеры разрядного канала в его продольной срединной плоскости сечения определяются взаимной ориентацией разрядных электродов. Касательные к противоположно расположенным образующим поверхностей разрядных электродов в продольной плоскости сечения разрядного канала, по меньшей мере, в пределах его участка, расположенного между торцевыми поверхностями диэлектрических шашек, ориентированы под острым углом относительно друг друга.

[49]

В рассматриваемом примере (см. фиг. 1) поперечный размер диэлектрических шашек линейно увеличивается в направлении ускорения плазмы так же, как и расстояние между разрядными электродами. При этом в начальный момент времени, когда происходит межэлектродный пробой и формирование импульсного разряда, в области теплового воздействия находится минимальная рабочая площадь диэлектрических шашек и, вследствие этого, обеспечивается подача минимального количества рабочего вещества в разрядный объем. В этом случае снижаются непроизводительные потери рабочего вещества, повышается эффективность использования рабочего вещества и тяговая эффективность АИПД.

[50]

Вместе с тем при выполнении начального участка разрядного канала расширяющимся в продольной плоскости сечения разрядного канала, пересекающей разрядные электроды, увеличивается погонная индуктивность b электродов и, соответственно, увеличивается переменная составляющая индуктивности ΔL разрядного контура. Расширяющаяся форма начального участка разрядного канала обеспечивается за счет углового смещения разрядных электродов относительно друг друга. Следует отметить, что во всех известных аналогах АИПД разрядные электроды на начальном участке разрядного канала, ограниченном с одной стороны поверхностью торцевого изолятора, а с противоположной сторооны - боковой поверхностью диэлектрических шашек, обращенной к открытой части разрядного канала, расположены параллельно друг другу.

[51]

Таким образом, за счет увеличения погонной индуктивности разрядных электродов повышается эффективность электродинамического ускорения плазменной перемычки, сформированной между разрядными электродами. Данный эффект способствует дальнейшему повышению тяговой эффективности АИПД и увеличению удельного импульса тяги двигателя.

[52]

После разряда емкостного накопителя прекращается подача напряжения на разрядные электроды 1 и 2 и завершается процесс импульсного ускорения плазменного сгустка в разрядном канале АИПД. Затем производится зарядка емкостного накопителя до рабочего уровня энергии, подача напряжения на разрядные электроды и последующее зажигание разряда с помощью устройства 7 инициации электрического разряда. Процесс заряда-разряда емкостного накопителя и зажигания электрического разряда периодически повторяется при импульсном режиме работы АИПД.

[53]

На основании проведенных экспериментальных исследований модели АИПД получены результаты, подтверждающие достижение перечисленных выше технических результатов. При проведении сравнительных испытаний модели АИПД, выполненной согласно изобретению, и АИПД - аналога, конструкция которого описана в патенте RU 2516011 С1, установлено следующее.

[54]

При равных значениях частоты следования импульсов ƒ=2 Гц и электрической энергии Е=6,6Дж, вводимой в течение импульсного ускорения плазменного сгустка, при использовании нового технического решения зафиксировано увеличение удельного импульса тяги с 5,5 до 6,6 км/с, снижение расхода рабочего вещества с 2,2⋅10-5 до 1,5⋅10-5 г/импульс и увеличение тяговой эффективности АИПД на 30%..

[55]

Работа вариантов АИПД, конструкция которых изображена на фиг. 2 и 3, осуществляется аналогично приведенному выше описанию работы АИПД. Отличия заключаются в форме и расположении разрядных электродов, которые определяют форму поперечного сечения диэлектрических шашек.

[56]

При несимметричном расположении разрядных электродов 9 и 10 (фиг. 2) поперечное сечение диэлектрических шашек 12, установленных между разрядными электродами у поверхности торцевого изолятора 11, имеет форму прямоугольной трапеции. С помощью устройства 15 инициирования электрического разряда образуется плазменный сгусток, закорачивающий разрядные электроды 9 и 10, на которые через токоподводы 13 и 14 подается разрядно напряжение. Из-за несимметричного расположения разрядных электродов 9 и 10 плазменное образование ускоряется в разрядном канале под действием объемной электромагнитной силы и газодинамического давления в направлении, смещенном относительно нормали к плоской поверхности торцевого изолятора.

[57]

В случае использования разрядных электродов 17 и 18 с криволинейной поверхностью (фиг. 3) поперечное сечение диэлектрических шашек ограничено поверхностью торцевого изолятора 19 и двумя симметрично расположенными криволинейными отрезками образующих поверхностей разрядных электродов. Формирование плазменной перемычки осуществляется с помощью устройства 23 инициирования электрического разряда. Плазменный сгусток закорачивает разрядные электроды 17 и 18, на которые через токоподводы 21 и 22 от емкостного накопителя энергии подается разрядное напряжение. При симметричном расположении разрядных электродов плазменное образование ускоряется в разрядном канале, создавая тягу с вектором, ориентированным приблизительно вдоль нормали к плоской поверхности торцевого изолятора.

[58]

За счет профилирования разрядных электродов обеспечивается более полная синхронизация процессов абляции, испарения и ионизации рабочего вещества и ускорения плазменного образования. В других вариантах выполнения АИПД криволинейные разрядные электроды могут быть расположены несимметрично относительно дуга друга и иметь различную форму.

[59]

Приведенные примеры осуществления изобретения основываются на конкретных формах выполнения конструкции АИПД, однако это не исключает возможности достижения технических результатов и в других частных случаях реализации изобретения в том виде, как оно охарактеризовано в независимом пункте формулы. В зависимости от рабочих характеристик АИПД и режимов работы выбираются форма и размеры разрядных электродов и диэлектрических шашек. В состав АИПД могут быть включены дополнительные узлы и блоки, обеспечивающие выполнение вспомогательных функций.

[60]

Диэлектрические шашки могут заполнять не только начальный участок разрядного канала, но и весь разрядный канал от поверхности торцевого изолятора до выходных кромок торцевых частей разрядных электродов. В этом случае достигаются более высокие значения импульса тяги за счет увеличения расхода рабочего вещества.

[61]

Для повышения эффективности использования рабочего вещества и тяговой эффективности АИПД торцевой изолятор может быть выполнен с наклонной поверхностью, обращенной к разрядному каналу (см., например, RU 2516011 С1). При данном выполнении касательная к поверхности торцевого изолятора, обращенной к разрядному каналу, будет направлена под острым углом относительно срединной плоскости сечения разрядного канала. С целью увеличения погонной индуктивности b могут использоваться профилированные электроды, ширина которых уменьшается в направлении ускорения плазменного сгустка (см., например, RU 2253953 C1).

[62]

АИПД, выполненный согласно изобретению, может применяться в составе ДУ КА в качестве исполнительного органа системы управления, а также в качестве импульсного инжектора низкотемпературной плазмы для проведения экспериментальных исследований и модельных наземных испытаний.

Как компенсировать расходы
на инновационную разработку
Похожие патенты