патент
№ RU 2688798
МПК C25C3/10

МАШИНА ДЛЯ ЗАМЕНЫ ОБОЖЖЕННЫХ АНОДОВ АЛЮМИНИЕВОГО ЭЛЕКТРОЛИЗЕРА

Авторы:
Галемов Тахир Талхатович
Номер заявки
2018134474
Дата подачи заявки
29.11.2017
Опубликовано
22.05.2019
Страна
RU
Как управлять
интеллектуальной собственностью
Чертежи 
4
Реферат

Изобретение относится к машинам для технологического обслуживания электролизеров получения алюминия. Машина для замены обожженных анодов алюминиевого электролизера содержит самоходную колесную тележку, установленные на ней моторную установку, кабину и поворотный манипулятор с захватом и ключом для откручивания крепежа анода, причем она снабжена столом для перевозки анодов, манипулятором с гидромолотом для пробивки корки электролита и манипулятором со скребком для чистки лузы, при этом поворотный манипулятор с захватом и ключом для откручивания крепежа анода, стол для перевозки анодов, манипулятор с гидромолотом для пробивки корки электролита и манипулятор со скребком для чистки лузы расположены в передней части самоходной колесной тележки вдоль ее продольной оси, а кабина и моторная установка расположены в один ряд вдоль заднего борта самоходной колесной тележки. Обеспечивается создание универсальной самоходной машины, имеющей минимальные габариты по длине для лучшей управляемости, выполняющей максимальное количество операций при замене анода, удобной для безопасного доступа в кабину при работе, с хорошим обзором с рабочего места при работе и удобной для обслуживания моторной установки и подкабинного пространства. 2 з.п. ф-лы, 4 ил.

Формула изобретения

1. Машина для замены обожженных анодов алюминиевого электролизера, содержащая самоходную колесную тележку, установленные на ней моторную установку, кабину и поворотный манипулятор с захватом и ключом для откручивания крепежа анода, отличающаяся тем, что она снабжена столом для перевозки анодов, манипулятором с гидромолотом для пробивки корки электролита и манипулятором со скребком для чистки лузы, при этом поворотный манипулятор с захватом и ключом для откручивания крепежа анода, стол для перевозки анодов, манипулятор с гидромолотом для пробивки корки электролита и манипулятор со скребком для чистки лузы расположены в передней части самоходной колесной тележки вдоль ее продольной оси, а кабина и моторная установка расположены в один ряд вдоль заднего борта самоходной колесной тележки.

2. Машина по п. 1, отличающаяся тем, что кабина выполнена с возможностью откидывания в сторону от моторной установки.

3. Машина по п. 1, отличающаяся тем, что кабина выполнена с обеспечением доступа с задней стороны машины.

Описание

[1]

Изобретение относится к цветной металлургии, в частности к машинам для технологического обслуживания электролизеров получения алюминия.

[2]

Технологическим процессом обработки электролизеров предусматривается периодическая замена анодов. На алюминиевых заводах замену анода производят или при помощи цехового крана и нескольких самоходных машин для вырубки анода и очистки лузы или используют самоходные многофункциональные машины для замены анодов.

[3]

К недостаткам применения цехового крана относится необходимость применения ручного труда, а также значительная энергоемкость процесса из-за использования большой массы крана и отвлечения крана от выполнения технологических операций, кроме крана для замены анодов требуется применение нескольких типов специальных машин для вырубки перед подъемом из лузы использованного анода, а также для зачистки лузы от остатков использованного анода (осадков).

[4]

Известны близкие по технической сущности машины для замены анодов алюминиевого электролизера. Так, известна машина замены анодов (сайт продукции Hencon: http://www.hencon.com/products/potroom/anode-changing/anode-changing-vehicle/. Аналог содержит самоходную четырех колесную тележку, установленные в задней части тележки кабину, моторную установку, в передней части на тележке установлен манипулятор с захватом для замены анодов. Доступ в кабину выполнен с боковой стороны тележки. Основным недостатком известной машины является минимальное количество операций, которые выполняет машина при замене анода, дополнительно требуется машина для вырубки анода, машина для очистки лузы, машина для подвозки новых и транспортирования использованных анодов.

[5]

Известна машина для перестановки обожженных анодов (Авторское свидетельство СССР 685724 от 22.05.73 г). Аналог содержит самоходную колесную тележку, кабину, приводной двигатель, на тележке установлен манипулятор с захватом и ключом для замены анодов. Основным недостатком известной машины является минимальное количество операций, которые выполняет машина при замене анода, из-за чего дополнительно требуются машина для вырубки анода, машина для очистки лузы и машина для подвозки новых и транспортирования использованных анодов.

[6]

Известна машина для замены анодов (рекламный проспект компании ТЕСМО. Машина замены анодов), (она же приведена на сайте компании ТЕСМО http://www.techmo.com/en/electrolysis-reduction/anode-changers/257). Аналог содержит самоходную колесную тележку, установленную в средней части тележки кабину, расположенную рядом с кабиной в один ряд с ней, вдоль продольной оси машины моторную установку, по сторонам от кабины на тележке, вдоль продольной оси расположены манипулятор с захватом и ключом для замены анодов, манипулятор с гидромолотом для выдалбливания анода, манипулятор с грейферным захватом для чистки лузы и загрузки осадка в тару, стол для перевозки тары с осадком из лузы. Доступ в кабину выполнен с боковой стороны тележки. Основным недостатком известной машины является не полное количество операций, которые выполняет машина при замене анода, дополнительно требуется машина для подвозки новых и транспортирования использованных анодов, кроме того, за счет последовательного расположения кабины и двигателя вдоль самоходной тележки, машина из-за увеличенных габаритов по длине имеет, увеличенный радиус поворота, что неблагоприятно сказывается на управляемости в тесных проездах электролизных корпусов.

[7]

Известна машина для обработки электролизеров (проспект компании HMR). Аналог содержит самоходную колесную тележку, установленные в передней части тележки кабину, в задней части моторную установку, в средней части расположено технологическое оборудование. Доступ в кабину выполнен с боковой стороны тележки. Для обслуживания подкабинного пространства кабина откидывается вперед машины. Основным недостатком известной машины является трудность обслуживания подкабинного пространства, так как отсутствует доступ с одной стороны подкабинного пространства к узлам машины, который перекрывается откинутой вперед машины кабиной, кроме того боковой доступ в кабину создает неудобство оператору при работе у электролизера, поскольку в этом случае нельзя выйти из кабины из-за опасности попасть в рядом находящийся электролизер, а за счет последовательного расположения кабины и двигателя вдоль самоходной тележки, машина из-за увеличенных габаритов по длине имеет, увеличенный радиус поворота, что неблагоприятно сказывается на управляемости в тесных проездах электролизных корпусов.

[8]

Наиболее близкой к предлагаемой машине является машина замены анодов алюминиевого электролизера (рекламный буклет компании GLAMA. Машина замены анодов). Аналог содержит самоходную четырех колесную тележку, установленную в средней части тележки кабину, в задней части за кабиной моторную установку, в передней части машины впереди кабины и под кабиной на тележке расположены в один ряд манипулятор для замены анодов с захватом и ключом, манипулятор для выдалбливания анода с гидромолотом, манипулятор для чистки лузы со скребком. Доступ в кабину выполнен с боковой стороны тележки. Основными недостатками известной машины является неполное количество операций, которые выполняет машина при замене анода, дополнительно требуется машина для подвозки новых и транспортирования использованных анодов, кроме того, за счет последовательного расположения кабины и двигателя в один ряд вдоль самоходной тележки, машина из-за увеличенных габаритов по длине имеет, увеличенный радиус поворота, что неблагоприятно сказывается на управляемости в тесных проездах электролизных корпусов.

[9]

Техническим результатом изобретения является создание универсальной самоходной машины, имеющей минимальные габариты по длине для лучшей управляемости, выполняющей максимальное количество операций при замене анода, удобной для безопасного доступа в кабину при работе, с хорошим обзором с рабочего места при работе и удобной для обслуживания моторной установки и подкабинного пространства.

[10]

Поставленный технический результат достигается тем, что в машине для замены обожженных анодов алюминиевого электролизера, содержащей самоходную колесную тележку, установленные на ней моторную установку, кабину и поворотный манипулятор с захватом и ключом для откручивания крепежа анода, новым является то, что она снабжена столом для перевозки анодов, манипулятором с гидромолотом для пробивки корки электролита и манипулятором со скребком для чистки лузы, при этом поворотный манипулятор с захватом и ключом для откручивания крепежа анода, стол для перевозки анодов, манипулятор с гидромолотом для пробивки корки электролита и манипулятор со скребком для чистки лузы расположены в передней части самоходной колесной тележки вдоль ее продольной оси, а кабина и моторная установка расположены в один ряд вдоль заднего борта самоходной колесной тележки.

[11]

Изобретение дополняют частные отличительные признаки, способствующие достижению поставленной задачи.

[12]

Кабина выполнена с возможностью откидывания в сторону от моторной установки и с обеспечением доступа в кабину с задней стороны машины.

[13]

Техническое решение поясняется рисунками, где:

[14]

На фиг. 1 показан общий вид машины с манипуляторами в транспортном положении и загруженным на стол анодом.

[15]

На фиг. 2 показан общий вид машины с манипуляторами и снятым со стола анодом в рабочем (выдвинутом) положении.

[16]

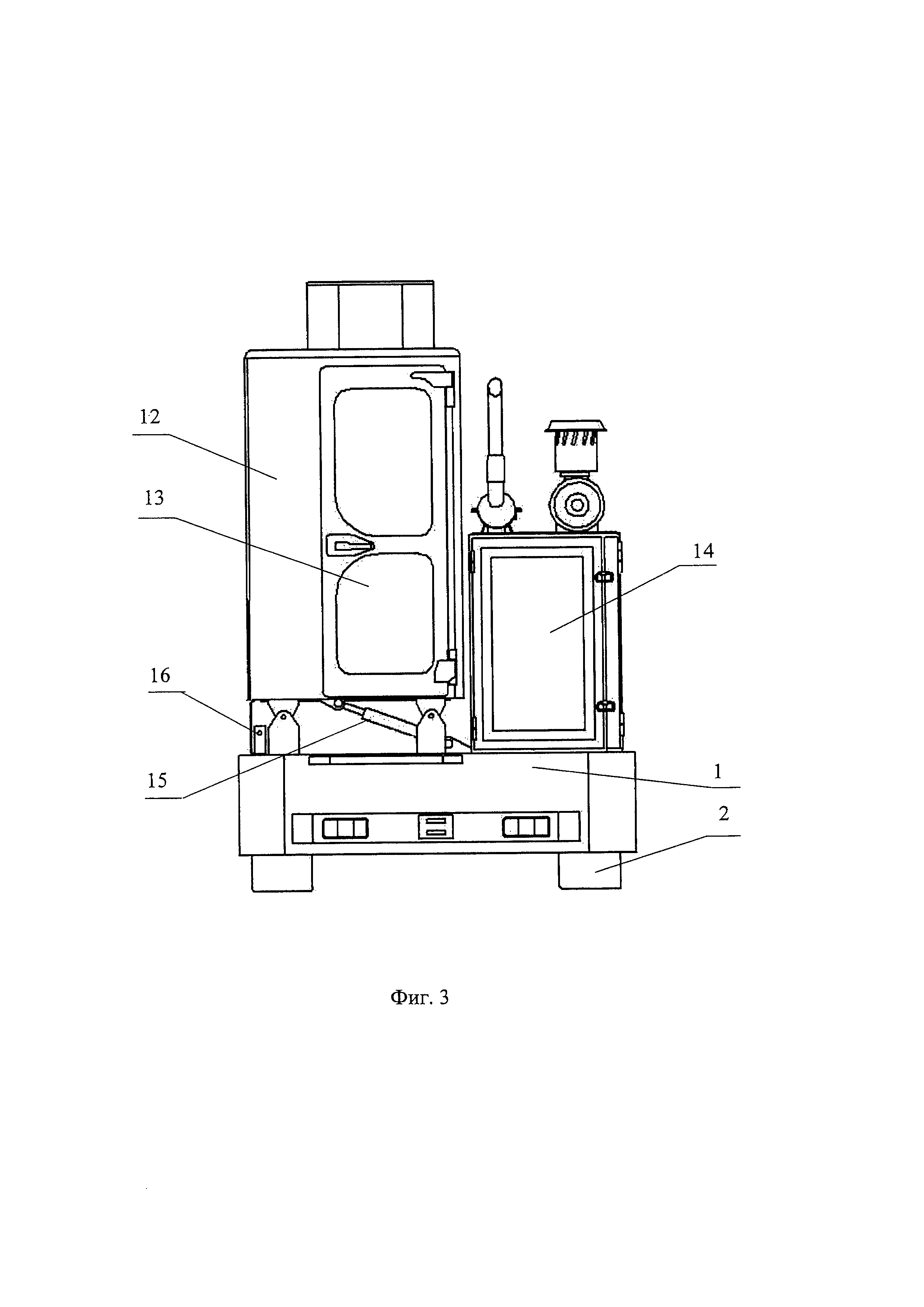
На фиг. 3 показан общий вид машины сзади. Кабина в рабочем положении для работы.

[17]

На фиг. 4 показан общий вид машины сзади. Кабина в откинутом положении для обслуживания подкабинного пространства.

[18]

Перечень конструктивных элементов:

[19]

Самоходная тележка 1;

[20]

Колеса самоходной тележки 2;

[21]

Поворотный манипулятор для замены анодов 3 с захватом 4 и ключом 5;

[22]

Стол 6 для перевозки анодов с анодом 7;

[23]

Выдвижной манипулятор 8 с гидромолотом 9;

[24]

Выдвижной манипулятор 10 со скребком 11;

[25]

Кабина оператора 12;

[26]

Дверь доступа в кабину 13;

[27]

Моторная установка 14;

[28]

Гидроцилиндр подъема кабины 15;

[29]

Гидронасос 16.

[30]

Машина замены анодов предназначена для подготовки рабочего пространства под установку обожженного анода («лузы») и для транспортировки и замены обожженных анодов на электролизерах получения алюминия.

[31]

Заявляемое изобретение содержит самоходную тележку 1 с колесами 2. На тележке 1 в один ряд вдоль заднего борта установлены кабина оператора 12 и моторная установка 14. Технологическое оборудование установлено в передней части самоходной тележки 1 перед кабиной 12 и моторной установкой 14. Технологическое оборудование состоит из выдвижного поворотного манипулятора для замены анодов 3 с захватом 4 и ключом 5, стола 6 для перевозки одного или двух анодов 7, выдвижного манипулятора 8 с гидромолотом 9 для пробивки корки, выдвижного манипулятора 10 со скребком 11 для чистки лузы. Доступ оператора в кабину обеспечен с задней стороны машины через дверь 13. Для обслуживания подкабинного пространства и моторной установки 14 кабина 12 имеет возможность откидываться в боковую сторону гидроцилиндром 15 приводимым в действие от гидронасоса 16, например ручного.

[32]

Машина выполняет следующие операции:

[33]

Транспортировку на специальном столе 6, от места хранения к электролизеру, обожженных анодов 7 для их замены и транспортировку отработанных анодов на столе 6, на место хранения. Пробивку корки электролита перед подъемом заменяемого анода манипулятором 8 с гидромолотом 9. Сбор и подтягивание осадка, кусков электролитной корки и остатков анода из лузы (очистку лузы) манипулятором 10 снабженным скребком 11 выполненным в виде лопаты. Замену отработанного анода на новый, поворотным манипулятором 3 с ключом (гайковертом) 5 и с захватом 4 штанги анода, выполняя для этого - откручивание замка штанги отработанного анода, подъем анода из лузы, установку на стол 6 машины, захват нового анода 7 со стола 6 машины и установку анода 7 в электролизер после очистки лузы, фиксацию замка анодной рамы ключом (гайковертом) 5 (крепление анода на электролизере).

[34]

Машина работает следующим образом.

[35]

Машина производит доставку из мест хранения на столе 6 двух анодов 7, захватив манипулятором 3 один из двух доставленных на столе 6 анодов 7, выгружает его в проезде корпуса электролизеров в непосредственной близости от места замены анодов (освобождает место под использованный анод).

[36]

В электролизере манипулятором 8 с гидромолотом 9 максимально отдалбливает корку вокруг отработанного анода.

[37]

Поворачивая и выдвигая манипулятор замены анода 3 захватывает штангу анода захватом 4 и откручивает ключом 5 манипулятора крепеж анода к анодной раме. После этого поднимает манипулятором 3 использованный анод и устанавливает его на стол 6.

[38]

Манипулятором 10 со скребком 11 производит очистку лузы, выгребая остатки анода к наружной бровке электролизера. При необходимости манипулятором 8 с гидромолотом 9 производит дополнительное поддалбливание лузы и разрушение крупных кусков.

[39]

После очистки лузы, захватом 4 манипулятора замены анода 3 захватывает на столе 6 новый анод 7, устанавливает его в лузу на электролизере и зажимает ключом 5 крепеж анода к анодной раме.

[40]

Повторяет операцию со вторым анодом.

[41]

После загрузки на стол двух использованных анодов транспортирует их на столе на место хранения, где выгружает манипулятором 3 с захватом 4 аноды 7 для хранения.

[42]

Для проведения технического обслуживания машины, чтобы обеспечить удобный доступ к моторной установке 14 со стороны кабины и в подкабинное пространство, кабину 12 откидывают гидроцилиндром 15, который приводится в движение от гидронасоса 16, наклоняясь в боковую сторону машины, кабина 12 освобождает пространство со стороны двигателя. В откинутом положении кабины (фиг. 4) обеспечен удобный доступ к моторной установке 14 и в подкабинное пространство. После завершения обслуживания двигателя и узлов моторной установки 14 кабина 12 устанавливается в рабочее положение (фиг. 3).

[43]

Положительные результаты предложенных технических решений.

[44]

Конструкция универсальной многофункциональной самоходной машины для замены анодов по сравнению с аналогами:

[45]

- за счет выполнения большего количества операций при замене анодов экономически более выгодна, поскольку не требует дополнительных машин, задействованных на операциях замены анодов;

[46]

- за счет откидываемой в сторону кабины обеспечивает удобный и безопасный доступ в подкабинное пространство при техническом обслуживании моторной установки и подкабинного пространства, что удобно, безопасно и сокращает время на проведение технического обслуживания;

[47]

- за счет доступа в кабину с задней стороны машины, обеспечивает удобный и безопасный доступ оператора в кабину при работе;

[48]

- за счет расположения кабины со стороны работы технологического оборудования, обеспечивает хорошую обзорность оператору всех рабочих зон при выполнении операций выполняемых при замене анода;

[49]

- за счет расположенных в один ряд вдоль заднего борта машины моторной установки и кабины имеет минимальные габариты по длине, что обеспечивает меньший радиус поворота и лучшую управляемость в тесных проездах электролизных корпусов.

[50]

Положительные результаты подтверждены проведенными в корпусах электролиза алюминиевого завода производственными испытаниями выполненной согласно формуле изобретения опытно-промышленного образца машины замены анода.

Как компенсировать расходы
на инновационную разработку
Похожие патенты