патент
№ RU 2546404
МПК G09B23/28

ТРЕНАЖЕР ХИРУРГИЧЕСКОЙ ОПЕРАЦИОННОЙ

Авторы:
Сафиуллин Тимур Дамирович Валеев Ленар Наилевич Каргов Олег Геннадьевич
Все (22)
Номер заявки
2014112096/14
Дата подачи заявки
28.03.2014
Опубликовано
10.04.2015
Страна
RU
Как управлять
интеллектуальной собственностью
Чертежи 
1
Реферат

Изобретение относится к области медицины и предназначено для обучения операционной бригады, работающей в команде, в условиях, максимально приближенных к реальным. Тренажер выполнен в виде единого программно-аппаратного комплекса, содержащего модуль управления, включающего систему визуализации и блок сопряжения, подключенные к ЭВМ, модуль эндохирургии, модуль имитатора пациента. Введен модуль анестезии, включающий имитатор ввода лекарственных средств в виде системы ввода информации, реализованной в виде сенсорного монитора, и имитатор наркозно-дыхательного аппарата, содержащий панель управления искусственной вентиляции легких и имитатор испарителя анестетиков. Модуль эндохирургии, модуль имитатора пациента и модуль анестезии соединены двусторонней связью с модулем управления. Тренажер позволяет отрабатывать практические навыки хирургам, ассистентам, анестезиологам и операционным сестрам в режиме реального времени путем полного погружения обучающихся в ситуацию, смоделированную в учебных целях. 2 ил.

Формула изобретения

Тренажер хирургической операционной, выполненный в виде единого программно-аппаратного комплекса, содержащего модуль управления, включающего систему визуализации и блок сопряжения, подключенных к ЭВМ, модуль эндохирургии, модуль имитатора пациента, отличающийся тем, что тренажер дополнительно содержит модуль анестезии, включающий имитатор ввода лекарственных средств в виде системы ввода информации, реализованной в виде сенсорного монитора, и имитатор наркозно-дыхательного аппарата, содержащий панель управления искусственной вентиляции легких и имитатор испарителя анестетиков, при этом модуль эндохирургии, модуль имитатора пациента и модуль анестезии соединены двусторонней связью с модулем управления.

Описание

[1]

Изобретение относится к области медицины и предназначено для комплексного обучения операционной бригады, работающей в команде, и отработки практических навыков эндохирургических операций на основе использования тренажера, позволяющего взаимодействовать всем специалистам операционной бригады, включая анестезиологов, путем полного погружения обучающихся в конкретную ситуацию, смоделированную в учебных целях.

[2]

Известен неонатальный имитационный учебно-практический комплекс, содержащий набор взаимосвязанных между собой элементов компьютерно-медицинской информационной системы и модулей: диагностического, имитационного, хирургического, реанимационного (патент на полезную модель RU 103958). Однако данный комплекс позволяет отрабатывать отдельные манипуляции вне контекста операционного процесса, комплекс не позволяет реализовать обратную связь «действие врача - реакция пациента», не воспитывает клинического мышления обучаемых.

[3]

Наиболее близким техническим решением является гибридный медицинский тренажер лапароскопии, выполненный в виде единого программно-аппаратного комплекса, включающего модуль управления, состоящий из системы визуализации и блока сопряжения, подключенных к ЭВМ, модуль эндохирургии, модуль имитатора пациента (патент на полезную модель RU 128762). Однако данный тренажер не позволяет отрабатывать практические навыки операционной хирургической бригады совместно с анестезиологом, не обеспечивает единого целостного подхода в подготовке хирургов, анестезиологов, операционных сестер, работающих в операционной во взаимодействии, единой бригадой.

[4]

Задачей заявленного изобретения является создание тренажера, обеспечивающего комплексное обучение операционной бригады, работающей в команде, за счет отработки практических навыков хирургов, анестезиологов и операционных сестер в режиме реального времени и самостоятельного клинического мышления путем решения ситуационных задач при взаимодействии всей операционной бригады в условиях, максимально приближенных к реальным, включая расположение операционной бригады относительно модуля имитатора пациента и операционного поля.

[5]

Поставленная задача достигается тем, что тренажер хирургической операционной, выполненный в виде единого программно-аппаратного комплекса, содержащего модуль управления, включающего систему визуализации и блок сопряжения, подключенных к ЭВМ, модуль эндохирургии, модуль имитатора пациента, согласно изобретению, дополнительно содержит модуль анестезии, при этом модуль эндохирургии, модуль имитатора пациента и модуль анестезии соединены двусторонней связью с модулем управления. Модуль анестезии содержит имитатор ввода лекарственных средств в виде системы ввода информации, представленной на сенсорном мониторе, и имитатор наркозно-дыхательного аппарата, содержащий панель управления искусственной вентиляции легких и имитатор испарителя анестетиков.

[6]

На фиг. 1 представлена структурная схема заявляемого тренажера.

[7]

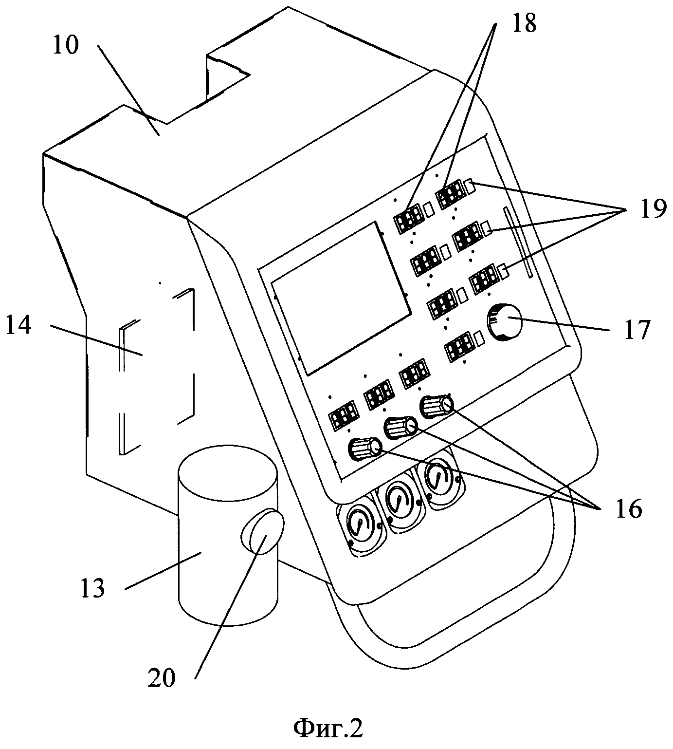
На фиг. 2 представлен общий вид имитатора наркозно-дыхательного аппарата.

[8]

Тренажер содержит: модуль управления 1, включающий систему визуализации 2 и блок сопряжения 3, подключенных к ЭВМ 4, модуль эндохирургии 5, содержащий имитаторы эндохирургических инструментов 6 и устройство отслеживания инструментов 7, модуль имитатора пациента 8, модуль анестезии 9, включающий имитатор наркозно-дыхательного аппарата 10 и имитатор ввода лекарственных средств 11.

[9]

Модуль анестезии 9, содержащий имитатор наркозно-дыхательного аппарата (НДА) 10 и имитатор ввода лекарственных средств 11, имитирует анестезиологическое обеспечение операции на модуле имитатора пациента 8 и позволяет отрабатывать действия анестезиолога в штатных и нештатных ситуациях при взаимодействии всей операционной бригады. Имитатор наркозно-дыхательного аппарата 10 содержит панель управления 12 искусственной вентиляции легких (ИВЛ) и имитатор испарителя анестетиков 13, соединенные с блоком управления наркозно-дыхательного аппарата 14. На панели управления ИВЛ 12 расположены рукоятки подачи газов (воздуха, кислорода, закиси азота) с датчиками отслеживания их вращения 16, рукоятка установки параметров ИВЛ с датчиком отслеживания ее вращения 17, индикаторы количества подаваемых газов и параметров ИВЛ 18, кнопки выбора параметров ИВЛ 19. Имитатор испарителя анестетиков 13 выполнен в виде реального испарителя, снабженного датчиком, отслеживающим положение дозирующего крана 20. Имитатор ввода лекарственных средств 11 соединен с блоком управления наркозно-дыхательного аппарата 14 и включает перечень лекарств и его дозировки, представленные на сенсорном мониторе 15.

[10]

Модуль анестезии 9 обеспечивает анестезиологическое сопровождение тренировочной операции на всех ее этапах: на этапе предоперационном (позволяет произвести оценку рисков и выбор метода анестезии на основе изучения истории болезни), во время операции (обеспечение обезболивания и безопасности жизни пациента), послеоперационный этап (стабилизация состояния пациента после операции, восстановление после анестезии).

[11]

Модуль эндохирургии 5 содержит имитаторы эндохирургических инструментов 6, устройство отслеживания инструментов 7. Устройство отслеживания инструмента 7 определяет его положение в пространстве. Модуль позволяет отрабатывать хирургу отдельные практические навыки и проводить тренировочную хирургическую операцию по определенному сценарию поэтапно и полностью, причем хирург манипулирует имитаторами эндохирургических инструментов 6.

[12]

Модуль управления 1 включает ЭВМ 4, систему визуализации (мониторы) 2 и блок сопряжения 3, подключенных к ЭВМ. Модуль эндохирургии 5, модуль анестезии 9 и модуль имитатора пациента 8 соединены двусторонней связью с модулем управления 1 через блок сопряжения 3.

[13]

Блок сопряжения 3 обеспечивает информационный обмен между всеми модулями и программной частью ЭВМ 4, реализуя единую информационную сеть.

[14]

Модуль имитатора пациента 8 позволяет моделировать реакцию (состояние) оперируемого пациента в зависимости от выбранного сценария, истории болезни, действий, предпринимаемых бригадой врачей. Модуль имитатора пациента выполнен в виде манекена человека, снабженного системами имитации признаков жизнедеятельности человека, системой для осуществления реанимационных мероприятий, например: сердечно легочную реанимацию (СЛР), интубацию, искусственную вентиляцию легких (ИВЛ), ввод медицинских препаратов, дефибрилляцию, а также системами, имитирующими симптомы мочеиспускания, кровоизлияния, слез, пота, гиперемии, судорог. Модуль имитатора пациента позволяет на практике применить знания по проведению таких медицинских процедур, как диагностических: аускультация, пульс, измерение давления, проверка зрачкового рефлекса и др.; реанимационных: обеспечение проходимости дыхательных путей, сердечно-легочная реанимация, медикаментозная терапия, дефибриляция, при этом действия врачей отслеживаются датчиками и обрабатываются программным алгоритмом в ЭВМ. На основе этих данных строится модель текущего состояния пациента.

[15]

Тренажер работает следующим образом.

[16]

Бригада специалистов в лице анестезиолога, хирурга, ассистента и операционной сестры занимают свои места в «операционной» соответственно относительно модуля имитатора пациента и операционного поля.

[17]

После включения тренажера с помощью программного алгоритма выбирается направление обучения, например, упражнение по выполнению эндохирургической операции и вариант клинического случая, включающий информацию об истории болезни, анализах и жалобах пациента. Операционная бригада на основе этой информации принимает решение о проведении оперативного вмешательства, планирует свои действия и приступает к выполнению тренировочной хирургической операции.

[18]

Анестезиолог, изучив информацию о пациенте (данные обследования, анализы, историю болезни), в имитаторе ввода лекарственных средств 11 на сенсорном мониторе 15 выбирает лекарственные средства и их дозы с целью осуществления анестезии, проводит интубацию имитатора пациента и в имитаторе НДА 10 устанавливает посредством рукояток подачи газов 16, кнопок выбора параметров ИВЛ 19 и рукояткой установки параметров ИВЛ 17 режим искусственной вентиляции легких, при этом заданные значения отображаются на индикаторах количества подаваемых газов и параметров ИВЛ 18. В имитаторе испарителя анестетиков 13 вращением дозирующего крана 20 задается количество подаваемых летучих анестетиков. Данные, заданные панелью управления ИВЛ 12, имитатором испарителя анестетиков 13 и имитатором ввода лекарственных средств 11, обрабатываются блоком управления НДА 14 и передаются из модуля анестезии 9 в модуль управления 1, где обрабатываются программным алгоритмом ЭВМ 4.

[19]

Данные, заданные модулем анестезии 9, влияют на текущее состояние модуля имитатора пациента 8, так, например, неправильные действия анестезиолога при введении в наркоз не позволяют приступить к хирургическому вмешательству и отражаются на состоянии имитатора пациента: тахикардия, артериальная гипотензия, смерть.

[20]

В случае правильного проведения анестезии модуль управления 1 выдает сигнал с выведением его на монитор системы визуализации 2 о потери сознания пациентом и полном угнетении всех видов чувствительности.

[21]

Далее хирург, используя модуль эндохирургии 5, приступает к выполнению тренировочного хирургического вмешательства, используя имитаторы эндохирургических инструментов 6. Система визуализации 2 отображает виртуальную анатомическую картину оперируемой области, генерируемую программным алгоритмом ЭВМ 4. Хирург проводит все этапы операции в соответствии с выбранным упражнением, ассистент хирурга управляет эндоскопической камерой, обеспечивая визуальный обзор для хирурга, медсестра подает инструменты хирургу, а также отвечает за подготовку к работе и настройку оборудования операционной.

[22]

Все манипуляции имитаторов эндохирургических инструментов 6 фиксируются устройством отслеживания инструмента 7, данные передаются в модуль управления 1, обрабатываются программным алгоритмом ЭВМ 4 и используются для генерации виртуальной картины оперируемой области. Действия, предпринимаемые врачами, анализируются программной частью ЭВМ 4 и отражаются на состоянии имитатора пациента 8, сигналы управления состоянием пациента посылаются в систему визуализации 2 и модуль имитатора пациента 8. Неправильные действия врачей могут привести к возникновению нештатной ситуации.

[23]

Система визуализации 2 динамически отображает жизненно важные показатели дыхательной и сердечно-сосудистой систем имитатора пациента 8, степень насыщения крови кислородом, температуру тела, ЭКГ и другие важные показатели. Текущее состояние пациента симулируется в модуле имитатора пациента 8 с помощью систем имитации признаков жизнедеятельности (дыхание, пульс, реакция зрачков и др.), систем, имитирующих симптомы кровоизлияния, слез, пота, гиперемии и пр., при этом управляющие сигналы текущего состояния пациента передаются из модуля управления 1 в модуль имитатора пациента 8.

[24]

Рассмотрим работу тренажера и операционной бригады во время выполнения хирургической операции при возникновении нештатной ситуации, например «фибрилляция желудочков сердца». Анестезиолог диагностирует фибрилляцию желудочков, наблюдая в системе визуализации 2 снижение показателей сердечно-сосудистой системы пациента, а также мерцание или трепетание желудочков, подтверждаемое ЭКГ. Анестезиолог оповещает хирурга. Хирург завершает свои действия, выполнив перед этим необходимые хирургические мероприятия, например останавливает кровотечение при его наличии, и убирает имитаторы эндохирургических инструментов 6 из устройства отслеживания инструмента 7 (убирает инструменты из пациента). Медсестра подготавливает к работе реальный аппарат дефибрилляции. Анестезиолог выполняет дефибрилляцию, при этом он плотно прижимает электроды аппарата дефибрилляции к контактным площадкам системы для осуществления реанимационных мероприятий модуля имитатора пациента 8, и проводит попытки дефибрилляции до появления пульса и восстановления жизнедеятельности пациента. Во время проведения дефибрилляции также как и в реальности необходимо соблюдать технику безопасности. Также проводятся остальные реанимационные мероприятия, например непрямой массаж сердца или ввод лекарственных средств, необходимые для восстановления и стабилизации состояния пациента, после этого хирург с ассистентом приступают к дальнейшему выполнению хирургической операции. Возможные ошибки при проведении дефибрилляции, например, перерывы в массаже сердца или полное отсутствие реанимационных мероприятий между разрядами дефибриллятора, нанесение разряда низкого или слишком высокого напряжения, нанесение разряда на фоне мелковолновой фибрилляции без проведения мероприятий, повышающих энергоресурсы миокарда, время между началом фибрилляции желудочков и началом проведения реанимационных мероприятий регистрируются ЭВМ 4 и попадают в статистику для последующего анализа ошибок.

[25]

При вводе во время «хирургической операции» препарата, вызывающего аллергическую реакцию, запускается алгоритм симуляции анафилактического шока. Признаки анафилаксии (тахикардия, тахипноэ, пониженное артериальное давление) симулирует модуль имитатора пациента 8 и признаки отображаются в системе визуализации 2. Анестезиолог приступает к купированию шока, выбирая необходимые лекарства и дозировку в имитаторе ввода лекарственных средств 11.

[26]

Во время «операции» медсестра подает инструменты. Забирает инструменты хирурга и его ассистента по их просьбе, при необходимости подключает имитаторы эндохирургических инструментов к соответствующим блокам управления, со слов хирурга и анестезиолога настраивает оборудование.

[27]

После завершения хирургом и ассистентом хирургической операции анестезиолог прекращает введение лекарственных средств для наркоза, при этом он закрывает дозирующий кран 20 имитатора испарителя анестетиков 13 и отменяет введение лекарств в имитаторе ввода лекарственных средств 11, сигнал о прекращении поступления анестетиков и лекарств передается в модуль управления 1. Текущее состояние пациента изменяется, восстанавливаются функции центральной нервной системы, рефлексы, пациент приходит в сознание, в системе визуализации 2 отображается повышение пульса и давления, в модуле имитатора пациента 8 наблюдается восстановление зрачкового рефлекса.

[28]

После завершения тренировочной хирургической операции обучающиеся могут оценить, проанализировать результаты своей работы (каждого в отдельности и всей бригады), просмотрев статистику в программе ЭВМ 4.

[29]

Заявляемый тренажер хирургической операционной позволяет проводить процесс обучения на качественно новом уровне. За счет объединения модулей в единый программно-аппаратный комплекс расширяются границы и возможности обучения высококвалифицированного медицинского персонала, чего нельзя достичь с помощью существующих узкоспециализированных тренажеров. Информационная взаимосвязь модулей эндохирургии, анестезии и имитатора пациента за счет двусторонней связи с модулем управления открывает гибкие симуляционные возможности для моделирования в реальном времени различных клинических ситуаций в процессе тренировочной медицинской операции. Значительное преимущество данного тренажера по сравнению с существующими аналогами в том, что он позволяет проводить комплексное обучение врачей в составе операционной бригады, при котором обучаемые находятся в постоянно меняющейся клинической ситуации, требующей профессиональных знаний и навыков от каждого специалиста и умения быстро реагировать в случае возникновения осложнений, умения проводить диагностические, реанимационные и другие медицинские процедуры, умения работать в команде.

Как компенсировать расходы
на инновационную разработку
Похожие патенты