патент
№ RU 2680436
МПК F41G1/00

Прицельное устройство стрелкового оружия и способ его использования

Авторы:
Сермягин Константин Викторович Васильев Юрий Владимирович Иванов Кирилл Андреевич
Все (6)
Номер заявки
2018119970
Дата подачи заявки
30.05.2018
Опубликовано
21.02.2019
Страна
RU
Как управлять
интеллектуальной собственностью
Чертежи 
5
Реферат

Изобретение относится к прицельным приспособлениям для огнестрельного оружия. Прицельное устройство стрелкового оружия, установленное на оружие посредством узла крепления (12), включающее корпус, в котором расположено устройство отображения с нанесенной на него прицельной сеткой, видеокамера (16), акселерометр-гироскоп (21), дальномер (22), узел (2) угловой настройки с датчиком поворота, процессор (18) и блок памяти (19), соединенные шиной данных. При этом дополнительно введено устройство (26) выбора превышения цели, соединенное с процессором (18) посредством шины данных. Узел (2) угловой настройки выполнен с возможностью регулирования прицельного устройства относительно ствола оружия. Также предложен способ использования прицельного устройства, при котором ствол оружия ориентируют на угол вылета боеприпаса. Для осуществления выстрела производят совмещение цели с отметкой прицельной сетки, соответствующей заранее вычисленной траектории с учетом данных о превышении цели, положения оружия в пространстве и дальности до цели. При этом траекторию вычисляют в зависимости от выбранного типа боеприпаса, угла сваливания оружия и данных об угловом положении прицельного устройства относительно ствола оружия. Устройство и способ его применения обеспечивают повышение точности стрельбы. 2 н. и 1 з.п. ф-лы, 8 ил.

Формула изобретения

1. Прицельное устройство стрелкового оружия, установленное на оружие посредством узла крепления, включающее корпус, в котором расположено устройство отображения с нанесенной на него прицельной сеткой, видеокамера, акселерометр-гироскоп, дальномер, узел угловой настройки с датчиком поворота, процессор и блок памяти, соединенные шиной данных, отличающееся тем, что дополнительно введено устройство выбора превышения цели, соединенное с процессором посредством шины данных, причем узел угловой настройки выполнен с возможностью регулирования прицельного устройства относительно ствола оружия.

2. Устройство по п. 1, отличающееся тем, что блок памяти содержит информацию о множестве типов боеприпасов с данными их траектории.

3. Способ использования прицельного устройства стрелкового оружия, включающий ориентирование ствола оружия на угол вылета боеприпаса, для осуществления выстрела производят совмещение цели с отметкой прицельной сетки, соответствующей заранее вычисленной траектории с учетом данных о превышении цели, положения оружия в пространстве, дальности до цели, отличающийся тем, что траекторию вычисляют в зависимости от выбранного типа боеприпаса, угла сваливания оружия и данных об угловом положении прицельного устройства относительно ствола оружия.

Описание

[1]

Изобретение относится к прицельным устройствам, а именно к прицельным приспособлениям для огнестрельного оружия.

[2]

Известна конструкция по заявке на патент US 2014/0184476 А1 «Индикатор для прицела стрелкового оружия», имеющая дисплей, оптический сенсор для захвата видеоданных, процессор, связанный с дисплеем, оптическим сенсором и памятью. Процессор использует данные из модуля электронной памяти для отображения информации на дисплее, включая прицельную сетку и иные данные о работе прицела.

[3]

Недостатками данного устройства являются следующие: низкая точность прицеливания из-за отсутствия учета деривации снаряда, невозможности прицеливания при наличии угла сваливания оружия в левую или правую стороны ввиду отсутствия коррекции сваливания.

[4]

Известна конструкция по патенту US №5686690 «Прицельное устройство для оружия», имеющая видеокамеру для захвата видеоданных, устройство отображения, устройство ввода данных и процессор. С процессором связаны датчики углового положения.

[5]

Недостатками данного устройства являются следующие: низкая точность прицеливания из-за невозможности прицеливания при навесной траектории стрельбы, отсутствия коррекции сваливания оружия.

[6]

Задачей предлагаемого автоматизированного прицельного устройства стрелкового оружия является повышение точности стрельбы.

[7]

Технический результат достигается за счет того, что дополнительно введено устройство выбора превышения цели, соединенное с процессором посредством шины данных, а узел угловой настройки прицела выполнен с возможностью регулирования прицельного устройства относительно ствола стрелкового оружия.

[8]

Поставленная задача заключается в том, что прицельное устройство состоит из корпуса, в котором расположены устройство отображения с нанесенной на него прицельной сеткой, видеокамера, акселерометр-гироскоп, дальномер, узел угловой настройки с датчиком поворота, процессор и блок памяти, соединенные шиной данных, дополнительно введено устройство выбора превышения цели, соединенное с процессором посредством шины данных, причем узел угловой настройки выполнен с возможностью регулирования прицельного устройства относительно ствола оружия.

[9]

Также для решения указанной задачи блок памяти содержит информацию о множестве типов снарядов с их баллистическими характеристиками. Устройство может дополнительно содержать внешний дисплей.

[10]

Использование прицельного устройства стрелкового оружия, осуществляют ориентированием ствола стрелкового оружия на угол вылета боеприпаса, для осуществления выстрела производят совмещение цели с отметкой прицельной сетки, соответствующей заранее вычисленной траектории с учетом данных о превышении цели, положения оружия в пространстве, дальности до цели. Траекторию вычисляют в зависимости от выбранного типа боеприпаса, угла сваливания оружия и данных об угловом положении прицельного устройства относительно ствола оружия.

[11]

Конструкция устройства представлена на фигурах 1-8, где

[12]

на фиг. 1 представлена схема прицельного устройства с разнесенными элементами устройства, вид сзади.

[13]

на фиг. 2 представлена схема прицельного устройства с разнесенными элементами устройства, вид спереди.

[14]

на фиг. 3 изображено прицельное устройство, вид спереди.

[15]

на фиг. 4 изображено прицельное устройство, вид сзади.

[16]

на фиг. 5 изображено прицельное устройство, установленное на стрелковое оружие, в закрытом положении.

[17]

на фиг. 6 изображено прицельное устройство, установленное на стрелковое оружие, в открытом положении.

[18]

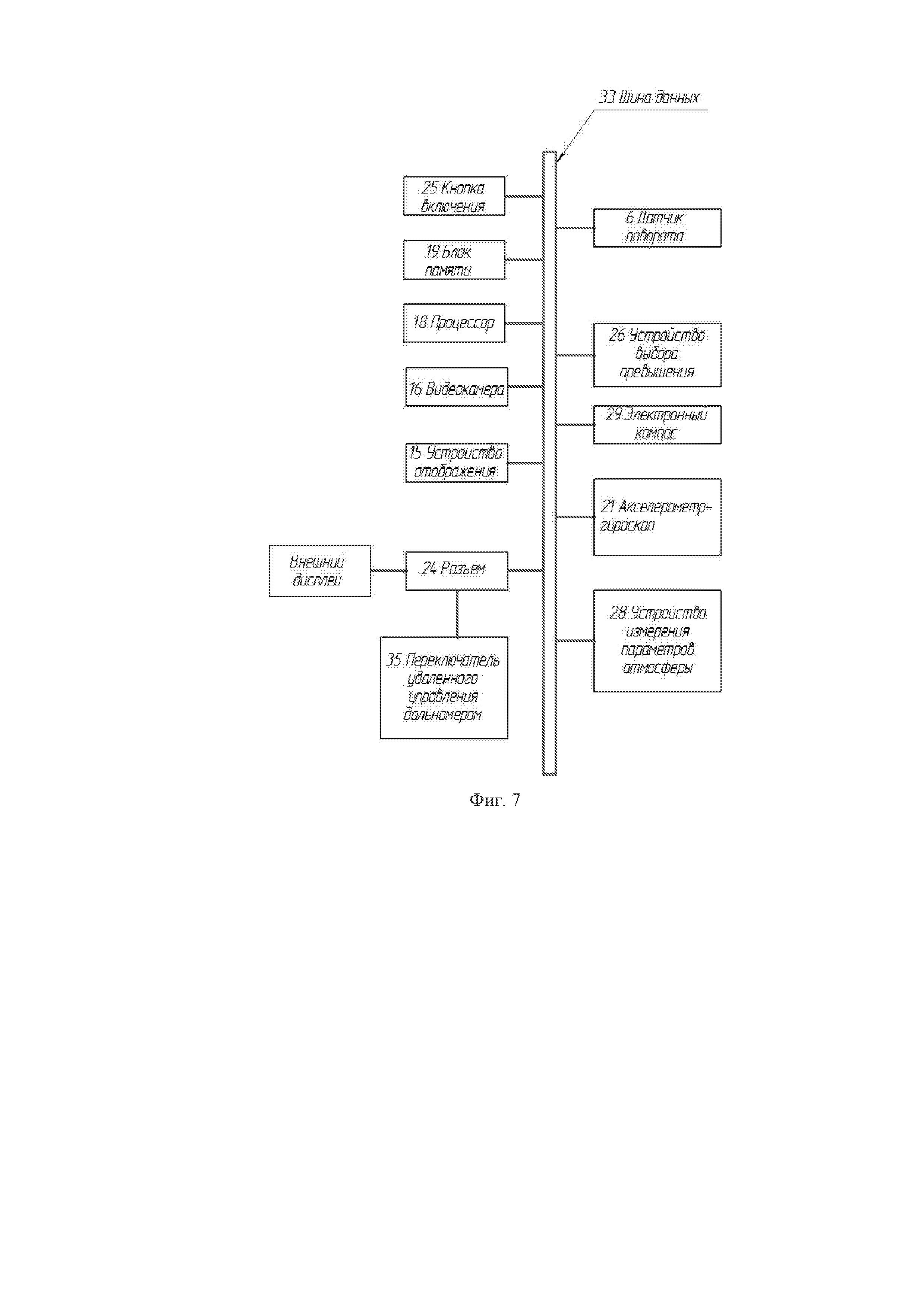
на фиг. 7 представлена блок-схема соединения элементов устройства.

[19]

на фиг. 8 представлено изображение местности и прицельной сетки на устройстве отображения при прицеливании.

[20]

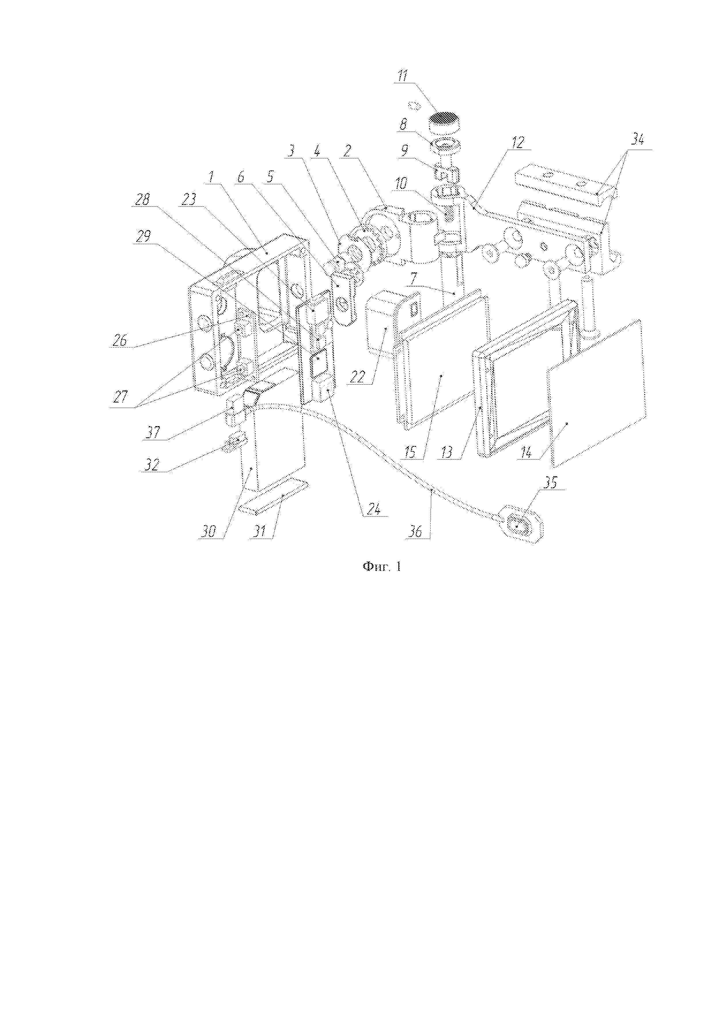
Прицельное устройство содержит основание 1 корпуса прицельного приспособления, шарнирно соединенное с узлом 2 угловой настройки, включающим пружину 3, фиксатор 4 углового положения, установленные на оси 5. Узел 2 угловой настройки соединен с датчиком 6 поворота через ось 5. Узел 2 угловой настройки установлен на оси 7, включающей стопорную гайку 8, защелку 9, пружину 10 защелки, кнопку 11 защелки, и соединен посредством узла крепления 12 со стрелковым оружием. Основание 1 корпуса соединено с крышкой 13, имеющей защитное стекло 14, с устройством отображения 15, с видеокамерой 16, с платой управления 17, содержащей процессор 18, блок памяти 19, порт программирования 20 и акселерометр-гироскоп 21. В основании 1 расположены дальномер 22, кнопка 23 включения дальномера, разъем 24, кнопка 25 включения прицельного приспособления, устройство 26 выбора превышения цели, выполненное, например, в виде микропереключателей 27, устройство 28 измерения параметров атмосферы, электронный компас 29 и элемент питания 30. К основанию 1 корпуса прицельного устройства крепится крышка 31 элемента питания. Разъем 24 имеет заглушку 32. Процессор 18 и блок памяти 19 электрически соединены с датчиком поворота 6, с устройством отображения 15, с видеокамерой 16, с портом программирования 20, с акселерометром-гироскопом 21, с дальномером 22, с кнопкой 23 включения дальномера, с разъемом 24, устройством 26 выбора превышения цели, с устройством 28 измерения параметров атмосферы, с электронным компасом 29 посредством шины данных 33, и с элементом питания 30. Узел крепления 12 соединяется со стрелковым оружием посредством винтового соединения или с помощью дополнительных переходных элементов 34 крепления. Узел крепления 12 и переходные элементы 34 крепления могут быть использованы для крепления к различным планкам или посадочным местам. Со стрелковым оружием соединен переключатель 35 удаленного управления дальномером, состоящий из соединительного провода 36 и разъема 37. Внешний дисплей (не показан) соединен с процессором 18 через кнопку 23 включения дальномера.

[21]

На процессор 18, например, выполненный в виде, например, микропроцессора, микроконтроллера либо подобного устройства, поступает информация с шины данных 33 о дальности до цели от датчика поворота 6 или дальномера 22. Аналогично, на процессор 18 поступает информация с шины данных 33 о превышении цели, о параметрах атмосферы, о баллистических характеристиках боеприпаса, о положении устройства в пространстве от устройства 26 выбора превышения цели, от устройства 28 измерения параметров атмосферы, от блока памяти 19, от акселерометра-гироскопа 21 соответственно.

[22]

Ввод дальности до цели производят с помощью дальномера 22 либо ручным поворотом корпуса относительно узла угловой настройки 2 с датчиком поворота 6. В качестве дальномера 22 может использоваться лазерный дальномер, например, LRF127, LRF200 компании NOPTEL.

[23]

Процессор 18 вычисляет угол сваливания и определяет расположение прицела справа или слева от стрелкового оружия с помощью информации, полученной от акселерометра-гироскопа 21. При превышении определенного угла сваливания, например, более 300, процессор 18 выводит на устройство отображения 15 информацию о свале стрелкового оружия, например, в виде текста или индикатора.

[24]

Процессор 18 использует данные о дальности до цели, о превышении цели, об угле сваливания, о параметрах атмосферы и баллистических характеристик боеприпаса для определения прицельной сетки и выводит ее на устройство отображения 15. Прицельная сетка накладывается на изображение местности с видеокамеры 16 на устройстве отображения 15, и изображение на устройстве отображения, например, при прицеливании имеет вид, приведенный на фиг. 8, где красной отметкой в центре отмечена точка прицеливания для дальности 100 м и отображена шкала дальности в виде правой вертикальной красной оси с отметками дальности. Совмещая изображение цели с отметкой на прицельной сетке на устройстве отображения 15, поворачивают стрелковое оружие на угол, соответствующий вычисленному углу вылета боеприпаса для данного расстояния до цели.

[25]

Порт программирования 20 расположен под крышкой 31 элемента питания и используется для программирования процессора 18 и блока памяти 19 управляющей программой.

[26]

Процессор 18, используя информацию, поступающую с шины данных 33 от электронного компаса 29, выводит на устройстве отображения 15 навигационную шкалу компаса, например, в нижней части устройства отображения, как изображено на фиг. 8 в виде нижней горизонтальной желтой оси.

[27]

Питание процессора 18, блока памяти 19, датчика поворота 6, устройства отображения 15, видеокамеры 16, акселерометра-гироскопа 21, дальномера 22, устройства 26 выбора превышения цели, устройства 28 измерения параметров атмосферы осуществляется от элемента питания 30, который представляет собой один или несколько элементов питания, например, одна или несколько батарей. Элемент питания 30 электрически соединен с платой управления 17 через положительный и отрицательный контакты (не показаны), например, в виде металлических пластин.

[28]

На устройство отображения 15 с процессора 18 поступает информация о величине заряда элемента питания 30, например, в виде текста или индикатора.

[29]

Открытие, закрытие и фиксация прицельного устройства осуществляют нажатием кнопки 11 защелки и поворотом корпуса относительно оси 7. На фиг. 5 и 6 показаны закрытое и открытое положения соответственно.

[30]

Кнопка 25 включения прицельного приспособления находится на передней части основания 1 корпуса, устройство 26 выбора превышения цели находится на боковой части основания 1.

[31]

Ориентацию прицельного устройства справа или слева от стрелкового оружия осуществляют, например, двойным кратковременным нажатием на кнопку 25 включения.

[32]

Выбор типа боеприпаса производят с помощью графического меню на устройстве отображения 15, например, вызываемое нажатием на кнопку 25 включения, например, кратковременным нажатием, навигацию по графическому меню, которое, например, может быть представлено в виде таблицы боеприпасов, выполняют с помощью устройства 26 выбора превышения цели, например, нажатие на верхнюю кнопку и нажатие на нижнюю кнопку вызывает перемещение по таблице вверх и вниз соответственно. Подтверждают выбранный тип боеприпаса кнопкой 25 включения, например, кратковременным нажатием. Выбранный тип боеприпаса, если в блоке памяти 19 есть данные о баллистических характеристиках более одного боеприпаса, отображаются на устройстве отображения 15, например, в нижнем левом углу устройства отображения, например, в виде текста, как показано на фиг. 8.

[33]

Включение дальномера 22 для измерения расстояния производят с помощью кнопки 23 включения дальномера, например, однократным нажатием. Разъем 24 используется для подключения переключателя 35 удаленного управления дальномером. Если к устройству 1 подключен переключатель 35 удаленного управления дальномером через разъем 24, то включение дальномера для измерения расстояния производят с помощью переключателя 35 удаленного управления, например, однократным нажатием.

[34]

Ввод превышения осуществляют с помощью устройства 26 выбора превышения цели, например, нажатием на верхнюю кнопку и нажатием на нижнюю кнопку вводят положительное или отрицательное превышение соответственно. Ввод превышения осуществляют также, используя информацию о дальности до цели от дальномера 22 и угла места цели от акселерометра-гироскопа 21, путем совмещения отметки прицельной сетки с изображением цели на устройстве отображения 15 и измерением расстояния до цели. На устройстве отображения 15 указано значение превышения цели, например, в виде текста в нижнем правом углу устройства отображения, как показано на фиг. 8.

[35]

При подключении внешнего дисплея (не показан) через разъем 24 изображение с устройства отображения 15 отображается на внешнем дисплее. В качестве внешнего дисплея, например, может использоваться нашлемный дисплей военнослужащего.

[36]

Преимуществами предлагаемой конструкции является расширение функциональных возможностей прицельного устройства за счет возможности установки как слева, так и справа от стрелкового оружия, использование поправок на деривацию боеприпаса и угол сваливания стрелкового оружия, возможность подготовки прицельного устройства без прямого наведения на цель, например в укрытии.

Как компенсировать расходы
на инновационную разработку
Похожие патенты