патент
№ RU 2682852
МПК H03H7/18

СПОСОБ УПРАВЛЕНИЯ ФАЗОПОВОРОТНЫМ УСТРОЙСТВОМ

Авторы:
Асташев Михаил Георгиевич Петров Михаил Игоревич Панфилов Дмитрий Иванович
Все (5)
Номер заявки
2018109746
Дата подачи заявки
20.03.2018
Опубликовано
21.03.2019
Страна
RU
Как управлять
интеллектуальной собственностью
Чертежи 
2
Реферат

Изобретение относится к фазоповоротным устройствам (ФПУ), относящимся к области электротехники и электроэнергетики. Техническим результатом является повышение надежности работы ФПУ за счет обеспечения переключения тиристорных ключей тиристорного коммутатора в широком диапазоне изменения величины и характера тока ЛЭП. В способе осуществляют поэтапное переключение тиристорным коммутатором шунтовых обмоток трансформатора, наводящих вольтодобавочное напряжение на его сериесной обмотке. Перед началом поэтапного переключения каждой фазы тиристорного коммутатора отключают сериесную обмотку трансформатора переключаемой фазы с помощью двунаправленного тиристорного ключа, включённого последовательно с этой сериесной обмоткой трансформатора от источника питания и нагрузки, посредством снятия с него импульсов управления, фиксируют наличие нулевого тока в двунаправленном тиристорном ключе, выдерживают временной интервал, длительность которого превышает время восстановления тиристоров двунаправленного тиристорного ключа, осуществляют процесс переключения тиристорных ключей тиристорного коммутатора и после их переключения в новое состояние подключают сериесную обмотку трансформатора переключаемой фазы к источнику питания и нагрузке с помощью двунаправленного тиристорного ключа путём подачи на него импульсов управления. 2 ил.

Формула изобретения

Способ управления фазоповоротным устройством путем поэтапного переключения тиристорным коммутатором шунтовых обмоток трансформатора, наводящих вольтодобавочное напряжение на его сериесной обмотке, заключающийся в том, что задают конечное состояние тиристорного коммутатора, вводят ограничения на поэтапное переключение тиристорного коммутатора из текущего состояния в заданное конечное, выбирают допустимую последовательность поэтапного переключения, удовлетворяющую заданным ограничениям, по меньшей мере, на величину выходного напряжения фазоповоротного устройства в процессе поэтапной коммутации, измеряют токи тиристорного коммутатора, выполняют его поэтапное переключение в соответствии с выбранной последовательностью за счет снятия импульсов управления со всех тиристорных ключей одной переключаемой фазы тиристорного коммутатора, фиксируют нулевой ток в переключаемой фазе тиристорного коммутатора в течение временного интервала, длительность которого превышает время восстановления тиристоров тиристорных ключей, подают импульсы управления на включение тиристорных ключей этой фазы в новое состояние, в соответствии с выбранной последовательностью поэтапного переключения, и осуществляют последовательное переключение каждой следующей фазы тиристорного коммутатора до окончания процесса переключения всех фаз тиристорного коммутатора в заданное конечное состояние, отличающийся тем, что перед началом поэтапного переключения каждой фазы тиристорного коммутатора отключают сериесную обмотку трансформатора переключаемой фазы с помощью двунаправленного тиристорного ключа, включенного последовательно с этой сериесной обмоткой трансформатора от источника питания и нагрузки, посредством снятия с него импульсов управления блоком управления тиристорными ключами фазоповоротного устройства, фиксируют наличие нулевого тока в двунаправленном тиристорном ключе, выдерживают временной интервал, длительность которого превышает время восстановления тиристоров двунаправленного тиристорного ключа, осуществляют процесс переключения тиристорных ключей тиристорного коммутатора и после их переключения в новое состояние подключают сериесную обмотку трансформатора переключаемой фазы к источнику питания и нагрузке с помощью двунаправленного тиристорного ключа, путем подачи на него импульсов управления блоком управления тиристорными ключами фазоповоротного устройства.

Описание

[1]

Изобретение относится к области электротехники и электроэнергетики, в частности к фазоповоротным устройствам (ФПУ). ФПУ представляет собой высоковольтный электротехнический комплекс для изменения фазы напряжения, включаемый последовательно в линию электропередачи (ЛЭП). ФПУ могут использоваться в электрических сетях с напряжением 110…1150 кВ для гибкого регулирования потоков активной и реактивной мощности, повышения пропускной способности существующих линий и повышения динамической устойчивости энергетической системы за счет ступенчатого регулирования модуля и фазы напряжения на выходе ФПУ.

[2]

ФПУ известны и широко применяются в электроэнергетике. Основным элементом ФПУ является вольтодобавочный трансформатор, вторичная (сетевая) обмотка которого включается последовательно в рассечку линии электропередачи. Возбуждение вольтодобавочного трансформатора с целью создания и регулирования напряжения на сетевой обмотке осуществляется путем подключения его первичных (шунтовых) обмоток параллельно к линии электропередачи посредством коммутационных устройств, среди которых наиболее надежными и быстродействующими являются полупроводниковые тиристорные коммутаторы.

[3]

В качестве прототипа заявляемого изобретения принят способ управления ФПУ путем поэтапной коммутации тиристорными мостами обмоток шунтового трансформатора [патент RU на изобретение №2577190, публ. 10.03.2016], по которому задают конечное состояние тиристорного коммутатора, вводят ограничения на поэтапное переключение тиристорного коммутатора из текущего состояния в заданное конечное, выбирают допустимую последовательность поэтапного переключения, удовлетворяющую заданным ограничениям, по меньшей мере на величину выходного напряжения фазоповоротного устройства в процессе поэтапной коммутации, измеряют токи тиристорного коммутатора и выполняют его поэтапное переключение в соответствии с выбранной последовательностью, снимают импульсы управления со всех тиристоров одной переключаемой фазы тиристорного коммутатора, фиксируют наличие нулевого тока в переключаемой фазе тиристорного коммутатора в течение временного интервала, длительность которого превышает время восстановления тиристоров, подают импульсы управления на включение тиристоров этой фазы в новое, согласно выбранной последовательности, состояние и проводят последовательное переключение каждой следующей фазы тиристорного коммутатора до окончания процесса переключения всех фаз тиристорного коммутатора в заданное конечное состояние.

[4]

Недостатками прототипа являются пониженная надежность работы устройства в широком диапазоне изменения величины и характера тока линии электропередачи по причине возникновения значительных перенапряжений на элементах тиристорного коммутатора ФПУ при изменении состояния ФПУ в соответствии с предлагаемым способом, и, как следствие, увеличенная стоимость устройства за счет необходимости применения управляемых ключей с высоким запасом по напряжению.

[5]

Технической задачей предлагаемого изобретения является обеспечение надежной работы устройства в широком диапазоне изменения нагрузки и ее характера.

[6]

Техническим результатом, на получение которого направлено предлагаемое техническое решение, является повышение надежности работы ФПУ за счет обеспечения надежного переключения тиристорных ключей тиристорного коммутатора в широком диапазоне изменения величины и характера тока ЛЭП и уменьшение стоимости оборудования ФПУ за счет возможности применения в составе тиристорного коммутатора тиристорных ключей с пониженным классом напряжения.

[7]

Технический результат достигается тем, что в способе управления фазоповоротным устройством путем поэтапного переключения тиристорным коммутатором шунтовых обмоток трансформатора, наводящих вольтодобавочное напряжение на его сериесной обмотке, заключающимся в том, что задают конечное состояние тиристорного коммутатора, вводят ограничения на поэтапное переключение тиристорного коммутатора из текущего состояния в заданное конечное, выбирают допустимую последовательность поэтапного переключения, удовлетворяющую заданным ограничениям, по меньшей мере, на величину выходного напряжения фазоповоротного устройства в процессе поэтапной коммутации, измеряют токи тиристорного коммутатора, выполняют его поэтапное переключение в соответствии с выбранной последовательностью за счет снятия импульсов управления со всех тиристорных ключей одной переключаемой фазы тиристорного коммутатора, фиксируют нулевой ток в переключаемой фазе тиристорного коммутатора в течение временного интервала, длительность которого превышает время восстановления тиристоров тиристорных ключей, подают импульсы управления на включение тиристорных ключей этой фазы в новое состояние, в соответствии с выбранной последовательностью поэтапного переключения, и осуществляют последовательное переключение каждой следующей фазы тиристорного коммутатора до окончания процесса переключения всех фаз тиристорного коммутатора в заданное конечное состояние, а перед началом поэтапного переключения каждой фазы тиристорного коммутатора отключают сериесную обмотку трансформатора переключаемой фазы от источника питания и нагрузки с помощью двунаправленного тиристорного ключа, включенного последовательно с этой сериесной обмоткой трансформатора, посредством снятия с него импульсов управления блоком управления тиристорными ключами фазоповоротного устройства, фиксируют наличие нулевого тока в двунаправленном тиристорном ключе, выдерживают временной интервал, длительность которого превышает время восстановления тиристоров двунаправленного тиристорного ключа, осуществляют процесс переключения тиристорных ключей тиристорного коммутатора и после их переключения в новое состояние подключают сериесную обмотку трансформатора переключаемой фазы к источнику питания и нагрузке с помощью двунаправленного тиристорного ключа, путем подачи на него импульсов управления блоком управления тиристорными ключами фазоповоротного устройства.

[8]

Сущность предложенного изобретения поясняется чертежом фиг. 1, где изображена структура устройства, реализующего предлагаемый способ управления ФПУ.

[9]

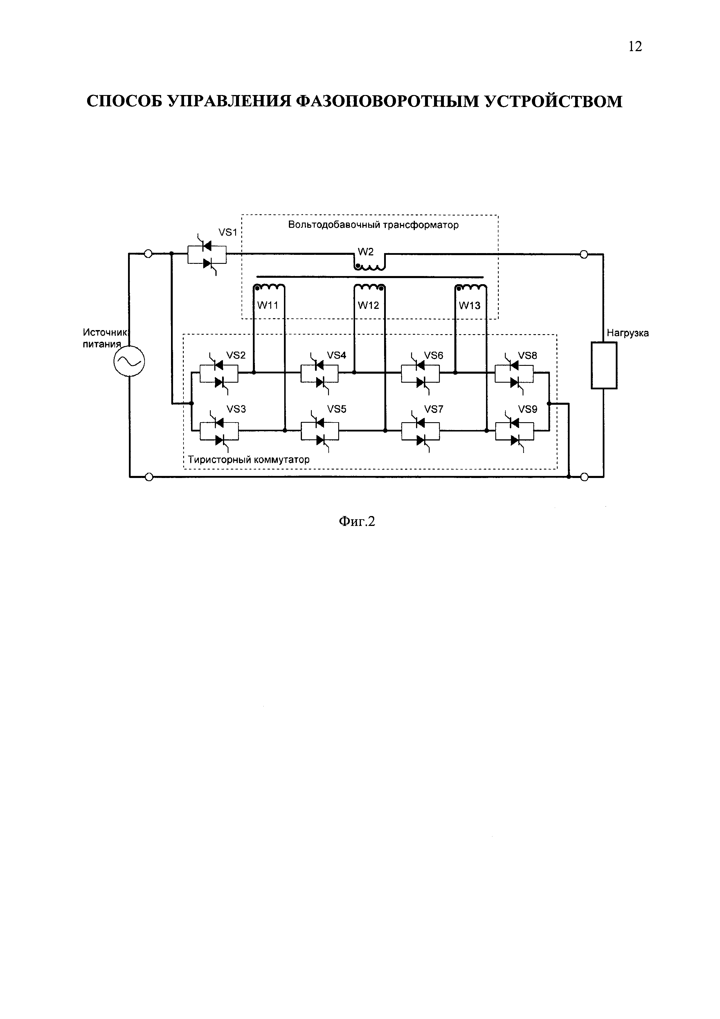
На фиг. 2 приведен пример схемы одной фазы фазоповоротного устройства, позволяющей реализовать предлагаемый способ управления.

[10]

Блок 1 выбора маршрута переключения ФПУ своим первым входом подключен к выходу блока 2 задания требуемого состояния ФПУ, вторым входом - к выходу блока 3 задания характеристик маршрута переключения ФПУ, третьим входом - к первому выходу блока 4 управления тиристорными ключами ФПУ. Выход блока 1 выбора маршрута переключения ФПУ подключен к первому входу блока 4 управления тиристорными ключами ФПУ, при этом второй выход блока 4 управления тиристорными ключами ФПУ подключен к входу тиристорного коммутатора 5. В составе тиристорного коммутатора 5 находится блок 6 датчиков тока тиристорного коммутатора. Три выхода блока 6 датчиков тока тиристорного коммутатора подключены к первому, второму и третьему входам блока 7 слежения за токами. К четвертому и пятому входам блока 7 слежения за токами подключены соответственно выход блока 8 данных о параметрах силовых компонентов фазоповоротного устройства и третий выход блока 4 управления тиристорными ключами ФПУ. Выход блока 7 слежения за токами подключен ко второму входу блока 4 управления тиристорными ключами ФПУ. Вход блока 2 задания требуемого состояния ФПУ подключен к первому выходу блока 9 автоматического управления энергосистемой или подстанцией, второй выход которого подключен к входу блока 3 задания характеристик маршрута переключения ФПУ. Четвертый выход блока 4 управления тиристорными ключами ФПУ подключен к входу блока 10 двунаправленных тиристорных ключей, в составе которого находится блок 11 датчиков тока двунаправленных тиристорных ключей, первый, второй и третий выходы которого подключены к шестому, седьмому и восьмому входам блока 7 слежения за токами.

[11]

Заявляемый способ управления осуществляется следующим образом.

[12]

Управление ФПУ обеспечивает его переходы из состояния, называемого начальным, с одними величинами выходного напряжения и фазового сдвига, в другое состояние, задаваемое блоком 2 задания требуемого состояния ФПУ, называемое конечным, с другими величинами выходного напряжения и фазового сдвига. Изменение выходного напряжения и фазового сдвига ФПУ обеспечивается изменением состава и полярности включения шунтовых обмоток вольтодобавочного трансформатора в каждой фазе ФПУ, осуществляемого тиристорным коммутатором 5 за счет изменения его состояния посредством управления входящих в его состав тиристорных ключей. Блок 2 задания требуемого состояния ФПУ, в свою очередь, получает информацию о требуемом состоянии ФПУ от блока 9 автоматического управления энергосистемой или подстанцией. Кроме указанной информации блок 9 автоматического управления энергосистемой или подстанцией также формирует дополнительные требования к характеристикам процесса изменения состояния ФПУ, которые он передает в блок 3 задания характеристик маршрута переключения ФПУ. К данным характеристикам могут относиться: ограничение величины выходных напряжений ФПУ в процессе поэтапной коммутации шунтовых обмоток трансформатора, число переключений шунтовых обмоток трансформатора, число коммутаций тиристорных ключей, максимальная скорость изменения выходного напряжения и фазы в процессе изменения состояния ФПУ, суммарно накопленный фазовый сдвиг и др. На основе информации, получаемой от блока 2 задания требуемого состояния ФПУ и блока 3 задания характеристик маршрута переключения ФПУ осуществляется выбор маршрута переключения ФПУ в блоке 1 выбора маршрута переключения ФПУ. Блок 1 выбора маршрута переключения ФПУ передает в блок 4 управления тиристорными ключами ФПУ информацию о требуемом состоянии тиристорного коммутатора 5. Блок 4 управления тиристорными ключами ФПУ осуществляет непосредственное управление тиристорным коммутатором 5. Информация о текущем состоянии тиристорного коммутатора 5 передается блоком 4 управления тиристорными ключами ФПУ в блок 1 выбора маршрута переключения ФПУ. При появлении со стороны блока 1 выбора маршрута переключения ФПУ требования на изменение состояния ФПУ блок 4 управления тиристорными ключами ФПУ осуществляет пофазное переключение ФПУ.

[13]

Для организации пофазного переключения ФПУ блок 4 управления тиристорными ключами ФПУ снимает импульсы управления с двунаправленного тиристорного ключа переключаемой фазы блока 10 двунаправленных тиристорных ключей, включенного последовательно с сериесной обмоткой трансформатора, источником питания и нагрузкой, и инициализирует работу блока 7 слежения за токами. После инициализации работы блока 7 слежения за токами осуществляется контроль мгновенного значения тока двунаправленного тиристорного ключа переключаемой фазы по сигналам с выхода блока 11 датчиков тока двунаправленных тиристорных ключей. При обнаружении нулевого значения тока в выключаемом двунаправленном тиристорном ключе блок 7 слежения за токами формирует временную задержку на время восстановления запирающих свойств тиристоров двунаправленного тиристорного ключа, задаваемой с выхода блока 8 данных о параметрах силовых компонентов ФПУ. После окончания временной задержки блок 7 слежения за токами подает сигнал на блок 4 управления тиристорными ключами ФПУ на разрешение снятия импульсов управления с тиристорных ключей переключаемой фазы тиристорного коммутатора 5. Блок 4 управления тиристорными ключами ФПУ снимает импульсы управления с тиристорных ключей переключаемой фазы тиристорного коммутатора 5 и инициализирует работу блока 7 слежения за токами по сигналам, поступающих с блока 6 датчиков тока тиристорного коммутатора. При обнаружении нулевого значения тока в переключаемой фазе тиристорного коммутатора 5 блок 7 слежения за токами формирует временную задержку, равную времени восстановления запирающих свойств тиристорных ключей тиристорного коммутатора 5. По окончанию временной задержки блок 7 слежения за током подает в блок 4 управления тиристорными ключами ФПУ сигнал на включение тиристорных ключей соответствующей фазы тиристорного коммутатора 5 в новое состояние. После чего блок 4 управления тиристорными ключами ФПУ подает импульсы управления на тиристорные ключи тиристорного коммутатора 5. После включения тиристорных ключей тиристорного коммутатора 5 в новое состояние блок 7 слежения за токами подает сигнал в блок 4 управления тиристорными ключами ФПУ на включение двунаправленного тиристорного ключа переключаемой фазы. По сигналу с блока 7 слежения за токами блок 4 управления тиристорными ключами ФПУ подает импульсы управления на двунаправленных ключ переключаемой фазы блока 10 двунаправленных тиристорных ключей.

[14]

Завершив переключение одной фазы ФПУ блок 4 управления тиристорными ключами ФПУ проводит аналогичные действия в оставшихся фазах до тех пор, пока все фазы тиристорного коммутатора 5 не будут переведены в новое состояние.

[15]

На фиг. 2 приведен пример схемы одной фазы фазоповоротного устройства, позволяющей реализовать предлагаемый способ управления. В качестве двунаправленного тиристорного ключа в ней применен ключ VS1, включенный последовательно с сериесной обмоткой W2 вольтодобавочного трансформатора источником питания и нагрузкой. Ключи VS2-VS9 входят в состав тиристорного коммутатора ФПУ.

[16]

В отличие от способа-прототипа предлагаемый способ позволяет проводить переключение тиристорного коммутатора 5 при обесточенной сериесной обмотке W2 вольтодобавочного трансформатора. Это исключает появления повышенного напряжения на шунтовых обмотках W11, W12, W13 вольтодобавочного трансформатора, трансформируемого из сериесной обмотки W2, на интервале времени смены состояния ФПУ. Вследствие этого значительно снижаются требования к классу напряжения применяемых в составе тиристорного коммутатора 5 тиристорных ключей, за счет чего будет существенно уменьшена стоимость тиристорного коммутатора 5. Отсутствие повышенных напряжений на тиристорных ключах коммутатора повышает надежность работы тиристорного коммутатора в широком диапазоне изменения характера нагрузок.

[17]

Таким образом, осуществление совокупности признаков заявляемого способа управления ФПУ обеспечивает достижение указанного технического результата.

Как компенсировать расходы
на инновационную разработку
Похожие патенты