патент
№ RU 2683577
МПК G05B23/02

Способ контроля срабатывания контактов электромагнитного реле и устройство для его осуществления

Авторы:
Филимонков Андрей Александрович
Номер заявки
2018120747
Дата подачи заявки
05.06.2018
Опубликовано
29.03.2019
Страна
RU
Как управлять
интеллектуальной собственностью
Чертежи 
1
Реферат

Изобретение относится к устройствам контроля электронных коммутационных схем. Согласно изобретению контроль срабатывания контактов электромагнитного реле производится с помощью подключения конденсатора с накопленным тестовым электрическим зарядом малой мощности к проверяемым контактам электромагнитного реле через защитный диод и последующим анализом результатов подключения конденсатора с учетом предыдущего состояния контактов электромагнитного реле с помощью схемы контроля и управления. Технический результат заключается в обеспечении контроля замкнутости контактов электромагнитного реле, подключенных при эксплуатации к электрическим цепям пользователя, без изъятия реле из эксплуатационной электрической схемы, при этом предложенная схема не является источником помех для электрических цепей пользователя, коммутируемых контактами электромагнитного реле, из-за малой мощности тестового заряда конденсатора. 2 н.п. ф-лы, 1 ил.

Формула изобретения

1. Способ контроля состояния замкнутости контактов электромагнитного реле, в соответствии с которым для контроля состояния замкнутости контактов электромагнитного реле, подключенных при эксплуатации к коммутируемым электрическим цепям пользователя, без изъятия реле из эксплуатационной электрической схемы используют конденсатор, предназначенный для накопления тестового электрического заряда малой мощности, при этом для определения состояния замкнутости контактов электромагнитного реле, конденсатор с накопленным тестовым электрическим зарядом малой мощности сначала подключается к проверяемым контактам электромагнитного реле и после, для анализа результатов подключения конденсатора, - к одновибратору, при соблюдении следующей последовательности действий:

1) первый и второй коммутаторы подключаются к напряжению питания и общей шине схемы соответственно;

2) после заряда конденсатора первый коммутатор подключается к одному контакту контролируемой пары контактов электромагнитного реле, второй коммутатор подключается через диод ко второму контакту контролируемой пары контактов электромагнитного реле;

3) первый и второй коммутаторы подключаются к одновибратору и общей шине схемы соответственно;

4) повторение действий согласно пунктам 1-3 п. 1 формулы изобретения для второй пары контактов электромагнитного реле.

2. Устройство контроля срабатывания контактов электромагнитного реле, содержащее коммутатор, который связан с диодом и конденсатором, и две контактные пары электромагнитного реле, отличающееся тем, что дополнительно введены коммутатор, одновибратор, выход которого связан с входом схемы контроля и управления реле, при этом конденсатор соединен с первым коммутатором, контакты которого подключены к напряжению питания, первому и третьему контактам электромагнитного реле и к входу одновибратора, к которому при этом подключен катод диода-ограничителя напряжения, анод которого подключен к общей шине устройства, контакты второго коммутатора подключены к общей шине устройства и диоду, который подключен к второму контакту электромагнитного реле.

Описание

[1]

Изобретение относится к области приборостроения и может быть использовано при построении коммутационных устройств на основе электромагнитных реле.

[2]

Известно устройство для дистанционного контроля электромагнитного реле (патент на изобретение RU 2073269), которое предназначено для контроля реле, подключенного к коммутируемым электрическим цепям пользователя, и содержит источник электропитания, соединенный посредством выключателя с обмоткой контролируемого реле, датчик срабатывания реле, выполненный в виде дросселя, включенного последовательно в цепь выключателя и шунтированного диодом, и последовательно включенным с датчиком срабатывания входным элементом индикатора срабатывания, а также комплект электроизмерительных приборов, подключенных к обмотке контролируемого реле. Недостатком указанного устройства является отсутствие контроля непосредственного включения и выключения контактов электромагнитного реле, т.е. состояния замкнутости/разомкнутости контактов электромагнитного реле, которые могут выгореть или, наоборот, «спаяться», контролируется только факт возбуждения обмотки реле.

[3]

Прототипом является устройство для контроля электромагнитных реле (патент на изобретение RU 2017197), которое предназначено для диагностического контроля реле и контакторов и содержит источник питания, коммутатор, индикаторы контроля, два конденсатора, соединенные через коммутатор с источником питания и через диод с выводами, предназначенными для подключения контактов и обмотки испытуемого электромагнитного реле. Недостатком указанного устройства является невозможность проведения контроля реле, подключенного при эксплуатации к коммутируемым электрическим цепям пользователя, без изъятия реле из эксплуатационной электрической схемы.

[4]

Задачей изобретения является создание способа и устройства для контроля состояния замкнутости контактов электромагнитного реле, подключенных при эксплуатации к коммутируемым электрическим цепям пользователя, без изъятия реле из эксплуатационной электрической схемы.

[5]

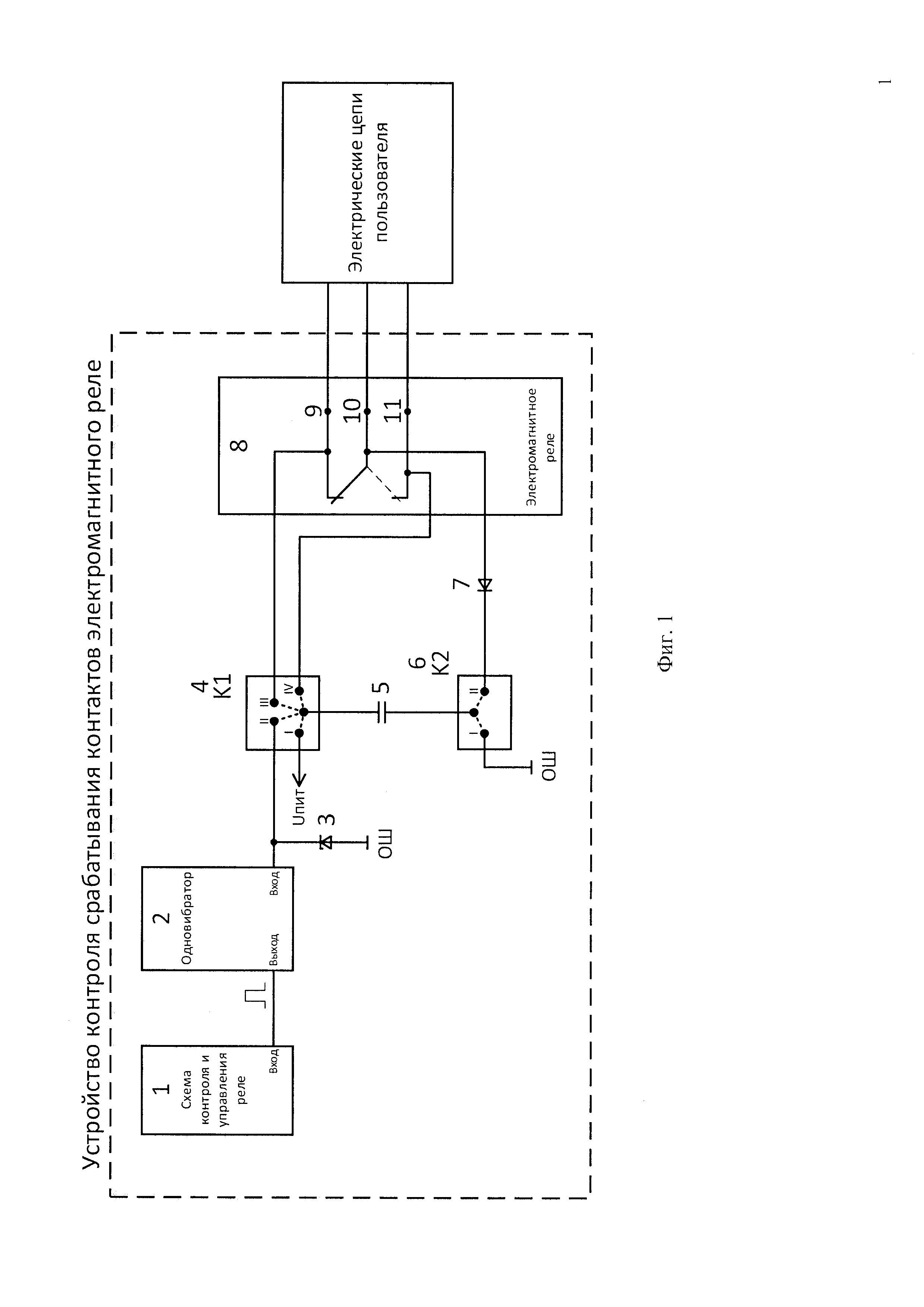
Схема устройства контроля срабатывания контактов электромагнитного реле приведена на фиг. 1.

[6]

Uпит - напряжение питания;

[7]

ОШ - общая шина схемы;

[8]

1. схема контроля и управления реле;

[9]

2. одновибратор;

[10]

3. диод-ограничитель напряжения;

[11]

4. первый коммутатор (К1);

[12]

5. конденсатор;

[13]

6. второй коммутатор (К2);

[14]

7. диод;

[15]

8. электромагнитное реле;

[16]

9. первый контакт электромагнитного реле (КЭР1);

[17]

10. второй контакт электромагнитного реле (КЭР2);

[18]

11. третий контакт электромагнитного реле (КЭР3).

[19]

Устройство контроля срабатывания контактов электромагнитного реле содержит следующие элементы и связи между ними.

[20]

Схема контроля и управления реле (1) и выход одновибратора (2) связаны между собой. Между К1 (4) и К2 (6) подключается конденсатор (5). К1 связан контактом I с Uпит, контактом II - с входом одновибратора (2) и катодом диода-ограничителя напряжения (3), контактом III - с первым контактом электромагнитного реле (КЭР1) (9), контактом IV - с третьим контактом электромагнитного реле (КЭР3) (11). К2 связан контактом I с общей шиной схемы (ОШ), контактом II - диодом (7), который соединен с КЭР2 (10). Анод диода-ограничителя напряжения (3) соединен с ОШ. КЭР1, КЭР2 и КЭР3 соединяют электромагнитное реле (8) с электрическими цепями пользователя.

[21]

Полярность включения диода (7) в схему не имеет значения и не влияет на достигаемый технический результат, на фиг. 1 приведен пример, в котором катод диода (7) подключен к контакту II К2, а анод соединен с КЭР2 (10).

[22]

Устройство контроля срабатывания контактов электромагнитного реле работает следующим образом:

[23]

С помощью коммутаторов К1 и К2 конденсатор (5) подключается к напряжению питания для накопления тестового заряда, после чего первая обкладка конденсатора (5) подключается к одному из контактов проверяемой пары контактов электромагнитного реле, а вторая обкладка конденсатора (5) через диод (7) подключается ко второму контакту проверяемой пары контактов электромагнитного реле, затем, конденсатор (5), через одновибратор (2), подключается к схеме контроля и управления реле (1) для анализа результатов подключения конденсатора. Конденсатор (5) предназначен для накопления тестового электрического заряда, диод (7) предназначен для защиты конденсатора (5) от переполюсовки при подключении к проверяемым контактам электромагнитного реле (8).

[24]

Электромагнитное реле (8) предназначено для коммутации электрических цепей пользователя, подключенных к первому (9), второму (10) и третьему (11) контактам электромагнитного реле, которые образуют две контактные пары - КЭР1, КЭР2 и КЭР2, КЭР3. Коммутатор K1 (4) имеет четыре положения (I, II, III, IV), коммутатор K2 (6) имеет два положения (I, II), каждое из которых переключает коммутаторы на соответствующий контакт и предназначены для переключения конденсатора (5) между Цпит, одновибратором (2) и контактами электромагнитного реле (8). Схема контроля и управления реле (1) предназначена для обработки выходного сигнала одновибратора (2), переключения электромагнитного реле (8) и переключения коммутаторов K1 (4) и K2 (6). Диод-ограничитель напряжения (3) предназначен для защиты входа одновибратора (2) от повышенного напряжения, которое может быть на конденсаторе (5).

[25]

Контроль состояния замкнутости контактов электромагнитного реле происходит последовательным выполнением следующих действий.

[26]

1) K1 (4) и К2 (6) переключаются в положение «I», что подключает конденсатор (5) к Uпит и ОШ соответственно. Таким образом, конденсатор (5) заряжается напряжением Uпит.

[27]

2) Заряженный конденсатор (5) подключается к контролируемым контактам электромагнитного реле (8), замыкание которых ожидается схемой контроля и управления реле (1). В соответствии с фиг. 1 для этого K1 (4) переключается в положение «III», а K2 (6) переключается в положение «II», таким образом, K1 (4) подключает первую обкладку конденсатора (5) к КЭР1 (9), а K2 (6) подключает вторую обкладку конденсатора (5) к КЭР2 (10). Если контролируемая пара контактов электромагнитного реле (8) была замкнута, то конденсатор (5) разрядится. Если контролируемая пара контактов электромагнитного реле (8) была разомкнута, то состояние конденсатора (5) не изменится.

[28]

3) К1 (4) переключается в положение «II», а K2 (6) переключается в положение «I» и, таким образом, К1 и K2 подключают конденсатор (5) к входу одновибратора (2) и ОШ соответственно. Если конденсатор (5) после подключения к контактам электромагнитного реле (8) разрядился, то одновибратор (2) при подключении к нему конденсатора (5) не запустится и на его выходе не появится импульс. Для схемы контроля и управления реле (1) это означает, что КЭР1 и КЭР2 были замкнуты и электромагнитное реле (8) сработало. Если конденсатор (5) после подключения к контактам электромагнитного реле (8) не разрядился, то одновибратор (2), при подключении к нему конденсатора (5), запустится электрическим сигналом, присутствующим в конденсаторе (5), и на выходе одновибратора (2) появится импульс. Для схемы контроля и управления реле (1) это означает, что КЭР1 и КЭР2 были разомкнуты и электромагнитное реле (8) не сработало.

[29]

Для контроля состояния контактов другой пары контактов электромагнитного реле (8) повторяются действия как в пунктах 1-3, с тем отличием, что К1 устанавливается в положение IV, а не III. Таким образом осуществляется контроль замкнутости КЭР2 (10) и КЭР3 (11).

[30]

Диод (7) защищает конденсатор (5) от перезаряда в случае наличия на разомкнутых контактах электромагнитного реле (8) напряжения обратной полярности, чем имеющееся напряжение на конденсаторе (5), но если на разомкнутых контактах электромагнитного реле (8) окажется большее напряжение совпадающей полярности, то конденсатор (5) дополнительно зарядится до напряжения большего, чем Uпит. В этом случае диод-ограничитель напряжения (3) защитит вход одновибратора (2) от превышения допустимого входного напряжения при переключении К1 в положение II.

[31]

Технический результат заключается в обеспечении контроля замкнутости контактов электромагнитного реле, подключенных при эксплуатации к электрическим цепям пользователя, без изъятия реле из эксплуатационной электрической схемы, при этом предложенная схема не является источником помех для электрических цепей пользователя, коммутируемых контактами электромагнитного реле, из-за малой мощности заряда конденсатора.

[32]

Таким образом, заявлены:

[33]

I. Способ контроля состояния замкнутости контактов электромагнитного реле, в соответствии с которым, для контроля состояния замкнутости контактов электромагнитного реле, подключенных при эксплуатации к коммутируемым электрическим цепям пользователя, без изъятия реле из эксплуатационной электрической схемы используют конденсатор, предназначенный для накопления тестового электрического заряда малой мощности, при этом для определения состояния замкнутости контактов электромагнитного реле, конденсатор с накопленным тестовым электрическим зарядом малой мощности сначала подключается к проверяемым контактам электромагнитного реле и после, для анализа результатов подключения конденсатора, - к одновибратору, при соблюдении следующей последовательности действий:

[34]

1. первый и второй коммутаторы подключаются к напряжению питания и общей шине схемы соответственно;

[35]

2. после заряда конденсатора первый коммутатор подключается к одному контакту контролируемой пары контактов электромагнитного реле, второй коммутатор подключается через диод ко второму контакту контролируемой пары контактов электромагнитного реле;

[36]

3. первый и второй коммутаторы подключаются к одновибратору и общей шине схемы соответственно;

[37]

4. повторение действий согласно пунктам 1-3 пункта I формулы изобретения для второй пары контактов электромагнитного реле.

[38]

II. Устройство контроля срабатывания контактов электромагнитного реле, содержащее коммутатор (6), который связан с диодом (7) и конденсатором (5), и две контактные пары электромагнитного реле, в котором дополнительно введены коммутатор (4), одновибратор (2), выход которого связан с входом схемы контроля и управления реле (1), при этом конденсатор (5) соединен с первым коммутатором (4), контакты которого подключены к напряжению питания Uпит, первому (9) и третьему (11) контактам электромагнитного реле (8) и к входу одновибратора (2), к которому при этом подключен катод диода-ограничителя напряжения (3), анод которого подключен к общей шине (ОШ) устройства, контакты второго коммутатора (6) подключены к общей шине (ОШ) устройства и диоду (7), который подключен к второму контакту электромагнитного реле (10).

Как компенсировать расходы
на инновационную разработку
Похожие патенты