патент
№ RU 2610546
МПК G01F3/28

Счетчик массового расхода и массы вязких жидкостей

Авторы:
Пудовкина Дарья Андреевна
Номер заявки
2015154916
Дата подачи заявки
21.12.2015
Опубликовано
13.02.2017
Страна
RU
Как управлять
интеллектуальной собственностью
Чертежи 
5
Реферат

Изобретение относится к области измерительной техники и может быть использовано для измерений массового расхода и массы вязких жидких сред. Счетчик содержит корпус 1, размещенный в нем измерительный блок 2, на корпусе - входной коллектор 3, выходной коллектор 4, устройство 5 электрического обогрева. Корпус 1 представляет собой горизонтально расположенный цилиндрический сосуд, на обечайке 6 которого перпендикулярно оси выполнены два соосных отверстия 7 и 8 для входа/выхода измеряемой среды посредством герметично присоединенных входного и выходного коллекторов 3 и 4 соответственно. На входном отверстии 7 установлено устройство 9 моделирования формы потока жидкости. К корпусу 1 через фланец 10 при помощи кольца 11 прикреплена крышка 12 измерительного блока 2. Для придания герметичности соединения используется прокладка из резины. На внутреннем торце крышки 12 выполнены три отверстия 13 с резьбой, в которые устанавливаются шпильки 14, служащие осями для крепления опоры 15. На осях 14 установлены ударогасители 16, перемещение которых ограничивается шайбой 17 и шплинтом 18. На торце крышки 12 и опоры 15 имеются соосные отверстия и прокладка с подшипниками, в которых установлена ось 19 измерительного блока 2. Измерительный блок 2 является подвижной системой из двух призматических ковшей 201, 202 треугольного сечения и боковых пластин 21, к которым крепится груз 22, причем на нижней плоскости посередине между ковшей 201, 202 установлен постоянный магнит 23. На наружном торце крышки 12 измерительного блока 2 выполнены отверстия для крепления электромагнитного датчика 24, ручек 25 и уровня 26. Отверстие для крепления электромагнитного датчика выполнено таким образом, что его центр совпадает с

Формула изобретения

Счетчик массового расхода и массы вязких жидкостей, состоящий из корпуса, измерительного блока, входного и выходного коллекторов, при этом корпус представляет собой горизонтально расположенный цилиндрический сосуд, на обечайке которого перпендикулярно оси выполнены два соосных отверстия для входа/выхода вязкой жидкости посредством герметично присоединенных входного и выходного коллекторов, а на входном отверстии установлено устройство моделирования формы потока, к корпусу через фланец прикреплена крышка измерительного блока с герметизацией соединения с помощью резиновой прокладки, причем на внутреннем торце крышки выполнены три отверстия с резьбой, в которые установлены шпильки, служащие осями для крепления опоры и установки на них ударогасителей, перемещение которых ограничено шайбой и шплинтом, а на торце крышки и опоры имеются соосные отверстия с подшипниками и в них установлена ось измерительного блока, который является подвижной системой и состоит из двух призматических ковшей треугольного сечения и боковых пластин, к которым прикреплены грузы, при этом измерительный блок снабжен по меньшей мере одним постоянным магнитом, на наружном торце крышки измерительного блока выполнены отверстия для крепления по меньшей мере одного электромагнитного датчика, ручек и уровня, причем отверстие для крепления электромагнитного датчика выполнено таким образом, что его центр совпадает с траекторией движения постоянного магнита измерительного блока, при этом электромагнитный датчик связан с вычислителем, отличающийся тем, что он содержит устройство электрического обогрева, состоящее из закрепленного на внешней поверхности корпуса электрического греющего кабеля, размещенного в теплоизоляционном кожухе с теплоизоляционной крышкой, в котором закреплена взрывозащищенная клеммная коробка для подвода питания к этому кабелю, при этом пространство между кабелем, крышкой и кожухом заполнено теплоизоляционным объемным наполнителем, постоянный магнит в измерительном блоке установлен на нижней плоскости посредине между призматическими ковшами, электромагнитный датчик содержит дополнительно помещенную во взрывобезопасный корпус плату электронного корректора, представляющего собой программируемое устройство, а выходной коллектор выполнен в виде прямолинейного участка трубы.

Описание

[1]

Изобретение относится к области измерительной техники и может быть использовано для измерений массового расхода и массы вязких жидких сред.

[2]

Известен весовой счетчик с качающимися сосудами, описанный в статье «Счетчики количества жидкостей» на сайте www.neftemagnat.ru/enc/284 (см. Приложение 1). Известный прибор состоит из двух трехгранных измерительных сосудов I и II с одним общим ребром 2. Сосуды опираются на ось 1, относительно которой происходит их качание. Каждый измерительный сосуд снабжен воронкой 7 с расширяющейся горловиной, предохраняющей жидкость от разбрызгивания. Кроме того, измерительные сосуды имеют дополнительные желоба. При заполнении одного из сосудов по трубе 6 до перелива жидкости через порог 4 в желоб 3 центр тяжести системы смещается и измерительные сосуды опрокидываются. Жидкость из заполненного сосуда выливается.

[3]

Таким образом, при работе счетчика измерительные сосуды попеременно то наполняются, то опорожняются. При этом ось поворачивается и приводит в действие счетный механизм. Угол качания сосудов ограничен демпферными упорами 5.

[4]

Недостаток известного прибора заключается в отсутствие устройства подогрева корпуса счетчика, что приводит к большой погрешности при измерении количества вязкой жидкой среды за счет налипания ее на внутренних механических элементах счетчика. При этом наличие в составе конструкции измерительных сосудов дополнительных желобов создает большое сопротивление потоку жидкости с высокой вязкостью, что затрудняет работу устройства.

[5]

Наиболее близким по технической сущности к заявляемому счетчику является счетчик количества жидкости, описанный в патенте РФ №154443 по кл. G01F 3/28, з. 29.12.2014 г., опубл. 27.08.2015 г. и выбранный в качестве прототипа.

[6]

Известный счетчик количества жидкости - сырой нефти состоит из корпуса, блока измерительного, входного и выходного коллекторов, узла сепарации и отличается тем, что корпус представляет собой горизонтально расположенный цилиндрический сосуд, на обечайке которого перпендикулярно оси выполнены два соосных отверстия для входа/выхода нефтегазоводной смеси посредством герметично присоединенных входного и выходного коллекторов, причем на входном отверстии установлено регулируемое входное устройство, а к корпусу через фланец крепится крышка блока измерительного, а для придания герметичности соединения используется прокладка из резины, причем на внутреннем торце крышки выполнены три отверстия с резьбой, в которые устанавливаются шпильки, служащие для крепления опоры, кроме того, на данных осях установлены ударогасители, перемещение которых ограничивается шайбой и шплинтом, а на торце крышки и опоры имеются соосные отверстия с подшипниками и в них установлена ось блока измерительного, причем блок измерительный является подвижной системой и состоит из двух призматических ковшей треугольного сечения и боковых пластин, к которым крепится груз, а на одной из пластин установлены два постоянных магнита, причем на наружном торце крышки блока измерительного выполнены отверстия для крепления электромагнитных датчиков, датчика плотности, ручек и уровня, причем отверстия для крепления электромагнитных датчиков выполнены таким образом, что их центр совпадает с траекторией движения постоянных магнитов камеры измерительной, причем узел сепарации содержит два эжектора, закрепленных на входном и выходном коллекторах; нефтегазоводный коллектор, газовый коллектор, соединяющие между собой эжекторы и корпус счетчика количества жидкости - сырой нефти; гаситель и воронку, установленные в корпусе, а гаситель представляет собой перфорированный лист, причем узел сепарации содержит два эжектора, закрепленных на концах выполненных в форме прямоугольного колена входного и выходного коллекторов, нефтегазоводный и газовый коллекторы, соединяющие между собой эжекторы и корпус, в котором установлены гаситель в виде перфорированного листа и воронка.

[7]

При этом сигнал с электромагнитных датчиков фиксируется электронным вычислителем и возможна передача информации в систему телеметрии, где производится обработка сигнала.

[8]

Недостатки известного устройства заключаются в следующем.

[9]

Поскольку известный счетчик предназначен для измерения количества такой вязкой среды как нефть, причем вязкость ее сильно зависит от температуры, то отсутствие устройства подогрева корпуса счетчика вызывает большую погрешность при измерении количества сырой нефти за счет налипания ее на внутренних механических элементах счетчика, для устранения которого требуется поддерживать внутри корпуса счетчика высокое давление. При этом наличие в узле сепарации гасителя в виде перфорированного листа создает большое сопротивление потоку жидкости с высокой вязкостью, что затрудняет работу устройства. Кроме того, конструкция узла сепарации также усложняет сам счетчик.

[10]

Используемая в известном счетчике форма выходного коллектора в виде прямоугольного колена препятствует свободному сливу измеряемой жидкости и также требует высокого значения избыточного давления внутри корпуса счетчика для нормального хода процесса измерения.

[11]

Наличие в известном счетчике датчика плотности и двух электромагнитных датчиков (хотя для целей фиксации изменения положения ковшей вполне достаточно одного электромагнитного датчика) усложняет его конструкцию.

[12]

Таким образом, известный счетчик имеет не очень высокую точность измерений, весьма сложную конструкцию и сложные условия обеспечения его работоспособности (необходимость поддержания внутри него высокого давления), что снижает его надежность.

[13]

Задачей является повышение точности измерений и повышение надежности счетчика за счет устранения налипания вязкой среды на механические элементы счетчика и упрощения его конструкции.

[14]

Поставленная задача решается тем, что счетчик массового расхода и массы вязких жидкостей, состоящий из корпуса, измерительного блока, входного и выходного коллекторов, при этом корпус представляет собой горизонтально расположенный цилиндрический сосуд, на обечайке которого перпендикулярно оси выполнены два соосных отверстия для входа/выхода вязкой жидкости посредством герметично присоединенных входного и выходного коллекторов, а на входном отверстии установлено устройство моделирования формы потока, к корпусу через фланец прикреплена крышка с герметизацией соединения с помощью резиновой прокладки, причем на внутреннем торце крышки выполнены три отверстия с резьбой, в которые установлены шпильки, служащие осями для крепления опоры и установки на них ударогасителей, перемещение которых ограничено шайбой и шплинтом, а на торце крышки и опоры имеются соосные отверстия с подшипниками и в них установлена ось измерительного блока, который является подвижной системой и состоит из двух призматических ковшей треугольного сечения и боковых пластин, к которым прикреплены грузы, при этом измерительный блок снабжен, по меньшей мере, одним постоянным магнитом, на наружном торце крышки измерительного блока выполнены отверстия для крепления, по меньшей мере, одного электромагнитного датчика, ручек и уровня, причем отверстие для крепления электромагнитного датчика выполнено таким образом, что его центр совпадает с траекторией движения постоянного магнита, при этом электромагнитный датчик связан с вычислителем, СОГЛАСНО ИЗОБРЕТЕНИЮ, содержит устройство электрического обогрева, состоящее из закрепленного на внешней поверхности корпуса электрического греющего кабеля, размещенного в теплоизолирующем кожухе с теплоизолирующей крышкой, в котором закреплена взрывозащищенная клеммная коробка для подвода питания к этому кабелю, при этом пространство между кабелем между крышкой и кожухом заполнено теплоизоляционнным объемным наполнителем, постоянный магнит в измерительном блоке установлен на нижней плоскости посредине между призматическими ковшами, электромагнитный датчик содержит дополнительно помещенную во взрывобезопасный корпус плату электронного корректора, представляющего собой программируемое устройство, а выходной коллектор выполнен в виде прямолинейного участка трубы.

[15]

Размещение на внешней поверхности корпуса счетчика устройства электрического обогрева в виде электрического греющего кабеля, расположенного в теплоизолированном объеме, позволяет снизить вязкость измеряемой вязкой жидкости, что дает возможность даже высоковязким жидкостям беспрепятственно проходить через счетчик без риска налипания их на его внутренних механических элементах, что повышает точность измерений, а также не требует поддержания высокого значения избыточного давления внутри корпуса счетчика, упрощая условия его работы и повышая тем самым его надежность. Упрощению условий работы, а тем самым и повышению надежности счетчика способствует также выполнение выходного коллектора в форме прямолинейного участка трубы, обеспечивающего беспрепятственный слив жидкости, расположение одного постоянного магнита на нижней плоскости между двумя призматическими ковшами и снабжение электромагнитного датчика платой электронного корректора в виде программируемого устройства, сигнал с выхода которого можно подавать непосредственно в вычислитель или систему телеметрии.

[16]

Технический результат - повышение точности измерений и повышение надежности за счет упрощения условий эксплуатации счетчика и упрощения его конструкции.

[17]

Заявляемый счетчик обладает новизной в сравнении с прототипом, отличаясь от него такими существенными признаками, как наличие в нем устройства электрического обогрева, состоящего из закрепленного на внешней поверхности корпуса электрического греющего кабеля, размещенного в теплоизолирующем кожухе с теплоизолирующей крышкой, в котором закреплена взрывозащищенная клеммная коробка для подвода питания к этому кабелю, а пространство между кабелем, крышкой и кожухом заполнено теплоизоляционным объемным наполнителем, расположение постоянного магнита на нижней плоскости между двумя призматическими ковшами, снабжение электромагнитного датчика помещенной во взрывобезопасный корпус платой электронного корректора, представляющего собой программируемое устройство, выполнение выходного коллектора в виде прямолинейного участка трубы, обеспечивающими в совокупности достижение заданного результата.

[18]

Заявителю не известны технические решения, обладающие указанными отличительными признаками, которые обеспечивали бы в совокупности достижение заданного результата, поэтому он считает, что заявляемый счетчик соответствует критерию «изобретательский уровень».

[19]

Заявляемый счетчик может найти широкое применение в области измерительной техники и может быть использован для измерений массового расхода и массы вязких жидкостей потому соответствует критерию «промышленная применимость».

[20]

Изобретение иллюстрируется чертежами, где представлены на:

[21]

- фиг. 1 - вид счетчика в разрезе спереди;

[22]

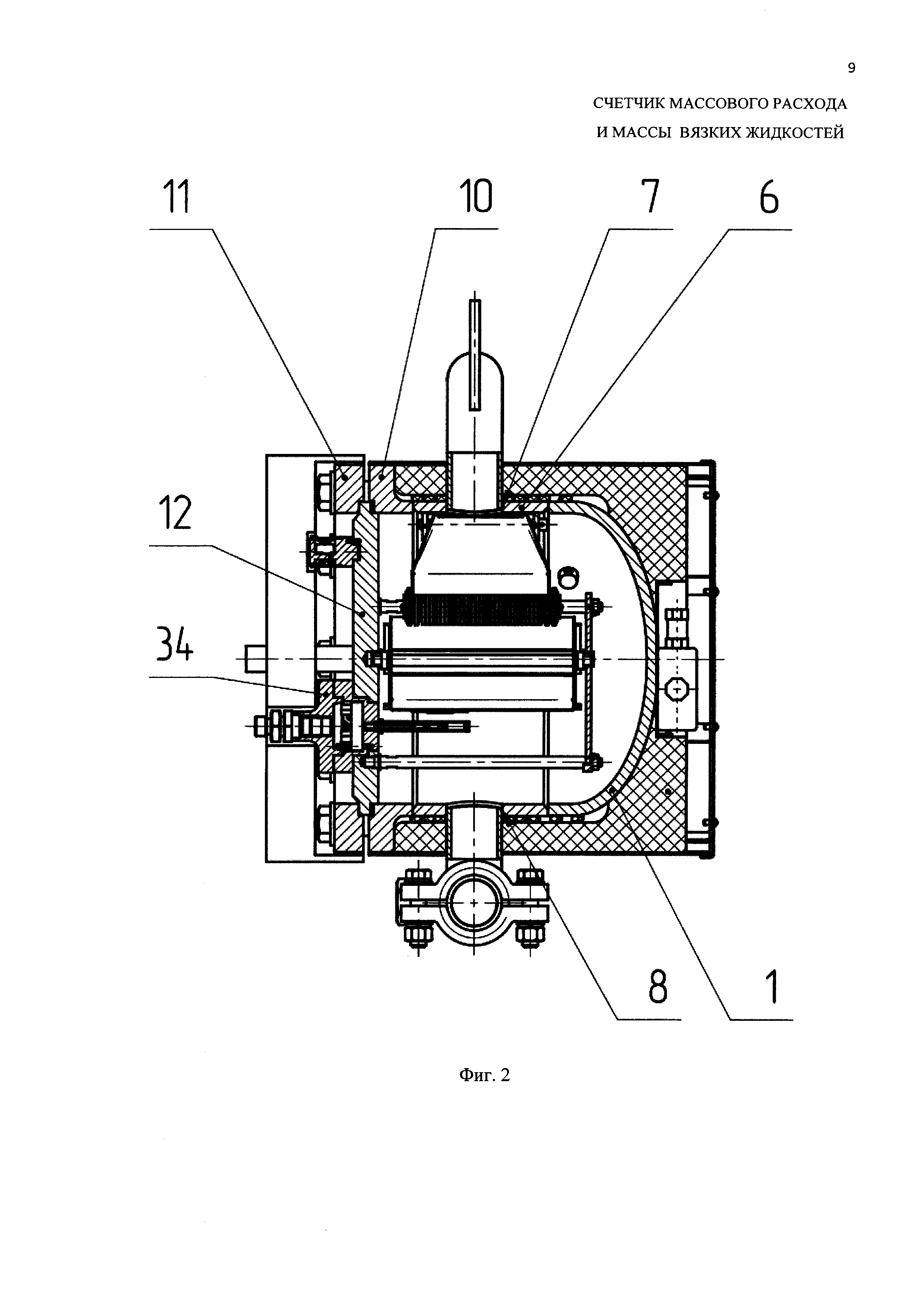
- фиг. 2 - вид счетчика в разрезе сбоку;

[23]

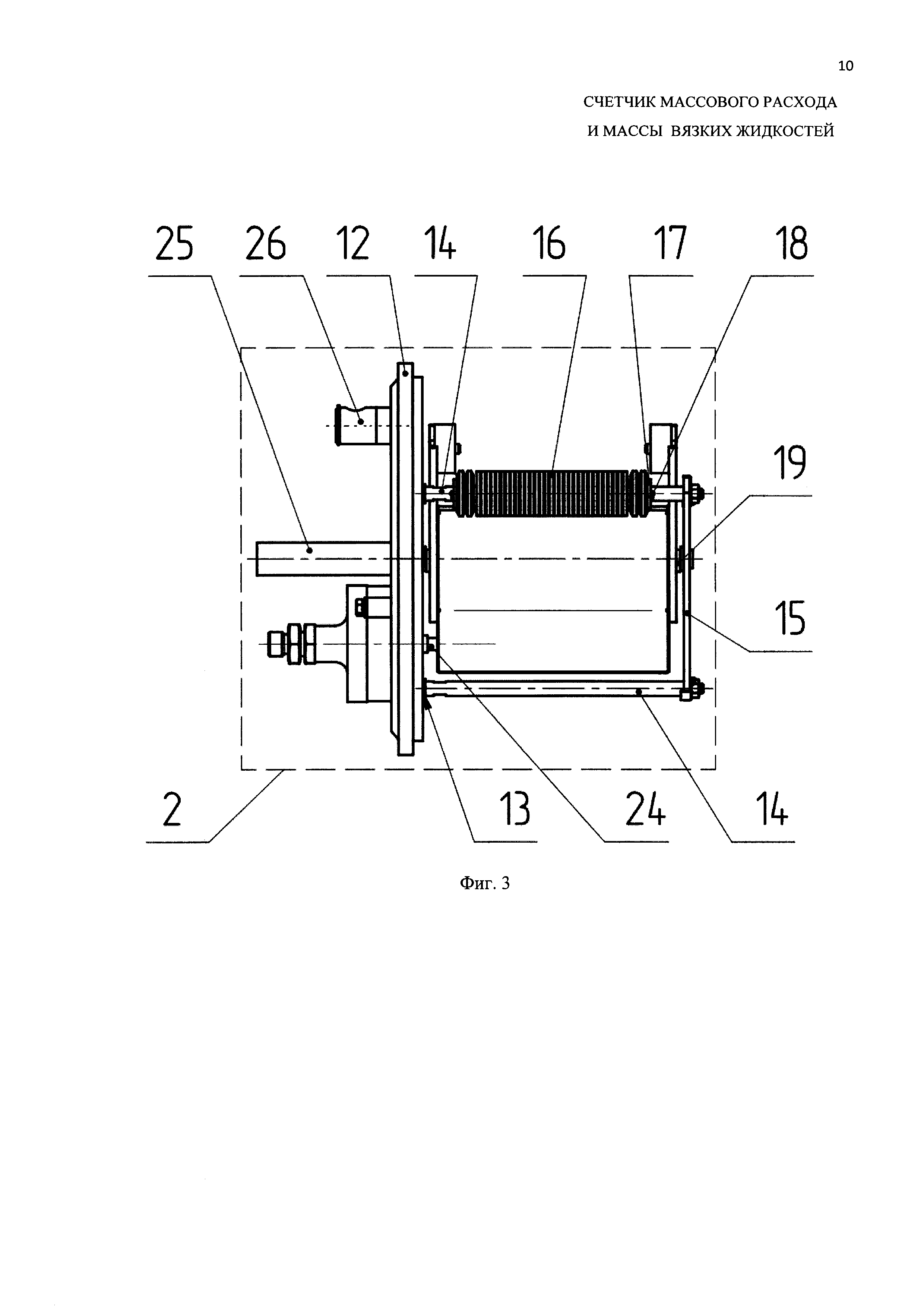
- фиг. 3 - вид измерительного блока;

[24]

- фиг. 4 - вид устройства электрического обогрева;

[25]

- фиг. 5 - вид электромагнитного датчика с платой электронного корректора и электронного счетного устройства.

[26]

Счетчик содержит следующие основные узлы: корпус 1, размещенный в нем измерительный блок 2, на корпусе - входной коллектор 3, выходной коллектор 4, устройство 5 электрического обогрева. При этом корпус 1 представляет собой горизонтально расположенный цилиндрический сосуд, на обечайке 6 которого перпендикулярно оси выполнены два соосных отверстия 7 и 8 для входа/выхода измеряемой среды - жидкости посредством герметично присоединенных входного и выходного коллекторов 3 и 4 соответственно. На входном отверстии 7 установлено устройство 9 моделирования формы потока жидкости для достижения статического режима налива смеси. К корпусу 1 через фланец 10 при помощи кольца 11 прикреплена крышка 12 измерительного блока 2. Для придания герметичности соединения используется прокладка (на чертеже не показана), например, из резины. На внутреннем торце крышки 12 выполнены три отверстия 13 с резьбой, в которые устанавливаются шпильки 14, служащие осями для крепления опоры 15. Кроме того, на данных осях установлены ударогасители 16, перемещение которых ограничивается шайбой 17 и шплинтом 18. На торце крышки 12 и опоры 15 имеются соосные отверстия (на чертеже не показаны) с подшипниками, в которых установлена ось 19 измерительного блока 2.

[27]

Измерительный блок 2 является подвижной системой и состоит из двух призматических ковшей 201, 202 треугольного сечения и боковых пластин 21, к которым крепится груз 22, причем на нижней плоскости посередине двух измерительных призматических ковшей 201, 202 установлен постоянный магнит 23. На наружном торце крышки 12 измерительного блока 2 выполнены отверстия (на чертеже не показаны) для крепления электромагнитного датчика 24, ручек 25 и уровня 26. Отверстие для крепления электромагнитного датчика выполнено таким образом, что его центр совпадает с траекторией движения постоянного магнита 23 измерительного блока 2.

[28]

Устройство 5 электрического обогрева состоит из электрического греющего кабеля 27, размещенного в теплоизолирующем кожухе 28 с теплоизолирующей крышкой 29, в котором закреплена взрывозащищенная клеммная коробка 30 для подвода питания к кабелю 27. Пространство между кабелем 27, крышкой 29 и кожухом 28 заполнено теплоизоляционным объемным наполнителем 31.

[29]

Электромагнитный датчик 24 представляет собой геркон или датчик Холла и предназначен для фиксации изменения положения измерительных ковшей 201, 202. Сигнал от электромагнитного датчика 24 поступает на плату электронного корректора 32 или на вычислитель, представляющий собой электронное счетное устройство 33. Плата электронного корректора 32 предназначена для приема сигналов от электромагнитного датчика 24 и выработки электрического сигнала требуемой амплитуды напряжения и длительности. Электронный корректор 32 представляет собой программируемое устройство, в которое посредством цифрового протокола можно записывать информацию о весе импульса, т.е. значение единицы измеряемой величины, приходящийся на один электрический импульс. Электрический сигнал от платы электронного корректора 32 можно подавать непосредственно в систему внешней телеметрии (на чертежах не показана) или в электронное счетное устройство 33. Плата электронного корректора 32 помещается во взрывобезопасный корпус 34. Электронное счетное устройство 33 представляет собой внешний программируемый электронный контроллер с индикатором и клавиатурой, в который посредством цифрового протокола или клавиатуры можно записывать информацию о весе импульса, а также считывать архивы с информацией о массовом расходе и массе измеряемой среды. Электронное счетное устройство 33 предназначено для приема сигналов от электромагнитного датчика 24 или платы электронного корректора 32 и выработки различных электронных сигналов, в том числе и сигналов цифровых протоколов связи, для связи с системами телеметрии и телеуправления.

[30]

Заявляемый счетчик работает следующим образом.

[31]

Принцип действия счетчика основан на поочередном заполнении жидкостью одного из двух призматических ковшей 201, 202, находящихся в измерительном блоке 2 с грузовым уравновешиванием и последующим их опрокидыванием в момент достижения в них определенной массы жидкости. Время заполнения измерительных ковшей 201, 202 определяет массовый расход протекающей жидкости.

[32]

Для ввода рабочей среды - вязкой жидкости предназначен входной коллектор 3 и устройство 9 моделирования формы потока жидкости. Для вывода рабочей среды из корпуса 1 предназначен выходной коллектор 4, форма которого, выполненная в виде прямолинейного участка трубы, обеспечивает беспрепятственный способ слива жидкости, что значительно снижает требования к величине избыточного давления внутри корпуса.

[33]

Устройство 5 электрического обогрева запитывается через клеммную коробку 30 от внешнего источника тока (на чертежах не показан) и предназначено для повышения температуры измеряемой среды - вязкой жидкости и, как следствие, уменьшения значения параметра ее вязкости. Устройство 5 электрического обогрева позволяет даже высоковязким жидкостям беспрепятственно проходить через счетчик без риска налипания на внутренних механических элементах счетчика, а также без необходимости поддержания высокого значения избыточного давления внутри корпуса 1.

[34]

Измеряемая среда - вязкая жидкость - подается во входной коллектор 3, затем через устройство 9 моделирования формы потока в измерительный блок 2 для заполнения одного ковша 201 до величины (в единицах массы), приводящей к изменению условия устойчивого равновесия, обусловленного положением центра масс ковшей 201, 202. Изменение условия устойчивого равновесия приводит к повороту ковша 201 и сливу жидкости из него в корпус 1. Затем этот процесс повторяется на втором ковше 202 измерительного блока 2. Одновременно в выходной коллектор 4 вытесняется жидкость, находящаяся в нижней части корпуса 1.

[35]

При прохождении постоянным магнитом 23 оси электромагнитного датчика 24 последним формируется электрический импульс, фиксируемый электронным счетным устройством 33, и начинается отсчет времени налива, который останавливается после повторного прохождения магнитом 23 оси электромагнитного датчика 24 после заполнения ковша 202.

[36]

Показания массового расхода и массы жидкости отображаются на индикаторе 35 электронного счетного устройства 33, а также фиксируются и хранятся в течение определенного времени в цифровом архиве. Кроме того, возможна передача нормируемого импульса в систему телеметрии.

[37]

В сравнении с прототипом заявляемый счетчик обеспечивает измерения с большей точностью и более надежен в работе за счет более простых условий эксплуатации и более простой конструкции.

Как компенсировать расходы
на инновационную разработку
Похожие патенты