патент
№ RU 2681293
МПК F02M61/10

Устройство для регистрации характеристики впрыскивания топлива

Авторы:
Шатров Михаил Георгиевич Зайков Иван Александрович Дунин Андрей Юрьевич
Все (5)
Номер заявки
2018109089
Дата подачи заявки
14.03.2018
Опубликовано
05.03.2019
Страна
RU
Как управлять
интеллектуальной собственностью
Чертежи 
1
Реферат

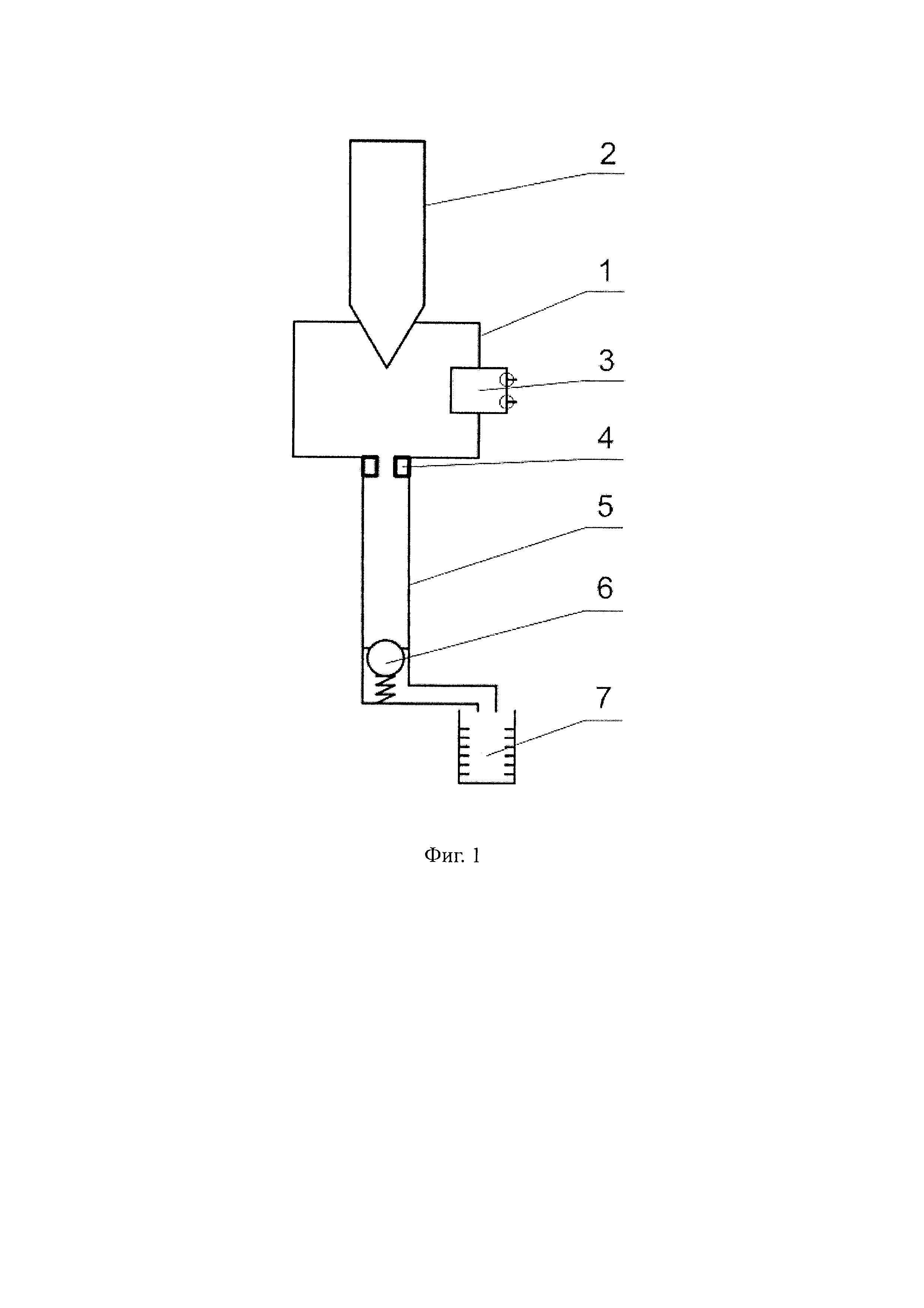
Изобретение относится к приборам для испытания топливных систем дизелей. Изобретение направлено на повышение точности регистрации характеристики впрыскивания топлива топливной системой дизеля путем исключения возможности попадания воздуха в корпус устройства в периоды между впрыскиваниями. Предложено устройство для регистрации характеристики впрыскивания топлива, содержащее корпус 1 с внутренним объемом, устанавливаемый на распылитель 2 форсунки с помощью гайки, с встроенными в него датчиком 3 для регистрации давления топлива и жиклером 4 для слива топлива из корпуса. Устройство снабжено топливопроводом 5, длиной не менее половины произведения времени впрыскивания на скорость распространения импульса давления в топливе, для слива топлива из корпуса. В топливопроводе установлен клапан 6 для поддержания избыточного давления топлива в диапазоне 0,08-0,1 МПа и обеспечения слива топлива в мерную емкость. 1 ил.

Формула изобретения

Устройство для регистрации характеристики впрыскивания топлива, содержащее корпус с внутренним объемом, устанавливаемый на распылитель форсунки посредством гайки, с встроенными в него датчиком для регистрации давления топлива и жиклером для слива топлива из корпуса, отличающееся тем, что оно снабжено топливопроводом, длиной не менее половины произведения времени впрыскивания на скорость распространения импульса давления в топливе, для слива топлива из корпуса, причем в топливопроводе установлен клапан для поддержания избыточного давления топлива в диапазоне 0,08-0,1 МПа и обеспечения слива топлива в мерную емкость.

Описание

[1]

Изобретение относится к машиностроению, а именно к приборам для исследования топливных систем дизелей.

[2]

Известно устройство для определения характеристики впрыскивания (Файнлейб Б.Н., Голубков И.Г., Клочев Л.А. Методы испытаний и исследований топливной аппаратуры автотракторных дизелей, М., Машиностроение, 1965. 175 с.), содержащее корпус с внутренним объемом, устанавливаемый на распылитель форсунки с помощью гайки, с встроенными в него датчиком для регистрации давления топлива, поршнем и клапаном золотникового типа, перемещение которого осуществляется топливом, подаваемым поочередно из соседних секций топливного насоса высокого давления. Основной недостаток указанного устройства в том, что возможны утечки через поршень, а также то, что устройство рассчитано на исследование только топливной системы с многоплунжерным топливным насосом высокого давления.

[3]

Наиболее близким к заявленному устройству является устройство (прибор) для определения характеристики впрыскивания топлива путем впрыскивания в замкнутый объем (Файнлейб Б.Н., Топливная аппаратура автотракторных дизелей. Справочник. Л. Машиностроение, 1990, 348 с.), содержащее корпус с внутренним объемом, устанавливаемый на распылитель форсунки с помощью гайки, с встроенными в него датчиком для регистрации давления топлива и жиклером для слива топлива из корпуса. Основной недостаток рассмотренного прибора заключается в том, что между впрыскиваниями во внутренний объем корпуса через жиклер попадает воздух, который искажает результат регистрации характеристики впрыскивания топлива топливной системой дизеля.

[4]

Достигаемым при использовании предлагаемого изобретения техническим результатом является повышение точности регистрации характеристики впрыскивания топлива топливной системой дизеля путем исключения возможности попадания воздуха в корпус устройства в периоды между впрыскиваниями.

[5]

Технический результат достигается тем, что устройство для регистрации характеристики впрыскивания топлива, содержащее корпус с внутренним объемом, устанавливаемый на распылитель форсунки с помощью гайки, с встроенными в него датчиком для регистрации давления топлива и жиклером для слива топлива из корпуса, снабжено топливопроводом, длиной не менее половины произведения времени впрыскивания на скорость распространения импульса давления в топливе, для слива топлива из корпуса, причем в топливопроводе установлен клапан для поддержания избыточного давления топлива в диапазоне 0,08-0,1 МПа и обеспечения слива топлива в мерную емкость.

[6]

Диапазон избыточного давления топлива 0,08-0,1 МПа, поддерживаемого в топливопроводе клапаном выбран по результатам проведенных исследований (Топливные системы и экономичность дизелей / И.В. Астахов, Л.Н. Голубков, В.И. Трусов, А.С. Хачиян и др. / М.: Машиностроение, 1990. - 288 с. на стр. 31) для исключения попадания воздуха во внутренний объем корпуса устройства в периоды между впрыскиваниями, что повышает точность регистрации характеристики впрыскивания топлива топливной системой дизеля.

[7]

Введение в устройство топливопровода и выбор его длины не менее половины произведения времени впрыскивания на скорость распространения импульса давления в топливе необходим во избежание прихода импульса давления, отраженного от клапана, к внутреннему объему во время регистрации характеристики впрыскивания и искажения тем самым полученных данных.

[8]

Предлагаемое изобретение поясняется рисунком фиг. 1, на котором приведена схема устройства для регистрации характеристики впрыскивания топлива.

[9]

Предлагаемое устройство для регистрации характеристики впрыскивания топлива, содержит корпус 1 с внутренним объемом, устанавливаемый на распылитель форсунки 2 посредством гайки (на фиг. 1 не показан). В корпус 1 встроены датчик 3 для регистрации давления топлива и жиклер 4 для слива топлива из корпуса 1. Топливопровод 5 выполнен длиной не менее половины произведения времени впрыскивания на скорость распространения импульса давления в топливе, для слива топлива из корпуса 1, причем в топливопроводе 5 установлен клапан 6 для поддержания избыточного давления топлива в топливопроводе 5 и обеспечения возможности его слива в мерную емкостью 7.

[10]

Предлагаемое устройство функционирует следующим образом.

[11]

Топливо из форсунки 2 впрыскивается во внутренний объем корпуса 1, заполненный топливом, давление топлива увеличивается, так как количество топлива подаваемое форсункой 2 в единицу времени больше количества топлива сливаемого из внутреннего объема корпуса 1 через жиклер 4 в топливопровод 5, в котором посредством клапана 6, размещенного в конце топливопровода 5 поддерживается избыточное давления топлива в диапазоне 0,08-0,1 МПа. Через клапан 6 топливо сливается в мерную емкость 7 для замера расхода топлива.

[12]

Таким образом, предлагаемое изобретение позволяет исключить возможность попадания воздуха в корпус устройства в периоды между впрыскиваниями за счет поддержания избыточного давления топлива в топливопроводе в диапазоне 0,08-0,1 МПа установкой в конце топливопровода клапана. Это повышает точность регистрации характеристики впрыскивания топлива топливной системой дизеля.

Как компенсировать расходы
на инновационную разработку
Похожие патенты