патент
№ RU 2699461
МПК B60N2/22

СПОСОБ ОБРАТИМОЙ АДАПТАЦИИ И ЭНЕРГОПОГЛОЩЕНИЯ КРЕСЛА ТРАНСПОРТНОГО СРЕДСТВА И УСТРОЙСТВО ДЛЯ ЕГО ОСУЩЕСТВЛЕНИЯ

Авторы:
Саяпин Сергей Николаевич
Номер заявки
2018129437
Дата подачи заявки
13.08.2018
Опубликовано
05.09.2019
Страна
RU
Как управлять
интеллектуальной собственностью
Чертежи 
2
Реферат

Способ обратимой адаптации и энергопоглощения кресла транспортного средства включает усаживание пользователя в кресло, перевод контактируемой с телом поверхности кресла из жесткого состояния в податливое, принятие пользователем требуемого положения и перевод контактируемой с телом поверхности кресла из податливого состояния в жесткое. Устройство выполнено в виде сиденья и спинки кресла из пористого гигроскопичного материала с глухими отверстиями, равномерно расположенными с противоположной стороны от контактируемой с телом поверхности. Сиденье и спинка кресла снабжены трехосными блоками акселерометров и равномерно распределенными внутри нее датчиками температуры и влажности. При этом входы глухих отверстий соединены с дренажными отверстиями разветвленного трубопровода, вход и выход которого соединены соответственно с выходом и входом системы увлажнения и осушения воздуха, включающей воздухораспределитель, устройства увлажнения и осушения воздуха, электрически связанные вместе с трехосными блоками акселерометров, датчиками температуры, влажности и давления с системой управления в виде компьютера. Повышаются комфорт, надежность и безопасность кресла. 2 н. и 1 з.п. ф-лы, 6 ил.

Формула изобретения

1. Способ обратимой адаптации и энергопоглощения кресла транспортного средства, включающий усаживание пользователя в кресло, перевод контактируемой с телом поверхности кресла из жесткого состояния в податливое, принятие пользователем требуемого положения и перевод контактируемой с телом поверхности кресла из податливого состояния в жесткое, отличающийся тем, что контактируемую с телом поверхность кресла из податливого состояния в жесткое переводят с временной задержкой, в процессе которой пользователь принимает в кресле требуемое неподвижное положение до тех пор, пока она не станет жесткой, а при возникновении нештатной ситуации, сопряженной с ударными и вибрационными воздействиями на кресло, - регулируемой упругоэластичной, при этом контактируемую поверхность кресла изготавливают из пористого гигроскопического материала и упаковывают в герметизирующую оболочку, в которой для получения состояния податливости пористый гигроскопический материал увлажняют, а для получения жесткого состояния - высушивают и при необходимости задают и поддерживают комфортную температуру контактируемой с телом поверхности.

2. Способ по п. 1, отличающийся тем, что в качестве пористого гигроскопического материала используют пенополивинилформаль.

3. Устройство для реализации способа обратимой адаптации и энергопоглощения кресла транспортного средства, содержащее кресло транспортного средства с сиденьем и спинкой, снабженными устройством обратимой адаптации контактируемой с телом поверхности, отличающееся тем, что устройство обратимой адаптации контактируемой с телом поверхности сиденья и спинки кресла выполнено в виде плит из пористого гигроскопичного материала, например, конструкционного пенополивинилформаля, с глухими отверстиями, равномерно расположенными с противоположной стороны от контактируемой с телом поверхности, при этом каждая из плит из гигроскопичного материала снабжена трехосным блоком акселерометров и равномерно распределенными внутри нее датчиками температуры и влажности и глухими отверстиями, входы которых соединены с соответствующими выходными дренажными отверстиями разветвленного трубопровода, вход и выход которого соединены соответственно с выходом и входом системы увлажнения и осушения воздуха, включающей воздухораспределитель, устройства увлажнения и осушения воздуха, электрически связанные вместе с трехосными блоками акселерометров, датчиками температуры, влажности и давления с системой управления в виде компьютера с цифроаналоговыми преобразователями, при этом входы системы управления через шины данных аналого-цифровых преобразователей подключены к выходам аналого-цифровых преобразователей трехосных блоков акселерометров, датчиков температуры, влажности и давления, а выходы системы управления через шину выходных данных подключены соответственно к входам последовательно соединенных усилителей мощности, клапанов воздухораспределителя, устройства увлажнения и устройства осушения воздуха.

Описание

[1]

Изобретение относится к области транспорта и может быть использовано при создании адаптируемых энергопоглощающих кресел повышенной безопасности и комфортности оператора систем «человек-машина-среда» с ортопедическими и эргономическими свойствами и комфортностью человека-оператора транспортного средства, а также в системах активной виброизоляции.

[2]

Особенно это актуально для операторов, работающих в экстремальных условиях, способствующих повышенному их нервному напряжению. Это, в первую очередь, относится к водителям большегрузных карьерных самосвалов, водителям, перевозящим грузы на дальние расстояния («дальнобойщикам») независимо от времени суток и погодных условий, а также пилотам дальней авиации, совершающих беспосадочные перелеты на протяженные расстояния или несущих длительную воздушную вахту с дозаправками в воздухе. Сложность проблемы заключается в том, что в отличие от космонавтов под эти категории не производится индивидуальное изготовление и подгонка сидений и кресел (Липов Б.П. Эргономическая адаптивность и задачи улучшения защиты от ударных перегрузок// Труды МАИ. Электрон, журн. 2009. Выпуск №65.). Напротив, операторы данных категорий сталкиваются с необходимостью вахтовой смены, когда каждый раз вручную, при их смене, осуществляется адаптация (регулировка) водительского сиденья или кресла пилота под изменяющиеся параметры оператора. При этом абсолютно не учитывается изменение их внутренних психо-физиологических факторов. В результате этого могут возникать аварийные и катастрофические ситуации с одной стороны, и может быть причинен вред здоровью оператора - с другой.

[3]

Известен регулируемый механический ложемент, предназначенный для разработки сидений повышенной комфортности. Устройство содержит основание и совокупность большого количества упругих элементов равномерно распределенных по поверхности контакта с возможностью регулирования их линейного размера и жесткости с образованием адаптивной поверхности. (Патент Российской Федерации на изобретение «Регулируемый механический ложемент» №2308863, МПК А47С 23/04. Опубл. в Бюл. №8, 27.10.2007). Недостаток устройства сложность конструкции, связанная с большим количеством упругих элементов и необходимостью их индивидуальной настройки, которые неизбежно приводят к увеличению массы устройства в целом. При этом в указанном устройстве не тело формирует поверхность ложемента, а ложемент подстраивается под поверхность тела, что снижает уровень комфортности для пользователя.

[4]

Известен ложемент пневматический регулируемый, предназначенный для разработки сидений повышенной комфортности. Устройство содержит основание и совокупность большого количества упругих элементов равномерно распределенных по поверхности контакта. При этом упругие элементы выполнены в виде эластичного воздухонепроницаемого материала в виде герметичной камеры, заполненной воздухом (Патент Российской Федерации на изобретение «Ложемент пневматический регулируемый» №2349242, МПК А47С 27/10. Опубл. в Бюл. №8, 20.03.2009). Недостаток - сложность конструкции, отличающиеся друг от друга силы упругости сжатых упругих элементов, (из-за различных объемов герметичных камер упругих элементов после их деформации и заполнения воздухом, подобно пневматическим рессорам. Также отсутствует возможность оперативного регулирования жесткости упругих элементов в режиме реального времени.

[5]

Известно кресло пассажира самолета, предназначенное для повышения его комфорта и безопасности в процессе полета и при возникновении аварийных перегрузок. (Патент Российской Федерации на изобретение №2136517, МПК B60N 2/22, B60D 11/06, А47С 3/00. Опубл. 10.09.1999). Недостатком устройства является отсутствие возможности адаптации к телу при изменении позы пассажира в процессе длительного полета, например, полулежа на боку, а также к телу пассажиров с антропоморфными отклонениями от обычной формы.

[6]

Известно «Кресло со спинкой, состоящей из подвижных механических сегментов, поддерживающих спину, шею и голову пользователя» (Патент Российской Федерации на изобретение №2610417, МПК А47С 7/46, B60N 2/64, B60N 2/42, B60N 2/24. Опубл. в Бюл. №8, 20.03.2009 - прототип). «…Кресло содержит спинку, состоящую из отдельных сегментов в виде прямоугольных параллелепипедов, каждый из которых жестко закреплен на штоке, свободно погружающемся во внутреннюю полость спинки и выдвигающемся из него. Шток фиксируется храповым механизмом, благодаря чему спинка кресла трансформируется под различные антропометрические данные людей, вследствие чего человек оказывается в углублении, образовавшемся из вдавленных сегментов. Оставшиеся в первоначальном состоянии или менее погруженные в спинку кресла сегменты образуют подобие упругого корсета, создающего горизонтальную и вертикальную поддержку… При этом кресло позволяет осуществлять быстрое изменение профиля спинки и предназначено для снятия нагрузки с поясничного, плечевого и шейного отделов при длительном сидячем положении, а также использовать его для людей с различными антропометрическими данными. При этом минимальная жесткость пружин сегментов должна обеспечивать продавливание верхней одежды пользователя. Недостаток устройства сложность конструкции, связанная с большим количеством подпружиненных сегментных механизмов, что неизбежно приводит к увеличению массы устройства в целом которая и снижению его надежности и безопасности в процессе эксплуатации. Так, например, при резком торможении, в случае расфиксации хотя бы одного из множества подпружиненных сегментов или что еще более опасно группы или всех при нештатном срабатывании ручки их фиксации/расфиксации, сегменты за счет силы инерции выдвинутся по направлению движения и способны повредить позвоночник или другие части тела водителя или пассажира. Причем зафиксированные ремнями безопасности они не смогут избежать этого опасного воздействия. Наличие бокового рычага общей разблокировки/блокировки сегментов увеличивает габаритные размеры кресла, что крайне нежелательно для пассажирских самолетов и др. летательных аппаратов, а также кресел пилотов. Кроме того устройство не обладает возможностью энергопоглощения при динамическом воздействии тела на кресло или наоборот в случае ударных или тормозных воздействий на транспортное средство. Кроме того сиденье выполнено без возможности адаптации к поверхности тела, что снижает степень комфортности.

[7]

Способ адаптации прототипа «Кресло со спинкой, состоящей из подвижных механических сегментов, поддерживающих спину, шею и голову пользователя» к телу пользователя включает следующие операции: усаживание в кресле, перевод контактируемой поверхности кресла из жесткого состояния в податливое путем поворота бокового рычага общей разблокировки/блокировки сегментов, принятие пользователем требуемого положения и перевод поверхности кресла из податливого состояния в жесткое также путем поворота рычага общей разблокировки/блокировки сегментов. Недостаток указанного способа заключается в том, что для перевода поверхности кресла из податливого состояния в пользователю требуется дотянуться до рычага общей разблокировки/блокировки сегментов и повернуть его. При этом части туловища пользователя неизбежно смещаются относительно выбранного положения и геометрическая форма зафиксированной поверхности кресла получается искаженной, что снижает степень комфортности пассажира (особенно, если до рычага должен дотянуться ребенок, пользователь невысокого роста, инвалид и др. подобные категории). Либо требуется помощь других людей, что не всегда возможно.

[8]

Техническим результатом изобретения является повышение степени комфорта, снижение габаритно-массовых параметров, повышение надежности и безопасности устройства, возможность регулирования жесткости адаптируемой поверхности и энергопоглощения, а также возможность качественного использования кресла детьми, пассажирами невысокого роста, инвалидами и др. подобными категориями без посторонней помощи.

[9]

Это достигается тем, что в способе обратимой адаптации и энергопоглощения кресла транспортного средства, включающем усаживание пользователя в кресло, перевод контактируемой с телом поверхности кресла из жесткого состояния в податливое, принятие пользователем требуемого положения и перевод контактируемой с телом поверхности кресла из податливого состояния в жесткое, контактируемую с телом поверхность кресла из податливого состояния в жесткое переводят с временной задержкой, в процессе которой пользователь принимает в кресле требуемое неподвижное положение до тех пор, пока она не станет жесткой, а при возникновении нештатной ситуации, сопряженной с ударными и вибрационными воздействиями на кресло, - регулируемой упруго-эластичной, при этом контактируемую поверхность кресла изготавливают из пористого гигроскопического материала и упаковывают в герметизирующую оболочку, в которой для получения состояния податливости пористый гигроскопический материал увлажняют, а для получения жесткого состояния - высушивают и при необходимости задают и поддерживают комфортную температуру контактируемой с телом поверхности. При этом в качестве пористого гигроскопического материала используют пенополивинилформаль.

[10]

При этом в устройстве для реализации способа, содержащем кресло транспортного средства с сиденьем и спинкой снабженной устройством обратимой адаптации контактируемой с телом поверхности, устройство обратимой адаптации контактируемой с телом поверхности сиденья и спинки кресла выполнено в виде плит из пористого гигроскопичного материала, например, конструкционного пенополивинилформаля, с глухими отверстиями равномерно расположенными с противоположной стороны от контактируемой с телом поверхности, при этом каждая из плит из гигроскопичного материала снабжена трехосным блоком акселерометров и равномерно распределенными внутри нее датчиками температуры и влажности и глухими отверстиями, входы которых соединены с соответствующими выходными дренажными отверстиями разветвленного трубопровода, вход и выход которого соединены соответственно с выходом и входом системы увлажнения и осушения воздуха, включающей воздухораспределитель, устройства увлажнения и осушения воздуха, электрически связанные вместе с трехосными блоками акселерометров, датчиками температуры, влажности и давления с системой управления в виде компьютера с цифроаналоговыми преобразователями, при этом входы системы управления через шины данных аналого-цифровых преобразователей подключены к выходам аналого-цифровых преобразователей трехосных блоков акселерометров, датчиков температуры, влажности и давления, а выходы системы управления через шину выходных данных подключены соответственно к входам последовательно соединенных усилителей мощности, клапанов воздухораспределителя, устройства увлажнения и устройства осушения воздуха.

[11]

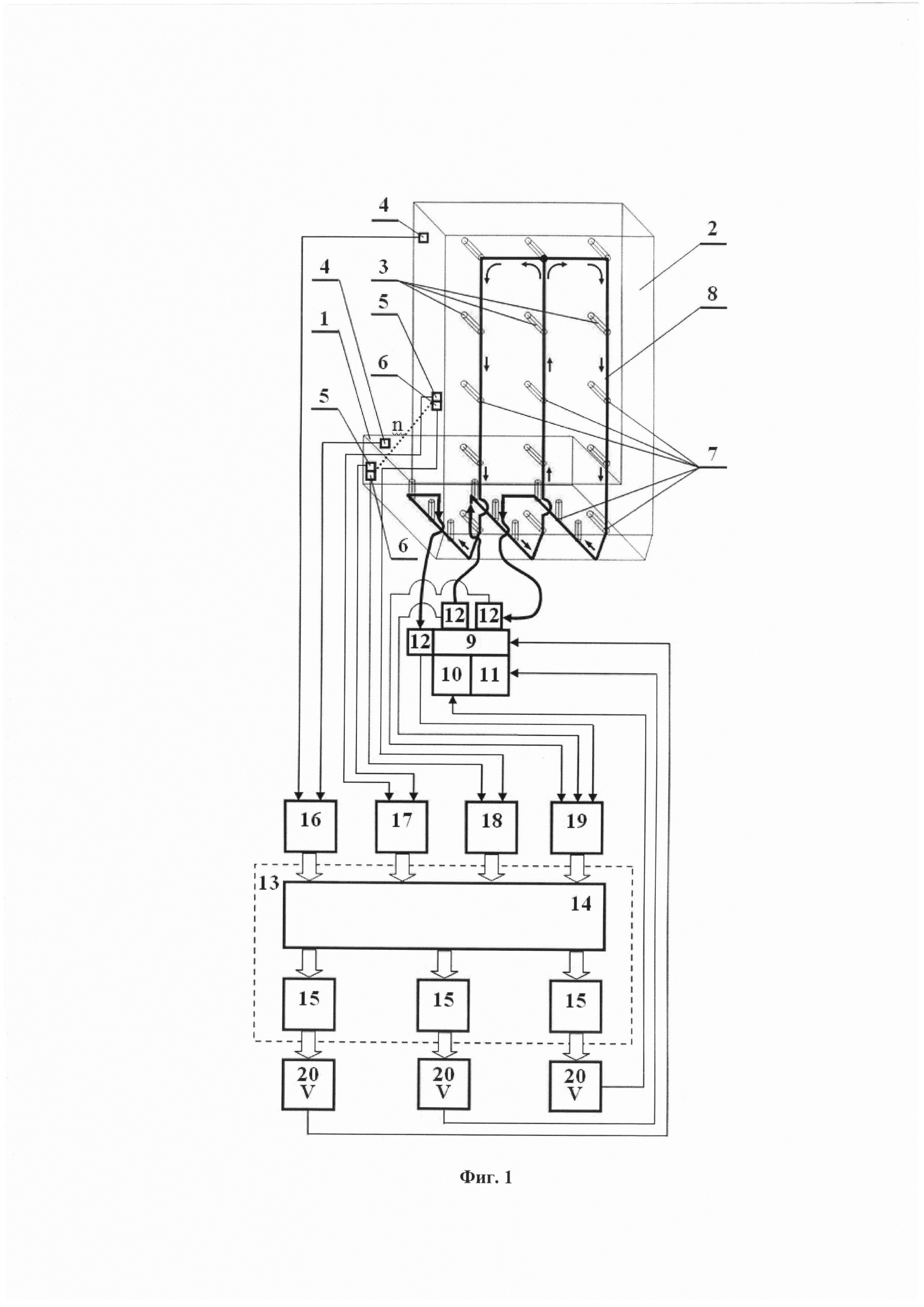
На фиг. 1 представлена структурная схема адаптируемого энергопоглощающего кресла транспортного средства (АЭК ТС).

[12]

На фиг. 2 показаны АЭК ТС до и после адаптации его контактируемой поверхности к строго-вертикальному и расслабленному положениям тела и пользователя.

[13]

На фиг. 3-6 показан пример реализации способа обратимой адаптации АЭК ТС с использованием его имитатора в виде цельного куска пенополивинилформаля и манекена летчика в уменьшенном масштабе: имитатор АЭК ТС и манекен перед увлажнением (фиг. 3); имитатор АЭК ТС после увлажнения, адаптации к манекену и формообразования после их совместной сушки феном (фиг. 4); адаптированный отпечаток манекена в имитаторе АЭК ТС после сушки (фиг. 5); восстановление первоначальной геометрии имитатора АЭК ТС после его повторного увлажнения (фиг. 6).

[14]

Обратимая адаптация и энергопоглощение АЭК ТС в процессе эксплуатации реализованы следующим образом.

[15]

В АЭК ТС сиденье 1 и спинка 2 снабжены устройством обратимой адаптации контактируемой с телом поверхности, выполненным в виде плит из пористого гигроскопичного материала, например, конструкционного пенополивинилформаля (см.: 1-«Пенополивинилформали (ППВФ)» в кн.: Булатов Г.А. Полиуретаны в современной технике.- М.: Машиностроение, 1983. С. 27; 2- «4.6. Пенополивинилформаль» в кн: Чухланов В.Ю. Газонаполненные пластмассы: учеб. Пособие / В.Ю. Чухланов, Ю.Т. Панов, А.В. Синявин, Е.В. Ермолаева; Владим. гос. ун-т. - Владимир: Изд-во Владим. гос. ун-та, 2008. ISBN 5-89368-756-6. С. 94-96. 3- «Пористый поливинилформаль ТПВФ-3БФ», URL: http://chemtechnolog.com/poly.html) с глухими отверстиями 3 равномерно расположенными с противоположной стороны от контактируемой с телом поверхности, при этом каждая из плит из гигроскопичного материала снабжена трехосным блоком акселерометров 4 и равномерно распределенными внутри нее в n-ом количестве датчиками температуры 5 и влажности 6 и глухими отверстиями 3, входы которых соединены с соответствующими выходными дренажными отверстиями 7 разветвленного трубопровода 8, вход и выход которого соединены соответственно с выходом и входом системы увлажнения и осушения воздуха, включающей воздухораспределитель (BP) 9, устройства увлажнения воздуха (УУВ) 10 и устройство осушения воздуха (УОВ) 11, электрически связанные вместе с трехосным блоком акселерометров 4, датчиками температуры 5, влажности 6 и давления 12 с системой управления (СУ) 13 в виде компьютера 14 с цифроаналоговыми преобразователями (ЦАП), 15 при этом входы системы управления 13 через шины данных аналого-цифровых преобразователей (АЦП) подключены к выходам АЦП 16, 17, 18 и 19 трехосных блоков акселерометров 4, датчиков температуры 5, влажности 6 и давления 12 соответственно, а выходы системы управления 13 через шину выходных данных подключены соответственно к входам последовательно соединенных усилителей мощности 20, клапанов BP 9, УУВ 10 и УОВ 11. При этом СУ 13, выполнена с возможностью оперативного контроля и управления в реальном режиме времени.

[16]

АЭК ТС работает следующим образом.

[17]

После усаживания пользователя в АЭК ТС осуществляют перевод АЭК ТС из жесткого состояния в податливое. При этом включают УУВ 10 и с помощью соответствующих клапанов (на фиг. условно не показаны) BP 9 открывают каналы УУВ 10 и перекрывают каналы УОВ 11 и подают увлажненный воздух в разветвленный трубопровод 8, который через дренажные отверстия 7 поступает в глухие отверстия 3 сиденья 1 и спинки 2 из пенополивинилформаля и увлажняет их. После достижения требуемой степени их податливости, определяемой по показаниям датчиков влажности 6, сигнал от датчиков через АЦП 18 поступает в СУ 13, обрабатывается в компьютере 14 и формируется сигнал на отключение УУВ 10, который подается в него соответственно через ЦАП 15 и усилитель мощности 20. В зависимости от требуемой скорости увлажнения в УУВ 10 могут быть применены различные известные способы и системы увлажнения воздуха. Так, например, в статье «Технологии увлажнения и осушения воздуха» (URL: http://www.ecvest.ru/docrazdel.php?category_id=1968) приведено описание эксплуатируемых в настоящее время эффективных систем увлажнения воздуха работающих на принципе адиабатического и изотермического увлажнения воздуха. При адиабатическим увлажнении влажность воздуха повышается путем механической инжекции или разбрызгивания мелких частиц холодной воды в некотором объеме воздушной среды. В этом принципе при увлажнении воздуха температура и состояние воды не изменяется. Согласно приведенной классификации к основными технологиям увлажнения воздуха, построенным на адиабатическом принципе, относятся поверхностные, дисковые и форсуночные увлажнители. При изотермическом увлажнении влажность воздуха повышается посредством парообразования, возникающего в результате кипения воды. Очевидно, что в случае применения разветвленного трубопровода 8 и необходимости быстрого увлажнения воздуха целесообразно применение форсуночных увлажнителей, расположенных в дренажных отверстиях 7.

[18]

При этом эти системы могут быть как автономными при индивидуальной эксплуатации АЭК ТС, так и централизованными при их групповой эксплуатации. Затем пользователь принимает в АЭК ТС требуемое или удобное ему положение, формируя поверхность контакта с АЭК ТС в соответствии индивидуальными антропометрическими данными своего тела и включается УОВ 11. При этом с помощью соответствующих клапанов (на фиг. условно не показаны) BP 9 открывают каналы УОВ 11 и перекрывают каналы УОВ 11. После включения УОВ 11 производится осушение воздуха в разветвленном трубопроводе 8 и через дренажные глухие отверстия 7, 3 - в плитах сиденья 1 и спинки 2 из пенополивинилформаля. Давление воздуха в разветвленном трубопроводе 8 и температура в плитах сиденья 1 и спинки 2 контролируется датчиками давления и температуры 12 и 5 соответственно. После осушения воздуха до установленной степени влажности, контролируемой датчиками влажности 6, отформованные в соответствии с индивидуальными антропометрическими данными тела пользователя плиты сиденья 1 и спинки 2 становятся жесткими и УОВ 11 выключается. В качестве УОВ 11 могут быть применены адсорбционные осушители, в которых удаление влаги из воздуха осуществляется адсорбентом. В абсорбционном осушителе адсорбент нанесен на рифленую поверхность вращающегося рабочего колеса, через поверхность которого отфильтрованный осушаемый воздух вытягивается одним из двух вентиляторов, расположенным с тыльной стороны рабочего колеса, затем осушенный воздух фильтруется, подогревается и вновь вытягивается через рифленую поверхность с адсорбентом вращающегося рабочего колеса. Процесс осушения происходит по замкнутому циклу до тех пор, пока не будет достигнута требуемая степень влажности воздуха. Схема такого осушителя приведена в статье «Технологии увлажнения и осушения воздуха» (URL: http://www.ecvest.ru/docrazdel.php?category_id=1968). В случае применения разветвленного замкнутого трубопровода 8 для организации циркуляции осушаемого воздуха достаточно применения одного вентилятора. Достоинством такого устройства осушения является то, что при определенной температуре адсорбент на рифленом колесе поглощает влагу, а при других условиях происходит обратный процесс. Таким образом, применение подобных адсорбционных осушителей воздуха позволяет объединить УУВ 10 и УОВ 11 в одно устройство.

[19]

Для повышения степени комфортности АЭК ТС по разветвленному трубопроводу может быть организована циркуляция подогретого или охлажденного воздуха до получения комфортной температуры на сиденье 1 и спинке 2 АЭК ТС, контролируемой датчиками температуры 5.

[20]

Известно, что упругие свойства пенополивинилформаля зависят от степени его увлажнения. Это качество может быть использовано при необходимости обеспечения энергопоглощения при ударных нагрузках или виброизоляции тела пользователя АЭК ТС. Таким образом, пенополивинилформаль может использоваться как элемент системы активной виброизоляции, способной обеспечить защиту от ударных и вибрационных нагрузок в широком диапазоне частот колебаний. Так, например, в случае возникновения нештатной ситуации, например ожидаемой жесткой посадки летательного аппарата, сиденье 1 и спинка 2 АЭК ТС увлажняются до достижения степени упругости пенополивинилформаля величины, наиболее эффективной для энергопоглощении при ожидаемых ударных нагрузках. В случае турбулентности и возникновении вибрационных нагрузок, а также при езде на автомобиле по бездорожью путем увлажнения сиденья 1 и спинки 2 может быть обеспечена эффективная виброизоляция тела пользователя в широком диапазоне частот вибрационных нагрузок. В этих случаях для управления АЭК ТС дополнительно используются трехосные блоки акселерометров 4.

[21]

Приведенное в описании свойство управляемой податливости и упругих свойств пенополивинилформаля в зависимости от степени его увлажнения может быть использовано при создании адаптируемых к опорной поверхности активных виброизолирующих опор, например, для станков или прецизионного оборудования. В этом случае целесообразно опору выполнять двухслойной: нижние слои опор после увлажнения и сушки адаптируются к неровностям опорной поверхности и выставляется на одинаковом уровне относительно горизонта; верхние слои опор увлажняются до требуемой степени упругости, в зависимости от частоты вибрационных воздействий и их упругие свойства могут управляемо изменяться в процессе эксплуатации защищаемого объекта. Аналогично и АЭК ТС также может быть выполнено с двухслойными сиденьем и спинкой, в которых наружный слой адаптируемый, а внутренний - энергопоглощающий и виброизолирующий.

Как компенсировать расходы
на инновационную разработку
Похожие патенты