патент
№ RU 2657074
МПК E02D27/38

СПОСОБ ГЕРМЕТИЗАЦИИ ПРОСТРАНСТВА ПОД ДНИЩЕМ РЕЗЕРВУАРА И УСТРОЙСТВО ДЛЯ ЕГО ОСУЩЕСТВЛЕНИЯ

Авторы:
Батулин Дмитрий Александрович Кононенко Евгения Хабибулловна Войтех Николай Дмитриевич
Все (4)
Номер заявки
2017130763
Дата подачи заявки
30.08.2017
Опубликовано
08.06.2018
Страна
RU
Как управлять
интеллектуальной собственностью
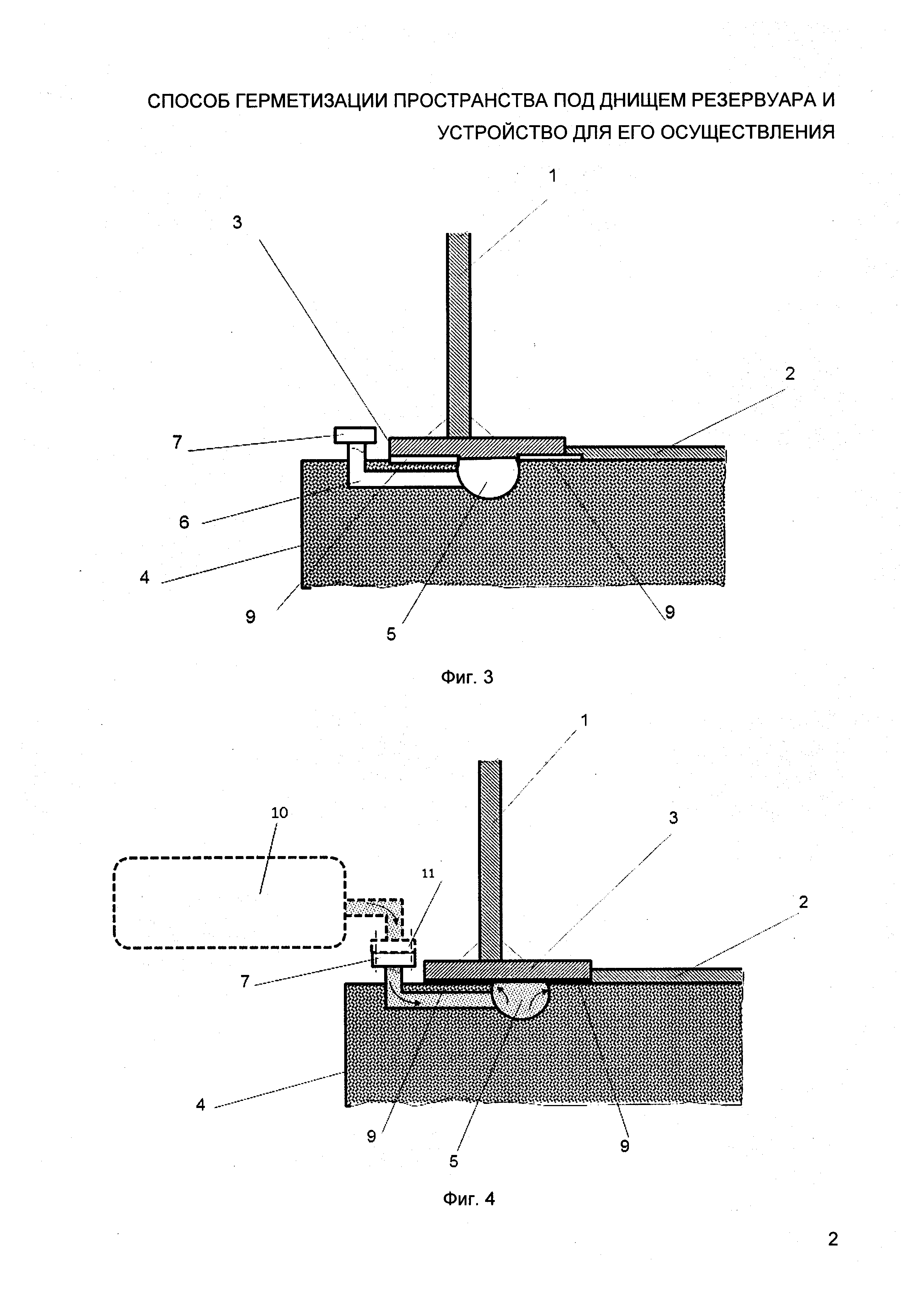
Чертежи 
3
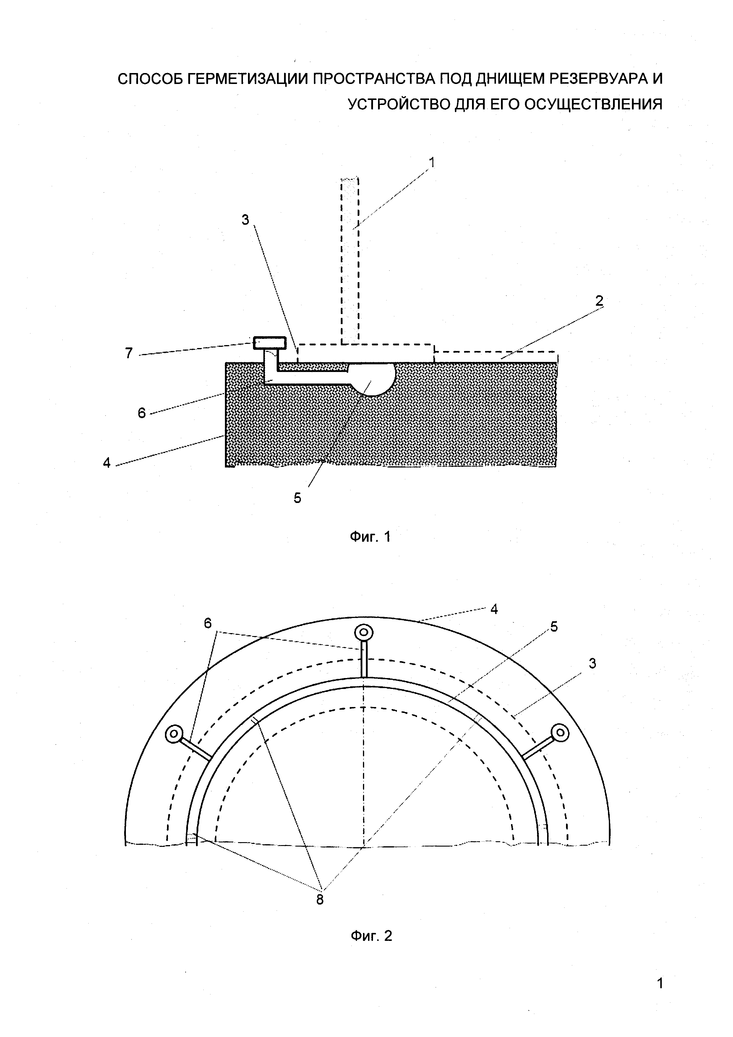
Реферат

Изобретение относится к способам и устройствам для герметизации пространства между внешней (опорной) поверхностью днища резервуара и фундаментом и может применяться в строительстве при монтаже вертикальных стальных резервуаров любого типа. Предложен способ герметизации пространства под днищем резервуара, установленного на фундаменте, путем размещения герметизирующего состава. На верхней поверхности фундамента под днищем резервуара создают зоны, в которые вводят под давлением жидкий герметизирующий состав с обеспечением проникновения жидкого герметизирующего состава в зазоры, образовавшиеся при строительстве резервуара, выдерживают зоны под давлением до полного застывания герметизирующего состава, после чего отключают зоны от источника подачи жидкого герметизирующего состава и зоны заглушают. Технический результат состоит в повышении надежности герметизации пространства между внешней поверхностью днища резервуара и фундаментом и, следовательно, противокоррозионной защиты внешней поверхности днища резервуара. 2 н. и 2 з.п. ф-лы, 1 пр., 5 ил.

Формула изобретения

1. Способ герметизации пространства под днищем резервуара, установленного на фундаменте, путем размещения герметизирующего состава, отличающийся тем, что на верхней поверхности фундамента под днищем резервуара создают зоны, в которые вводят под давлением жидкий герметизирующий состав с обеспечением проникновения жидкого герметизирующего состава в зазоры, образовавшиеся при строительстве резервуара, выдерживают зоны под давлением до полного застывания герметизирующего состава, после чего отключают зоны от источника подачи жидкого герметизирующего состава и зоны заглушают.

2. Способ герметизации по п. 1, отличающийся тем, что в качестве жидкого герметизирующего состава используется расплав термопластичного или термореактивного материала, например битумного или полимерного материала.

3. Устройство для осуществления способа по п. 1, включающее резервуар, установленный на фундаменте, отличающееся тем, что под поверхностью днища резервуара в верхней части фундамента выполнен желобообразный канал, направленный открытой частью в сторону днища резервуара, кроме того, в теле фундамента выполнен закрытый канал, который одним концом соединен с желобообразным каналом, а другим концом размещен снаружи за периметром резервуара и снабжен соединительным элементом для подачи жидкого герметизирующего состава.

4. Устройство по п. 3, отличающееся тем, что желобообразный канал снабжен перегородками, секционирующими желобообразный канал, при этом каждая секция желобообразного канала, образованная перегородками, соединена с закрытым каналом.

Описание

[1]

Изобретение относится к способам и устройствам для герметизации пространства между внешней (опорной) поверхностью днища резервуара и фундаментом и может применяться в строительстве при монтаже вертикальных стальных резервуаров любого типа.

[2]

Известен способ гидроизоляции днища резервуара от грунтовой влаги и устройство для его осуществления (ГОСТ 31385-2008, СТО-СА-03-002-2009), согласно которому при монтаже вертикальных цилиндрических стальных резервуаров для защиты от коррозии внешней поверхности днища резервуара на основаниях, включая фундаменты, устраивается гидрофобный слой из битумно-песчаной смеси, а на окрайках днища резервуара устраивается слой асфальта. На полученной гидроизоляционной подушке раскладывается рулонная или полистовая заготовка днища. В ряде случаев в составе основания резервуара устраивают мембранную (пленочную) гидроизоляцию.

[3]

Недостатком известного технического решения является то, что при раскладке и сварке днища и таврового шва узла соединения днища со стенкой происходит механическая и температурная деформации монтируемых элементов и термическое разрушение части битумно-песчаного и асфальтового слоев на участках, контактирующих с горячим металлом в зонах термического влияния сварных швов. В результате на различных участках периметра резервуара между внешней поверхностью днища и подстилающими слоями образуются неконтролируемые зазоры. Кроме того, в результате термического разрушения асфальтового и песчано-битумного слоев образуются пористые каналы, заполненные коксообразным веществом. Образовавшиеся зазоры и пористые каналы служат путями, по которым под днище резервуара попадает атмосферная влага, находящаяся в воздухе в виде пара или капельном виде. Наиболее активно это происходит при движении резервуара во время операций налива или слива. Влага задерживается в зазорах и пористых каналах, вызывает коррозию внешней поверхности днища резервуара.

[4]

При обследовании резервуаров РВС-20000 для хранения сырой нефти, смонтированных на гидроизолирующих основаниях, после 10 лет эксплуатации на внешней поверхности днища резервуара была обнаружена кольцевая зона общей и язвенной коррозии на расстоянии в пределах 0,5 м от внешнего края днища. Глубина общей коррозии составляла до 0,2 мм, а глубина отдельных язв - до 3,5 мм. Обнаружены также локальные зоны коррозионного разрушения шириною до 0,10 м и протяженностью до 1,5 м, приуроченные к сварным швам, идущим от края к центру днища резервуара.

[5]

Таким образом, создание гидроизолирующего слоя под вертикальным стальным резервуаром известным способом не гарантирует полную защиту внешней поверхности днища резервуара от коррозии.

[6]

Наиболее близкими по технической сущности и достигаемому результату являются способ и устройство для герметизации, описанные в статье «Reduce underside corrosion in aboveground storage tanks» (авторы F.Habiby, R.R.Imtiaz and A.H.AL-Mutairi, журнал «Hydrocarbon processing», January, 2003, p.59-62), заключающиеся в том, что для предупреждения попадания влаги под днище резервуара выполняют по внешней кромке днища герметизацию путем заполнения герметизирующим составом разделительного канала, выполненного в фундаменте.

[7]

Недостатком известного технического решения является расположение герметизирующего состава узкой полосой вдоль периметра резервуара. В связи с тем, что при заполнении или опорожнении резервуара его корпус изменяет геометрические размеры, зазоры, которые образовались между днищем резервуара и его основанием при монтаже, уменьшаются или увеличиваются в объеме, выталкивая или втягивая атмосферный воздух, тем самым подвергая герметизирующий состав периодической нагрузке за счет перепада давления воздуха со стороны атмосферы или со стороны пространства под днищем, при этом герметизирующий состав теряет прочность и разрушается, пространство под днищем разгерметизируется, влага попадает под днище резервуара и инициирует его коррозионное разрушение. Это приводит к коррозионному поражению поверхности днища резервуара и снижает эксплуатационную надежность резервуара.

[8]

Технической задачей настоящего изобретения является повышение противокоррозионной защиты внешней поверхности днища резервуара.

[9]

Технический результат заключается в повышении надежности герметизации пространства между внешней поверхностью днища резервуара и фундаментом и, следовательно, противокоррозионной защиты внешней поверхности днища резервуара.

[10]

Указанный технический результат достигается тем, что в способе герметизации пространства под днищем цилиндрических стальных резервуаров путем размещения герметизирующего состава согласно изобретению на верхней поверхности фундамента под днищем резервуара создают зоны, в которые вводят под давлением жидкий герметизирующий состав с обеспечением проникновения жидкого герметизирующего состава в зазоры, образовавшиеся при строительстве резервуара, выдерживают зоны под давлением до полного застывания герметизирующего состава, после чего отключают зоны от источника подачи жидкого герметизирующего состава и зоны заглушают.

[11]

Кроме того, в качестве жидкого герметизирующего состава используется расплав термопластичного или термореактивного материала, например битумного или полимерного материала.

[12]

Также указанный технический результат достигается тем, что в устройстве для герметизации, включающем резервуар, установленный на фундаменте, согласно изобретению под поверхностью днища резервуара в верхней части фундамента выполнен желобообразный канал, направленный открытой частью в сторону днища резервуара, кроме того, в теле фундамента выполнен закрытый канал, который одним концом соединен с желобообразным каналом, а другим концом размещен снаружи за периметром резервуара и снабжен соединительным элементом для подачи жидкого герметизирующего состава.

[13]

Кроме того, желобообразный канал может быть снабжен перегородками, секционирующими желобообразный канал, при этом каждая секция желобообразного канала, образованная перегородками, соединена с закрытым каналом.

[14]

Заявляемая совокупность признаков предлагаемого способа герметизации и устройства для его осуществления позволяет полностью заполнить герметизирующим составом зазоры как по периметру резервуара, так и под значительной площадью днища резервуара, а также заполнить герметизирующим составом имеющиеся в фундаменте пористые каналы, заполненные закоксовавшимся продуктом, осуществив, тем самым, надежную герметизацию пространства не только по периметру резервуара, а также и по площади днища резервуара, а также предупредить коррозионное поражение внешней поверхности днища резервуара.

[15]

Снабжение желобообразного канала перегородками позволяет при больших габаритах резервуара секционировать желобообразный канал и за счет соединения каждой секции желобообразного канала с закрытым каналом осуществить герметизацию всего пространства между днищем резервуара и фундаментом. Это позволяет перекрыть доступ атмосферной влаги под днище резервуара и, тем самым, защитить от коррозии внешнюю поверхность днища резервуара.

[16]

Предлагаемое изобретение поясняется фиг. 1 - 5, на которых показано:

[17]

на фиг. 1 - поперечное сечение желобообразного канала и закрытого канала с соединительным элементом относительно проектного расположения элементов резервуара (указаны пунктирными линиями);

[18]

на фиг. 2 - вид в плане на расположение желобообразного канала и закрытого канала относительно проектного расположения окрайки днища резервуара;

[19]

на фиг. 3 - поперечное сечение желобообразного канала и закрытого канала относительно смонтированных элементов резервуара, а также зазоры, образовавшиеся при строительстве резервуара;

[20]

на фиг. 4 - расположение генератора (источника подачи жидкого герметизирующего состава) при осуществлении операции герметизации зазоров между внешней поверхностью днища резервуара и фундаментом;

[21]

на фиг. 5 - стендовая установка, на которой проводился эксперимент.

[22]

Устройство для герметизации включает резервуар (на фиг. 1 - 4 представлен в виде стенки 1, днища 2, окрайки 3 днища), установленный на фундаменте 4.

[23]

В верхней части фундамента 4 выполнен желобообразный канал 5, направленный открытой частью в сторону днища 2 резервуара.

[24]

Желобообразный канал 5 (в зависимости от габаритов резервуара) может быть расположен параллельно окружности резервуара (см. фиг. 2) или в другом (например, радиальном) направлении относительно окружности резервуара (не показано).

[25]

В теле фундамента 4 выполнен закрытый канал 6, соединенный одним концом с желобообразным каналом 5, а другим концом размещенный снаружи за периметром резервуара и снабженный соединительным элементом 7 для подачи жидкого герметизирующего состава.

[26]

Закрытый канал 6 может быть выполнен, например, в виде трубки (см. фиг. 2).

[27]

Соединительный элемент 7 может быть выполнен в виде фланца (см. фиг. 1 - 4) или в виде резьбы под накидные гайки (см. фиг. 5).

[28]

Желобообразный канал 5 может быть снабжен перегородками 8, секционирующими желобообразный канал 5 (см. фиг. 2). Каждая секция желобообразного канала 5, образованная перегородками 8, соединена с закрытым каналом 6. Количество секций желобообразного канала 5 и закрытых каналов 6 зависит от габаритов резервуара и свойств расплава используемого герметизирующего материала.

[29]

Зазоры 9, образовавшиеся при строительстве резервуара и которые необходимо загерметизировать, показаны на фиг. 3. Загерметизированные зазоры 9 показаны на фиг. 4.

[30]

Устройство также снабжено генератором 10 жидкого герметизирующего состава, снабженным фланцем 11 и соединенным с соединительным элементом 7. Генератор 10 представляет собой герметизированную емкость, соединенную через запорный клапан и газовый редуктор с баллоном, заполненным воздухом или другим газом высокого давления. Снаружи емкость снабжена электрической спиралью и заключена в теплоизолирующий кожух (не показаны).

[31]

Устройство работает следующим образом.

[32]

Жидкий герметизирующий состав в виде расплава герметизирующего материала из генератора 10 поступает под давлением через закрытый канал 6 в желобообразный канал 5 (на фиг. 4 направление движения расплава показано стрелками). После заполнения желобообразного канала 5 расплав герметизирующего материала начинает задавливаться в зазоры 9, образовавшиеся под днищем резервуара. Вначале расплав герметизирующего материала заполняет более раскрытые зазоры 9, в которых быстро остывает, перекрывая путь еще расплавленному герметизирующему материалу, поэтому следующие порции расплава из желобообразного канала 5 задавливаются в менее раскрытые зазоры 9, вследствие чего повышается давление подачи расплава герметизирующего материала из генератора 10. Последовательно заполняются все более и более мелкие зазоры 9, а также заполняются и сообщающиеся с желобообразным каналом 5 пористые каналы, имеющиеся в фундаменте и заполненные закоксовавшимся продуктом (не показаны).

[33]

После достижения необходимой степени заполнения зазоров 9 подачу жидкого герметизирующего состава прекращают, выдерживают систему под давлением до полного застывания герметизирующего состава в зазорах 9, после чего отсоединяют генератор 10 от соединительного элемента 7 и заглушают закрытый канал 6.

[34]

Операцию с задавливанием расплава герметизирующего материала повторяют на всех секциях желобообразного канала 5 до полной герметизации всего пространства под днищем 2 резервуара.

[35]

Способ осуществляется следующим образом.

[36]

До монтажа резервуара в фундаменте 4 организуют зоны для подачи жидкого герметизирующего состава. Для этого на верхней поверхности фундамента 4, например под окрайкой 3 проектируемого днища 2 резервуара, выполняют желобообразный канал 5, а в теле фундамента 4 выполняют закрытый канал 6, который соединяют с желобообразным каналом 5 и оборудуют соединительным элементом 7.

[37]

После монтажа резервуара присоединяют фланец 11 генератора 10 жидкого герметизирующего состава к соединительному элементу 7 закрытого канала 6 и направляют под давлением жидкий герметизирующий состав в виде расплава герметизирующего материала в желобообразный канал 5. В качестве жидкого герметизирующего состава используют расплав термопластичного или термореактивного материала, например битумного или полимерного материала. После заполнения желобообразного канала 5 расплав герметизирующего материала начинает задавливаться в зазоры 9, образовавшиеся под днищем при строительстве резервуара, а также в пористые каналы, имеющиеся в фундаменте 4 и заполненные закоксовавшимся продуктом, например битумом. Вначале герметизирующий состав заполняет более раскрытые зазоры 9, быстро в них остывает и набирает вязкость, перекрывая путь еще горячему герметизирующему материалу, поэтому следующие порции расплава поступают в менее раскрытые зазоры 9. Таким образом, последовательно заполняются все более и более мелкие зазоры 9 и пористые каналы, сообщающиеся с организованными зонами.

[38]

Подачу жидкого герметизирующего состава прекращают при появлении на участках периметра днища резервуара (из щелей под днищем) потеков герметизирующего материала. Далее выдерживают систему под давлением до полного застывания герметизирующего материала, после чего отключают зоны от источника подачи жидкого герметизирующего состава и зоны заглушают.

[39]

Операцию с задавливанием расплавленного герметизирующего материала повторяют со всеми организованными зонами до полной герметизации пространства между днищем резервуара и фундаментом. При этом перекрывается доступ атмосферной влаги под днище резервуара, в результате чего внешняя поверхность днища защищается от коррозии.

[40]

Пример

[41]

Опыт проводился на стендовой установке, которая представляла собой часть (сегмент) днища и вертикальной стенки резервуара РВС-400 диаметром 8,53 м (см. фиг. 5).

[42]

Было сооружено бетонное основание 12, представляющее часть фундамента под РВС-400 в виде сегмента. На бетонном основании 12 уложен сегментный фрагмент днища с внешним краем 13, представляющим собой элемент внешней окружности днища, и прямым краем 14, представляющим линию отреза сегментного фрагмента. На днище смонтирован фрагмент вертикальной стенки 15.

[43]

В бетонном основании 12 до укладки днища был проделан желобообразный канал в виде штробы 16 высотой и шириной по 30 мм. Внешний край штробы 16 располагался на диаметре 8 м. Торцы штробы 16 были перекрыты перегородками шириной 0,1 м. Длина периметра сектора штробы 16 составила 6,5 м, объем ~ 6 дм3. Также в бетонном основании 12 был выполнен закрытый канал в виде радиальной трубки 17 диаметром 1/2'' по ГОСТ 3262-75, встроенной в центр штробы 16 и залитой заподлицо в бетонном основании 12. На наружном конце радиальной трубки 17 выполнена резьба, а торец обработан для присоединения накидной гайки.

[44]

Зазоры между отрезным краем 14 днища и бетонным основанием 12 надежно загерметизированы силиконовым герметиком, а между поверхностью бетонного основания 12 и внешним краем 13 днища резервуара имелись несколько зазоров раскрытием до 1 мм.

[45]

В центре днища был вварен штуцер 18, соединенный с пространством под днищем резервуара.

[46]

Проведение опыта

[47]

К наружному концу радиальной трубки 17 присоединили с помощью накидной гайки фланец 11 генератора 10 жидкого герметизирующего состава. В качестве герметизирующего материала использовали битум марки БНД 200/300 по ГОСТ 22245-90. Битум загрузили в генератор 10 и расплавили, установив температуру 150-160°С. Приготовлено 10 л расплава битума.

[48]

Подачу расплава герметизирующего материала начали при настройке воздушного редуктора на давление 16 кг/см2, начальное противодавление со стороны продавливаемого состава смеси составило 4 кг/см2 и поднялось через 3 -4 минуты до 10 кг/см2, а еще через 3 минуты - до 16 кг/см2, при этом на участках периметра днища резервуара из щелей под днищем показались потеки битума, что показало заполнение щелей расплавом. В таком состоянии систему выдержали 20 минут, после чего отсоединили генератор 10 от радиальной трубки 17 и радиальную трубку 17 заглушили.

[49]

Контроль результатов герметизации провели путем сравнения результатов вакуумирования пространства под днищем сегмента РВС-400 до задавливания в зазоры расплавленного битума и после герметизации пространства между днищем и бетонным основанием 12. Для этого через штуцер 18, вваренный в днище сегмента, к пространству между днищем и бетонным основанием подключили вакуумный насос типа 2XZ-1.5A с производительностью 1,5 м3/ч. При откачке воздуха из-под днища резервуара давление в откачиваемом пространстве до герметизации не опускалось ниже атмосферного. После герметизации при откачке воздуха образовался вакуум при давлении ~ 0,7 × 105 Па.

[50]

Таким образом, была подтверждена эффективность герметизации пространства между внешней поверхностью днища резервуара и фундаментом.

Как компенсировать расходы
на инновационную разработку
Похожие патенты