патент
№ RU 2651785
МПК F41H7/00
Номер заявки
2017114598
Дата подачи заявки
26.04.2017
Опубликовано
23.04.2018
Страна
RU
Как управлять
интеллектуальной собственностью
Чертежи 
3
Реферат

Изобретение относится к бронированным медицинским транспортерам, предназначенным для санитарно-эвакуационных работ при боевых действиях. Транспортер содержит ходовую часть с гусеничным движителем, подвеской и амортизаторами и имеет отделение управления, моторно-трансмиссионное и медицинское отделения. Медицинское отделение имеет два яруса размещения раненых на носилках или на откидных сиденьях. Предусмотрена система механической «погрузки - выгрузки» раненых. Медицинское отделение дополнительно оснащено третьим ярусом размещения раненых на носилках, а подъем и перемещения на этот ярус, как на первый и второй ярусы, осуществляется при помощи складного трапа. Третий ярус размещения раненых расположен на крыше медицинского отделения и выполнен защищенным от пуль и осколков поднимаемыми крышками люков и бронированным задним и боковыми экранами, укрывающими в обычном положении топливные баки. Достигается увеличение количества перевозимых раненых. 6 з.п. ф-лы, 7 ил.

Формула изобретения

1. Бронированный медицинский транспортер, содержащий ходовую часть с гусеничным движителем, независимой торсионной подвеской и амортизаторами, а также расположенные в едином корпусе отделения управления, моторно-трансмиссионное и медицинское с бронированными крышками верхних люков, при этом медицинское отделение внутри выполнено с проходом и двумя ярусами размещения раненых как на носилках, так и на откидных сиденьях - в соответствии с выбранным вариантом, причем на первом нижнем ярусе носилки размещены слева и справа от прохода вдоль бортов на складных рамах, а на втором ярусе - с установкой вдоль бортов и подвеской на ремнях со стороны прохода, медицинское отделение имеет в своем составе систему механической погрузки-выгрузки раненых, включающую устройство для подъема и перемещения носилок на соответствующий ярус, а также лебедку с приводом на крыше медицинского отделения для подтаскивания раненых с помощью волокуши, отличающийся тем, что медицинское отделение дополнительно оснащено третьим ярусом размещения раненых на носилках, а устройство для подъема и перемещения носилок выполнено в виде складного трапа, причем третий ярус размещения раненых на носилках расположен на крыше медицинского отделения и выполнен защищенным от пуль и осколков, причем внутри медицинское отделение дополнительно снабжено парой носилок, при необходимости размещаемых в проходе с подвеской на ремнях на первом и втором ярусах, а носилки на втором ярусе вдоль бортов размещены на складных рамах с возможностью крепления последних вдоль бортов и подвески на ремнях со стороны прохода и их складывания вдоль бортов, при этом подвеска как складных рам на всех ярусах, так и носилок в проходе выполнена с использованием амортизирующих устройств, а лебедка с приводом установлена на внутренней поверхности крышки одного из верхних люков медицинского отделения.

2. Транспортер по п. 1, отличающийся тем, что защита размещенных на третьем ярусе раненых от пуль и осколков выполнена с помощью поднимаемых боковых и заднего бронещитов, укрывающих в обычном положении топливные баки, а также открытых бронированных крышек верхних люков медицинского отделения.

3. Транспортер по п. 1, отличающийся тем, что третий ярус размещения раненых на крыше медицинского отделения дополнительно снабжен тентом, закрывающим раненых от осадков.

4. Транспортер по п. 1, отличающийся тем, что он дополнительно снабжен системой защиты личного состава от воздействия ударной волны и радиационной пыли.

5. Транспортер по п. 1, отличающийся тем, что он дополнительно снабжен системой жизнеобеспечения личного состава в виде фильтровентиляционной и отопительно-вентиляционной установок.

6. Транспортер по п. 1, отличающийся тем, что медицинское отделение выполнено с тепло-шумоизоляцией.

7. Транспортер по п. 1, отличающийся тем, что он дополнительно снабжен наружной системой дымовой маскировки.

Описание

[1]

Изобретение относится к бронированным машинам, предназначенным для санитарно-эвакуационных работ при боевых действиях.

[2]

Известна многоцелевая бронированная медицинская машина колесного типа, имеющая отделение управления, отделение силовой установки и медицинское отделение, предназначенное для размещения раненых на носилках и сиденьях и оборудованное системой механизации погрузки-выгрузки раненых (Военно-медицинский журнал, 1996, №11, внутренняя левая сторона разворота обложки).

[3]

Однако эта медицинская машина предназначена для использования в составе воинских частей, на оснащении которых состоит только колесная техника, и не обладает достаточной вместимостью раненых и эффективностью оказания медицинской помощи.

[4]

Близким по конструкции к предложенному является бронированный медицинский транспортер, включающий в себя ходовую часть с гусеничным движителем, а также отделения управления, моторно-трансмиссионное и медицинское с медицинским и санитарно-хозяйственным имуществом (патент РФ N 2086894, Мкл. F41H 7/02, опубл. 1997).

[5]

Недостатки этого бронированного медицинского транспортера связаны с отсутствием системы маскировки, невозможностью преодоления водных преград, нерациональной планировкой медицинского отделения и малоэффективной его механизацией.

[6]

Наиболее близким к предложенному является принятый в качестве прототипа бронированный медицинский транспортер, имеющий ходовую часть с гусеничным движителем, отделения управления, моторно-трансмиссионное и медицинское с медицинским и санитарно-хозяйственным имуществом. Транспортер оборудован также системой маскировки и оборудованием для преодоления водных преград (патент РФ N 2130578, Мкл. F16H 7/00, опубл. 1998).

[7]

Недостатки этого бронированного медицинского транспортера связаны с невозможностью максимальной загрузки лежачих раненых внутрь медицинского отделения и на грузовую площадку на его крыше, а также с уязвимостью медицинского экипажа при осуществлении процесса загрузки.

[8]

Техническая задача изобретения заключается в обеспечении максимального количества перевозимых раненых в условиях защиты от пуль и осколков при уменьшении времени их погрузки и обеспечении безопасности личного состава.

[9]

Поставленная техническая задача решается тем, что в бронированном медицинском транспортере, содержащем ходовую часть с гусеничным движителем, независимой торсионной подвеской и амортизаторами, а также расположенные в едином корпусе отделения управления, моторно-трансмиссионное и медицинское с бронированными крышками верхних люков, при этом медицинское отделение внутри выполнено с проходом и двумя ярусами размещения раненых как на носилках, так и на откидных сиденьях - в соответствии с выбранным вариантом, причем на первом нижнем ярусе носилки размещены слева и справа от прохода вдоль бортов на складных рамах, а на втором ярусе - с установкой вдоль бортов и подвеской на ремнях со стороны прохода, и имеет в своем составе систему механической погрузки-выгрузки, раненых включающую устройство для подъема и перемещения носилок на соответствующий ярус, выполненное в виде специального складного трапа, медицинское отделение дополнительно оснащено третьим, ярусом размещения раненых на носилках, причем третий ярус размещения раненых на носилках расположен на крыше медицинского отделения и выполнен защищенным от пуль и осколков, при этом внутри медицинское отделение дополнительно снабжено парой носилок, при необходимости размещаемых с подвеской на ремнях в проходе медицинского отделения на нижнем и верхнем ярусах, а носилки на втором ярусе вдоль бортов размещены на складных рамах с возможностью крепления последних вдоль бортов и подвески на ремнях со стороны прохода и их складывания вдоль бортов, при этом подвеска как складных рам на всех ярусах, так и носилок в проходе выполнена с использованием амортизирующих устройств, а лебедка с приводом установлена на внутренней поверхности крышки одного из люков.

[10]

На решение поставленной технической задачи направлено также то, что защита размещенных на третьем ярусе раненых от пуль и осколков выполнена с помощью поднимаемых боковых и заднего бронещитов, укрывающих в обычном положении топливные баки, а также открытых бронированных крышек верхних люков медицинского отделения.

[11]

На решение поставленной технической задачи направлено также и то, что третий ярус размещения раненых на крыше медицинского отделения дополнительно снабжен тентом, закрывающим раненых от осадков.

[12]

На решение технической задачи направлено также то, что транспортер дополнительно снабжен системой защиты личного состава от воздействия ударной волны и радиационной пыли.

[13]

Поставленная техническая задача решается также за счет того, что транспортер дополнительно снабжен системой жизнеобеспечения личного состава в виде фильтровентиляционной и отопительно-вентиляционной установок.

[14]

На решение поставленной технической задачи направлено и то, что медицинское отделение выполнено с теплошумоизоляцией.

[15]

Также решение технической задачи достигается благодаря тому, что транспортер дополнительно снабжен наружной системой дымовой маскировки.

[16]

Поставленная техническая задача, а именно обеспечение максимального количества перевозимых раненых в условиях защиты от пуль и осколков при уменьшении времени их погрузки, решается благодаря организации третьего яруса размещения раненых, расположенного на крыше медицинского отделения. При этом появляется возможность разместить на крыше дополнительно еще двух лежачих раненых, обеспечив их защиту от пуль и осколков с помощью боковых бронированных щитов, предусмотренных для укрытия выносных топливных баков, заднего броневого щита и крышек верхних люков. За счет установки на крышке одного из люков медицинского отделения лебедки и ее привода, а также наличия специального складного трапа в составе системы механизации «погрузки-выгрузки» обеспечивается загрузка максимального количества раненых на все три яруса при минимальных затратах времени.

[17]

Медицинское отделение выполнено с возможностью разновариантного одновременного размещения большего числа раненых: двенадцати раненых на откидных сиденьях, четыре из которых являются двухместными и установлены в проходе моторного отсека, или шести раненых на носилках и четырех - на откидных сиденьях, или двух раненых на носилках и восьмерых на откидных сиденьях.

[18]

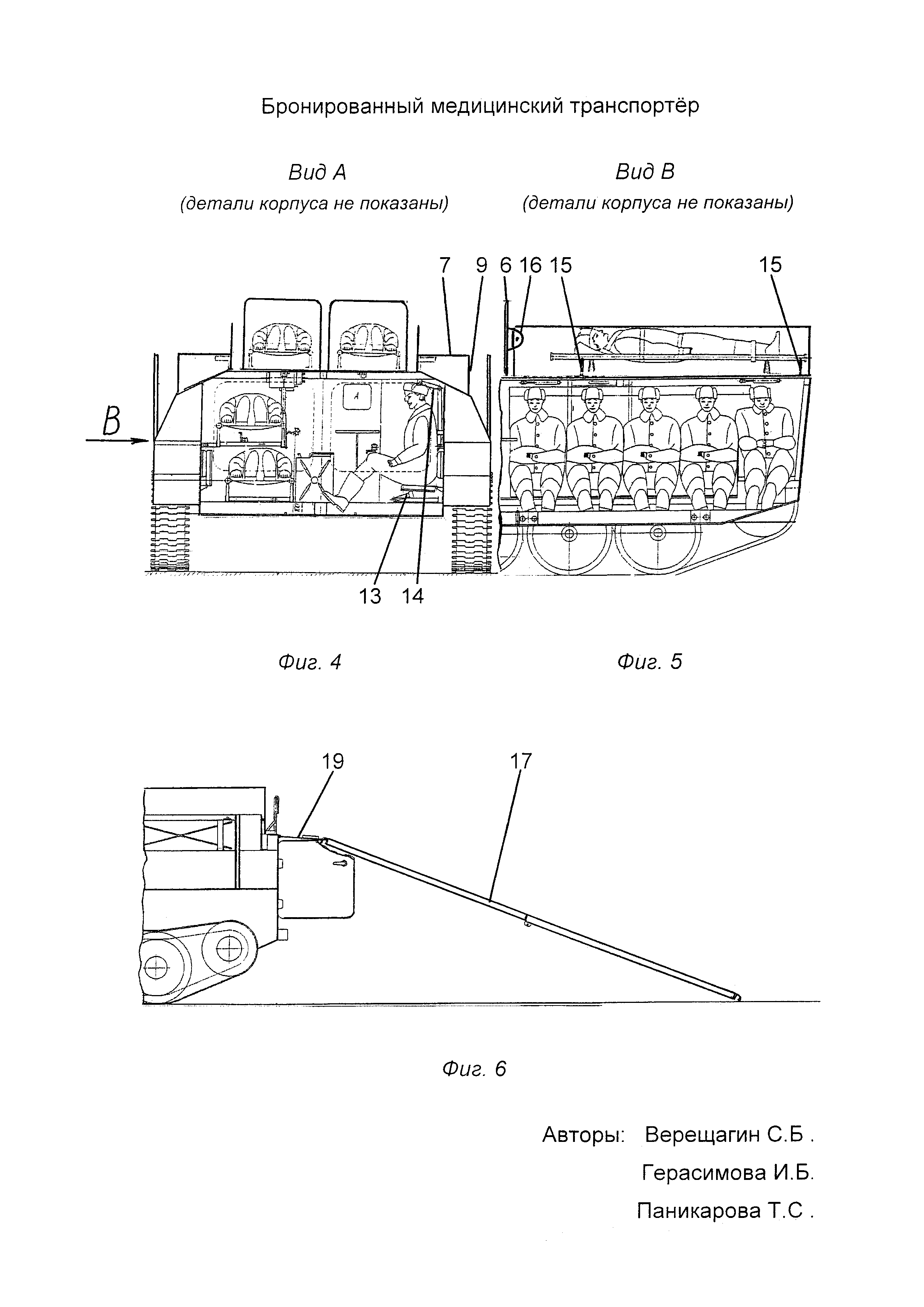
Сущность изобретения поясняется чертежами, где на фиг. 1 представлен вид сбоку предложенного бронированного медицинского транспортера переднего края; на фиг. 2 показан вид А на фиг. 1, поясняющий, размещение лежачих раненых внутри медицинского отделения машины и на его крыше; на фиг. 3 показан вид Б на фиг. 2; на фиг. 4 показан вид А на фиг. 1, поясняющий вариант размещения лежачих и сидячих раненых внутри медицинского отделения машины и на его крыше; на фиг. 5 представлен вид В на фиг. 4; на фиг. 6 показан складной трап для загрузки раненых внутрь медицинского отделения и на крышу с грунта в исходной позиции; на фиг. 7 показан складной трап в позиции сложения пополам для загрузки санитарами носилок с раненым внутрь медицинского отделения.

[19]

Бронированный медицинский транспортер (см. фиг. 1, 2) содержит ходовую часть с гусеничным движителем 1, независимой торсионной подвеской и амортизаторами (на чертеже не показаны), а также расположенные в едином, сваренном из стальных листов корпусе (на чертеже не обозначен) отделение 2 управления, моторно-трансмиссионное отделение с моторным и трансмиссионным отсеками 3 и 4 соответственно, а также медицинское отделение 5 с бронированными крышками 6 верхних люков. Кроме этого в состав транспортера входят топливные баки 7, вынесенные на крышу 8 медицинского отделения 5 и защищенные боковыми бронещитами 9.

[20]

Медицинское отделение 5 расположено в кормовой части корпуса непосредственно за моторным отсеком 3 и ограничено правым и левым бортами 10 и 11 транспортера, соответственно.

[21]

Медицинское отделение 5 внутри выполнено с проходом и двумя ярусами - первым нижним и вторым верхним (на чертеже не обозначены), размещения раненых на носилках 12 (см. фиг. 3). Причем на первом ярусе носилки 12 размещены по сторонам прохода вдоль левого и правого бортов 10 и 11 на складных рамах 13. На втором ярусе носилки 12 установлены вдоль бортов с размещением на складных рамах 14 с подвеской последних на шарнирах со стороны бортов 10, 11 и подвеской на ремнях (на чертеже не обозначены) со стороны прохода. В качестве варианта складные рамы 13 и 14 первого и второго ярусов установлены с возможностью их складывания в отсутствие необходимости вдоль бортов 10 и 11 и размещения раненых на сиденьях (на чертеже не обозначены), при этом сложенные рамы первого яруса 13 служат опорой для откидных сидений (см. фиг. 4, 5).

[22]

Медицинское отделение 5 дополнительно оснащено третьим ярусом размещения раненых (на чертеже не обозначен) на носилках 12, расположенным на крыше 8. Последние могут загружаться на крышу 8 и закрепляться там (см. фиг. 3). Причем третий ярус выполнен защищенным от пуль и осколков. Также внутри медицинское отделение 5 дополнительно снабжено парой носилок 12, которые при необходимости могут быть размещены в проходе медицинского отделения 5 с подвеской на ремнях (см. фиг. 2) на первом и втором ярусах. При этом подвеска как складных рам с носилками 12 на первом и втором ярусах, так и дополнительных носилок 12 в проходе выполнена с использованием амортизирующих устройств (на чертеже не показаны), а носилки 12 на третьем ярусе закреплены также с помощью пружинных амортизирующих устройств 15.

[23]

Для облегчения загрузки раненых внутрь медицинского отделения 5 транспортер имеет в своем составе систему механической погрузки-выгрузки раненых, включающую лебедку 16 с приводом (на чертеже не показан), установленную на крыше 8 и снабженную волокушей (на чертеже не показана) для подтаскивания раненых, и устройство для подъема носилок 12 на соответствующий ярус и их перемещения в виде складного трапа 17 (см. фиг. 6 и 7). При этом лебедка 16 с приводом установлена на внутренней поверхности крышки 6 одного из верхних люков медицинского отделения 5.

[24]

Защита размещенных на третьем ярусе медицинского отделения 5 раненых от пуль и осколков может быть выполнена с помощью поднимаемых боковых бронещитов 18, закрывающих в обычном положении топливные баки 7 сверху, заднего бронещита 19, а также открытых бронированных крышек 6 верхних люков.

[25]

В транспортере предусмотрена также защита раненых от осадков, для чего третий ярус размещения раненых на крыше 8 медицинского отделения 5 дополнительно снабжен тентом (на чертеже не показан), закрывающим раненых от непогоды.

[26]

Кроме того, транспортер снабжен системой защиты личного состава от воздействия ударной волны и радиоактивной пыли (на чертеже не показана).

[27]

Безопасность личного состава обеспечивается также тем, что транспортер дополнительно снабжен системой жизнеобеспечения личного состава в виде фильтровентиляционной и отопительно-вентиляционной установок (на чертеже не показаны), размещаемых внутри медицинского отделения 5.

[28]

При этом медицинское отделение 5 выполнено с теплошумоизоляцией.

[29]

Для маскировки транспортера в боевых условиях предусмотрено дополнительное снабжение транспортера системой дымовой маскировки в виде наружных дымовых гранатометов 20, размещенных по бортам 9 и 10 транспортера.

[30]

Для размещения неиспользуемых сложенных носилок 12 на правом и левом бортах 10 и 11 снаружи установлены по два кронштейна 21.

[31]

Работа бронированного медицинского транспортера осуществляется следующим образом.

[32]

Медицинский транспортер по прибытии на позиции готовится к приему раненых, при этом устанавливается в рабочее положение необходимое оборудование. При необходимости может быть задействована система дымовой маскировки в виде наружных дымовых гранатометов 19, выстреливающих дымовые гранаты.

[33]

Поднос раненых к открытым дверям медицинского отделения 5 в кормовой части транспортера может производиться на носилках 12, или раненые могут подтаскиваться с использованием специальной складной волокуши и лебедки 16 с приводом. Причем при помощи лебедки 16, установленной на внутренней поверхности одной из крышек 6 верхнего люка, в данном случае застопоренного в открытом положении, может осуществляться подтаскивание раненых на волокуше с любых направлений. Последующий подъем и перемещение раненых внутрь медицинского отделения 5 при их загрузке также может осуществляться при помощи лебедки 16 с использованием направляющих роликов (на чертеже не показаны) по складному трапу 17 на складные рамы 13 и 14 как вдоль бортов 10 и 11, так и в проходе, нижние рамы при этом имеют возможность предварительно выдвигаться к дверному проему медицинского отделения 5. Для облегчения загрузки раненых внутрь медицинского отделения - на первый и второй ярусы, и на третий ярус - на крышу 8, также используется складной трап 17, позволяющий вести загрузку раненых на носилках как с грунта (см. фиг. 6), так и путем использования складного трала 17 в сложенном под углом варианте с загрузкой носилок санитарами (см. фиг. 7).

[34]

После заполнения нижнего и верхнего ярусов медицинского отделения 5 переходят к заполнению третьего яруса, размещая раненых на третьем ярусе на носилках 12 на крыше 8, обеспечивая их защиту от пуль и осколков и используя открытые бронированные крышки 6 верхних люков и поднимаемые боковые и задний щиты 18 и 19 соответственно.

[35]

Медицинское отделение 5 выполнено с возможностью разновариантного одновременного размещения большего количества раненых по сравнению с прототипом: двенадцати раненых на откидных сиденьях, четыре из которых являются двухместными и могут быть установлены в проходе моторного отсека, или шести раненых на носилках и четырех - на откидных сиденьях, или двух раненых на носилках и восьмерых на откидных сиденьях с возможностью размещения еще двух раненых на носилках на третьем ярусе медицинского отделения на крыше. При этом имеющаяся на транспортере механизация, а именно лебедка 16 с приводом и волокуша, а также складной трап 17, позволяют ускорить процесс погрузки раненых на борт.

[36]

Носилки с ранеными могут загружаться на третий ярус на крышу 8 медицинского отделения 5 и закрепляться на амортизирующих устройствах 15 (см. фиг. 3).

[37]

Также над третьим ярусом размещения раненых на крыше 8 медицинского отделения 5 может натягиваться брезентовый тент, закрывающий раненых от осадков.

[38]

При необходимости в целях обеспечения безопасности личного состава в медицинском транспортере могут быть задействованы система защиты от воздействия ударной волны и радиационной пыли, которая предусматривает герметизацию как отделения 2 управления, так и медицинского отделения 5, а также наличие системы жизнеобеспечения в виде фильтровентиляционной установки с фильтром-поглотителем для очистки воздуха и создания необходимого избыточного давления. Имеющаяся на борту транспортера отопительно-вентиляционная установка позволяет осуществлять постоянную вентиляцию, нагрев воздуха внутри отделений 2 и 5 с находящимися там людьми, поддерживая в них заданные параметры температурного режима. Кроме этого более комфортное пребывание в медицинском отделении 5 обеспечивается наличием теплошумоизоляции.

[39]

Таким образом, изобретение позволяет обеспечить максимальное количество перевозимых раненых в условиях их защиты от пуль и осколков при уменьшении времени их погрузки и обеспечении безопасности личного состава.

Как компенсировать расходы
на инновационную разработку
Похожие патенты