патент
№ RU 2229147
МПК G02B6/36

МУФТА ДЛЯ ОПТИЧЕСКИХ КАБЕЛЕЙ СВЯЗИ (ВАРИАНТЫ)

Авторы:
Зарянкин С.А. Ющенко Н.И. Комаров О.М.
Все (5)
Номер заявки
2003112964/28
Дата подачи заявки
06.05.2003
Опубликовано
20.05.2004
Страна
RU
Как управлять
интеллектуальной собственностью
Чертежи 
5
Реферат

[41]

Изобретение относится к соединительным и разветвительным муфтам, предназначенным для сращивания оптических кабелей связи, прокладываемых в кабельной канализации, коллекторах, тоннелях, помещениях ввода кабелей в АТС и локальных сетях. Муфта содержит лоток, на котором закреплены кассеты для укладки длин резервного запаса оптических волокон и защищенных гильзами сростков оптических волокон, два или один пластмассовых оголовника, каждый из которых выполнен с тремя патрубками, трубу, в которой размещены цилиндрические части оголовников и лоток, и термоусаживаемые трубки для герметизации мест сопряжения оголовников с трубой и патрубков с оптическими кабелями. Один вариант муфты содержит два кронштейна П-образной формы, закрепленных на определенном расстоянии от соответственно первого и второго концов лотка, при этом на противоположных торцах кронштейна выполнено по три выступа Т-образной формы для крепления концов оптических кабелей. Оголовники прикреплены к концам лотка, а патрубки выполнены герметично заглушенными с возможностью вскрытия путем обрезки торца. Тупиковая муфта содержит один кронштейн, прикрепленный к лотку. Обеспечено повышение надежности и технологичности муфты, расширение ее функциональных возможностей. 2 с. и 9 з.п. ф-лы, 6 ил.

[42]

Формула изобретения

1. Муфта для оптического кабеля, содержащая лоток, на котором закреплены кассеты для укладки длин резервного запаса модулей оптических волокон и защищенных гильзами сростков оптических волокон, два пластмассовых оголовника, каждый из которых выполнен с тремя патрубками, трубу, в которой размещены цилиндрические части оголовников и лоток, и термоусаживаемые трубки для герметизации мест сопряжения оголовников с трубой и патрубков с оптическими кабелями, отличающаяся тем, что содержит два кронштейна П-образной формы, закрепленных на определенном расстоянии соответственно от первого и второго концов лотка, при этом на противоположных торцах кронштейна выполнено по три выступа для крепления концов оптических кабелей, оголовники прикреплены к концам лотка, а патрубки выполнены герметично заглушенными с возможностью вскрытия путем обрезки торца, каждый конец оптического кабеля закреплен на двух выступах кронштейна.

2. Муфта по п.1, отличающаяся тем, что оптические кабели прикреплены к выступам кронштейнов металлическими хомутиками.

3. Муфта по п.1, отличающаяся тем, что содержит технологические запасы модулей оптических волокон, которые закреплены на металлическом лотке в пространствах между кассетами и кронштейнами.

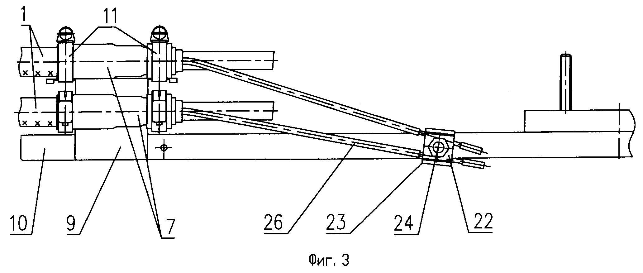
4. Муфта по п.1, отличающаяся тем, что модули оптических волокон фиксированы на кассетах при помощи нейлоновых стяжек.

5. Муфта по любому из пп.1-4, отличающаяся тем, что каждый выступ кронштейнов имеет Т-образную форму и выполнен в виде двух взаимно перпендикулярных пластин, причем одна из которых перпендикулярна торцу кронштейна и предназначена для установки металлического хомутика.

6. Муфта по любому из пп.1-5, отличающаяся тем, что оптический кабель содержит центральный силовой элемент, конец которого закреплен между П-образно изогнутой скобой и планкой, прикрепленными к лотку.

7. Муфта для оптического кабеля, содержащая расположенный в трубе лоток, на котором закреплены кассеты для укладки длин технологического запаса модулей оптических волокон и защищенных гильзами сростков оптических волокон, пластмассовый оголовник, выполненный по меньшей мере с тремя патрубками, заглушку, при этом в трубе установлены с одной стороны оголовник, а с другой стороны - заглушка, и термоусаживаемые трубки для герметизации мест сопряжения оголовника и трубы, заглушки и трубы и патрубков с оптическими кабелями, отличающаяся тем, что содержит кронштейн П-образной формы, закрепленный на определенном расстоянии от первого торца лотка, при этом на противоположных торцах кронштейна выполнено по три выступа для крепления концов оптических кабелей, оголовник прикреплен к первому торцу лотка, а патрубки выполнены герметично заглушенными с возможностью вскрытия путем обрезки торца, каждый конец оптического кабеля закреплен на двух выступах кронштейна .

8. Муфта по п.7, отличающаяся тем, что оптические кабели прикреплены к выступам кронштейнов металлическими хомутиками.

9. Муфта по п.7, отличающаяся тем, что модули оптических волокон фиксированы на кассетах при помощи нейлоновых стяжек.

10. Муфта по любому из пп.7-9, отличающаяся тем, что каждый выступ кронштейнов имеет Т-образную форму и выполнен в виде двух взаимно перпендикулярных пластин, причем одна из которых перпендикулярна торцу кронштейна и предназначена для установки металлического хомутика.

11. Муфта по любому из пп.7-10, отличающаяся тем, что оптический кабель содержит центральный силовой элемент, конец которого закреплен между П-образно изогнутой скобой и планкой, прикрепленными к лотку.

Описание

[1]

Изобретение относится к соединительным и разветвительным муфтам, предназначенным для прямого и разветвительного сращивания строительных длин оптических кабелей связи, прокладываемых в кабельной канализации, коллекторах, тоннелях, помещениях ввода кабелей в АТС и локальных сетях.

[2]

Известны муфты оптические городские типа МОГ (МОГ, МОГу, МОГт) [1], применяющиеся для сращивания оптических кабелей местных сетей связи, которые имеют большую номенклатуру, например МОГ1;1; МОГ1;2; МОГ1;3; МОГ2;2; МОГ2;3; МОГ3;3.

[3]

Муфта МОГ содержит металлический лоток для установки кассеты оптических волокон и крепления витков технологического запаса оптических модулей, кассету для укладки длин резервного запаса оптических волокон (ОВ) и сростков ОВ, защищенных гильзами, два открытых конуса в случае прямой муфты и оголовник в случае разветвительной муфты, пластмассовую трубу, надеваемую на конуса или оголовник, кольцо центрирующее для крепления входящих в муфту оптических кабелей (OK), a также набор термоусаживаемых трубок (ТУТ) для герметизации конусов с ОК и конусов с надвинутой трубой. Данный вариант муфт имеет длину 1130 мм.

[4]

Вариант муфты МОГу имеет длину 820 мм, т.к. не содержит на лотке витков технологического запаса модулей ОВ.

[5]

Тупиковая муфта МОГт этой же серии имеет длину 686 мм, не содержит витков модулей технологического запаса, вместо одного из конусов содержит заглушку, а вместо второго конуса - оголовник на два или три открытых патрубка, герметизация патрубков оголовника с выходящими из них ОК, также как герметизация между оголовником, заглушкой и трубой, выполняется при помощи термоусаживаемых трубок.

[6]

Недостатком известных МОГ является то, что они выполнены с открытыми патрубками конусов и оголовников, поэтому имеют большую номенклатуру, при этом для изготовления различных типов конусов и оголовников требуется большое количество пресс-форм, что дорого при изготовлении и неудобно при комплектации, при монтаже каждый тип муфты должен быть использован строго по его назначению, т.к. имеет строго определенный набор деталей.

[7]

Кроме того, известные муфты имеют низкую механическую прочность, т.к. фиксация ОК в центрирующем кольце и крепление последнего к металлическому лотку не достаточно надежны, поскольку закрепленные концы ОК вызывают скручивающие моменты центрирующего кольца и лотка, что может повредить модули и оптические волокна разделанных концов ОК.

[8]

Техническим результатом изобретения является повышение надежности и технологичности муфты, расширение функциональных возможностей за счет обеспечения возможности использования данной муфты для различных вариантов назначения, а именно для соединения двух кабелей или разветвлений кабелей 1•2, 1•3, 2•2, 2•3, 3•3 и т.д. путем вскрытия соответствующего числа патрубков.

[9]

Указанный технический результат достигается тем, что муфта для оптического кабеля, содержащая лоток, на котором закреплены кассеты для укладки длин резервного запаса оптических волокон и защищенных гильзами сростков оптических волокон, два пластмассовых оголовника, каждый из которых выполнен с тремя патрубками, трубу, в которой размещены цилиндрические части оголовников и лоток, и термоусаживаемые трубки для герметизации мест сопряжения оголовников с трубой и патрубков с оптическими кабелями, отличается тем, что содержит два кронштейна П-образной формы, закрепленных на определенном расстоянии соответственно от первого и второго концов лотка, при этом на противоположных торцах кронштейна выполнено по три выступа для крепления концов оптических кабелей, оголовники прикреплены к концам лотка, а патрубки выполнены герметично заглушенными с возможностью вскрытия путем обрезки их торцов, каждый конец оптического кабеля закреплен на двух выступах кронштейна.

[10]

В частных случаях выполнения муфты:

[11]

- оптические кабели прикреплены к выступам кронштейнов металлическими хомутиками,

[12]

- технологические запасы модулей оптических волокон закреплены на металлическом лотке в пространствах между кассетами и кронштейнами,

[13]

- центральный силовой элемент каждого конца оптического кабеля закреплен между П-образно изогнутой скобой и планкой с отверстием под винт с гайкой к лотку,

[14]

- модули оптических волокон фиксированы на кассетах при помощи нейлоновых стяжек,

[15]

- каждый выступ кронштейнов выполнен в виде двух взаимно перпендикулярных вырезов пластин, имеющих Т-образную форму, один из которых перпендикулярен торцам кронштейна и предназначен для установки металлического хомутика.

[16]

По другому варианту устройства указанный технический результат достигается тем, что тупиковая муфта для оптического кабеля, содержащая расположенный в трубе лоток, на котором закреплены кассеты для укладки длин резервного запаса оптических волокон и защищенных гильзами сростков оптических волокон, пластмассовый оголовник, выполненный с тремя патрубками, заглушку, при этом в трубе установлены с одной стороны оголовник, а с другой стороны заглушка, и термоусаживаемые трубки для герметизации мест сопряжения оголовника и трубы, заглушки и трубы и патрубков с оптическими кабелями, содержит кронштейн П-образной формы, закрепленный на определенном расстоянии от первого торца лотка, при этом на противоположных торцах кронштейна выполнено по три выступа Т-образной формы для крепления концов оптических кабелей металлическими хомутиками, оголовник прикреплен к первому торцу лотка при помощи винтов-саморезов, а патрубки выполнены герметично заглушенными с возможностью вскрытия путем обрезки их торцев, каждый конец оптического кабеля закреплен на двух Т-образных выступах кронштейна.

[17]

В частных случаях выполнения тупиковой муфты

[18]

- оптические кабели прикреплены к выступам кронштейнов металлическими хомутиками,

[19]

- модули оптических волокон фиксированы на кассетах при помощи нейлоновых стяжек,

[20]

- каждый выступ кронштейна выполнен в виде двух взаимно перпендикулярных вырезов пластин, имеющих Т-образную форму, один из которых перпендикулярен торцам кронштейна и предназначен для установки металлического хомутика.

[21]

Длина одного варианта муфты составляет 1090 мм, что существенно короче ее прототипа - муфты типа МОГ.

[22]

Второй вариант муфты имеет длину 784 мм, т.к. выполнен с применением металлического лотка меньшей длины и без “бубликов” резервного заласа модулей ОВ.

[23]

Тупиковая муфта имеет длину 670 мм.

[24]

Изобретение поясняется фиг.1-6, на которых изображены:

[25]

фиг.1 - вариант муфты с витками технологического запаса модулей ОВ на лотке и заглушенными патрубками оголовников;

[26]

фиг.2 - крепление конца оптического кабеля на кронштейне с выступами;

[27]

фиг.3 - крепление на лотке центрального силового элемента ОК или проводов служебной связи (дистанционного питания);

[28]

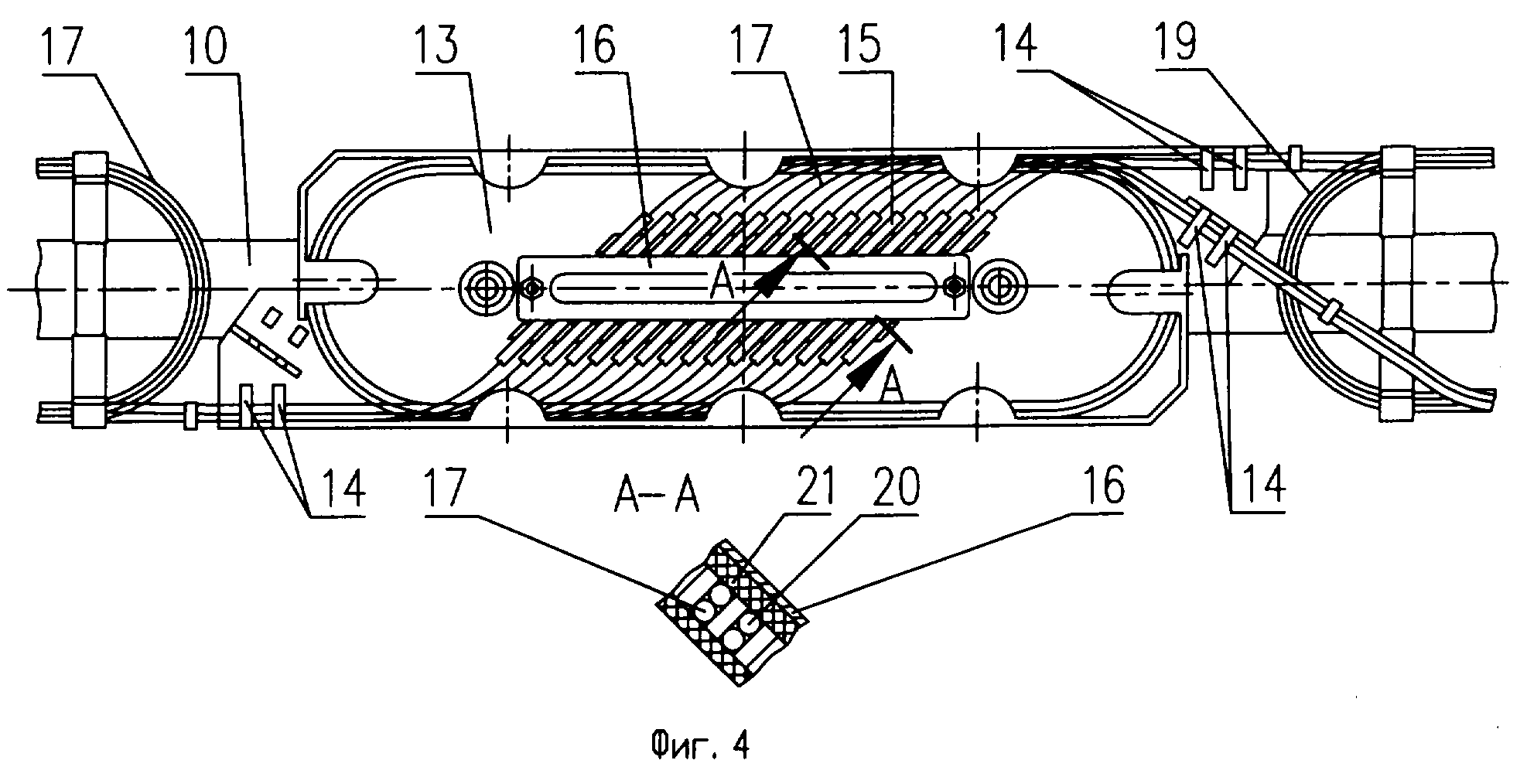
фиг.4 - расположение модулей ОВ, раскладка ОВ и установка гильз КДЗС на кассете;

[29]

фиг.5 - вариант укороченной муфты оптического кабеля с заглушенными патрубками без витков технологического запаса модулей на лотке;

[30]

фиг.6 - тупиковая муфта с одним оголовником с заглушенными патрубками, без витков технологического запаса модулей на укороченном лотке.

[31]

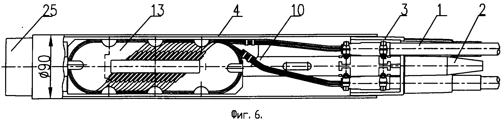
В зависимости от назначения муфты выполняют вскрытие (путем обрезки торца) определенного числа пластмассовых патрубков 2 оголовников 3, которые изготавливают литьем в пресс-формах. Остальные патрубки остаются герметизированными.

[32]

Через вскрытые патрубки 2 оптические кабели 1 вводятся в трубу 4, в которой расположен лоток 10. Места стыка оголовников 3 и трубы 4 герметизированы термоусаживающимися трубками (ТУТ) 5. ТУТ 6 герметизируют места стыка ОК 1 и патрубков 2. Отрезки введенных в трубу ОК 1 имеют продольную герметизацию между его промежуточной и наружной оболочками, выполненную при помощи усаженного отрезка ТУТ 7.

[33]

Для повышения надежности оголовники 3 крепятся непосредственно к лотку 10 с помощью винтов-саморезов 27.

[34]

Лоток 10 имеет предпочтительно П-образную форму поперечного сечения.

[35]

Введенные в муфту ОК 1 крепятся к приваренным к лотку 10 кронштейнам 8 П-образного профиля, а именно к двум, например, Т-образным выступам 9 кронштейна 8. Каждый кронштейн выполнен штамповкой из металлического листа с последующим изгибом в П-образную форму и при этом имеет шесть выступов. Крепление кабеля к выступам осуществляется с помощью двух металлических хомутиков червячного типа 11.

[36]

Оптические модули 12, освобожденные от наружной оболочки бронепокрова и внутренней оболочки ОК, заведены на кассету 13, зафиксированы к ней нейлоновыми стяжками 14, а в случае установки 2-х или 3-х кассет оптические модули перед заведением на кассету имеют “бублик” технологического запаса модулей 19. Концы соединяемого ОВ 17, места сварок ОВ, защищенные гильзами КДЗС 15, резиновые уплотнители 20, вставленные в пазы ложементов сверху гильз КДЗС 15, зафиксированы продольной металлической планкой 16 и крышкой кассеты 21. Резервный запас ОВ 17 уложен витками вдоль боковых граней кассеты 13 с фиксирующими приливами 18 и имеет минимальный диаметр изгиба у торцевых частей кассеты 13 (например, 75 мм). Механическое крепление центрального силового элемента 26 (ЦСЭ) ОК выполнено фиксацией между планкой 22 и скобой 23, прикрепленным с помощью болта 24 к металлическому лотку 10.

[37]

Укороченная муфта (фиг.5) имеет укороченный металлический лоток 10, два кронштейна 8, установленных на определенном расстоянии от соответственно первого и второго торцов лотка 10, кассету 13, зафиксированную на лотке, два оголовника 3 с заглушенными в состоянии поставки тремя патрубками 2 для ввода оптических кабелей. В данном варианте муфты нет “бубликов” технологического запаса модулей ОВ, поэтому длина муфты составляет 784 мм.

[38]

Тупиковая муфта (фиг.6) имеет укороченный металлический лоток 10, один П-образного профиля кронштейн 8 на одном конце лотка, кассету 13 зафиксированную на лотке, один оголовник 3 с заглушенными в состоянии поставки тремя патрубками 2 для ввода оптических кабелей. Модули 12 введенных ОК заводятся непосредственно, без выполнения “бублика” технологического запаса модулей, на вводные части кассеты 13, укороченную трубу 4, надвигаемую на один оголовник 3 и с другой стороны трубы на заглушку 25. Герметизация по цилиндрическим поверхностям трубы 4, оголовника 3 и заглушки 25, а также по цилиндрическим поверхностям вводных патрубков 2 и оболочкам ОК выполняется с применением отрезков ТУТ с подклеивающим слоем на их внутренней поверхности. Общая длина смонтированной тупиковой соединительной (разветвительной) муфты составляет 670 мм.

[39]

Источник информации

[40]

1. Технический справочник Кабели, провода, материалы для кабельной индустрии, Издание: Научно-консультационное предприятие кабельной промышленности “ЭЛЛИПС”, 1999 г. (стр. 110 и 111).

Как компенсировать расходы
на инновационную разработку
Похожие патенты