патент
№ RU 2585690
МПК F41H13/00

СПОСОБ АКТИВНОЙ ЗАЩИТЫ АКВАТОРИИ УДАРНО-ВОЛНОВЫМ ВОЗДЕЙСТВИЕМ НА ПОДВОДНЫЙ ОБЪЕКТ И УСТРОЙСТВО ДЛЯ ЕГО ОСУЩЕСТВЛЕНИЯ

Авторы:
Захаров Виктор Николаевич Назаров Евгений Николаевич Этов Вячеслав Сергеевич
Все (5)
Номер заявки
2014151175/11
Дата подачи заявки
17.12.2014
Опубликовано
10.06.2016
Страна
RU
Как управлять
интеллектуальной собственностью
Чертежи 
3
Реферат

Изобретение относится к устройствам активной защиты акватории ударно-волновым воздействием на подводный объект и к способам такой активной защиты. Устройство активной защиты акватории ударно-волновым воздействием на подводный объект включает блок питания, импульсный конденсатор, коммутатор, импульсный электродинамический излучатель с нагрузочными витками и излучающим внешней поверхностью диском, внутренняя поверхность которого оппозитна к поверхности укладки нагрузочных витков. Импульсный электродинамический излучатель имеет излучающие шайбы с дополнительными нагрузочными витками, причем каждая из шайб охватывает диск коаксиально. Способ активной защиты акватории ударно-волновым воздействием на подводный объект заключается в электродинамическом инициировании ударно-волнового импульса сжатия, излучаемого в виде импульсного луча в направлении подводного объекта. Для увеличения дистанции и эффективности воздействия луча на объект, луч фокусируют с образованием импульсного звукового канала. Достигается повышение эффективности ударно-волнового воздействия. 2 н. и 6 з.п. ф-лы, 4 ил.

Формула изобретения

1. Способ активной защиты акватории ударно-волновым воздействием на подводный объект, включающий электродинамическое инициирование ударно-волнового импульса сжатия, излучаемого в виде импульсного луча в направлении подводного объекта, отличающийся тем, что для увеличения дистанции и эффективности воздействия луча на объект луч фокусируют с образованием импульсного звукового канала.

2. Способ по п. 1, отличающийся тем, что импульсный звуковой канал создают за счет инициирования на периферийной части луча амплитуды импульсного давления, большей, чем в его центральной части.

3. Способ по п. 2, отличающийся тем, что инициируемые в центральной и периферийной частях луча амплитуды импульсных давлений смещены по времени в сторону опережения инициирования импульса центральной части по отношению ко времени инициирования импульса периферийной части.

4. Устройство активной защиты акватории ударно-волновым воздействием на подводный объект, включающее блок питания, импульсный конденсатор, коммутатор, импульсный электродинамический излучатель с нагрузочными витками и излучающим внешней поверхностью диском, внутренняя поверхность которого оппозитна к поверхности укладки нагрузочных витков, отличающееся тем, что импульсный электродинамический излучатель имеет, не менее чем одну, излучающую шайбу с дополнительными нагрузочными витками, причем каждая, из не менее чем одной, шайб охватывает диск коаксиально.

5. Устройство по п. 4, отличающееся тем, что внешние поверхности излучающего диска и, не менее чем одной, излучающей шайбы имеют сферическую форму с совмещенным в направлении излучения центром.

6. Устройство по п. 4, отличающееся тем, что внешняя поверхность излучающего диска плоская, а внешняя поверхность, не менее чем одной, излучающей шайбы имеет форму кругового конуса, раствор которого ориентирован в направлении излучения.

7. Устройство по п. 4, отличающееся тем, что излучающий диск установлен с возможностью установочного перемещения относительно, не менее чем одной, излучающей шайбы вдоль ее оси.

8. Устройство по п. 4, отличающееся тем, что суммарное соотношение излучающей площади, не менее чем одной, излучающей шайбы к излучающей площади диска находится в диапазоне от 0,05 до 1,0.

Описание

[1]

Изобретение относится к области способов и устройств обезвреживания подводных диверсантов и других подводных объектов и может быть использовано в системах защиты акватории и инфраструктуры промышленных и иных охраняемых объектов, расположенных во внутренних водоемах и на континентальном шельфе.

[2]

Известен способ активной защиты акватории ударно-волновым воздействием на подводный объект, включающий импульсное электрогидравлическое инициирование ударно-волнового импульса сжатия, излучаемого в виде импульсного луча в направлении подводного объекта [1].

[3]

В данном известном способе ударно-волновое возмущение инициируют посредством электроимпульсного разряда в воде, создающего электрогидравлический эффект от расширяющегося газоразрядного пузыря с достаточно высоким (≈100-150 МПа) уровнем амплитуд давления в разрядной области. Недостатком способа является то, что из-за сферического характера расходимости излучаемого импульсного луча, давления быстро спадают и на расстоянии в несколько (2-5 м) метров существенного негативного (а тем более, летального) воздействия луча на подводный объект не оказывают. Основной недостаток электрогидравлического принципа инициирования ударно-волнового луча состоит в невозможности его фокусировки (т.е. уменьшении расходимости луча) приемлемыми по габаритам средствами фокусировки (рефлектором или линзой), поскольку линейные размеры этих средств должны быть порядка нескольких (не менее 7-8 м для газоразрядного пузыря диаметром в 6-8 см) метров, что технически и экономически нецелесообразно.

[4]

Известно устройство активной защиты акватории ударно-волновым воздействием на подводный объект, включающее источник электрической энергии с зарядным блоком, накопитель энергии, коммутатор и разрядные электроды для формирования ударно-волнового возмущения посредством электроимпульсного разряда в герметичной оболочке, заполненной рабочей жидкостью [1].

[5]

Недостатком устройства является то, что, несмотря на возможность ориентирования (т.е. размещения разрядных электродов в трубе, торцевая часть которой закрыта герметичной оболочкой) излучаемого импульсного ударно-волнового луча в направлении объекта, расходимость луча составляет не менее 50-60°. Такая конструкция, даже при высоких изначально инициированных амплитудах, не позволит «обслуживать» дистанции более 5-8 м, на которых импульсное давление будет заведомо меньше 0,6 МПа. Недостатком является и наличие герметичной оболочки, способствующей потере давления за счет отражений на границе раздела «рабочая жидкость - оболочка - водная среда».

[6]

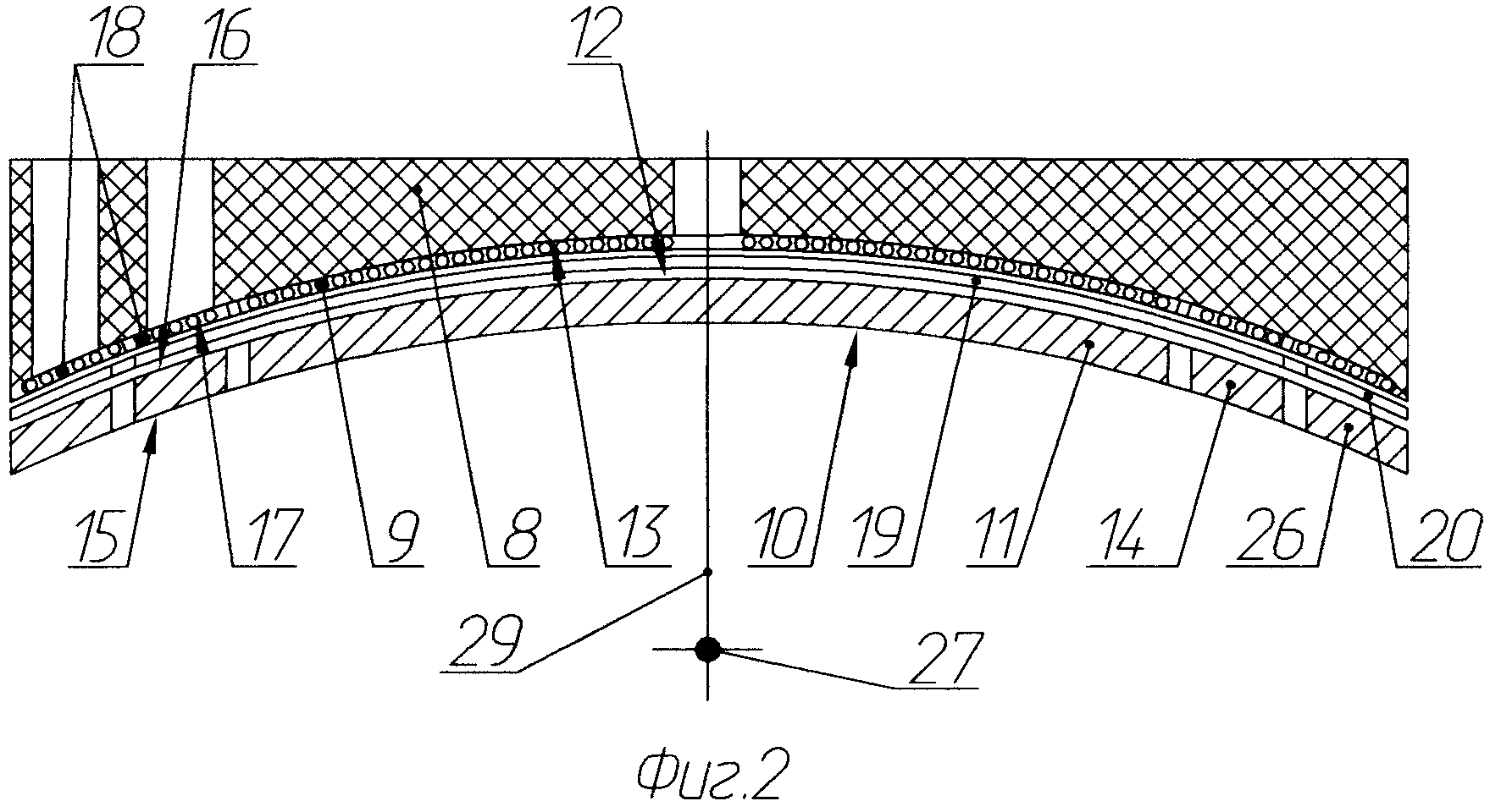
Наиболее близким к заявляемому техническому изобретению по технической сущности и достигаемому техническому результату является способ активной защиты акватории ударно-волновым воздействием на подводный объект, включающий импульсное электродинамическое инициирование ударно-волнового импульса сжатия, излучаемого в виде импульсного луча в направлении подводного объекта [2].

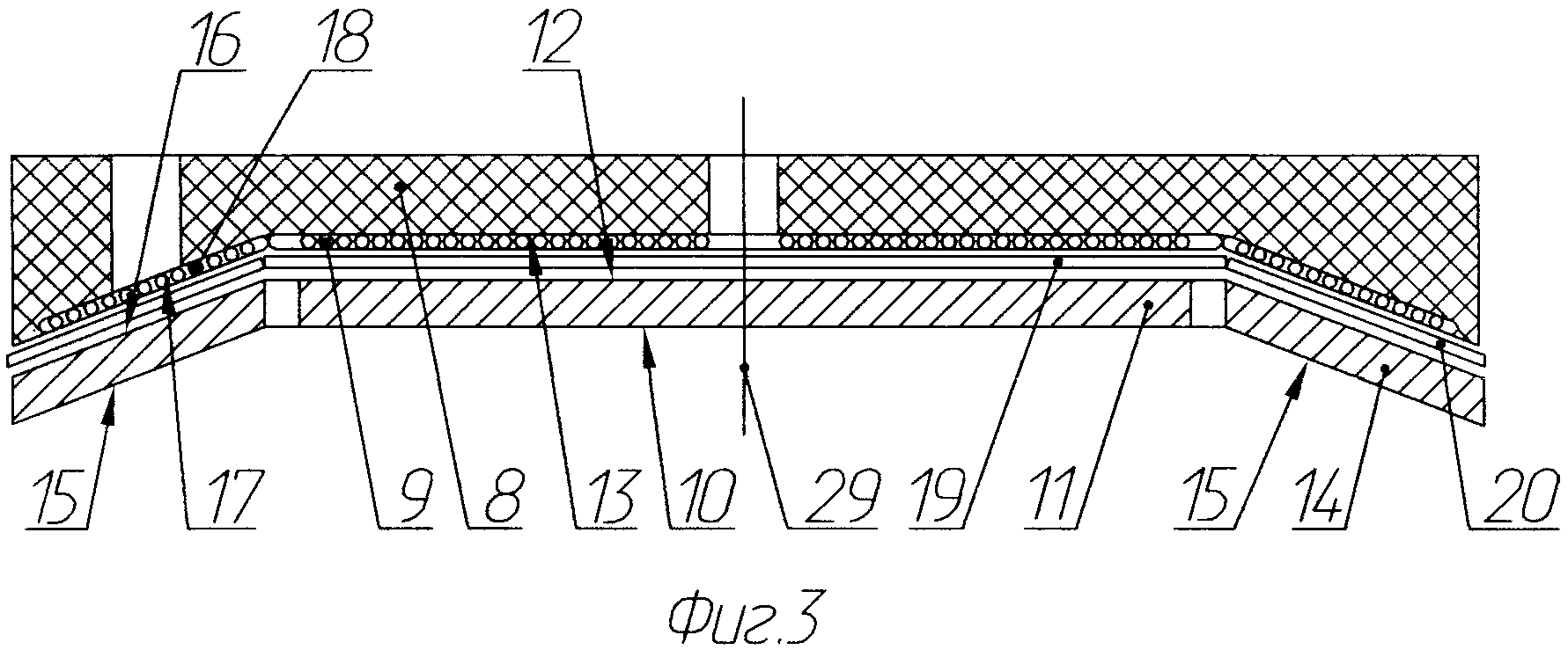
[7]

В данном известном способе ударно-волновое возмущение инициируют посредством электродинамического принципа инициирования, основанным на эффекте отталкивания противоположно текущих токов, в результате чего подвижная часть в виде диска сжимает соприкасающийся с ним слой водной среды, возбуждая в нем распространяющийся в направлении излучения ударно-волновой импульс (импульс сжатия), как правило, в виде плоской волны.

[8]

Недостатком способа является то, что расходимость излучаемого луча (хотя и меньшая, чем при электрогидравлическом инициировании) составляет около 40-60° и по мере распространения луча по дистанции давление достаточно быстро (единицы метров) спадает, становясь нелетальным (т.е. меньше 0,2-0,6 МПа) для биообъекта, что существенно снижает практическую значимость известного способа для охраны акватории от нежелательных (например, от подводных диверсантов) биообъектов. Сходимость луча в способе обеспечить невозможно по физическому принципу из-за существования фактора ориентации направления звука в сторону среды с меньшей скоростью звука, т.е., в данном случае, в сторону от оси излучения в объем невозмущенной среды, где давление (и соответственно скорость звука) меньше давления возмущенной среды.

[9]

Кроме того, расходящийся импульсный луч не обеспечивает избирательности воздействия, что существенно при необходимости подавления деятельности нежелательного биообъекта и исключения аналогичного негативного воздействия на другие биообъекты, находящиеся в зоне интереса.

[10]

Известно устройство активной защиты акватории ударно-волновым воздействием на подводный объект, включающее источник электрической энергии, высоковольтный накопитель с импульсными конденсаторами, коммутатор, импульсный электродинамический излучатель с нагрузочными витками и излучающим внешней поверхностью диском, внутренняя поверхность которого оппозитна к поверхности укладки нагрузочных витков [2].

[11]

Недостатком устройства является то, что излучающий диск (диск-мембрана) инициирует импульс сжатия в виде плоской волны вблизи зрачка (т.е. на расстоянии ≈5-10 см со стороны внешней, контактирующей с водной средой, поверхностью), создавая расходящийся в направлении излучения луч с максимальными амплитудами по оси диска. Дальность дистанции воздействия устройства, в основном, зависит от двух факторов - от длины излучаемой волны и от величины расходимости луча, при этом второй фактор является превалирующим. Вследствие этого, дальность действия устройства невелика, при расходимости ≈40° уже на расстоянии ≈1,5 м воздействие на биообъект носит нелетальный характер, несмотря на то, что по приведенным в [2] характеристикам устройства, импульсное возмущение с расчетной длиной волны в ≈15-20 см может распространяться без сколь-либо значимого частотного поглощения достаточно далеко - сотни метров.

[12]

В целом, при таких малых для практического применения дистанциях воздействия на подводный объект, затруднительно говорить о сколь-либо значимой эффективности защиты охраняемой акватории применительно к известным способам гидроакустического ударно-волнового воздействия на подводные объекты и устройствам, реализующим эти способы.

[13]

Именно на решение задачи повышения дальности и эффективности ударно-волнового воздействия при одновременном обеспечении избирательности воздействия направлено настоящее изобретение.

[14]

Этот технический результат по предлагаемому способу достигается тем, что луч фокусируют с образованием импульсного звукового канала (т.е. канала, в котором наблюдается дальнее распространение звука за счет рефракции в ограниченной «стенками» канала области водной среды).

[15]

При этом импульсный звуковой канал создают за счет инициирования на периферийной части луча амплитуды импульсного давления, большей, чем в его центральной части.

[16]

Кроме того, инициируемые в периферийной и центральной частях луча амплитуды импульсных давлений смещены относительно друг друга по времени в сторону опережения инициирования импульса центральной части по отношению ко времени инициирования импульса периферийной части.

[17]

Благодаря тому, что, во-первых, луч в направлении зоны интереса фокусируют, то на дистанциях от места инициирования до фокального пятна луч - сходящийся, а, во-вторых, создают импульсный звуковой канал, приводящий к уменьшению вероятности расхождения луча как на дистанции до фокального пятна, так и на зафокальной дистанции. В целом, за счет снижения величины расходимости это приводит к увеличению дистанции (в 1,3-5,6 раза, соответственно, для длин волн 0,8-3,0 см) существования амплитуд давления на уровне в 6 дБ от инициируемой.

[18]

Поскольку импульсный звуковой канал создают за счет инициирования на периферийной части луча амплитуды импульсного давления, большей, чем в его центральной части, то реализуется условия для устойчивой рефракции волны от «стенок» (т.е. областей повышенного давления) в направлении к центральной (осевой) области, тем самым способствуя поддержанию уровня высоких амплитуд внутри импульсного звукового канала, а именно в зафокальной области, т.к. на дистанциях после фокального пятна классическая фокусировка уже не играет роли в снижении величины.

[19]

Выбор дистанций для обслуживания зоны интереса для той или иной длины волны осуществляется, во-первых, по частотным характеристикам распространения волны, а, во-вторых, по возможностям осуществления максимальной по дальности классической фокусировки сферически сходящейся волны, которая существенно зависит от диаметра излучателя. Оценку по частотной дальности (дистанция Д6) производят исходя из уровня затухания в 6 дБ (или в два раза меньшей) от изначально инициируемой амплитуды затухания. Принцип выбора желаемых для обслуживания дистанций по частотному признаку достаточно прост - нет смысла фокусировать волну какой-либо длины на ту дистанцию, на которую она не «добежит» с необходимым уровнем амплитуды давления.

[20]

В морской воде для длины волны λ=1,0 см частотный коэффициент затухания α≈0,06 дБ/м, что соответствует дистанции Д6≈100 м (без учета изменения амплитуды от расходимости или сходимости луча).

[21]

Оценку по классической фокусировке производят на основании оценки дистанции (r), на которой коэффициент Кр усиления по изначально инициируемой амплитуде будет Кр≤1, т.е. усиления по амплитуде нет и луч преобразовывается из сходящегося в расходящийся. Для излучения частью сферы Кр=πD2/4 λF, где D - диаметр излучателя, F - фокальное расстояние при λ=1,0 см, D=1,0 м, усиления амплитуды не будет (Кр=1) на дистанции r≈78 м. Эта дистанция меньше дистанции Д6 по частотной оценке. При наличии звукового канала вследствие уменьшения расходимости величина Кр≤1 будет при r≈98 м, т.е. в 100 м диапазоне дистанций Д6 можно доставлять на границу этой зоны интереса амплитуды давлений в пятне с размерами S (S≈0,6 м при D=1,0 м) сечения луча, эквивалентные изначально инициируемым для волн с λ≈1,0 см.

[22]

Для λ=3,0 см аналогичный частотный коэффициент затухания α≈0,015 дБ/м, что соответствует дистанции Д6≈400 м. Однако возможности фокусировки луча с такой длиной волны существенно ограничены дистанцией r, при которой Кр≤1, что соответствует (при сравнимом диаметре излучения) ≈26 м и практически в 15 раз меньше возможности такой волны по дальности распространения по признаку частотного затухания. Однако, если при классической фокусировке для волн диапазона 0,6-1,0 см сохраняется возможность их фокусировки (как подобие оптической) в пределах значительных величин дистанции Д6, то для более длинных волн такая фокусировка на существенную величину Д6 невозможна при практически приемлемых (т.е. D≤1,0 м) диаметрах инициаторов излучения импульсного луча. Однако, при наличии звукового канала, за счет уменьшения расходимости в зафокальной области (т.е. «шнурования» импульсного луча), расчетные амплитуды давления даже при относительно малых (~0,5 м) величинах D будут превышать уровень в 6 дБ на расстоянии ≈150 м.

[23]

Вместе с тем, для учета вариации скорости звука от давления и для обеспечения непрерывного «соседства» импульса в центральной части луча с импульсом в периферийной части луча, инициируемые в центральной и периферийной частях луча амплитуды импульсных давлений, смещены по времени в сторону опережения инициирования импульса центральной части по отношению ко времени инициирования импульса периферийной части.

[24]

Время задержки запуска импульсов от периферийной части по отношению к центральной выбирается, в основном, с учетом длины инициируемой волны, дистанции до зоны интереса и разницы амплитуд центральной и периферийной частей луча.

[25]

В основном, такая задержка осуществляется в пределах длительности положительной фазы инициируемых ударно-волновых импульсов для фокусировки на дистанции до 100 м для длин ≈1 см. Принцип выбора задержки основан на изменении скорости звука в воде в зависимости от давления. Например, с учетом того, что скорость звука в воде растет с увеличением давления примерно на 0,01% на 1 атм (≈0,1 МПа), что соответствует приращению скорости Δv≈15 см/с (при скорости звука в морской воде v≈1500 м/с). Для такой величины Δv разница в расстояниях пробега волн в периферийной и центральной частях луча на расстояние 100 м составит ≈1 см. Такая разница соответствует условиям шнурования длин волн ~1 см центральной части луча его периферийной частью. Условия шнурования волн с большей (~3-4 см) длиной будут соблюдены на дистанциях до 400 м. Сдвиг по времени инициирования импульсов в периферийной и центральной частях луча, в соответствии с необходимыми условиями, выбирается в пределах от 3 до 20 мкс, соответственно, для длин волн от 1,0 до 4,0 см при необходимости фокусировки на расстояние от 80 до 400 м с обеспечением на концевых участках дистанции существования амплитуд в диапазоне уровня снижения в 6-10 дБ от изначально инициируемых. Кроме того, в зависимости от величины разницы давлений в периферийной и центральной частях луча, выбираемой конечной дистанции и длительности импульса (и соответствующей этой длительности длины волны возмущения), сдвиг по времени запуска импульсов может составлять до сотен мкс, - в том случае, если шнурование луча необходимо обеспечить именно в зафокальной области (поскольку в дофокальной области сходимость луча обеспечивается и без наличия условий для образования импульсного звукового канала).

[26]

Указанная совокупность существенных признаков настоящего способа достигается в устройстве для реализации способа.

[27]

Технический результат по настоящему изобретению достигается тем, что в устройстве активной защиты акватории ударно-волновым воздействием на подводный объект, включающем источник электрической энергии, импульсный конденсатор, коммутатор, импульсный электродинамический излучатель с нагрузочными витками и излучающим внешней поверхностью диском, внутренняя поверхность которого оппозитна к поверхности укладки нагрузочных витков, отличающемся тем, что импульсный электродинамический излучатель имеет, не менее чем одну, излучающую шайбу с дополнительными нагрузочными витками, причем шайба охватывает диск и коаксиальна ему.

[28]

Помимо этого, внешние поверхности излучающего диска и, не менее чем одной, излучающей шайбы имеют сферическую форму с совмещенным в направлении излучения центром.

[29]

А также, внешняя поверхность излучающего диска плоская, а внешняя поверхность, не менее чем одной, излучающей шайбы имеет форму кругового конуса, раствор которого ориентирован в направлении излучения.

[30]

Дополнительно, внешняя поверхность, не менее чем одной, излучающей шайбы смещена вдоль оси относительно внешней поверхности излучающего диска в направлении, противоположном направлению излучения.

[31]

Кроме того, излучающий диск установлен с возможностью установочного перемещения относительно, не менее чем одной, излучающей шайбы.

[32]

Вместе с тем, суммарное соотношение излучающей площади, не менее чем одной, излучающей шайбы к излучающей площади диска находится в диапазоне от 0,05 до 1,0.

[33]

Благодаря тому, что импульсный электродинамический излучатель имеет, не менее чем одну, излучающую шайбу с дополнительными нагрузочными витками, причем шайба охватывает диск и коаксиальна ему, возможно осуществление инициирования устройством импульсного ударно-волнового возмущения (импульса сжатия в водной среде) с образованием сходящегося (т.е. фокусируемого) луча, распространяющегося в режиме звукового канала. При этом диск и коаксиально расположенные и охватывающие диск шайбы могут инициировать суммарный луч с различными, но в тоже время радиально симметричными (за счет коаксиальности) характеристиками импульсного давления по сечению луча. Кроме того, за счет оппозитности (или параллельности) поверхности дополнительной спирали (т.е. винтообразной кривой, образующей ряд оборотов вокруг точки или оси) к внутренней поверхности соответствующей шайбы достигается условие минимальной индуктивности разрядного нагрузочного контура и соответственно максимально возможного кпд конструкции. Помимо этого, наличие нескольких (не менее чем двух, включая основные витки, как правило, в виде спиральных) групп нагрузочных витков предоставляет возможность осуществления импульсов от нескольких разрядных контуров не только с различными токовыми нагрузками в каждом из них, но и в различное время запуска контуров, что позволяет варьировать структуру импульсных давлений по длине звукового канала.

[34]

Поскольку внешние поверхности излучающего диска и, не менее чем одной, излучающей шайбы имеют сферическую форму с совмещенным в направлении излучения центром, то в устройстве реализуется как классическая фокусировка за счет кривизны поверхности излучения, так и фокусировка с созданием звукового канала. При этом за счет совмещения центра (т.е. фокального пятна луча) шайб и диска, а также «обрамления» луча «контуром» звукового канала возрастает не только величина амплитуды давления в фокальном пятне, но и (за счет уменьшения расходимости центральной части луча) фокальное пятно смещается на более дальнюю дистанцию.

[35]

Также, за счет того, что внешняя поверхность излучающего диска плоская, а внешняя поверхность, не менее чем одной, излучающей шайбы имеет форму кругового конуса, раствор которого ориентирован в направлении излучения, возможно осуществление упрощенных вариантов фокусировки с элементами звукового канала на средних (40-70 м) дистанциях, при которых существенно лишь наличие попадания подводного объекта в сечение луча.

[36]

В связи с тем, внешняя поверхность, не менее чем одной, излучающей шайбы смещена вдоль оси относительно внешней поверхности излучающего диска в направлении, противоположном направлению излучения, то возможна одновременная инициация силового импульса от диска и, не менее чем, одной шайбы, учитывающая различие в скоростях пробега по дистанции импульса центральной и периферийной части луча, что соответственно увеличивает дистанцию сходящегося процесса распространения луча.

[37]

Вследствие того, что излучающий диск установлен с возможностью установочного (осевого) смещения относительно, не менее чем одной, излучающей шайбы вдоль ее оси, в конструкции устройства имеется возможность варьирования дистанции «поддержки» сходимости центральной части луча в зависимости от тех или иных условий водной среды и характеристик подводного объекта.

[38]

Вместе с тем, за счет того, что суммарное соотношение излучающей площади, не менее чем одной, излучающей шайбы к излучающей площади диска находится в диапазоне от 0,05 до 1,0, возможно варьирование энергетических характеристик как центральной части луча, так и его периферийного «обрамления» для учета свойств среды, условий применения и вида (типа) подводного объекта. Нижняя величина диапазона выбрана по условиям минимального энергетического уровня, необходимого для обеспечения «контура» импульсного луча со звуковым каналом для эффективного применения на малых и средних дистанциях. Верхняя граница диапазона выбрана по условию минимального энергетического уровня для центральной части луча для эффективного применения на дальних (более 100 м) дистанциях.

[39]

Таким образом, указанная совокупность существенных признаков настоящего изобретения позволяет достигнуть заявленный технический результат - повышение дальности и эффективности ударно-волнового воздействия при одновременном обеспечении избирательности воздействия и возможности варьирования характеристиками воздействия в зависимости от условий водной среды и типа подводного объекта.

[40]

Сущность настоящего изобретения поясняется графическими материалами устройства для реализации способа активной защиты акватории ударно-волновым воздействием.

[41]

На фиг. 1 показан общий вид устройства активной защиты акватории ударно-волновым воздействием.

[42]

На фиг. 2 показан вид индуктора излучателя со сферической излучающей поверхностью диска и шайбы.

[43]

На фиг. 3 показан вид индуктора излучателя с плоской излучающей поверхностью диска и конической поверхностью шайбы.

[44]

На фиг. 4 показан вид индуктора излучателя со смещенными вдоль оси излучающими поверхностями диска и шайбы.

[45]

Устройство (см. фиг. 1) активной защиты акватории ударно-волновым воздействием на подводный объект содержит блок электропитания 1, корпус 2 с электродинамическим импульсным излучателем 3 в виде импульсного конденсатора 4, коммутатора 5 (например, тиратрона ТДИ типа или высоковольтного управляемого разрядника), блока 6 «поджига» (устройства для запуска коммутатора) и импульсного индуктора 7. Индуктор 7 состоит из диэлектрической обоймы 8 с размещенными в ней спирально уложенными (намотанными) нагрузочными витками 9, излучающим внешней (например, плоской) поверхностью 10 диском 11, внутренняя поверхность 12 которого оппозитна (т.е. расположена напротив) поверхности 13 укладки (намотки) нагрузочных витков 9 диска 11 и с коаксиально охватывающей диск 11 излучающей шайбой 14, внешняя (например, плоская) поверхность 15 которой - излучающая, а внутренняя поверхность 16 расположена оппозитно поверхности укладки 17 дополнительных нагрузочных витков 18. Между диском 11, шайбой 14 и соответствующими им нагрузочными витками 9 и 18 размещены изолирующие прокладки 19 и 20. Устройство имеет гидроакустический локатор 21 (например, в виде элементов гидролокатора бокового обзора) наведения на цель (не показана), а в корпусе 2 устройства расположен блок 22 ориентирования направления излучения, вакуумный блок 23, блок 24 сопряжения. Блок 25 управления может быть размещен как вне, так и внутри корпуса 2. Устройство может питаться как от внешнего блока 1 электропитания, так и от внутреннего, например, в виде аккумулятора (не показан).

[46]

Излучающие поверхности индуктора 7 излучателя 3 могут быть различными, например, (см. фиг. 2) сферической формы с двумя (или более) излучающими шайбами 14 и 26 с совмещенным центром 27 кривизны, при этом вторая излучающая шайба 26 коаксиально охватывает первую шайбу 14 и диск 11, или (см. фиг. 3) в виде плоской внешней поверхности 10 диска 11 и для шайбы 14 - с формой внешней поверхности 15 в виде кругового конуса, ориентированного в направлении излучения.

[47]

В конструкции устройства (см. фиг. 4) излучающий диск 11 может быть посредством регулируемых опор 28 закреплен в индукторе 7 с возможностью установочного перемещения вдоль своей оси 29 относительно излучающей шайбы 14.

[48]

Суммарное соотношение излучающей площади излучающей шайбы 14 (одной, двух и более) к излучающей площади диска 11 в зависимости от диаметра излучения устанавливают в диапазоне от 0,05 до 1,0.

[49]

Совокупность элементов: импульсный конденсатор 4, коммутатор 5, нагрузочные витки 9, 18, образует разрядный контур излучателя 3, реализуя принцип высоковольтного генератора импульсов тока. Устройство может иметь как один разрядный контур для совместного инициирования импульсов сжатия в диске 11 и шайбе 14, так несколько (не показаны), для раздельного инициирования импульсов сжатия в диске 11 и шайбе 14 (или диске 11 и шайбах 14 и 26).

[50]

Реализация способа активной защиты акватории ударно-волновым воздействием на подводный объект поясняется на примере работы устройства для осуществления предлагаемого способа.

[51]

В варианте стационарного размещения устройства, для осуществления процесса защиты охраняемого участка акватории от нежелательных (например, подводных диверсантов) подводных объектов устройство размещают стационарно на элементах прибрежной инфраструктуры и помещают в водную среду на глубине от 1 до 3 м с ориентированием излучающей части (диск 11 и шайба 14) в направлении зоны интереса. Электропитание устройства осуществляют посредством кабельной связи от источника электроэнергии помещений прибрежной инфраструктуры (не показана). При поступлении соответствующей команды о нахождении нежелательного подводного объекта в зоне (примерно в радиусе 400 м) действия устройство приводят в режим готовности к применению. Посредством гидролокатора 21 излучающую часть ориентируют в направление цели (не показана), идентифицируют цель и, при подтверждении идентификации цели, совмещают с последней ось 29 и производят подачу ударно-волнового импульса (или серии импульсов). Ударно-волновую обработку прекращают при наличии признаков поражения цели.

[52]

В варианте размещения устройства на плавсредстве обнаружение цели в зоне интереса осуществляют гидроакустическими средствами плавсредства или по информации, поступившей от стационарных гидроакустических средств для озвучивания акватории. Плавсредство перемещается в область нахождения нежелательного подводного объекта с учетом дальности действия устройства и производятся действия, аналогичные действиям при стационарном варианте размещения устройства.

[53]

Работа устройства как электродинамического импульсного излучателя 3 производится следующим образом. Электропитание подается от блока 1 электропитания через блок 24 сопряжения, обеспечивающего комплексную работу узлов устройства в зависимости от заложенного алгоритма работы в том или ином режиме воздействия на подводный объект. По сигналам от блока 25 управления производится зарядка импульсного конденсатора 4 до необходимого уровня напряжения, осуществляется работа гидролокатора 21, вакуумного блока 23 (отвечающего за возврат излучающей части в виде диска 11 и шайб 14 и 26 в исходное положение после производства импульса), блока 22 для ориентирования излучающей части индуктора 7 в направлении зоны интереса и блока 6 «поджига» для запуска коммутатора 5, и соответственно подачу энергии импульсного конденсатора 4 на нагрузочные витки 9, 18 после совмещения оси 29 с целью. Энергетические характеристики воздействия луча со звуковым каналом определяются характеристиками цели и дистанцией до нее и регулируются блоком 25 управления по задаваемому уровню зарядного напряжения (обычно, единицы кВ) и частоте подачи ударно-волновых импульсов (обычно, единицы Гц) в фокусируемом на цель луче. Длину излучаемой волны подбирают за счет варьирования характеристиками разрядного контура (индуктивности, емкости и зарядной энергии), а также суммарной площади излучающей части.

[54]

Для воздействия на цель на малых (~20-40 м) дистанциях используют устройство с формой излучающей части в виде плоскость-конус (см. фиг. 3), с инициированием длин волн ~0,8-1 см, для средних (50-100 м) дистанций - сферические (см. фиг. 2) формы с инициированием длин волн ~1,0-1,2 см, а для дальних (150-400 м) - излучающие части различной формы с осевым смещением диска 11 и шайбы 14 и инициированием длин волн ~2,0-4,0 см.

[55]

При всех вариантах воздействия волну излучают в таком диапазоне положительных амплитуд, при которых крутизна амплитуды не позволяет вызывать кавитационные эффекты по мере распространения импульса сжатия, поскольку эти эффекты должны присутствовать только при встрече луча с подводным объектом в зоне интереса (т.е. с любым объектом, имеющим отличие по плотности от плотности водной среды как в положительную, так и отрицательную сторону).

[56]

Предлагаемое устройство может быть использовано и для целей разминирования, например противодесантных мин с гидроакустическими датчиками, поскольку в предлагаемом способе на малых дистанциях в фокальном пятне возможно достижение уровня амплитуд в 30-70 МПа, т.е. амплитуд, эквивалентных при использовании для этих целей электроимпульсного способа воздействия [3].

[57]

В отличие от необходимых для обезвреживания, в соответствии с [3], объекта со сверхблизких (десятки см) расстояний, в предлагаемом способе устройство наводят на цель с дистанции в 20-30 м и воздействуют на подводный объект сфокусированным импульсным лучом, производя серию ударно-волновых импульсов, приводящих к выходу из строя гидроакустического датчика объекта. Используемая дистанция позволяет сохранить устройство в случае взрыва обезвреживаемого подводного объекта.

[58]

Использование предлагаемого способа активной защиты акватории ударно-волновым воздействием на подводный объект и устройства для его осуществления позволяет достигнуть существенного повышения дальности и эффективности ударно-волнового воздействия на нежелательный (например, подводный диверсант) подводный объект при одновременном обеспечении избирательности воздействия луча на цель в охраняемой зоне акватории, в том числе, возможности варьирования характеристиками воздействия в зависимости от условий водной среды и типа подводного объекта, например, при обезвреживании взрывоопасных подводных предметов с минимальной вероятностью повреждения средства ударно-волнового воздействия на подводный объект.

[59]

Источники информации

[60]

1. Патент РФ №2339899, F41H 13/00, опубл. 27.11. 2008.

[61]

2. Система активной гидроакустической защиты (САГ-3) «Зевс».

[62]

Каталог продукции ОАО «ТЕТИС КС», 2014, стр. 40-41.

[63]

3. Патент РФ RU 2525328, B63G 7/06, опубл. 10.08. 2014.

Как компенсировать расходы
на инновационную разработку
Похожие патенты