патент
№ RU 2641532
МПК F42B15/10

ФИКСАТОР РАЗДЕЛЯЕМЫХ ОБЪЕКТОВ ЛЕТАТЕЛЬНЫХ АППАРАТОВ

Авторы:
Михайлов Юрий Иванович Голочанов Валерий Антонович Ивашин Александр Фёдорович
Все (4)
Номер заявки
2016113195
Дата подачи заявки
06.04.2016
Опубликовано
18.01.2018
Страна
RU
Как управлять
интеллектуальной собственностью
Чертежи 
3
Реферат

Изобретение относится к ракетной технике и может найти применение в конструкциях систем разделения объектов летательных аппаратов (ЛА). Целью изобретения является создание надежного фиксатора разделяемых объектов ЛА для соединения без люфта сложных разделяемых объектов большой массы, обеспечивающего контроль несанкционированного перемещения штока фиксатора при монтаже на объекте, с исключением условий демпфирования штока фиксатора и удержания его в крайнем положении при разделении объектов. Осуществление поставленной цели достигается тем, что корпусе фиксатора расположены шток, закрепленный с помощью срезаемой чеки, втулка-ловитель штока, прижатая к корпусу гайкой. Шток в крайнем положении соединяется с втулкой посредством развальцовки юбки втулки по конической проточке штока. В гайке и втулке выполнены соосные отверстия, сообщающиеся с полостью между втулкой и штоком. При подаче давления от пиропатрона 6 происходит перемещение штока 2 и срезание чеки 3. Дальнейшее движение штока 2 сопровождается соединением штока 2 с втулкой 4, развальцовкой юбки 9 втулки 4 по конической проточке 8 штока 2, за счет чего исключается реверс штока 2 от удара о втулку 4 в крайнем положении, чем обеспечивается гарантированное положение штока 2 для разделения объектов, а вследствие дренажа полости 12 через отверстия 10, 11 исключаются условия демпфирования штока; освобождается взаимное крепление объектов, обеспечивая состояние для их разделения. Далее от команды на разделение происходит разделение объектов 14, 15 по поверхности 16 в направлении оси Х. Предлагаемый фиксатор разделяемых объектов ЛА обеспечивает их надежную стыковку и разделение. 3 ил.

Формула изобретения

Фиксатор разделяемых объектов летательных аппаратов, содержащий цилиндрический корпус с фланцем и обеспечивающий отделение основной массы устройства вместе с пиротехническим источником давления, отличающийся тем, что в корпусе фиксатора расположены шток, закрепленный с помощью срезаемой чеки, и втулка-ловитель штока, прижатая к корпусу гайкой; шток в крайнем положении соединяется с втулкой посредством развальцовки юбки втулки по конической проточке штока; в гайке и втулке выполнены соосные отверстия, сообщающиеся с полостью между втулкой и штоком.

Описание

[1]

Изобретение относится к ракетной технике и может найти применение в конструкциях систем разделения объектов летательных аппаратов (ЛА).

[2]

Известны устройства разделяемых объектов ЛА, обеспечивающие крепление их между собой и разделение при программном задействовании:

[3]

1. Замок-толкатель [1. A.c. №576443, МПК F16B 2/16. Замок-толкатель / Алексеев Э.И, Огнев B.C. - Опубл. 20.10.77. Бюл. №38].

[4]

Недостатки:

[5]

- устройство с шариковым замком не предназначено для больших прямых нагрузок в соединении;

[6]

- объект отделяется с частью замка по цилиндрической поверхности, что может отрицательно повлиять на процесс отделения из-за боковой силы.

[7]

2. Замок-толкатель [2. А.с. №836396, МПК F16B 2/16. Замок-толкатель / Ахтареев Р.Ф. - Опубл. 07.06.81. Бюл. №21].

[8]

Недостатки:

[9]

- предназначено только для отделяемого объекта, имеющего малую массу, в связи с прямым нагружением шарикового замка, входящего в устройство;

[10]

- при обязательном люфте в шариковом замке возможно срезание чеки при нерабочей нагрузке.

[11]

3. Замковое устройство [3. А.с. №540064, МПК F16B 2/16. Замковое устройство / Шлепнева Ю.Г., Сягаев Л.Г., Вольский В.В., Ильин Ю.П. - Опубл. 25.12.76. Бюл. №47].

[12]

Недостатки:

[13]

- замковое устройство вследствие люфта в шариковом замке и подпружиненных втулках может отрицательно проявить себя при эксплуатации в неподвижных тяжело нагруженных соединениях.

[14]

Ближайшим техническим устройством, выбранным в качестве прототипа, является разъемное соединение разделяемых в процессе эксплуатации частей изделия и узел фиксации разъемного соединения [4. Патент, RU 2469215 С2, МПК F16B 2/16, B64G 1/64. Разъемное соединение разделяемых в процессе эксплуатации частей изделия и узел фиксации разъемного соединения / Геров В.И. - Опубл. 10.12.2012. Бюл. №34], содержащее цилиндрический корпус с фланцем и обеспечивающее отделение основной массы устройства вместе с пиротехническим источником давления.

[15]

Устройство имеет недостатки, присущие устройству [3], кроме того, наличие многоуровневого шарикового соединения усугубляет влияние люфта на надежность устройства.

[16]

Целью предлагаемого изобретения является создание простого, надежного фиксатора разделяемых объектов ЛА для соединения без люфта сложных разделяемых объектов большой массы, обеспечивающего контроль от несанкционированного перемещения штока фиксатора при монтаже на объекте, с исключением условий демпфирования штока фиксатора и удержания его в крайнем положении при разделении объектов.

[17]

Осуществление поставленной цели достигается тем, что в корпусе фиксатора расположены шток, закрепленный с помощью срезаемой чеки, и втулка - ловитель штока, прижатая к корпусу гайкой. Шток в крайнем положении соединяется с втулкой посредством развальцовки юбки втулки по конической проточке штока. В гайке и втулке выполнены соосные отверстия, сообщающиеся с полостью между втулкой и штоком.

[18]

Изобретение поясняется чертежами.

[19]

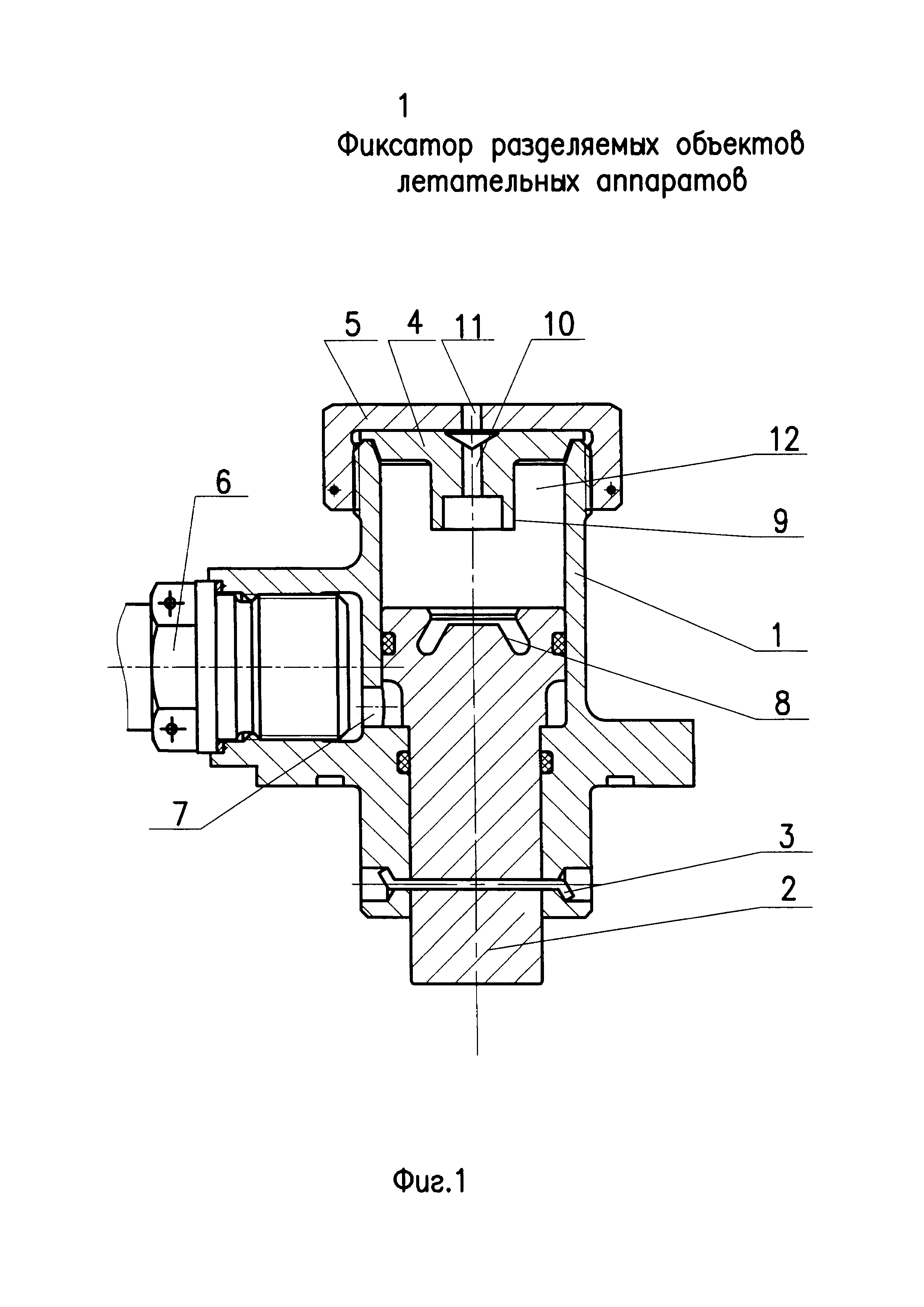
На фиг. 1 представлен фиксатор разделяемых объектов ЛА в рабочем положении, содержащий корпус 1, шток 2, закрепленный в корпусе 1 с помощью чеки 3, втулку 4, прижатую к корпусу 1 гайкой 5. Задействование фиксатора осуществляется от пиропатрона 6 через канал 7. Шток 2 содержит коническую проточку 8, взаимодействующую с юбкой 9 втулки 4 при крайнем положении штока 2; втулка 4 и гайка 5 содержат соосные отверстия 10 и 11, сообщающиеся с полостью 12.

[20]

На фиг. 2 показан вариант применения фиксатора разделяемых объектов и контроля технологическим мерным щупом 13 гарантированного положения штока 2 в исходном положении на объекте через отверстия 10 и 11 во втулке и гайке. При хранении и эксплуатации отверстие 11 пломбируется легко удаляемым при срабатывании фиксатора материалом, например бумажной пломбой.

[21]

На фиг. 3 показано взаимодействие элементов фиксатора в положении разделения объектов 14, 15 по поверхности разделения 16 в направлении оси Х. Отделение основной массы устройства происходит вместе с пиротехническим источником давления.

[22]

Принцип действия устройства: исходное положение соответствует фиг. 1. При подаче давления от пиропатрона 6 происходит перемещение штока 2 и срезание чеки 3. Дальнейшее движение штока 2 сопровождается соединением штока 2 с втулкой 4 развальцовкой юбки 9 втулки 4 по конической проточке 8 штока 2, за счет чего исключается реверс штока 2 от удара о втулку 4 в крайнем положении, обеспечивается гарантированное положение штока 2 для разделения объектов, а вследствие дренажа полости 12 через отверстия 10, 11 исключаются условия демпфирования штока; освобождается взаимное крепление объектов, обеспечивая состояние для их разделения. Далее от команды на разделение (в данном изобретении не рассматривается) происходит разделение объектов 14, 15 по поверхности 16 в направлении оси X.

[23]

Предлагаемый фиксатор разделяемых объектов ЛА обеспечивает их надежную стыковку и разделение.

[24]

Устройство может быть выполнено с помощью стандартного оборудования и материалов отечественного производства. Таким образом, заявленное устройство соответствует критерию «промышленная применимость».

[25]

Источники, принятые во внимание

[26]

1. А.с. №576443, МПК F16B 2/16. Замок-толкатель / Алексеев Э.И, Огнев B.C. - Опубл. 20.10.77. Бюл. №38.

[27]

2. А.с. №836396, МПК F16B 2/16. Замок-толкатель / Ахтареев Р.Ф. - Опубл. 10.06.81. Бюл. №21.

[28]

3. А.с. №540064, МПК F16B 2/16. Замковое устройство / Шлепнева Ю.Г., Сягаев Л.Г., Вольский В.В., Ильин Ю.П. - Опубл. 07.02.77.

[29]

4. Патент RU 2469215 С2, МПК F16B 2/16, B64G /64. Разъемное соединение разделяемых в процессе эксплуатации частей изделия и узел фиксации разъемного соединения / Геров В.И. - Опубл. 10.12.2012. Бюл. №34.

[30]

5. А.с. №731101, МПК F16B 2/16. Фиксирующее устройство / Кохан А.Е., Матяш Ф.Г., Маслак В.А. и др. - Опубл. 30.04.80. Бюл. №16.

Как компенсировать расходы
на инновационную разработку
Похожие патенты