патент
№ RU 2650163
МПК E21B7/08

КЛИН-ОТКЛОНИТЕЛЬ ДЛЯ ЗАБУРИВАНИЯ БОКОВЫХ СТВОЛОВ ИЗ НЕОБСАЖЕННЫХ СКВАЖИН

Авторы:
Насыров Азат Леонардович
Номер заявки
2017124074
Дата подачи заявки
06.07.2017
Опубликовано
09.04.2018
Страна
RU
Как управлять
интеллектуальной собственностью
Чертежи 
5
Реферат

Изобретение относится к бурению скважин, а именно к забуриванию боковых стволов из ранее пробуренных необсаженных скважин. Клин-отклонитель для забуривания боковых стволов из необсаженных скважин включает клин с направляющим желобом и продольным каналом, соединенный шарнирно поперечной осью с переходником с возможностью механического прижатия головки клина к стенке скважины, посадочный инструмент, выполненный в виде полой штанги, проходящей через продольный канал клина, и соединенный с переходником с возможностью только продольного перемещения и фиксации срезными элементами и шариками, причем шарики размещены в глухих радиальных отверстиях переходника, сообщенных с его каналом, и выполнены подпружиненными вовнутрь, размещенными соответственно в верхних и нижних рядах радиальных отверстий полой штанги, раздуваемый якорь, выполненный в виде продольно гофрированной трубы с цилиндрическими концами, жестко соединенный с переходником снизу и оснащенный башмаком, который соединен технологической трубой с переходником, оснащен снизу калибратором, а изнутри - седлом под ниппель полой втулки, которая выполнена с возможностью фиксации расположенным снизу замковым элементом в седле башмака, размещена в полой штанге с возможностью перемещения вниз с фиксацией срезными элементами. Центральный канал переходника сообщен каналом с пространством между якорем и технологической трубой, а полая втулка установлена с возможностью герметичного перекрытия рядов радиальных отверстий и взаимодействия с шариками, оснащена изнутри сужением под бросовый с устья элемент. Клин снизу оснащен проточкой, параллельной оси шарнирного соединения. Со стороны желоба проточка от края клина выполнена наклонной с подъемом в сторону оси, полая штанга в районе зазора между клином и переходником снабжена со стороны желоба клина состыкованными плоскостями, верхняя из которых параллельна центральной оси, а нижняя - под углом от верхней плоскости в направлении переходника. В зазор между клином и переходником установлен клиновой толкатель с отверстием, взаимодействующим с плоскостями полой штанги с возможностью перемещения при вытягивании полой штанги вверх клинового толкателя в сторону наклона проточки до взаимодействия и с последующим прижатием головки клина к стенке скважины и фиксацией в таком положении. Обеспечивается возможность производить отклонение «головы» клина к стенке скважины в процессе его установки, надежно зафиксировать и гарантированно удерживать его в таком положении в процессе всего цикла строительства бокового ствола и исключить аварийные ситуации с перекрытием проходного сечения ствола скважины клином-отклонителем. Обеспечивает расширение функциональных возможностей и сокращение времени забуривания и бурения бокового ствола, что в конечном итоге позволит снизить общую стоимость строительства скважин в сложных геологических условиях. 1 з.п. ф-лы, 9 ил.

Формула изобретения

1. Клин-отклонитель для забуривания боковых стволов из необсаженных скважин, включающий клин с направляющим желобом и продольным каналом, соединенный шарнирно поперечной осью с переходником с возможностью механического прижатия головки клина к стенке скважины, посадочный инструмент, выполненный в виде полой штанги, проходящей через продольный канал клина, и соединенный с переходником с возможностью только продольного перемещения и фиксации срезными элементами и шариками, причем шарики размещены в глухих радиальных отверстиях переходника, сообщенных с его каналом, и выполнены подпружиненными вовнутрь, размещенными соответственно в верхних и нижних рядах радиальных отверстий полой штанги, раздуваемый якорь, выполненный в виде продольно гофрированной трубы с цилиндрическими концами, жестко соединенный с переходником снизу и оснащенный башмаком, который соединен технологической трубой с переходником, оснащен снизу калибратором, а изнутри - седлом под ниппель полой втулки, которая выполнена с возможностью фиксации расположенным снизу замковым элементом в седле башмака, размещена в полой штанге с возможностью перемещения вниз с фиксацией срезными элементами, причем центральный канал переходника сообщен каналом с пространством между якорем и технологической трубой, а полая втулка установлена с возможностью герметичного перекрытия рядов радиальных отверстий и взаимодействия с шариками, оснащена изнутри сужением под бросовый с устья элемент, отличающийся тем, что клин снизу оснащен проточкой, параллельной оси шарнирного соединения, причем со стороны желоба проточка от края клина выполнена наклонной с подъемом в сторону оси, полая штанга в районе зазора между клином и переходником снабжена со стороны желоба клина состыкованными плоскостями, верхняя из которых параллельна центральной оси, а нижняя - под углом от верхней плоскости в направлении переходника, в зазор между клином и переходником установлен клиновой толкатель с отверстием, взаимодействующим с плоскостями полой штанги с возможностью перемещения при вытягивании полой штанги вверх клинового толкателя в сторону наклона проточки до взаимодействия и с последующим прижатием головки клина к стенке скважины и фиксацией в таком положении.

2. Клин-отклонитель для забуривания боковых стволов из необсаженных скважин по п. 1, отличающийся тем, что на наружной поверхности якоря размещены эластичные манжеты.

Описание

[1]

Изобретение относится к бурению скважин, а именно к забуриванию боковых стволов из ранее пробуренных необсаженных скважин.

[2]

Известен отклонитель клиновой заливаемый, предназначенный для использования при бурении скважин с забуриванием нового ствола (пат. RU №2119573, МПК 7 Е21В 7/08, опубл. в бюл. №27 от 27.09.1998), состоящий из спускного клина, соединенного срезными болтами с направляющим клином, опоры для закрепления отклонителя цементным раствором в колонне и канала для подачи цементного раствора.

[3]

Недостатками данного отклонителя являются:

[4]

- вероятность аварийных ситуаций при его спуске и установке в открытом стволе скважины из-за большой длины и жесткости отклонителя, что может привести к посадкам устройства на неровностях и в местах искривлений ствола скважины, тем более что нижний конец имеет заостренные зубцы, при этом произойдет преждевременный срез крепежных болтов и потеря отклонителя;

[5]

- большие материальные и временные затраты для его установки в скважине, связанные с необходимостью создания упорного цементного моста, ожидания его отверждения, производством фрезеровки верхней части моста до определенной глубины, спуском отклонителя в скважину, созданием дополнительного цементного моста для закрепления отклонителя и ожидания его отверждения, и только после этого возможно производить зарезку и бурение бокового ствола;

[6]

- низкая функциональность, связанная с тем, что в открытых стволах, имеющих зоны поглощения или водо- и/или газопроявления, очень часто цементные мосты не устанавливаются или не набирают нужной прочности, и установить отклонитель в таких скважинах с использованием цементных технологий невозможно.

[7]

Известен стационарный отклонитель, предназначенный для зарезки нового ствола скважины при ликвидации аварий с бурильной колонной (а.с. СССР №1435743, МПК 7 Е21В 7/08, опубл. в бюл. №41 от 07.11.1988), содержащий корпус с промывочными отверстиями, жестко связанный с ним в верхней части направляющий клин, расположенный в нижней части корпуса узел закрепления клина, связанный срезными элементами с направляющим клином транспортировочный патрубок и трубчатый кожух.

[8]

Недостатками данного отклонителя являются:

[9]

- низкая функциональность, связанная с необходимостью наличия аварийного инструмента в скважине для закрепления отклонителя и невозможностью его ориентирования, а также со сложностью попадания метчиком в аварийный инструмент;

[10]

- затраты времени и материалов, связанные с необходимостью фрезерования и обуривания верхнего конца аварийного инструмента и цементирования основания клина;

[11]

- вероятность аварийных ситуаций при его установке и освобождении транспортировочного патрубка, связанных с невозможностью надежного закрепления отклонителя в «голове» аварийного инструмента, так как для завинчивания метчика в трубу необходимы большие крутящие моменты, а срезные элементы, крепящие транспортировочный патрубок к направляющему клину, не могут их выдержать. Увеличение прочности срезных элементов приведет к невозможности отсоединения транспортировочного патрубка от направляющего клина после установки отклонителя.

[12]

Известен клин-отклонитель (уипсток) для забуривания нового бокового ствола из необсаженной скважины (пат. US №5113938, МПК 7 Е21В 7/08, от 19.05.1992), включающий отклоняющий клин с продольным каналом, шарнирно соединенный снизу с переводником, который снизу оснащен расширяющимся пакером-якорем, посадочный инструмент в виде полого патрубка с верхней муфтой для соединения с бурильной колонной и левой резьбой снизу для соединения после установки в продольном канале клина с переводником.

[13]

Недостатками данного клина-отклонителя являются большая вероятность аварийных ситуаций при его спуске и установке в открытом стволе скважины и при забуривании обходного ствола, связанных с:

[14]

- невозможностью отвинчивания полого патрубка по левой резьбе, после установки клина-отклонителя, так как в шарнирном механизме установлены достаточно прочные пружины, которые перегибают и заклинивают полый патрубок в резьбе. Известно, что идеально вертикальных скважин не бывает, все скважины имеют большие или меньшие отклонения от вертикальной оси и различные неровности по длине ствола, тем более скважины, осложненные геологическими условиями: в них могут быть сужения, размывы, каверны, ступеньки, образовавшиеся в результате работы аварийного инструмента. Клин-отклонитель располагается в них под различными углами, а бурильная колонна из-за своей прочности не может повторять все изгибы скважины, что еще больше перегибает и заклинивает полый патрубок, препятствуя его отвинчиванию;

[15]

- тем, что «голова» клина ничем не защищена и при спуско-подъемных операциях в открытом стволе, в особенности в искривленных участках, будет впиваться и скоблить стенку скважины, обломки породы будут набиваться и трамбоваться в зазоре между полым патрубком и желобом клина, заклинивая тем самым полый патрубок. Все это приведет к невозможности отвинчивания полого патрубка из переводника после установки клина-отклонителя и аварийной ситуации в скважине;

[16]

- тем, что при попадании клина-отклонителя в искривленный или кавернозный участок скважины он может принять такое положение, когда незащищенная «голова» будет впиваться в одну стенку, а башмак пакера попадет на выступ противоположной стенки скважины, и попытки его освобождения натяжением или разгрузкой бурильной колонны будут только еще больше заклинивать клин-отклонитель поперек ствола скважины, создавая угрозу оставления его в скважине, а промывка скважины не будет способствовать его освобождению, что приведет к аварии и потере пробуренной части скважины;

[17]

- с применением пружины для отклонения клина, так как пружина является упругим элементом, она в процессе забуривания и бурения обходного ствола под воздействием долота или выступающих частей бурового оборудования (калибраторов, забойных двигателей, муфт бурильных труб и т.п.), которые будут цепляться за нижний край центрального канала клина и будут сжимать эту пружину, вследствие чего «голова» клина будет отходить от стенки к центру скважины и перекрывать проходное сечение ствола. В это время буровой шлам и обломки породы будут попадать и накапливаться в зазоре между стенкой скважины и телом клина, препятствуя работе пружины и прижатию «головы» клина обратно к стенке скважины. В конечном счете клин отклонится к центру ствола скважины настолько, что перекроет его проходное сечение. В наибольшей степени этот недостаток будет проявляться при установке клина-отклонителя с опорой к верхней стенке скважины;

[18]

- с невозможностью вращения клина-отклонителя и проработки ствола скважины от осыпавшейся породы или глинистой корки, препятствующих прохождению клина-отклонителя в расчетный интервал и ориентированию его по азимуту, так как произойдет отвинчивание посадочного инструмента по левой резьбе.

[19]

Наиболее близким по технической сущности и достигаемому результату является клин-отклонитель для забуривания боковых стволов из скважины (пат. RU №2429335, МПК Е21В 7/08, опубл. 20.09.2011 в бюл. №26), включающий клин с продольным каналом, соединенный шарнирно поперечной осью с переходником с возможностью прижатия пружиной головки клина к стенке скважины, посадочный инструмент, выполненный в виде полой штанги, проходящий через продольный канал клина и соединенный с переходником, раздуваемый якорь из продольно гофрированной трубы с технологической трубой внутри, которая передает вращение от бурильных труб долоту, присоединенному к башмаку якоря. Конец полой штанги закреплен в переходнике с возможностью только продольного перемещения и зафиксирован срезными штифтами и шариками, которые удерживаются полой втулкой, позволяющей производить промывку скважины и перекрывать центральный канал при помощи бросового с устья элемента с герметичной фиксацией замковым элементом в седле башмака.

[20]

Недостатками данного клина-отклонителя являются:

[21]

- большая вероятность аварийных ситуаций при его установке в открытом стволе скважины и при забуривании бокового ствола, связанных с применением пружины для отклонения клина, так как пружина является упругим элементом, она в процессе забуривания и бурения бокового ствола под воздействием долота или выступающих частей бурового оборудования (калибраторов, забойных двигателей, муфт бурильных труб и т.п.), которые будут цепляться за нижний край центрального канала клина и сжимать эту пружину, вследствие чего «голова» клина будет отходить от стенки к центру скважины и перекрывать проходное сечение ствола. В это время буровой шлам и обломки породы будут попадать и накапливаться в зазоре между стенкой скважины и телом клина, препятствуя работе пружины и прижатию «головы» клина обратно к стенке скважины. В конечном счете клин отклонится к центру ствола скважины настолько, что перекроет его проходное сечение. В наибольшей степени этот недостаток будет проявляться при установке клина-отклонителя с опорой к верхней стенке скважины;

[22]

- узкая область применения, так как в скважинах, осложненных геологическими условиями, раздуваемый якорь не создает герметичного перекрытия нижней осложненной части ствола скважины, вследствие чего могут происходить водо- и/или газопроявления или поглощения промывочной жидкости, что препятствует забуриванию и бурению бокового ствола, ведет к дополнительным работам и увеличивает сроки и стоимость строительства скважин в сложных геологических условиях.

[23]

Техническими задачами настоящего изобретения являются:

[24]

- создание клина-отклонителя, позволяющего производить отклонение «головы» клина к стенке скважины в процессе его установки, надежно зафиксировать и гарантированно удерживать его в таком положении в процессе всего цикла строительства бокового ствола и исключить аварийные ситуации с перекрытием проходного сечения ствола скважины клином-отклонителем;

[25]

- расширение функциональных возможностей (области применения) клина-отклонителя, позволяющего создавать герметичное перекрытие нижней осложненной части ствола скважины в процессе его установки и сокращать время забуривания и бурения бокового ствола, что в конечном итоге позволит снизить общую стоимость строительства скважин в сложных геологических условиях.

[26]

Технические задачи решаются клином-отклонителем для забуривания боковых стволов из необсаженных скважин, включающим клин с направляющим желобом и продольным каналом, соединенный шарнирно поперечной осью с переходником с возможностью механического прижатия головки клина к стенке скважины, посадочный инструмент, выполненный в виде полой штанги, проходящей через продольный канал клина, и соединенный с переходником с возможностью только продольного перемещения и фиксации срезными элементами и шариками, причем шарики размещены в глухих радиальных отверстиях переходника, сообщенных с его каналом, и выполнены подпружиненными вовнутрь, размещенными соответственно в верхних и нижних рядах радиальных отверстий штанги, раздуваемый якорь, выполненный в виде продольно гофрированной трубы с цилиндрическими концами, жестко соединенный с переходником снизу и оснащенный башмаком, который соединен технологической трубой с переходником, оснащен снизу калибратором, а изнутри - седлом под ниппель полой втулки, которая выполнена с возможностью фиксации расположенным снизу замковым элементом в седле башмака, размещена в полой штанге с возможностью перемещения вниз с фиксацией срезными элементами, причем центральный канал переходника сообщен каналом с пространством между якорем и технологической трубой, а полая втулка установлена с возможностью герметичного перекрытия рядов радиальных отверстий и взаимодействия с шариками, оснащена изнутри сужением под бросовый с устья элемент.

[27]

Новым является то, что клин снизу оснащен проточкой параллельной оси шарнирного соединения, причем со стороны желоба проточка от края клина выполнена наклонной с подъемом в сторону оси, полая штанга в районе зазора между клином и переходником снабжена со стороны желоба клина состыкованными плоскостями, верхняя из которых параллельна центральной оси, а нижняя - под углом от верхней плоскости в направлении переходника, в зазор между клином и переходником установлен клиновой толкатель с отверстием, взаимодействующим с плоскостями полой штанги с возможностью перемещения при вытягивании полой штанги вверх клинового толкателя в сторону наклона проточки до взаимодействия и с последующим прижатием головки клина к стенке скважины и фиксацией в таком положении.

[28]

Новым является также то, что на наружной поверхности якоря размещены эластичные манжеты.

[29]

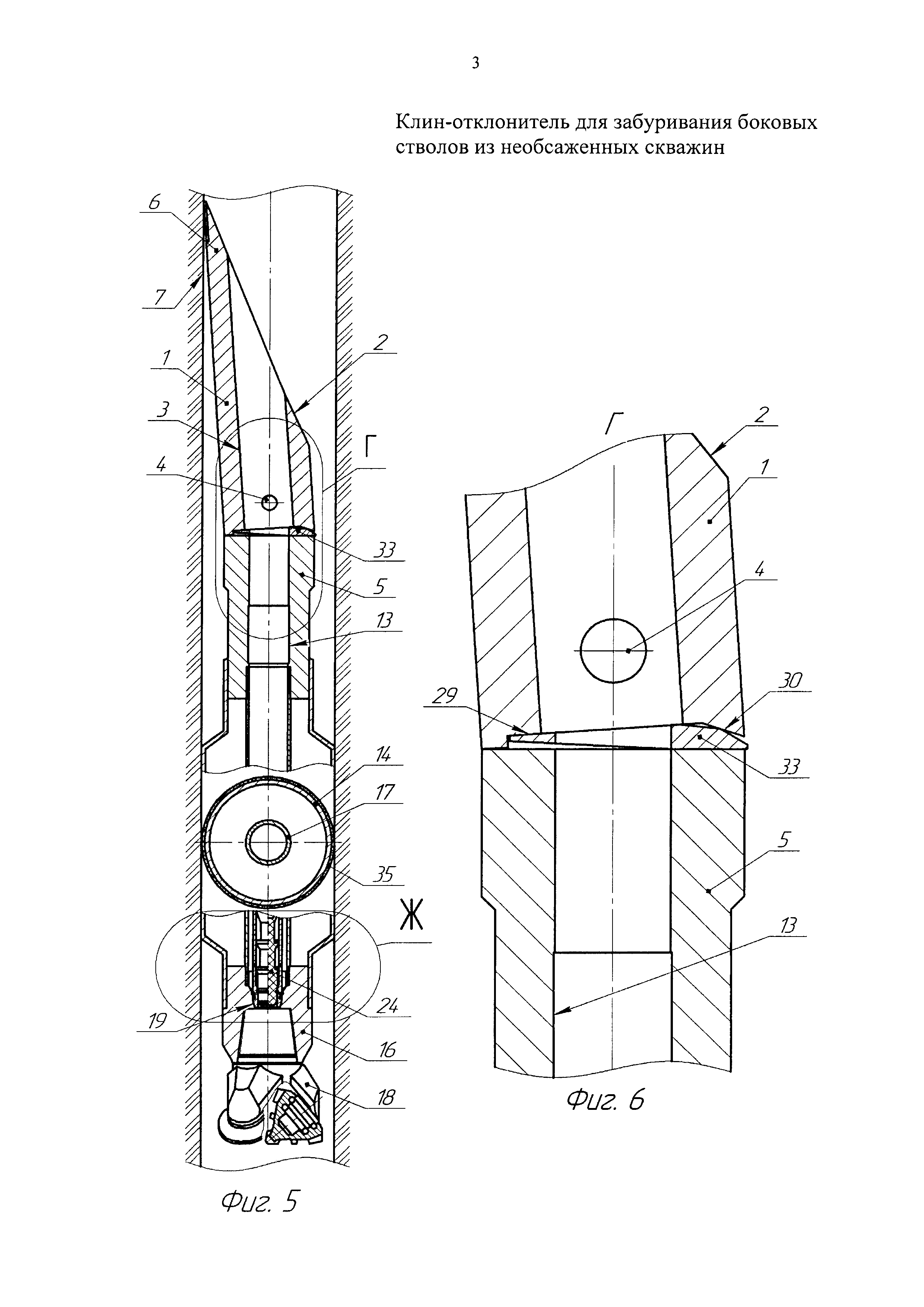
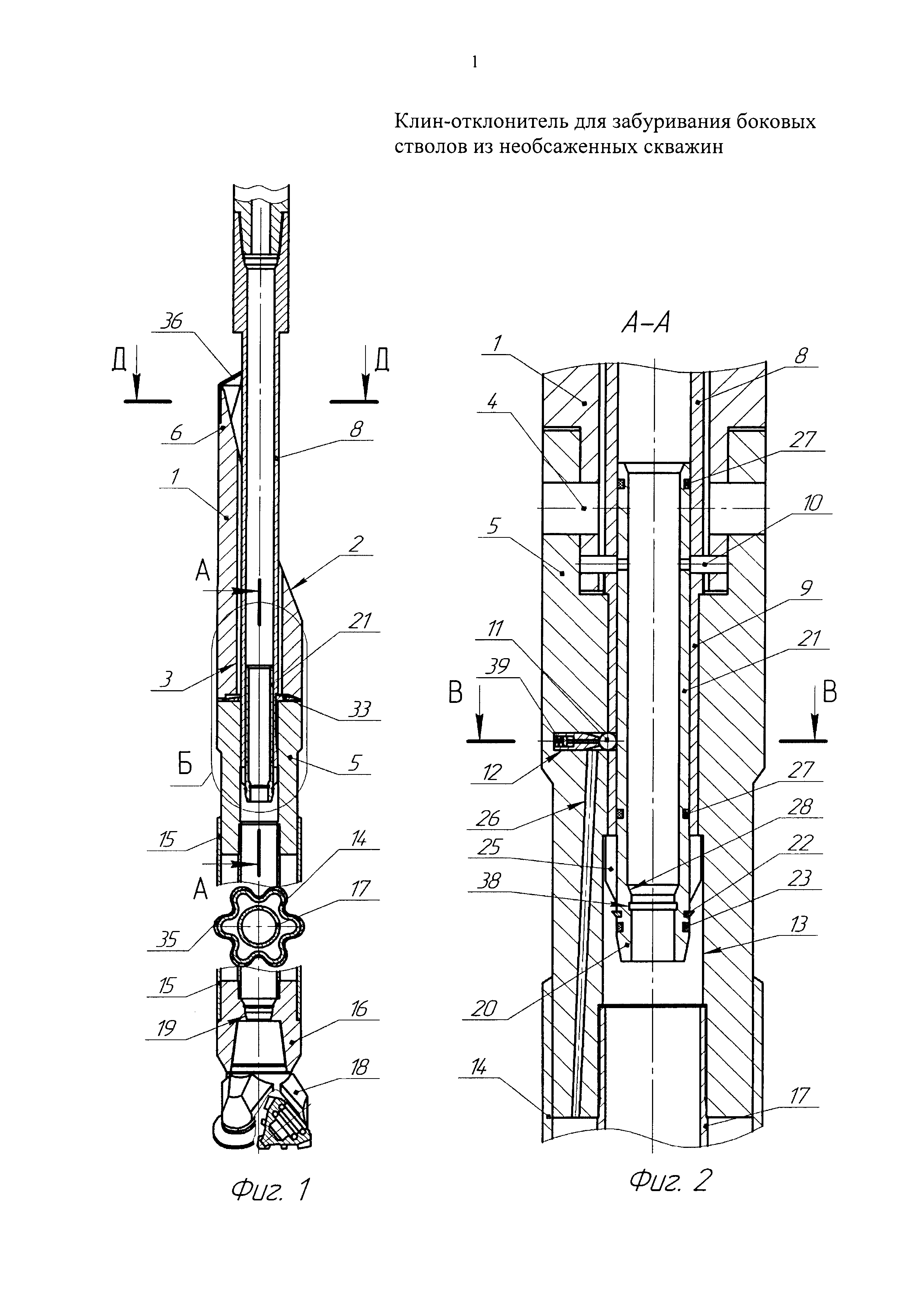
На фиг. 1 показан общий вид клина-отклонителя с продольным разрезом.

[30]

На фиг. 2 - разрез А-А фиг.1

[31]

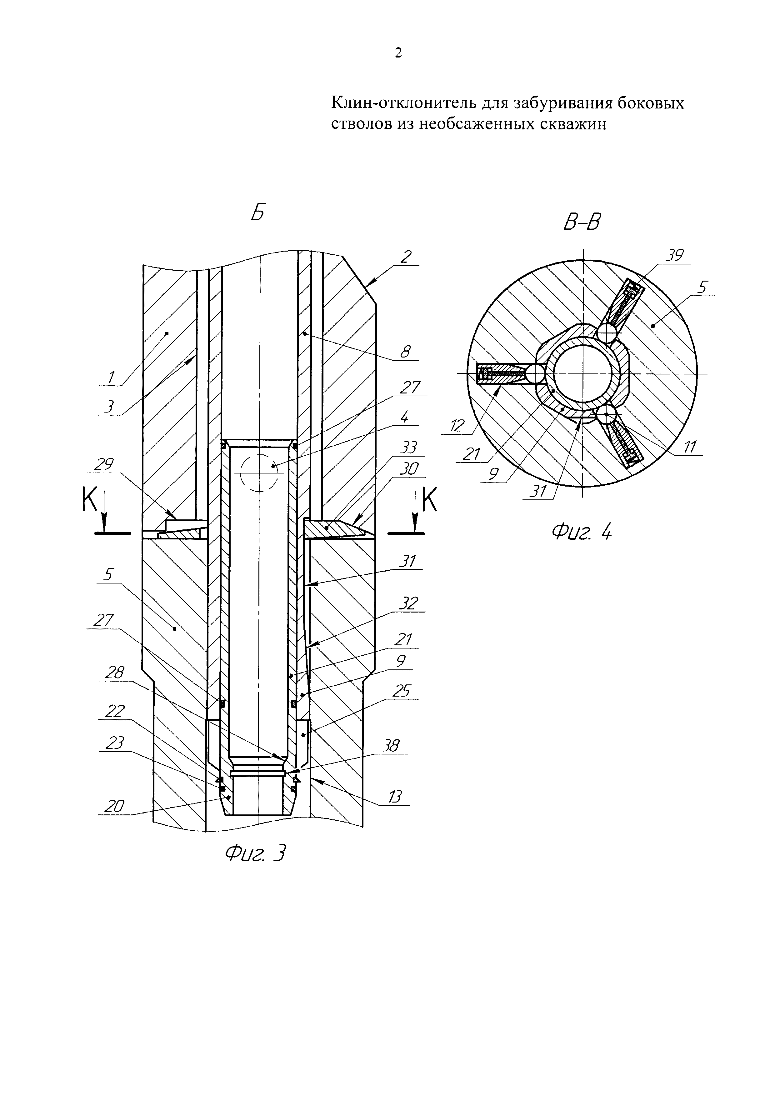
На фиг. 3 - выносной элемент Б фиг. 1 (клин-отклонитель в транспортном положении).

[32]

На фиг. 4 - разрез В-В фиг. 2.

[33]

На фиг. 5 - общий вид клина-отклонителя с продольным разрезом, установленного в скважине.

[34]

На фиг. 6 - выносной элемент Г фиг. 5 (клин-отклонитель в рабочем положении).

[35]

На фиг. 7 - разрез Д-Д фиг. 1.

[36]

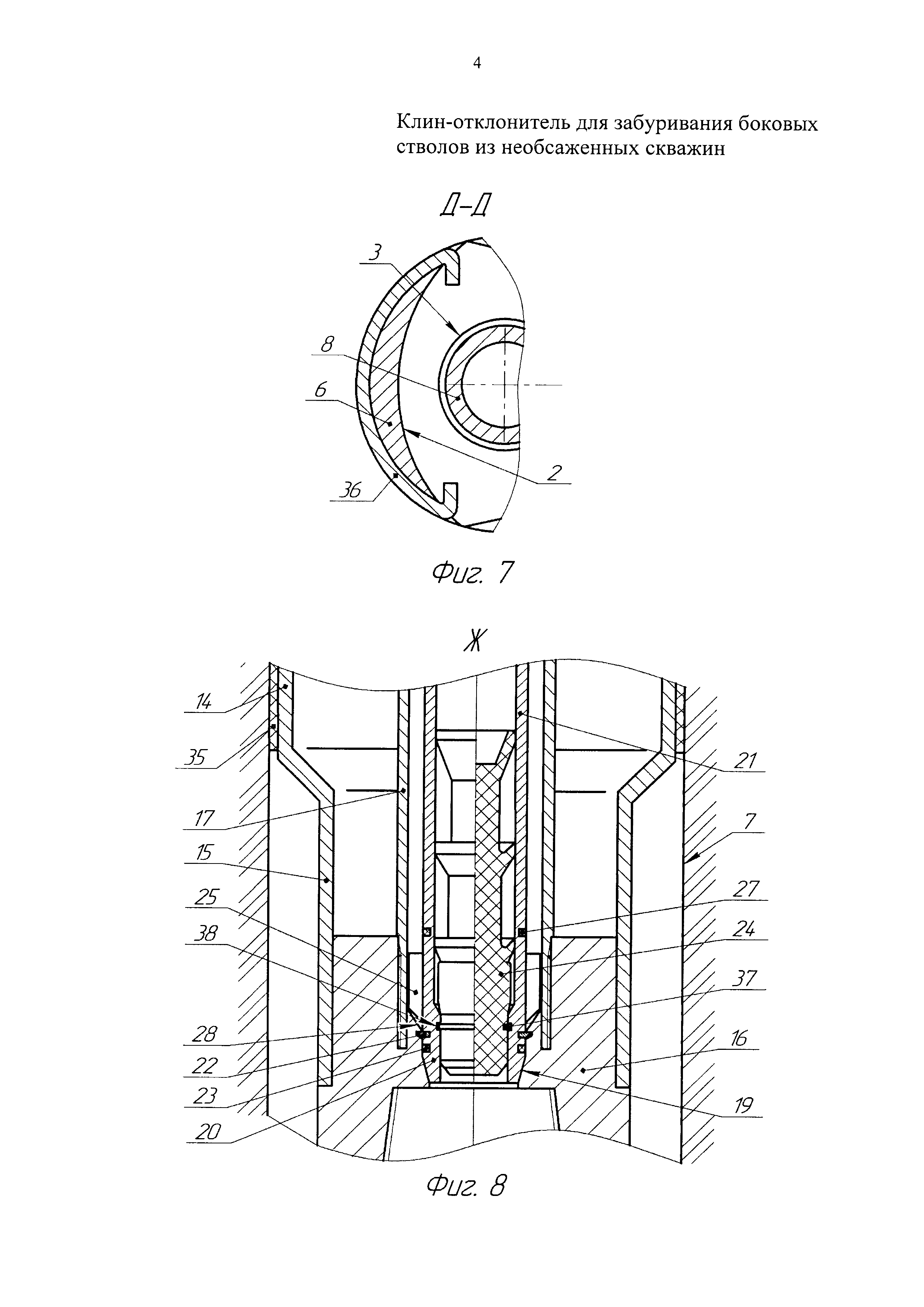
На фиг. 8 - выносной элемент Ж фиг. 5 (фиксация полой втулки и бросового элемента в седле башмака в процессе установки клина-отклонителя в скважине).

[37]

На фиг. 9 - разрез К-К фиг. 3.

[38]

Клин-отклонитель для забуривания боковых стволов из необсаженных скважин включает клин 1 (фиг. 1) с направляющим желобом 2 и продольным каналом 3, соединенный шарнирно поперечной осью 4 (фиг. 2) с переходником 5 с возможностью механического прижатия головки 6 (фиг. 1 и 5) клина 1 к стенке скважины 7 (фиг. 5). Посадочный инструмент, выполненный в виде полой штанги 8 (фиг. 1), проходящей через продольный канал 3 клина 1, и соединенный с переходником 5 окончанием 9 (фиг. 2 и 4). Конструкция взаимодействия окончания 9 (фиг. 2) полой штанги 8 с переходником 5 может быть самой различной, что не меняет сущности изобретения: например, в виде шлицевого или шпоночного соединения, в виде трехгранной или четырехгранной призмы и т.п. (не показаны на фиг. 4). В нашем случае окончание 9 (фиг. 4) выполнено в виде шестигранной призмы и вставлено в переходник 5 (фиг. 2) с возможностью только продольного перемещения и фиксации срезными элементами 10 и шариками 11, причем шарики 11 размещены в глухих радиальных отверстиях 12 переходника 5, сообщенных с его центральным каналом 13, и выполнены подпружиненными вовнутрь. Срезные элементы 10 и шарики 11 размещены соответственно в верхних и нижних рядах радиальных отверстий полой штанги 8. Раздуваемый якорь 14 (фиг. 1), выполненный в виде продольно гофрированной трубы с цилиндрическими концами 15, жестко соединен с переходником 5 снизу и оснащен башмаком 16, который соединен технологической трубой 17 с переходником 5. Башмак 16 оснащен снизу калибратором 18 (долотом, фрезером, расширителем и т.п.), а изнутри - седлом 19 под ниппель 20 (фиг. 2 и 8) полой втулки 21, которая выполнена с возможностью фиксации расположенным снизу замковым элементом 22 (фиг. 8) в седле 19 башмака 16. На наружной поверхности ниппеля 20 полой втулки 21 размещен уплотнительный элемент 23, который совместно с бросовым с устья элементом 24 герметизирует внутреннюю полость клина-отклонителя после его установки в скважине 7 (фиг. 5 и 8). Полая втулка 21 (фиг. 2) размещена в полой штанге 8 с возможностью только продольного перемещения вниз, например, благодаря упору 25 с фиксацией срезными элементами 10, которые могут быть совместного или раздельного исполнения. Центральный канал 13 переходника 5 через глухие радиальные отверстия 12 (фиг. 2 и 4) сообщен каналом 26 с пространством между якорем 14 и технологической трубой 17 (фиг. 2), при этом полая втулка 21 установлена с возможностью герметичного перекрытия рядов радиальных отверстий 12 уплотнительными элементами 27 и взаимодействия с шариками 11, оснащена изнутри сужением 28 под бросовый с устья (не показано) элемент 24 (фиг. 8). Клин 1 (фиг. 3 и 6) снизу оснащен проточкой 29, параллельной оси 4 шарнирного соединения, причем со стороны желоба 2 проточка 29 от края клина 1 выполнена с наклонной поверхностью 30, поднимающейся в сторону оси 4. Полая штанга 8 (фиг. 3) в районе зазора между клином 1 и переходником 5 снабжена со стороны желоба 2 клина 1 состыкованными плоскостями 31 и 32, выполненными на окончании 9 (фиг. 3 и 4), расположенной в нижней части полой штанги 8 (фиг. 3), верхняя 31 из которых параллельна центральной оси клина-отклонителя, а нижняя 32 - под углом от верхней плоскости 31 в направлении переходника 5. В зазор между клином 1 и переходником 5 установлен клиновой толкатель 33 (фиг. 3 и 9) с отверстием 34 (фиг. 9), взаимодействующим с плоскостями 31 (фиг. 3 и 9) и 32 окончания 9 полой штанги 8 с возможностью перемещения клинового толкателя 33 (фиг. 3 и 6) с усилием в сторону наклонной поверхности 30 проточки 29 до взаимодействия и с последующим прижатием головки 6 (фиг. 5) клина 1 к стенке скважины 7 и фиксацией в таком положении при вытягивании полой штанги 8 (фиг. 3) с окончанием 9 вверх. Для создания герметичного перекрытия нижней осложненной части ствола скважины 7 (фиг. 5) после установки клина-отклонителя с целью предотвращения водо- и/или газопроявления или поглощения промывочной жидкости на наружной поверхности якоря 14 (фиг. 1 и 5) могут быть размещены эластичные манжеты 35, которые могут изготавливаться как из гуммированной резины, так и из набухающего эластомера и т.п. материалов. Манжеты 35 могут быть разнообразной формы (сплошной рукав, отдельные кольцевые полоски и т.п.) и различаться по способу крепления на поверхности якоря 14 (фиг. 1) (привариваться, приклеиваться и т.п.). При спуске в скважины 7 (фиг. 5) глубиной более 200 м и в осложненные скважины 7 полая штанга 8 (фиг. 1) в районе головки 6 клина 1 должна быть оснащена кожухом 36 (фиг. 1 и 7) аналогично патенту RU №2429335, например, выполненным в виде сектора перевернутого полого стакана, надетого на головку 6 клина 1 (фиг. 1). Кожух 36 может быть различной конструкции и размеров, в зависимости от диаметра скважины 7 (фиг. 5) и клина-отклонителя, от прочности пород в литографическом разрезе скважины 7, от сложности геологических условий в интервале установки клина-отклонителя и т.п. Кожух 36 (фиг. 1 и 7) не должен препятствовать движению клина-отклонителя по стволу скважины 7 (фиг. 5) в процессе его спуска в интервал установки и при проработках осложненных участков, должен предотвращать заклинивание клина-отклонителя в искривленных участках скважины 7, защищать клин 1 (фиг. 1) от загрязнения обломками породы и их накопления между полой штангой 8 и направляющим желобом 2 клина 1. Кожух 36 должен легко сниматься с клина-отклонителя после его установки, не препятствуя извлечению полой штанги 8 из продольного канала 3 клина 1 и прижатию головки 6 к стенке скважины 7 (фиг. 5) за счет наличия верхней плоскости 31 (фиг. 3) окончания 9 штанги 8 длиной не менее высоты кожуха 36 (фиг. 1). При отсутствии кожуха 36 длина верхней плоскости 31 (фиг. 3) окончания 9 штанги 8 не регламентируется.

[39]

Клин-отклонитель для забуривания боковых стволов из необсаженных скважин 7 (фиг. 5) работает следующим образом.

[40]

Поднимают с мостков якорь 14 (фиг. 1) и устанавливают на столе ротора (не показан). Затем поднимают клин 1 с посадочным инструментом в виде полой штанги 8 и соединяют его через переходник 5 с якорем 14. Соединение (не показано) может быть резьбовое, сварное, на штифтах и т.п. Собранный клин-отклонитель спускают в скважину 7 (фиг. 5) на колонне бурильных труб (не показана) в интервал установки. Для ориентирования клина-отклонителя по азимуту в колонну бурильных труб включают ориентирующий переводник (не показан), а для привязки по глубине - реперный патрубок (не показан). В случае непрохождения клина-отклонителя по стволу скважины 7 в осложненных участках включают ротор и буровой насос (не показаны) и прорабатывают эти участки ствола скважины до свободного прохождения клина-отклонителя. При вращении колонны бурильных труб крутящий момент на калибратор 18 (фиг. 1) передается через полую штангу 8 с окончанием 9 (фиг. 4), например, в виде многогранной призмы и ответную форму центрального канала 13 переходника 5, технологическую трубу 17 (фиг. 1) якоря 14 и башмак 16, при этом якорь 14 из продольно гофрированной трубы не испытывает крутящего момента и не деформируется. Осевые нагрузки на калибратор 18 при проработках передаются через полую штангу 8, срезные элементы 10 (фиг. 2), шарики 11, переходник 5, технологическую трубу 17 (фиг. 1) якоря 14 и башмак 16, не воздействуя на якорь 14 и не деформируя его продольно гофрированную трубу с цилиндрическими концами 15. Промывочная жидкость, проходя через внутреннюю полость клина-отклонителя, не попадает в полость якоря 14 и не раздувает его при проработках, так как полая втулка 21 (фиг. 2) герметично перекрывает ряды радиальных отверстий уплотнительными элементами 27. Спустив клин-отклонитель в интервал установки, ориентируют его геофизическими методами по проектному азимуту, например магнитным или гироскопическим инклинометрами и т.п. Установку и закрепление клина-отклонителя производят в следующей последовательности. В полость бурильных труб (не показаны) с устья сбрасывают элемент 24 (фиг. 8), выполненный в виде продавочной пробки или шара (не показан). Буровым насосом (не показан) с устья подают промывочную жидкость в полость бурильных труб, которая доводит элемент 24 до сужения 28 полой втулки 21. Стопорное кольцо 37 элемента 24 разжимается в радиальном направлении в проточке 38 (фиг. 2 и 3) полой втулки 21 и надежно фиксирует элемент 24 (фиг. 8) от осевых перемещений, а эластичный корпус элемента 24 герметично перекрывает центральный канал полой втулки 21. Вследствие этого в полости бурильных труб (не показаны) и полой штанги 8 создается избыточное давление промывочной жидкости, под действием которого полая втулка 21 (фиг. 2) разрушает срезные элементы 10 в сечении между полой штангой 8 и полой втулкой 21. Под давлением промывочной жидкости полая втулка 21 (фиг. 8) с упором 25 и зафиксированным внутри ее бросовым элементом 24 движется вниз по технологической трубе 17 до взаимодействия ниппеля 20 полой втулки 21 с седлом 19 (фиг. 5 и 8) башмака 16, надежно фиксируясь в нем замковым элементом 22 (фиг. 8) и герметизируя внутреннюю полость клина-отклонителя уплотнительным элементом 23. Освобожденные шарики 11 (фиг. 2) выталкиваются упругим элементом 39 в центральный канал 13 переходника 5, открывая ряд радиальных отверстий 12 с каналами 26 для прохода промывочной жидкости в пространство между якорем 14 (фиг. 2 и 5) и технологической трубой 17. Под действием давления промывочной жидкости якорь 14 выправляется и плотно прижимается к стенкам скважины 7 (фиг. 5). Закрепление клина-отклонителя в скважине 7 проверяют разгрузкой веса колонны бурильных труб. Затем натяжением колонны бурильных труб разрушают срезные элементы 10 (фиг. 2) в сечении между клином 1 и полой штангой 8. Извлекают полую штангу 8 (фиг. 1) с кожухом 36 на колонне труб сначала из продольного канала 3 клина 1, а потом из скважины 7 (фиг. 5). В это время верхняя плоскость 31 (фиг. 3) окончания 9 полой штанги 8 длиною, равной или больше высоты кожуха 36 (фиг. 1), движется внутри отверстия 34 (фиг. 3 и 9) клинового толкателя 33, не воздействуя на него. После снятия кожуха 36 (фиг. 1) с головки 6 клина 1 на отверстие 34 (фиг. 3 и 9) воздействует плоскость 32 окончания 9 полой штанги 8 (фиг. 3), которая за счет небольшого угла наклона по правилу параллелограмма создает большую отталкивающую силу, которая выдвигает клиновой толкатель 33 в сторону желоба 2 клина 1 и наклонной поверхности 30 проточки 29. Клиновой толкатель 33 (фиг. 6), воздействуя на наклонную поверхность 30 проточки 29 клина 1 и опираясь на поперечную плоскость переходника 5, создает большую опрокидывающую силу на основание клина 1, под действием которой клин 1 поворачивается на поперечной оси 4 (фиг. 2 и 6), отклоняется и прижимается головкой 6 к стенке скважины 7 (фиг. 5). Клиновой толкатель 33 (фиг. 3 и 6) может быть выполнен также в виде четырехугольной или многогранной формы (в нашем случае в виде ромба) в поперечном сечении, за счет чего, выдвигаясь в сторону желоба 2 клина 1, реакцией наклонной поверхности 30 (фиг. 6) проточки 29 клина 1 прижимается к переходнику 5, при этом его противоположная сторона за счет ромбовидной формы поднимается вверх и заходит в проточку 29 клина 1, надежно фиксируясь в ней. Силы, воздействующие на желоб 2 (фиг. 5) клина 1 в процессе зарезки и бурения бокового ствола (долота, калибраторы, забойные двигатели, муфты бурильных труб, цепляющиеся за нижний край центрального канала 3 клина 1 в процессе спуска в скважину), не смогут отклонить головку 6 клина 1 от стенки к центру скважины 7 и перекрыть проходное сечение ствола, так как клин 1 опирается на клиновой толкатель 33 (фиг. 6), а выталкивающая сила из-за малого угла клинового толкателя 33 очень мала, при этом противоположная сторона надежно зафиксирована в проточке 29. Таким образом, создается жестко зафиксированная система, позволяющая гарантированно удерживать клин-отклонитель в прижатом головкой 6 (фиг. 5) к стенке скважины 7 положении в процессе всего цикла строительства бокового ствола скважины 7.

[41]

При бурении скважин 7 в сложных геологических условиях, когда встречаются зоны осложнений в виде водо- и/или газопроявлений или поглощения промывочной жидкости и для их преодоления необходимо пробурить боковые (обходные) стволы с герметичным перекрытием этих зон, на поверхности якоря 14 (фиг. 1 и 5) устанавливают эластичные манжеты 35, которые при выправлении якоря 14 заполняют все неровности, имеющиеся на внутренней поверхности стенки скважины, герметично перекрывая нижнюю осложненную часть ствола, исключая все дополнительные работы по изоляции, сокращая сроки и стоимость бурения боковых стволов.

[42]

Предлагаемая конструкция клина-отклонителя для забуривания боковых стволов из необсаженных скважин позволяет производить отклонение «головы» клина к стенке скважины в процессе его установки, надежно зафиксировать и гарантированно удерживать его в таком положении в процессе всего цикла строительства бокового ствола и исключить аварийные ситуации с перекрытием проходного сечения ствола скважины клином-отклонителем, при этом обеспечивая расширение функциональных возможностей за счет герметичного перекрытия нижней осложненной части ствола скважины в процессе его установки и сокращение времени забуривания и бурения бокового ствола, что в конечном итоге позволит снизить общую стоимость строительства скважин в сложных геологических условиях.

Как компенсировать расходы
на инновационную разработку
Похожие патенты