патент
№ RU 2672516
МПК F16C27/04

Упругая опора подшипника качения высокооборотного ротора

Авторы:
Ивашин Александр Фёдорович
Номер заявки
2017144480
Дата подачи заявки
18.12.2017
Опубликовано
15.11.2018
Страна
RU
Как управлять
интеллектуальной собственностью
Чертежи 
4
Реферат

Изобретение относится к области машиностроения, в частности к подшипникам качения, и касается динамической устойчивости роторов. Может найти применение в устройствах с подшипниками качения роторов турбонасосных агрегатов, к которым предъявляются требования по герметичности при вибрационных нагрузках. Упругая опора содержит корпус (2) опоры, подшипник качения (3), установленную по наружному кольцу подшипника втулку (4) с возможностью радиального перемещения. Втулка (4) содержит равномерно расположенные по окружности фиксаторы (5). На внешней поверхности втулки (4) установлен демпфер, выполненный в виде упругого кольца (6) из гомогенного материала, снабженного с двух сторон выступами, равномерно расположенными по окружности в шахматном порядке. Разность между диаметрами кольца (D-D) по выступам составляет 2-3% от наружного диаметра. Ширина выступа S составляет 1-2% от длины окружности по наружному диаметру кольца. Превышение выступа над минимальным сечением Sкольца составляет 5-8%. Минимальное сечение Sкольца расположено на оси симметрии смежных наружного и внутреннего выступов, а образующие выступов сопряжены с образующими минимального сечения кольца радиусами. Технический результат: снижение нагрузки на упругую опору подшипника качения, что гарантирует ее надежность; исключение заклинивания ротора при вращении; обеспечение герметичности по уплотнениям; исключение появления резонансного режима с сохранением стабильности амплитуды колебаний и эксплуатационных зазоров между ротором и корпусом. Высокие демпфирующие свойства опоры способствуют повышению надежности высокооборотных роторов. 4 ил.

Формула изобретения

Упругая опора подшипника качения высокооборотного ротора, содержащая корпус опоры, подшипник качения, установленную по наружному кольцу подшипника втулку с возможностью радиального перемещения, содержащую равномерно расположенные по окружности фиксаторы и установленный на ее внешней поверхности демпфер, отличающаяся тем, что демпфер выполнен в виде упругого кольца из гомогенного материала, снабженного с двух сторон выступами, равномерно расположенными по окружности в шахматном порядке, где разность между диаметрами кольца (D1-D2) по выступам составляет 2-3% от наружного диаметра, ширина выступа S составляет 1-2% от длины окружности по наружному диаметру кольца, превышение выступа над минимальным сечением S1 составляет 5-8%; минимальное сечение S1 кольца расположено на оси симметрии смежных наружного и внутреннего выступов, а образующие выступов сопряжены с образующими минимального сечения кольца радиусами.

Описание

[1]

Изобретение относится к области машиностроения, в частности к подшипникам качения, и касается динамической устойчивости роторов. Может найти применение в устройствах с подшипниками качения роторов турбонасосных агрегатов, к которым предъявляются требования по герметичности при вибрационных нагрузках.

[2]

Известны устройства упругих подшипниковых опор роторов машин и оборудования, где ротор установлен в корпусе на подшипниках качения с упругим элементом:

[3]

1. Упругая опора качения. [1. А.с.SU 1213274 А, МПК F16C 27/00. Упругая опора качения / Барков А.В., Родионов Е.С. - Опубл. 23.02.86. Бюл. №7.], где упругий элемент выполнен в виде роликового подшипника с пустотелыми упругими роликами, содержащими расположенные в чередующем порядке демпфирующие элементы и упругие ограничители прогиба стенок ролика.

[4]

Недостатки указанного устройства:

[5]

- невозможно ожидать классического положения элементов конструкции, как на фиг. 1 [1], даже теоретически, так как их свободе перемещения нет препятствий. Из этого очевидно, что положение демпфирующих элементов и упругих ограничителей прогиба стенок роликов, как на фиг. 2, будет хаотичным и относительным, а «…деформация сдвига демпфирующих элементов за счет относительного перемещения ограничителей прогиба…» [1] вследствие взаимного защемления вызовет также хаотичную деформацию роликов с непредсказуемыми величинами колебаний ротора, тем более при резонансных частотах;

[6]

- из первого недостатка следует основной - в указанной опоре качения не может быть обеспечена стабильность амплитуды колебаний ротора в связи с тем, что каждый ролик при обилии элементов разной жесткости будет иметь индивидуальные величины упругости, удельные нагрузки и параметры демпфирования.

[7]

2. Известна также виброизолирующая опора [2. Пат. RU 2432507 С1, МПК F16C 27/04, F16C 35/06. Виброизолирующая опора / Мишанин С.В., Голубев П.И., Корякин Ю.М., Мишанин Г.С., Фомченко В.А., Вальков А.А., Иванова Л.И. - Опубл. 27.10.2011. Бюл. №30.], где упругий элемент выполнен в виде одной или нескольких деталей из нетканого пористого проволочного материала при многовариантных комбинациях опор, в том числе из различных групп деталей, отличающихся жесткостью.

[8]

Недостатки указанного устройства:

[9]

- при наработке ресурса вследствие релаксации напряжений в проволоке пористого материала он уплотнится с изменением формы, упругости и увеличением амплитуды колебаний ротора при отсутствии ее стабильности, кроме того при деформации материала проблематично создать стабильным натяг в подшипнике;

[10]

- при обилии элементов упругости разной жесткости недостатки аналогичны [1], поэтому в связи с отсутствием стабильности перечисленных выше параметров отбор на выборочные испытания для подтверждения качества при партионном изготовлении теряет смысл;

[11]

- разбивка на группы при множестве вариантов упругой опоры делает ее слишком сложной для практического применения, особенно для высокооборотных роторов, учитывая и выше изложенные недостатки;

[12]

- для изготовления проволочного упругого материала требуется специальное оригинальное технологическое оборудование и технологический процесс по приемке готовой продукции.

[13]

3. Известна упругая подшипниковая опора вала [3. А.с. SU 1803622 А1, МПК F16C 27/04. Упругая подшипниковая опора вала / Волобуев Е.В., Выборнов В.Г., Киселев Д.В., Минаев А.А., Немцов В.В., Семенов В.М., Белоцерковский М.А., Сахнович В.Т. - Опубл. 23.03.93. Бюл. №11.], где упругий элемент выполнен в виде многослойной упругой втулки из металлических нитей, изготавливаемый по специальной технологии.

[14]

Недостатки указанного устройства аналогичны [2], кроме того, не рассматривается снижение амплитуды колебаний, что важно в том случае, когда присутствуют требования по герметичности агрегата.

[15]

4. Также известна виброизоляционная подвеска ротора машин и оборудования [4. Пат. RU 2440518 С1, МПК F16C 27/04. Виброизоляционная подвеска ротора машин и оборудования / Валеев А.Р., Зотов А.Н. - Опубл. 20.01.2012. Бюл. №2.], где упругий элемент подшипника выполнен в виде двух внутренних и двух внешних полуколец, опирающихся на пластины, установленные между полукольцами диаметрально относительно подшипника. Недостаток устройства: сложная подвеска с перенастройкой жесткости не обеспечивает требований по минимизации и стабильности амплитуды колебаний, что в высокооборотных роторах является одним из основных условий.

[16]

5. Известен подшипник качения [5. А.с. SU 1016579 А, МПК F16C 27/04. Подшипник качения / Андреев Ю.А., Богорад Э.Е., Гуляев В.Я., Генкин В.В., Лебедев А.С, Кельзон А.С, Никитин А.А. - Опубл. 07.05.83. Бюл. №17.], где подшипник содержит наружое кольцо как упругий элемент, выполненный в виде концентричных колец, установленных с зазором, причем среднее из этих колец соединено одним торцом с наружным, а другим торцом с внутренним кольцом перемычками, расположенными относительно друг друга в шахматном порядке.

[17]

Недостатки:

[18]

- из описания понятно, что указанная упругая опора не может быть реализована в тех устройствах, где габариты и масса имеют определяющее значение, так как кольцевые канавки между кольцами не могут быть выполнены на универсальном оборудовании с высоким качеством ввиду малого отношения ширины канавок к глубине;

[19]

- изготовление данного специального подшипника нерентабельно и исключает применение стандартного высокоточного подшипника, что целесообразнее как с точки зрения качества, так и в эксплуатации при необходимой замене подшипника.

[20]

6. В справочнике [6. Вибрации в технике: Справочник в 6-ти т.Т. 3. Колебания машин, конструкций и их элементов / Под ред. Ф.М. Диментберга, К.С. Колесникова. - М.: Машиностроение, 1980. - С. 285-287, рис. 8, 9, 10.] упругий элемент опоры ротора представлен в виде кольца, установленного между наружной обоймой подшипника и корпусом, снабженного с двух сторон выступами, расположенными по окружности в шахматном порядке.

[21]

Недостатки:

[22]

- отсутствует компенсатор радиального смещения опоры ротора, обязательно необходимого при допустимых отклонениях в конструкции. В опоре возникает повышенная односторонняя динамическая нагрузка, усугубляемая присутствующим дисбалансом масс ротора - это отрицательно влияет на ресурс и надежность агрегата;

[23]

- экспериментальными исследованиями, имитирующими транспортные и эксплуатационные нагрузки агрегата, определено, что опора по [6. Рис. 9.] и по соответствующей упругой характеристике [6. Рис. 8б.] не снимает полностью частоты резонансных режимов и при проходе через резонанс не ограничивает амплитуды колебаний, создавая аварийную ситуацию с объектом.

[24]

Ближайшим устройством, выбранным в качестве прототипа, принята упругодемпферная опора ротора [7. Пат. RU 2099606 С1, МПК F04D 29/04, F16C 27/04. Упругодемпферная опора ротора / Дмитренко А.И., Якубенко П.В. - Опубл. 20.12.1997.], содержащая корпус опоры, подшипник качения, на наружном кольце подшипника установлена втулка с возможностью радиального перемещения, содержащая равномерно расположенные по окружности фиксаторы, на внешней поверхности втулки установлен демпфер. Недостаток: демпфер из набора упругих пластин, свернутых в пакет, не может обеспечить стабильности амплитуды колебаний ротора ввиду широкого спектра суммарной жесткости пакета, состоящего из множества элементов разной жесткости, что необходимо для обеспечения герметизации роторов и сохранения зазоров между ротором и корпусом.

[25]

Таким образом, аналоги и прототип содержат общий недостаток: не обеспечивают стабильную амплитуду колебаний при ее минимальном значении. К тому же, аналоги не снимают полностью частоты резонансных режимов.

[26]

Задачей, на решение которой направлено предлагаемое изобретение, заключается в обеспечении следующих требований к упругой опоре подшипника качения высокооборотного ротора:

[27]

- обеспечение стабильности амплитуды колебаний ротора в опоре при ее минимальном значении;

[28]

- исключение частоты резонансных режимов;

[29]

- обеспечение условий по герметичности агрегата во всем диапазоне частот при транспортных и эксплуатационных нагрузках;

[30]

- сохранение зазоров между ротором и корпусом в течение всего периода эксплуатации.

[31]

В предлагаемом техническом решении упругая опора содержит корпус опоры, подшипник качения, установленную по наружному кольцу подшипника втулку с возможностью радиального перемещения. Втулка содержит равномерно расположенные по окружности фиксаторы. На внешней поверхности втулки установлен демпфер, выполненный в виде упругого кольца из гомогенного материала, снабженного с двух сторон выступами, равномерно расположенными по окружности в шахматном порядке. Разность между диаметрами кольца (D1-D2) по выступам составляет 2-3% от наружного диаметра. Ширина выступа S составляет 1-2% от длины окружности по наружному диаметру кольца. Превышение выступа над минимальным сечением S1 кольца составляет 5-8%, минимальное сечение S1 кольца расположено на оси симметрии смежных наружного и внутреннего выступов, а образующие выступов сопряжены с образующими минимального сечения кольца радиусами R.

[32]

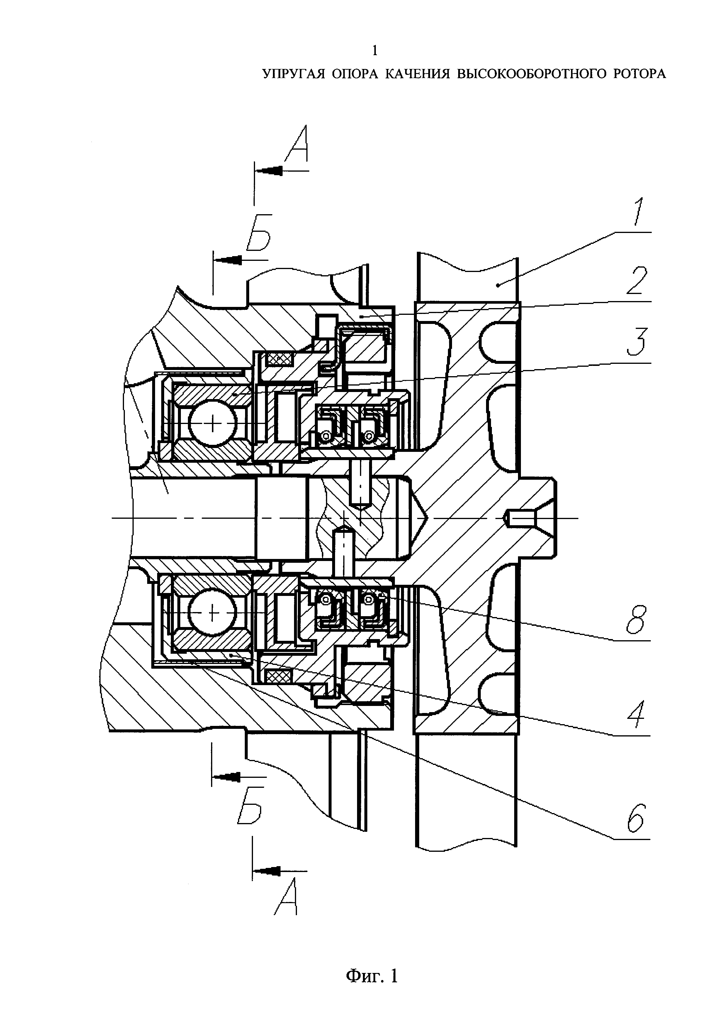
Сущность предполагаемого изобретения поясняется чертежами. На фиг. 1, 2, 3 представлено устройство упругой опоры подшипника качения высокооборотного ротора. Ротор 1 установлен в корпусе опоры 2 на подшипнике 3, по наружному кольцу которого установлена втулка 4 с возможностью радиального перемещения. Втулка содержит фиксаторы 5, на внешней поверхности втулки 4 установлено упругое кольцо 6, снабженное с двух сторон выступами 7, равномерно расположенными по окружности в шахматном порядке. Кроме того, опора снабжена уплотнениями 8, герметизирующими полости агрегата от внешней среды.

[33]

На фиг. 4 показана конфигурация упругого кольца 6 со следующими параметрами:

[34]

- разность (D1-D2) составляет 2-3% от диаметра D1;

[35]

- ширина выступа S составляет 1-2% от длины окружности по диаметру D1;

[36]

- превышение выступа 7 над минимальным сечением S1 составляет 5-8%;

[37]

- минимальное сечение S1 расположено на оси симметрии смежных наружного и внутреннего выступов 7;

[38]

- образующие выступов 7 сопряжены с образующими минимального сечения S1 кольца радиусом R.

[39]

Указанные соотношения параметров упругого кольца из гомогенного материала подтверждены испытаниями упругой опоры подшипника качения высокооборотного ротора с имитацией транспортных и эксплуатационных нагрузок [8. Выписка из ПРОТОКОЛА №8 от 29 ноября 2017 года испытаний упругой опоры: характеристика упругой опоры P=f(δ). - Оренбург. - 2017. -1 с.].

[40]

Принцип действия упругой опоры. При вращении ротор 1 под действием динамических нагрузок от дисбаланса совместно с подшипником 3 и втулкой 4 перемещается в радиальном направлении, поджимая упругое кольцо 6 в направлении перемещения, вектор которого смещается по окружности следом за направлением дисбаланса. Проворачивание кольца 6 невозможно без поворота втулки 4, проворачивание которой исключается фиксаторами 5, тогда как в радиальном направлении втулка 4 имеет возможность перемещения в пределах упругой податливости кольца 6. Перечисленные действия обеспечивают постоянство окружных усилий от ротора на опору, обеспечивая высокие демпфирующие свойства упругого кольца, герметичность по уплотнению ротора, исключают заклинивание ротора при вращении в течение всего периода эксплуатации.

[41]

Технический результат:

[42]

- упругая опора обладает высокими демпфирующими свойствами, способствующими повышению надежности высокооборотного ротора;

[43]

- обеспечена стабильная амплитуда колебаний при ее минимальном значении, соответствующем сохранению условий герметичности уплотнения по ротору;

[44]

- обеспечена нелинейность характеристики демпфера [6. С.286, рис. 8в], чем исключено появление резонансного режима с сохранением стабильности амплитуды колебаний и эксплуатационных зазоров между ротором и корпусом.

[45]

Сопоставительный анализ заявляемого технического решения с прототипом и аналогами показывает, что устройство в указанном исполнении обладает рядом преимуществ:

[46]

- снижены нагрузки на опору;

[47]

- гарантирована надежность упругой опоры подшипника качения высокооборотного ротора;

[48]

- исключается заклинивание ротора при вращении во всем диапазоне эксплуатации;

[49]

- обеспечивается герметичность по уплотнениям в пределах требований к объекту применения.

[50]

Предлагаемое устройство упругой опоры подшипника качения высокооборотного ротора может быть выполнено с помощью стандартного оборудования и материалов отечественного производства. Таким образом, заявленное устройство соответствует критерию «промышленная применимость».

[51]

Источники, принятые во внимание

[52]

1. А.с. SU 1213274 А, МПК F16C 27/00. Упругая опора качения / Барков А.В., Родионов Е.С. - Опубл. 23.02.86. Бюл. №7.

[53]

2. Пат. RU 2432507 С1, МПК F16C 27/04, F16C 35/06. Виброизолирующая опора / Мишанин С.В., Голубев П.И., Корякин Ю.М., Мишанин Г.С., Фомченко В.А., Вальков А.А., Иванова Л.И. - Опубл. 27.10.2011. Бюл. №30.

[54]

3. А.с. SU 1803622 А1, МПК F16C 27/04. Упругая подшипниковая опора вала / Волобуев Е.В., Выборнов В.Г., Киселев Д.В., Минаев А.А., Немцов В.В., Семенов В.М., Белоцерковский М.А., Сахнович В.Т. - Опубл. 23.03.93. Бюл. №11.

[55]

4. Пат. RU 2440518 С1, МПК F16C 27/04. Виброизоляционная подвеска ротора машин и оборудования / Валеев А.Р., Зотов А.Н. - Опубл. 20.01.2012. Бюл. №2.

[56]

5. А.с. SU 1016579 А, МПК F16C 27/04. Подшипник качения / Андреев Ю.А., Богорад Э.Е., Гуляев В.Я., Генкин В.В., Лебедев А.С, Кельзон A.С, Никитин А.А. - Опубл. 07.05.83. Бюл. №17.

[57]

6. Вибрации в технике: Справочник в 6-ти т. Т. 3. Колебания машин, конструкций и их элементов / Под ред. Ф.М. Диментберга, К.С.Колесникова. - М.: Машиностроение, 1980. - 544 с.

[58]

7. Пат. RU 2099606 С1, МПК F04D 29/04, F16C 27/04. Упругодемпферная опора ротора / Дмитренко А.И., Якубенко П.В. - Опубл. 20.12.1997.

[59]

8. Выписка из ПРОТОКОЛА №8 от 29 ноября 2017 года испытаний упругой опоры: характеристика упругой опоры P=f(δ). - Оренбург. - 2017. - 1 с.

[60]

9. Пат. RU 2508482 С1, МПК F16C 27/00, F16C 27/04. Упругая подшипниковая опора / Насибуллин Р.А. - Опубл. 27.02.2014. Бюл. №6.

[61]

10. А.с. SU 1229472 А1, МПК F16C 27/04. Демпферная опора / Осадченко B.C. - Опубл. 07.05.86. Бюл. №17.

[62]

11. А.с. SU 1448136 А2, МПК F16C 27/04. Упругая опора / Рогачев B.М., Иевлев В.В. - Опубл. 30.12.88. Бюл. №48.

[63]

12. Овсянников Б.В. Теория и расчет агрегатов питания жидкостных ракетных двигателей: Учебник для авиац. вузов / Б.В. Овсянников, Б.И. Боровский. - М.: Машиностроение, 1986. - 376 с.

Как компенсировать расходы
на инновационную разработку
Похожие патенты