заявка
№ WO 2009152958
МПК B60T8/36

PRESSURE CONTROL VALVE ARRANGEMENT HAVING DIAPHRAGM VALVES FOR CONTROLLING A FLUID PRESSURE IN AN ABS BRAKE SYSTEM OF A VEHICLE, HAVING DIAPHRAGMS ARRANGED IN PARALLEL PLANES OR IN COPLANAR FASHION

Авторы:
EIDENSCHINK, Rainer GERBER, Wilfried RÖTHER, Friedbert
Все (4)
Номер заявки
EP2009003997
Дата подачи заявки
04.06.2009
Опубликовано
23.12.2009
Страна
WO
Дата приоритета
16.12.2025
Номер приоритета
Страна приоритета
Как управлять
интеллектуальной собственностью
Чертежи 
4
Реферат

[0000]

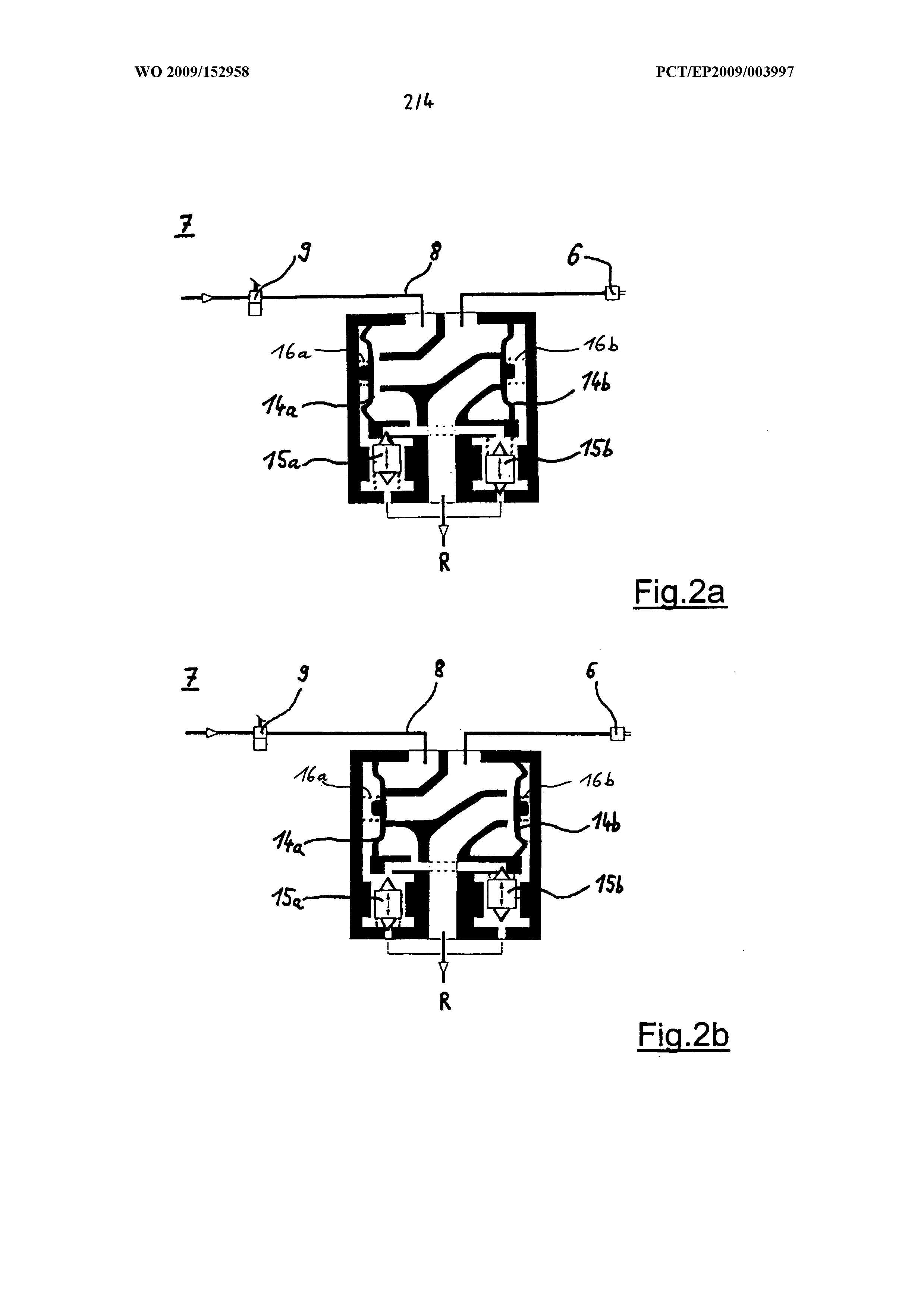
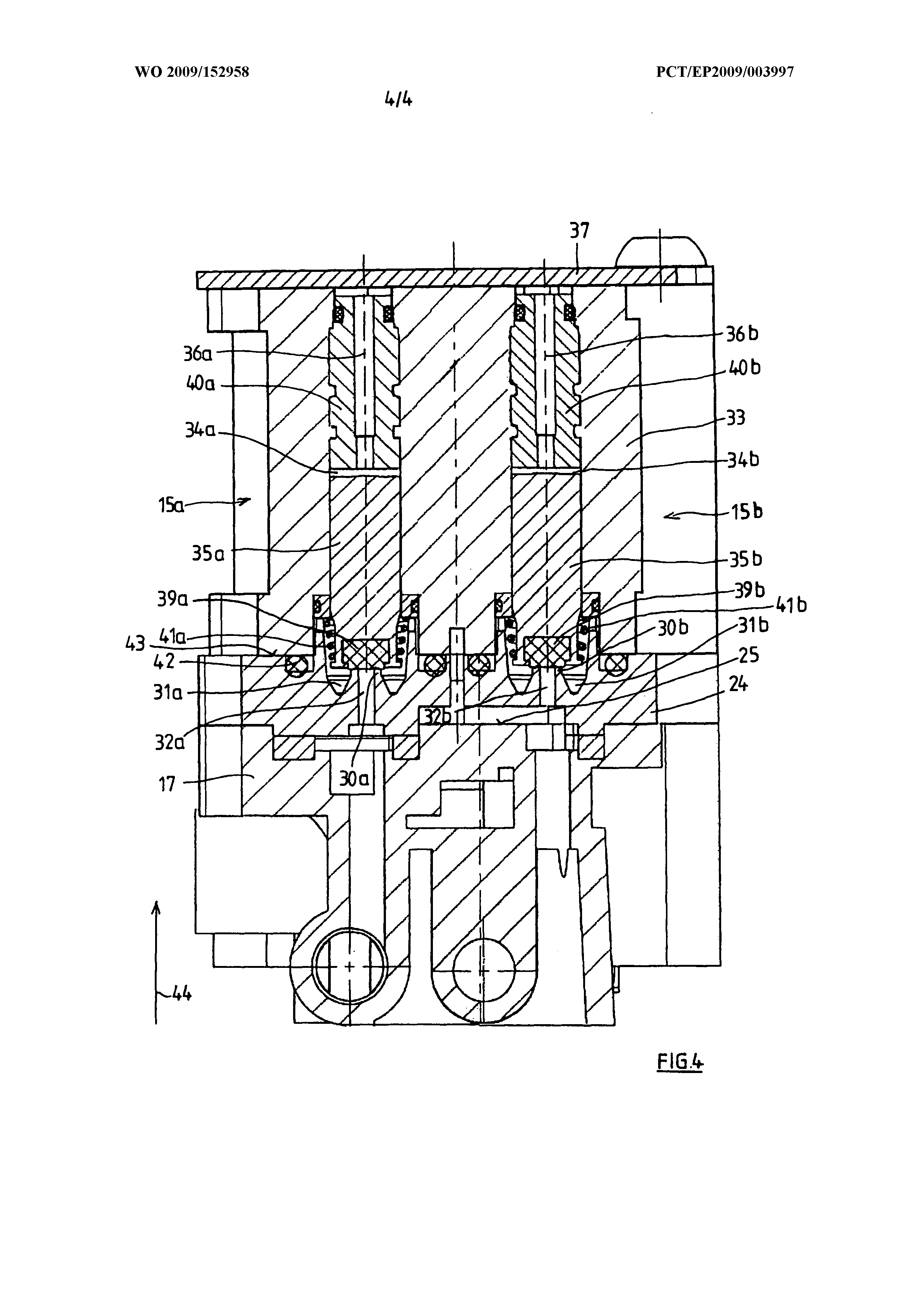
The invention relates to a pressure control valve arrangement (7) for controlling the fluid pressure in an ABS brake system of a vehicle in such a way that, in the event of a tendency of individual wheels (3a, 3b; 4a, 4b) of the vehicle to lock, the brake pressure in associated brake cylinders (6a to 6d) can be adaptively adjusted, wherein at least two diaphragm valves (14a, 14b), which have diaphragms (20a, 20b) which are loaded by spring elements (16a, 16b), and also at least one electromagnetic control valve (15a, 15b), which can be activated by an electronic control device (10) for the pilot control of the diaphragm valves (14a, 14b), are provided in a housing (18) of the pressure control valve arrangement (7). The invention provides that openings (19a, 19b) for inserting or inlaying the diaphragms (20a, 20b) are provided in a surface (25) of a housing part (17) of the housing (18), and edges (22a, 22b) of the diaphragms (20a, 20b) are held between opening edges (23a, 23b) of the openings (19a, 19b) and a further housing part (24) of the housing (18), wherein the opening edges (23a, 23b) of the openings (19a, 19b) lie in a common plane or in parallel planes, and the surface normals of the opening edges (23a, 23b) of the openings (19a, 19b) point in the same direction.

Формула изобретения

Описание

Как компенсировать расходы
на инновационную разработку
Похожие патенты