заявка
№ WO 2000001829
МПК C12N15/53

FORMALDEHYDE DEHYDROGENASE GENES FROM METHYLOTROPHIC YEASTS

Авторы:
CREGG, James, M.
Номер заявки
US9915016
Дата подачи заявки
02.07.1999
Опубликовано
13.01.2000
Страна
WO
Дата приоритета
15.12.2025
Номер приоритета
Страна приоритета
Как управлять
интеллектуальной собственностью
Чертежи 
12
Реферат

[80]

[81]

Формула изобретения

What is claimed is:

1. An isolated nucleic acid comprising a formaldehyde dehydrogenase gene ( FLD) from a methylotrophic yeast. 2. An isolated nucleic acid comprising a formaldehyde dehydrogenase gene ( FLD) from a methylotrophic yeast wherein said isolated nucleic acid hybridizes under low stringency conditions to at least one of the nucleotide sequence set forth in SEQ ID NO:l, the nucleotide sequence set forth in SEQ ID NO: 5, or a nucleotide sequence complementary to the nucleotide sequence set forth in SEQ ID NOs : 1 or 5.

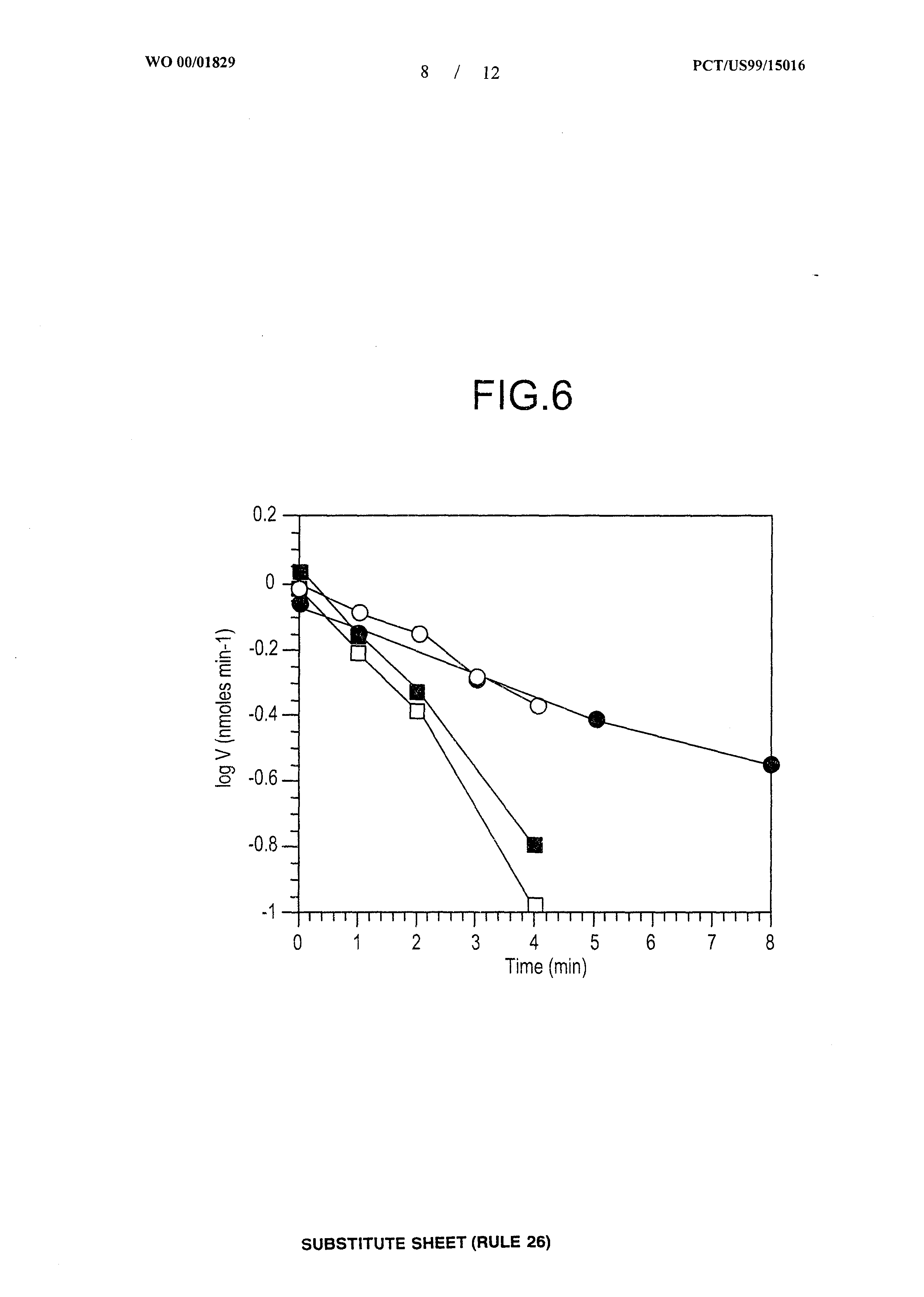
3. The isolated nucleic acid of Claim 2 having a length of about 2 Kb to about 3.5 kb. 4. The isolated nucleic acid of Claim 2 having a length of about 2.5 Kb to about 3.5 kb.

5. An isolated nucleic acid comprising an FLD gene having the restriction map as set forth in Figure 7 or having the restriction map shown in the cross hatched area of Figure 10.

6. An isolated nucleic acid comprising an FLD gene from a methylotrophic yeast, said isolated nucleic acid having a coding sequence with a sequence homology of about 70% to about 85% when compared to the nucleotide sequence set forth in SEQ ID NO: 5.

7. An isolated nucleic acid comprising an FLD gene from a methylotrophic yeast, said isolated nucleic acid having a coding sequence with a sequence homology of

-78-

SUBST1TUTE SHEET (RULE 26) about 85% to about 95% when compared to the nucleotide sequence set forth in SEQ ID NO: 5.

8. An isolated nucleic acid comprising an FLD gene from a methylotrophic yeast, said isolated nucleic acid having a coding sequence with a sequence homology of greater than about 95% when compared to the nucleotide sequence set forth in SEQ ID NO: 5.

9. An isolated nucleic acid comprising the sequence set forth in SEQ ID NO: 1 or SEQ ID NO: 5. 10. An isolated nucleic acid from a methylotrophic yeast comprising an FLD promoter, said promoter upstream from the translational start codon of an FLD gene, wherein the coding sequence of said FLD gene has a sequence homology of about 70% to about 85% when compared to the nucleotide sequence of the FLD coding sequence set forth in SEQ ID NO: 5.

11. An isolated nucleic acid from a methylotrophic yeast comprising an FLD promoter, said promoter located upstream from the translational start codon of an FLD gene, wherein the coding sequence of said FLD gene has a sequence homology of about 85% to about 95% when compared to the nucleotide sequence of the FLD coding sequence set forth in SEQ ID NO: 5.

12. An isolated nucleic acid from a methylotrophic yeast comprising an FLD promoter, said promoter located upstream from the translational start codon of an FLD gene, wherein the coding sequence of said FLD gene has a sequence homology of greater than about 95% when compared to the nucleotide sequence of the FLD coding sequence set forth in SEQ ID NO: 5.

13. The isolated nucleic acid of any one of Claims 10-12 comprising about 600 base pairs or more of nucleotide sequence.

14. An isolated nucleic acid comprising the sequence set forth in SEQ ID NO : 3.

15. An isolated nucleic acid comprising an FLD promoter having the restriction map set forth in Figure 8.

16. An isolated nucleic acid comprising an FLD 3' termination sequence from a methylotrophic yeast, said 3 ' termination sequence located downstream from the translational stop codon of an FLD gene, wherein the coding sequence of said FLD gene has a sequence homology of at about 70% to about 85% when compared to the nucleotide sequence of the FLD coding sequence set forth in SEQ ID NO : 5.

17. An isolated nucleic acid comprising an FLD 3' termination sequence from a methylotrophic yeast, said

3 ' termination sequence located downstream from the translational stop codon of an FLD gene, wherein the coding sequence of said FLD gene has a sequence homology of at about 85% to about 95% when compared to the nucleotide sequence of the FLD coding sequence set forth in SEQ ID NO: 5.

18. An isolated nucleic acid comprising an FLD 3' termination sequence from a methylotrophic yeast, said 3 ' termination sequence located downstream from the translational stop codon of an FLD gene, wherein the coding sequence of said FLD gene has a sequence homology of greater than about 95% when compared to the nucleotide sequence of the FLD coding sequence set forth in SEQ ID NO : 5.

19. The isolated nucleic acid of any one of Claims 16-18 wherein the 3 ' termination comprises about 300 base pairs or more of nucleotide sequence.

20. An isolated nucleic acid comprising the sequence set forth in SEQ ID NO: 4.

21. An isolated nucleic acid comprising an FLD gene wherein said FLD gene encodes a product having an amino acid sequence identity of about 30% to about 49% when compared to the amino acid sequence as set forth in SEQ ID NO: 2.

22. An isolated nucleic acid comprising an FLD gene wherein said FLD gene encodes a product having an amino acid sequence identity of about 50% to about 90% when compared to the amino acid sequence as set forth in SEQ ID NO : 2.

23. An isolated nucleic acid comprising an FLD gene wherein said FLD gene encodes a product having an amino acid sequence identity of greater than about 90% when compared to the amino acid sequence as set forth in SEQ ID NO : 2.

24. An isolated nucleic acid comprising at least one of a promoter, coding sequence or 3 ' termination sequence from an FLD gene wherein said FLD gene encodes a product having an amino acid sequence identity of about 30% to about 49% when compared to the amino acid sequence as set forth in SEQ ID NO: 2.

25. An isolated nucleic acid comprising at least one of a promoter, coding sequence or 3' termination sequence from an FLD gene wherein said FLD gene encodes a product having an amino acid sequence identity of about 50% to about 90% when compared to the amino acid sequence as set forth in SEQ ID NO: 2.

26. An isolated nucleic acid comprising at least one of a promoter, coding sequence or 3' termination sequence from an FLD gene wherein said FLD gene encodes a product having an amino acid sequence identity of greater than about 90% when compared to the amino acid sequence as set forth in SEQ ID NO: 2.

27. An isolated nucleic acid comprising at least one of a promoter, coding sequence or 3' termination sequence of an FLD gene, wherein said FLD gene encodes a product having the amino acid sequence set forth in SEQ ID NO: 2.

28. A vector comprising the isolated nucleic acid of any one of claims 1-12, 14-18, or 20-27.

29. A host cell comprising the isolated nucleic acid of any one of claims 1-12, 14-18, or 20-27. 30. A host cell comprising the vector of Claim

28.

31. The host cell of claim 29 wherein the host cell is a bacterial or yeast cell.

-82-

SUBST1TUTE SHEET (RULE 26) 32. The host cell of Claim 30 wherein the host cell is a bacterial cell or yeast cell.

33. An expression cassette which comprises the promoter of any one of Claims 10-12 or 24-26 wherein said promoter is operably linked to a nucleic acid encoding a heterologous gene.

34. The expression cassette of Claim 33 wherein the heterologous gene is human serum albumin, invertase, bovine lysozyme, human EGF, mouse EGF, aprotinin, Kunitz protease inhibitor, Hepatitis B surface antigen, tumor necrosis factor, tetanus toxin fragment C, pertussis antigen P69, streptokinase, β-galactosidase, or Bacillus sp . crystal protein toxin.

35. The expression cassette of Claim 33 further comprising a 3' termination sequence.

36. An expression cassette of which comprises the promoter of any one of Claims 10-12 or 24-26 wherein said promoter is operably linked to a nucleic acid encoding a heterologous gene and wherein the nucleic acid encoding a heterologous gene is operably linked at its 3 ' end to any one of the 3 ' termination sequences of Claims 16-18 or 24-26.

37. The expression cassette of Claim 35 wherein the 3 ' termination sequence is that of the AOXl gene, the p40 gene, or HIS4 gene.

38. An expression vector which comprises an expression cassette according to Claim 33.

39. An expression vector which comprises an expression cassette according to Claim 35.

-83-

SUBST1TUTE SHEET (RULE 26) 40. An expression vector which comprises an expression cassette according to Claim 36.

41. An expression vector which comprises an expression cassette according to Claim 37. 42. A host cell comprising an expression cassette according to Claim 33.

43. A host cell comprising an expression cassette according to Claim 35.

44. A host cell comprising an expression cassette according to Claim 36.

45. A host cell comprising an expression cassette according to Claim 37.

46. A host cell comprising an expression vector according to Claim 38. 47. A host cell comprising an expression vector according to Claim 39.

48. A host cell comprising an expression vector according to Claim 40.

49. A host cell comprising an expression vector according to Claim 41.

50. The host cell of Claim 46 wherein said host cell is a methylotrophic yeast cell.

51. The host cell of Claim 47 wherein said host cell is a methylotrophic yeast cell. 52. The host cell of Claim 48 wherein said host cell is a methylotrophic yeast cell.

53. The host cell of Claim 49 wherein said host cell is a methylotrophic yeast cell. 54. The host cell of Claim 46 wherein the methylotrophic yeast cell is from the genus Pi chia , Candida, Hansenula, or Torulopsis .

55. The host cell of Claim 47 wherein the methylotrophic yeast cell is from the genus Pi chia,

Candida, Hansenula, or Torulopsis .

56. The host cell of Claim 48 wherein the methylotrophic yeast cell is from the genus Pichia , Candida, Hansenula, or Torulopsis . 57. The host cell of Claim 49 wherein the methylotrophic yeast cell is from the genus Pichia , Candida, Hansenula, or Torulopsis .

58. A method for directing expression of a heterologous gene in a methylotrophic yeast which comprises : a) introducing into a methylotrophic yeast cell an isolated nucleic acid comprising an FLD promoter isolated from a methylotrophic yeast, said promoter operably linked at its 3 ' end to the 5 ' end of a heterologous gene, said heterologous gene operably linked at its 31 end to the 5' end of a termination sequence which functions in a methylotrophic yeast; b) growing said methylotrophic yeast cell in a medium having a suitable carbon source such as glycerol or glucose, and having a suitable nitrogen source such as an ammonium salt or ammonium hydroxide, and after the carbon or nitrogen source is depleted; c) inducing expression of said heterologous gene by addition of methanol or methylamine or both methanol and methylamine .

59. A method for directing expression of a heterologous gene in a methylotrophic yeast which comprises : a) introducing into a methylotrophic yeast cell an isolated nucleic acid comprising an FLD promoter isolated from a methylotrophic yeast, said promoter operably linked at its 3' end to the 5' end of a heterologous gene, said heterologous gene operably linked at its 3' end to the 5' end of a termination sequence which functions in a methylotrophic yeast; b) growing said methylotrophic yeast cell in a medium having a suitable carbon source such as glycerol or glucose, having a suitable nitrogen source such as an ammonium salt or ammonium hydroxide, and after the carbon or nitrogen source is depleted; c) inducing expression of said heterologous gene by addition of formaldehyde, formate, or a methylated amine .

60. The method of Claim 59 wherein the methylated amine is choline.

61. A method for selecting a formaldehyde resistant host cell which comprises: a) transforming a methylotrophic yeast cell with a vector comprising an FLD gene, said FLD gene operably linked on its 5 ' end to an FLD promoter or a heterologous promoter which functions in said yeast cell, said FLD gene operably linked on its 3 ' end to a 3 ' termination sequence which functions in said yeast cell, b) growing said host cell in the presence of formaldehyde; and c) selecting a transformed yeast cell which grows in the presence of formaldehyde.

62. A strain of methylotrophic yeast which is defective in an FLD gene ( fid) .

63. A strain of methylotrophic yeast according to Claim 62 wherein said strain is Pichia pastoris GS241

( fldl -1 ) .

64. A strain of methylotrophic yeast which is defective in an FLD gene and auxotrophic for another biosynthetic gene. 65. A strain of methylotrophic yeast according to Claim 64 wherein said strain is auxotrophic for histidine (HIS") .

66. A strain of methylotrophic yeast according to Claim 65 wherein said strain is Pichia pas toris MS105 ( fldl -1 his4 ) .

67. A kit which comprises: a) an expression cassette comprising an FLD promoter and a 3 ' termination sequence which functions in a methylotrophic yeast, wherein at least one restriction site is located between the FLD promoter and 3 ' termination sequence so that a heterologous gene may be inserted and operably linked to said promoter and said 3 ' termination sequence; and

-87-

SUBST1TUTE SHEET (RULE 26) b) a vector which replicates in a methylotrophic yeast or which integrates into the genome of a methylotrophic yeast, said vector comprising a marker gene and one or more restriction sites for insertion of said cassette.

68. A kit which comprises: an expression vector comprising an FLD gene from a methylotrophic yeast as a marker gene and an expression cassette wherein said expression cassette comprises a promoter and a 3 ' termination sequence which functions in a methylotrophic yeast, and wherein at least one restriction site is located between the promoter and 3 ' termination sequence so that a heterologous gene may be inserted and operably linked to said promoter and said 3' termination sequence. 69. A kit according to Claim 68 wherein the promoter is the Pichia pastoris AOXl promoter.

70. A kit according to Claim 68 wherein the 3' termination sequence is the Pichia pastoris AOXl 3 ' termination sequence.

Описание

[0001]

FORMALDEHYDE DEHYDROGENASE GENES FROM METHYLOTROPHIC YEASTS

[0002]

BACKGROUND OF THE INVENTION

[0003]

Pichia is a methylotrophic yeast that is widely used for the production of heterologous proteins of industrial and academic interest (Cregg, 1998; Higgins and Cregg, 1998) . FLD is an important enzyme in the utilization of methanol as a carbon and energy source (Veenhuis et al . , 1983). In methylotrophic yeasts, the methanol metabolic pathway is thought to be nearly the same, beginning with the oxidation of methanol to formaldehyde by alcohol oxidase (AOX) , a hydrogen peroxide-producing oxidase that is sequestered in an organelle called the peroxisome. Hydrogen peroxide is then degraded to oxygen and water by catalase, the classic peroxisomal marker enzyme. A portion of the resulting formaldehyde condenses with xylulose-5'- monophosphate in a reaction catalyzed by dihydroxyacetone synthase (DAS) , the third peroxisomal methanol pathway enzyme. The products of this reaction, glyceraldehyde-3- phosphate (GAP) and dihydroxyacetone, then leave the peroxisome and enter a cyclic pathway that regenerates xylulose-5 ' -monophosphate and also generates one net molecule of GAP for every three turns of the cycle. GAP" is used for biosynthesis of carbon skeletons for cell growth. Another portion of the formaldehyde leaves the peroxisome and is oxidized to formate by formaldehyde dehydrogenase (FLD) and then to carbon dioxide by formate dehydrogenase (FDH) . Both of these reactions produce reducing power in the form of NADH. One model of FLD function is that the NADH generated by FLD and FDH serves as the primary source of energy during growth on methanol (Veenhuis et al . , 1983) . The second model proposes that most energy for methanol growth comes from the oxidation of one or more of the xylulose-5 ' -monophosphate cycle intermediates by tricarboxcylic acid cycle enzymes, and that the primary role of FLD is to protect the cell from toxic formaldehyde that accumulates with excess methanol in the medium (Sibirny et al . , 1990).

[0004]

In addition to methanol, FLD is also involved in the metabolism of certain methylated amines (e.g. methylamine and choline) as sole nitrogen sources (Zwart et al . , 1980). In this pathway, amine groups are first liberated by a peroxisomal amine oxidase, leaving formaldehyde which is further oxidized by FLD and FDH. When growing on methylamine as sole nitrogen source, high levels of FLD are induced even in the presence of excess glucose. Thus, the primary role of FLD in methylamine metabolism appears to be for protecting cells from the toxic effects of formaldehyde and not for generating carbon or energy.

[0005]

FLD synthesis is regulated independently in response to either methanol as sole carbon source and energy source or to methylamine as sole nitrogen source. Thus, for example, only low levels of FLD are observed in cells growing on glucose- and ammonium ion-containing medium, whereas on either methanol-ammonium ion or glucose-methylamine media, FLD levels are high.

[0006]

In the Pichia system, most foreign genes are expressed under the transcriptional control of the P. pastoris alcohol oxidase 1 gene promoter (PA0Xi) , the regulatory characteristics of which are well suited for this purpose. The promoter is tightly repressed during growth of the yeast on most common carbon sources, such as glucose, glycerol, or ethanol, but is highly induced during growth on methanol (Tschopp et al . , 1987; U.S. Patent No. 4,855,231 to Stro an, D.W., et al) . For production of foreign proteins, PΛ0W-controlled expression strains are initially grown on a repressing carbon source to generate biomass and then shifted to methanol as the sole carbon and energy source to induce expression of the foreign gene. One advantage of the PA0Xi regulatory system is that P. pastoris strains transformed with foreign genes whose expression products are toxic to the cells can be maintained by growing under repressing conditions. Although many proteins have been successfully produced using PA0X1 , this promoter is not appropriate or convenient in all settings. For example, in shake-flask cultures, methanol rapidly evaporates, and it is inconvenient to monitor methanol concentrations and repeatedly add the compound to the medium. In addition, the storage of large amounts of methanol needed for the growth and induction of PAOX1-controlled expression strains in large-volume high-density fermentor cultures is a potential fire hazard. There is a need therefore, for an alternative promoter to PA0X1 , which is both transcriptionally efficient and regulatable by a less volatile and flammable inducer. The present invention provides the P. pastoris and Hansenula polymorpha formaldehyde dehydrogenase gene (FLD) promoter having both properties.

[0007]

In addition, there is a need for a selectable marker which functions in methylotrophic yeasts other than a selectable marker which is an antibiotic resistance gene. At present, only the ZeoR gene can be used to transform into P. pastoris strains independent of their genotype. In addition, ZeoR is the only that gene can be used to directly select for P. pastoris strains that receive multiple copies of an expression vector (by increasing the concentration of

[0008]

Zeocin in selective medium) . A second gene which confers resistance to the antibiotic G418 ( G418R) can be used to screen for multicopy expression strains of P. pastoris but its use requires that an auxotrophic/biosynthetic gene selection marker must also be included in vectors to select for transformants . The FLD structural gene of the present invention may be used as a selectable marker in methylotrophic yeast cells and does not confer resistance to antibiotics .

[0009]

SUMMARY OF THE INVENTION

[0010]

The present invention is directed to isolated nucleic acid sequences comprising a formaldehyde dehydrogenase gene (FLD) from methylotrophic yeasts. In one embodiment of the invention, the isolated nucleic acids comprise sequences which hybridize under low stringency conditions to at least one of the nucleotide sequences set forth in SEQ ID NO:l, SEQ ID NO: 5, or a sequence complementary to the sequence set forth in SEQ ID NOs: 1 or 5.

[0011]

Also provided is an FLD gene from Pichia pastoris ( FLD1 ) having the restriction map set forth in Figure 7 and an FLD gene from Hansenula polymorpha having the restriction map shown in the cross hatched area of Figure 10.

[0012]

In one embodiment of the invention, there is provided an isolated nucleic acid comprising an FLD gene from a methylotrophic yeast with a coding sequence having a sequence homology of about 70% to about 85% when compared to the nucleotide sequence set forth in SEQ ID NO: 5. In another embodiment of the invention, there is provided an isolated nucleic acid comprising an FLD gene from a methylotrophic yeast with a coding sequence having a sequence homology of about 85% to about 95% when compared to the nucleotide sequence set forth in SEQ ID NO: 5. In still another embodiment, there is provided an isolated nucleic acid comprising an FLD gene from a methylotrophic yeast with a coding sequence having a sequence homology of greater than about 95% when compared to the nucleotide sequence set forth in SEQ ID NO: 5. Isolated nucleic acids comprising the sequences set forth in SEQ ID NO:l or SEQ ID NO : 5 are also provided.

[0013]

The present invention also provides an isolated nucleic acid from a methylotrophic yeast comprising an FLD promoter. The promoter is located upstream from the translational start codon of an FLD gene having a coding sequence with a sequence homology of about 70% to about 85% when compared to the nucleotide sequence of the FLD coding sequence set forth in SEQ ID NO: 5. In another embodiment, there is provided an isolated nucleic acid from a methylotrophic yeast comprising an FLD promoter from an FLD gene having a coding sequence with a sequence homology of about 85% to about 95% when compared to the nucleotide sequence of the FLD coding sequence set forth in SEQ ID NO : 5. In a preferred embodiment, the promoter is from an FLD gene having a coding sequence with a sequence homology of greater than about 95% when compared to the nucleotide sequence of the FLD coding sequence set forth in SEQ ID NO: 5. Particularly exemplified is a Pichia pastoris FLDl promoter comprising the sequence set forth in SEQ ID NO : 3.

[0014]

Also in accordance with the present invention, there is provided an isolated nucleic acid comprising an FLD 3' termination sequence from a methylotrophic yeast. The 3 ' termination sequence is located downstream from the translational stop codon of an FLD gene having a coding sequence with a sequence homology of at about 70% to about 85% when compared to the nucleotide sequence of the FLD coding sequence set forth in SEQ ID NO : 5. In another embodiment of the invention, there is provided an isolated nucleic acid comprising an FLD 3 ' termination sequence from a gene having a coding sequence with a sequence homology of at about 85% to about 95% when compared to the nucleotide sequence of the FLD coding sequence set forth in SEQ ID NO: 5. In a preferred embodiment of the invention, there is provided an isolated nucleic acid comprising an FLD 3 ' termination sequence from a gene having a coding sequence with a sequence homology of greater than about 95% when compared to the sequence set forth in SEQ ID NO: 5.

[0015]

Also provided are isolated nucleic acids comprising an FLD gene wherein said FLD gene encodes a product having an amino acid sequence identity of about 30% to about 49% , or about 50% to about 90% , or greater than about 90% when compared to the amino acid sequence as set forth in SEQ ID NO: 2. In addition, the present invention also provides an isolated nucleic acid comprising at least one of a promoter, coding sequence or 3 ' termination sequence from an FLD gene wherein said FLD gene encodes a product having an amino acid sequence identity of about 30% to about 49% , or about 50% to about 90%, or greater than about 90% when compared to the amino acid sequence as set forth in SEQ ID NO : 2.

[0016]

In addition, the present invention provides expression cassettes, vectors and host cells comprising the subject isolated nucleic acids.

[0017]

Also in accordance with the present invention, there is provided a method for directing expression of a heterologous gene in a methylotrophic yeast. The method comprises introducing into a methylotrophic yeast cell an isolated nucleic acid comprising an FLD promoter isolated from a methylotrophic yeast, said promoter operably linked at its 3' end to the 5' end of a heterologous gene, said heterologous gene operably linked at its 3 ' end to the 5 ' end of a termination sequence which functions in a methylotrophic yeast. The methylotrophic yeast cells are grown in a medium having a suitable carbon source such as glycerol or glucose and having a suitable nitrogen source such as an ammonium salt or ammonium hydroxide. After the carbon or nitrogen source is depleted, expression of said heterologous gene is induced by addition of methanol or methylamine or both methanol and methylamine. Expression may also be induced by the addition of formaldehyde, formate, or a methylated amine.

[0018]

A method for selecting a formaldehyde resistant host cell is also provided by the present invention. The method comprises transforming a methylotrophic yeast cell with a vector comprising an FLD gene, said FLD gene operably linked at its 5 ' end to an FLD promoter or a heterologous promoter which functions in said yeast cell, said FLD gene operably linked on its 3 ' end to a 3 ' termination sequence which functions in said yeast cell. Host cells are grown in the presence of formaldehyde and a yeast cell which grows in the presence of formaldehyde is selected.

[0019]

The present invention also provides a strain of methylotrophic yeast which is defective in an FLD gene ( fid) such as Pichia pastoris GS241 ( fldl -1 ) . Also provided is a strain of methylotrophic yeast which is defective in an FLD gene and auxotrophic for another biosynthetic gene. In accordance with the present invention, a kit is provided which comprises an expression cassette comprising an FLD promoter and a 3 ' termination sequence which functions in a methylotrophic yeast. At least one restriction site is located between the FLD promoter and 3 ' termination sequence so that a heterologous gene may be inserted and operably linked to the promoter and the 3' termination sequence. Also included in the kit is a vector which either replicates in a methylotrophic yeast or which integrates into the genome of a methylotrophic yeast, which vector comprises a marker gene and one or more restriction sites for insertion of the expression cassette.

[0020]

In addition, the present invention provides a kit which comprises an expression vector comprising an FLD gene as a selectable marker gene and an expression cassette. The expression cassette comprises a promoter and a 3 ' termination sequence which functions in a methylotrophic yeast, and has at least one restriction site located between the promoter and 3 ' termination sequence so that a heterologous gene may be inserted and operably linked to the promoter and said 3 ' termination sequence.

[0021]

BRIEF DESCRIPTION OF THE DRAWINGS

[0022]

Figure 1 provides physical maps of selected plasmids pHW018, pSS050, ρK321, and pSS040.

[0023]

Figure 2 is a restriction enzyme map of the FLD1 gene-containing vector pYGl .

[0024]

Figure 3A shows exon analysis of the FLDl gene. A diagram of the expected products from PCR of unspliced (genomic) and spliced (cDNA) DNAs is indicated. Locations of the hybridized primers used in the PCR reactions are shown as convergent arrows.

[0025]

Figure 3B is an electrophoregram of PCR and RT- PCR reaction products. PCR reactions were performed with the following: lane 1, genomic DNA template plus both primers ; lane 2 , cDNA template plus both primers ; lane 3 , cDNA template plus 5' primer only; lane 4, cDNA template plus 3' primer only; lane 5, both primers without DNA template. Flanking marker bands are denoted in base pairs .

[0026]

Figure 4 is the nucleotide and deduced amino acid sequences of P. pastoris FLDl gene and its product.

[0027]

Figure 5 is a comparison of the predicted amino acid sequences of P. pas toris and C. mal tosa FLD proteins. Sequences were aligned using PC gene software. The character "*" between sequences indicates residues that are identical. The character "." indicates similar residues. Similar residues are defined as: A,S,T; D,E; N,Q; R,K; I,L,M,V; F,Y,W.

[0028]

Figure 6 graphically depicts thermal stability of formaldehyde dehydrogenase activities in P. pastoris strains transformed with putative FLDl genes from P. pas toris and H. polymorpha . Strains shown are: wild-type

[0029]

-10-

[0030]

SUBST1TUTE SHEET (RULE 26) P. pastoris (■) ; wild-type H. polymorpha (•) ; P. pastoris MS105 (pYGl) (□) ; and P. pastoris MS105 (pYG2) (o).

[0031]

Figure 7A is a restriction map of the Pichia pastoris FLDl gene. Figure 8 is a restriction map of PFLD1 .

[0032]

Figure 9 is a restriction enzyme map of the Hansenula polymorpha FLD gene-containing vector pYG2.

[0033]

Figure 10 is a restriction map of an H. polymorpha DNA fragment containing the FLD gene. Figure 11 is a Southern blot showing genomic

[0034]

DNA from H. polymorpha digested with either BglII(B2) (lanes 1-3) or Clal (C) (lanes 4-6) and hybridized with the following probes: pYG2 (lanes 1 and 4), pYM8 (lanes 2 and 5), or pYGl (lanes 3 and 6).

[0035]

DETAILED DESCRIPTION OF THE INVENTION

[0036]

The present invention is directed to isolated nucleic acid sequences comprising formaldehyde dehydrogenase genes (FLD) from methylotrophic yeasts.

[0037]

The product of the FLD gene, formaldehyde dehydrogenase, confers resistance to formaldehyde. In one aspect of the invention, an FLD coding sequence may be used with its own 5 ' and 3 ' regulatory region or with a heterologous 5 ' and 3 ' regulatory region in order to function as a selectable marker in a methylotrophic yeast cell. The subject FLD coding sequences are therefore advantageous when use of antibiotic resistance genes as selectable markers is to be avoided. In accordance with the present invention, a subject FLD gene can be used as a selectable marker that, like ZeoR, can be selected for independent of the genotype of the P. pastoris strain and, like ZeoR and G418R, can be used to directly select strains that receive multiple copies of an expression vector.

[0038]

However, unlike ZeoR and G418R, the P. pastoris FLDl gene is native to P. pas toris and does not confer resistance to an antibiotic.

[0039]

In one aspect of the present invention, there are provided FLD genes from Pichia pastoris and Hansenula polymorpha having the restriction maps set forth in Figures 7 and the cross hatched region of Figure 10, respectively. FLD expression in response to methanol or methylamine is controlled at the transcriptional level. The FLD gene from Pichia pastoris ( FLDl ) can be further described in terms of its nucleotide sequence which sequence is set forth in Figure 4 (SEQ ID NO:l) . The nucleotide sequence of the coding region of the FLDl gene is set forth in SEQ ID NO : 5.

[0040]

In another aspect of the invention, there" are provided inducible 5 ' regulatory regions from FLD genes (used herein interchangeably with " FLD promoters"), isolated from methylotrophic yeasts which 5 ' regulatory regions are useful for efficient expression of heterologous genes in cells of a methylotrophic yeast. The subject FLD 5' regulatory regions are strongly and independently induced by different carbon and/or energy sources such as methanol, formaldehyde, and formate. Neither formaldehyde nor formate are carbon sources in a true sense since Pichia pastoris does not utilize carbon from such compounds, but only obtains energy from their oxidation. The subject FLD 51 regulatory regions are also strongly and independently induced by different nitrogen sources such as methylamine, choline, and other methylated amines. Thus for example, the Pichia pastoris FLDl promoter is strongly and independently induced by either methanol as sole carbon source (with ammonium hydroxide or an ammonium salt as nitrogen source) or methylamine as sole nitrogen source (with a carbon sugar as carbon source) . Examples of non-inducing nitrogen sources include ammonium sulfate, ammonium nitrate, ammonium chloride and ammonium hydroxide. Examples of non-inducing carbon sources include glycerol and glucose.

[0041]

Accordingly, the present invention provides an isolated nucleic acid molecule comprising about 600 base pairs or more of nucleotide sequence located upstream from the translational start codon of an FLD gene from a methylotrophic yeast. Particularly exemplified is the promoter from the Pichia pastoris FLD gene ( FLDl ) having the restriction map illustrated in Figure 8. In a preferred embodiment, the FLDl gene promoter has the nucleotide sequence as set forth as SEQ ID NO: 3. Also exemplified is the FLD promoter from Hansenula polymorpha having the restriction sites indicated in the cross hatched portion of Figure 10.

[0042]

The present invention also provides FLD 3 ' termination sequences from methylotrophic yeasts. Accordingly, the present invention provides an isolated nucleic acid comprising about 300 nucleotides or more of sequence located downstream from the translational stop codon of an FLD gene. For example, the 3' termination sequence may comprise nucleotides 1255-1555 of Figure 4 (SEQ ID NO: 4) . In another embodiment of the invention, the 3 ' termination sequence is from the Hansenula polymorpha FLD gene which gene is shown as the cross hatched area in Figure 10.

[0043]

Modifications to the FLDl promoter as set forth in SEQ ID NO: 3, which maintain the characteristic property of promoting expression by either methanol, formaldehyde, or formate induction or by methylamine, choline or other methylated amine induction, are within the scope of the present invention. Modifications to the 3' termination sequence as set forth in SEQ ID NO: 4, which maintain the characteristic property of stabilizing mRNA transcription products of a gene are also within the scope of the present invention. Similarly, modifications to the Pichia pastoris FLDl coding sequence (Figure 4, SEQ ID NO: 5) which maintain the characteristic property of coding for a biologically active formaldehyde dehydrogenase are within the scope of the present invention. Such modifications include insertions, deletions and substitutions of one or more nucleotides.

[0044]

The present invention also provides methylotrophic yeast strains which are defective in the FLD gene, i.e., fid mutants. Such strains may be generated by exposing methylotrophic yeast cells to a mutagen such as nitrosoguanidine and screening for strains unable to utilize methanol as sole carbon source and methylamine as sole nitrogen source. Complementation and other genetic techniques may then be used to confirm that a methylotrophic yeast strain is an fid mutant. In accordance with the present invention, a Pichia pastoris fid strain is provided and designated GS241 ( fldl -1 ) . An fid mutant methylotrophic yeast strain may be crossed to another strain which is an auxotrophic mutant for a biosynthetic gene or which has a different selectable marker. For example, the present invention provides a Pichia pastoris yeast strain which is methanol- utilization defective (Mut" ) and auxotrophic for histidine (His"), designated MS105 ( fldl -1 his4 ) .

[0045]

An FLD gene may be isolated from a methylotrophic yeast using classic functional complementation techniques. Briefly stated, a genomic library of DNA from a methylotrophic yeast is cloned into a vector which replicates in a methylotrophic yeast. The vectors are used to transform a methylotrophic yeast which is an fid mutant. Cells which grow in the presence of methanol (or any of the above-described inducing agents) are selected as having a functional FLD gene from the genomic library. The vector is isolated from the complemented yeast cells and restriction mapped. Fragments of the vector insert may be subcloned and used to transform an fid mutant and a smaller fragment which still complements the fid mutant isolated. The insert of this vector may be sequenced and the FLD gene open reading frame (ORF) identified. As described in Examples 2 and 3, both the Pichia pastoris FLDl gene and the

[0046]

Hansenula polymorpha FLD gene were isolated by functional complementation.

[0047]

Nucleic acid molecules corresponding to coding sequences, promoters or 3' termination sequences of an FLD gene of a methylotrophic yeast may also be obtained by using the entire FLDl gene, the entire coding sequence of the FLDl gene, or portions of the FLDl coding sequence (including fragments and oligonucleotides) as a probe and hybridizing with a nucleic acid molecule (s) from a methylotrophic yeast. Nucleic acid molecules hybridizing to the Pichia pastoris entire FLD gene, (SEQ ID NO:l), or to the FLD coding sequence (Figure 4, SEQ ID NO: 5) or portion of the nucleotide sequence set forth in SEQ ID NO: 5, can be isolated, e.g., from genomic libraries by techniques well known in the art. Methods considered useful in obtaining genomic DNA sequences corresponding to the Pichia pastoris FLD gene of the present invention by screening a genomic library are provided in Sambrook et al . (1989), Molecular Cloning: A Laboratory Manual , Cold Spring Harbor, New York, for example, or any of the myriad of laboratory manuals on recombinant DNA technology that are widely available.

[0048]

A subject FLD gene can be derived from restriction endonuclease digestion of isolated FLD genomic clones. Thus, for example, the known nucleotide or amino acid sequence of the Pichia pastoris FLDl gene (Figure 4, SEQ ID NOs : 1 and 2) is aligned to the nucleic acid or deduced amino acid sequence of an isolated putative FLD genomic clone and the 5 ' regulatory sequence (i.e., sequence upstream from the translational start codon of the coding region) , coding sequence, and 3' regulatory sequence (i.e., sequence downstream from the translational stop codon of the coding region) of the isolated FLD genomic clone located.

[0049]

A subject FLD promoter, 3' termination sequence or coding sequence may be generated from genomic clones having excess 5' flanking sequence, excess coding sequence, or excess 3' flanking sequence by e.g., in vi tro mutagenesis. In vi tro mutagenesis is helpful for introducing convenient restriction sites. There are various commercially available kits particularly suited for this application such as the T7-Gen in vi tro

[0050]

Mutagenesis Kit (USB, Cleveland, OH) and the QuikChange Site Directed Mutagenesis Kit (Stratagene, San Diego, CA) . Alternatively, PCR primers can be defined to allow direct amplification of a subject FLD promoter, coding sequence and 3' termination sequence.

[0051]

Using the same methodologies, the ordinarily skilled artisan can generate one or more deletion fragments of the FLDl promoter as set forth in SEQ ID NO: 3. Any and all deletion fragments which comprise a contiguous portion of the nucleotide sequence set forth in SEQ ID NO: 3 and which retain the capacity to promote expression by either methanol, formaldehyde, or formate induction or else which retain the capacity to promote expression by either methylamine, choline or other methylated amine induction are contemplated by the present invention. Similarly, any and all deletion fragments which comprise a contiguous portion of the sequence set forth in SEQ ID Nos : 4 and 5 and which retain the capacity to stabilize mRNA transcription products of a gene or retain the capacity to code for a biologically - active FLD, respectively, are within the scope of the present invention.

[0052]

In addition to the Pichia pas toris FLDl promoter which nucleotide sequence is set forth as nucleotides -537 to -1 in Figure 4 (SEQ ID NO:3), the present invention is directed to other promoter sequences which correspond to FLD genes in other methylotrophic yeasts. As defined herein, such related sequences which promote expression by methanol, formaldehyde, or formate induction or else which promote expression by either methylamine, choline or other methylated amine induction, may be described in terms of their location upstream from the translational start codon of an FLD coding sequence, which coding sequence is described in terms of percent homology on a nucleotide level to the nucleotide coding sequence as set forth in Figure 4 (SEQ ID NO: 5). Alternatively, FLD coding sequences from methylotrophic yeasts may be defined in terms of their ability to hybridize to the exemplified Pichia pastoris FLDl gene (SEQ ID NO:l) or FLDl coding sequence (SEQ ID NO: 5) under low stringency hybridization conditions. The present invention therefore contemplates nucleic acid sequences isolated from a methylotrophic yeast comprising a promoter, coding region or 3' termination sequence corresponding to an FLD gene which coding region of such FLD gene hybridizes under low stringency conditions to the FLD gene nucleic acid sequence as set forth in SEQ ID Nos : 1 or 5, or sequences complementary to the sequences set forth in SEQ ID NOs : 1 or 5. The promoter, coding region or 3 ' termination sequences of an FLD gene which coding region hybridizes to a sequence as set forth in SEQ ID NOs:l or 5, may differ in one or more nucleotide positions in comparison with SEQ ID NOs : 1 through 5 as long as such coding sequence from an FLD gene codes for a biologically active FLD, or as long as such FLD promoter is independently induced by either methanol, formaldehyde, or formate as energy source or by methylamine, choline or other methylated amine as sole nitrogen source. In addition, a subject 3' termination sequence may differ in one or more nucleotide positions in comparison to SEQ ID NO : 4 as long as such 3' termination sequence retains the capacity to stabilize mRNA transcripts when operably linked to a coding sequence.

[0053]

By "hybridizing" it is meant that such nucleic acid molecules hybridize under conventional hybridization conditions, such as described by, e.g., Sambrook (Molecular Cloning; A Laboratory Manual, 2nd Edition, Cold Spring Harbor Laboratory Press, Cold Spring Harbor, NY (1989) ) .

[0054]

FLD genes (genomic sequences) , and FLD coding sequences from methylotrophic yeasts may be identified by hybridization to the coding region or portions thereof of FLDl , (SEQ ID NOs : 1 and 5, as well as the complementary sequences to SEQ ID NOS: 1 AND 5) using conventional hybridization conditions. Preferably, low hybridization conditions are used such as 30% formamide at 37° C followed by washing in IX SSC at room temperature and IX SSC at 60° C. Putative FLD genes ranging in size from about 2 kb to about 3.5 kb or about 2.5 kb to about 3.5 kb which hybridize to SEQ ID NOs: 1 or 5 under low stringency conditions may be further characterized by restriction mapping and sequencing. Using the FLDl gene in the plasmid pYGl as a probe and hybridizing under such_ low stringency conditions, the H. polymorpha FLD gene may be identified. See Example 3.

[0055]

FLD promoters and 3 ' termination sequences may also be defined by the ability of the corresponding coding sequence of the FLD gene (from which the promoter or 3 ' termination sequence is derived) , to hybridize under low stringency conditions to the coding sequence set forth in Figure 4 (SEQ ID NOs : 1 and 5), as well as the complementary sequences to SEQ ID NOs : 1 and 5.

[0056]

FLD structural genes, promoter fragments and terminator sequences of the present invention may also be described in terms of percent homology on a nucleotide level to the nucleotide sequence provided herein. There are a number of computer programs that compare and align nucleic acid sequences which one skilled in the art may use for purposes of determining sequence homologies . For example, the PC/Gene program may be used (Release 6.6, IntelliGenetics , Inc., Mountainview, Ca.) with an open gap cost of 15 and a unit gap cost of 10.

[0057]

As used herein, a sequence homology percentage value includes not only the percent homology of an isolated nucleic acid when compared to the single strand sequence set forth in a particular SEQ ID NO., but also includes the percent homology of an isolated nucleic acid when compared to the complementary strand of the single strand sequence set forth in the particular SEQ ID NO . , such as SEQ ID NO : 5.

[0058]

Thus, using a computer program such as the PC/Gene program with the parameters set as described above, the subject isolated nucleic acids may be described as follows . In one embodiment of the invention, there is provided an isolated nucleic acid comprising an FLD gene from a methylotrophic yeast which is independently inducible by either methanol as sole carbon source or methylamine as sole nitrogen source and having a coding sequence with a sequence homology of about 70% to about 85% when compared to the nucleotide sequence of the FLD gene as set forth in SEQ ID NO: 5. In a preferred embodiment, an isolated nucleic acid comprising an FLD gene which is independently inducible by either methanol as sole carbon source or methylamine as sole nitrogen source has a coding sequence with a sequence homology of about 85% to about 95% when compared to the coding sequence of the FLD gene as set forth in SEQ ID NO : 5.

[0059]

In a most preferred embodiment, an isolated nucleic acid comprising an FLD gene which is independently inducible by either methanol as sole carbon source or methylamine as sole nitrogen source has a coding sequence with a sequence homology of greater than about 95% when compared to the sequence of the FLD coding region as set forth in SEQ ID NO: 5.

[0060]

In another aspect of the present invention, an isolated nucleic acid comprising a promoter from an FLD gene which is independently inducible by either methanol as sole carbon source or methylamine as sole nitrogen source comprises approximately 600 bases pairs or more of nucleotide sequence located upstream (5') from the translation start codon of an FLD gene, whose coding sequence has a sequence homology of about 70% to about 85% when compared to the nucleotide sequence of the FLD coding sequence as set forth in SEQ ID NO: 5. In a preferred embodiment, an isolated nucleic acid comprising a promoter from an FLD gene which is independently inducible by either methanol as sole carbon source or methylamine as sole nitrogen source comprises approximately 600 bases pairs or more of nucleotide sequence located upstream (5') from the translation start codon of an FLD gene, whose coding sequence has a sequence homology of about 85% to about 95% when compared to the nucleotide sequence of the FLD coding sequence as set forth in SEQ ID NO: 5.

[0061]

In a more preferred embodiment, an isolated nucleic acid comprising a promoter from an FLD gene which is independently inducible by either methanol as sole carbon source or methylamine as sole nitrogen source comprises approximately 600 bases pairs or more of nucleotide sequence located upstream (5') from the translation start codon of an FLD gene, whose coding sequence has a sequence homology of greater than about 95% when compared to the nucleotide sequence of the FLD coding sequence as set forth in SEQ ID NO: 5. With respect to any of the above-described promoters, preferably, a promoter comprises approximately 600 base pairs or more of nucleotide sequence located immediately upstream (5') to the translational start codon of an FLD gene.

[0062]

In another aspect of the invention, an isolated nucleic acid comprising an FLD 3 ' termination sequence from a methylotrophic yeast comprises approximately 300 base pairs or more of nucleotide sequence located downstream (3') from the translational stop codon of an FLD gene, whose coding sequence has a sequence homology of about 70% to about 85% when compared to the nucleotide sequence of the FLD coding sequence as set forth in SEQ ID NO: 5. In a preferred embodiment, an isolated nucleic acid comprising an FLD 3 ' termination sequence from a methylotrophic yeast comprises approximately 300 base pairs or more of nucleotide sequence downstream (3 ' ) from the translational stop codon of an FLD gene, whose coding sequence has a sequence homology of about 85% to about 95% when compared to the nucleotide sequence of the FLD coding sequence as set forth in SEQ ID NO: 5. In a most preferred embodiment, an isolated nucleic acid comprising an FLD 3 ' termination sequence from a methylotrophic yeast comprises approximately 300 base pairs or more of nucleotide sequence located downstream (3') from the translational stop codon of an FLD gene, whose coding sequence has a sequence homology of greater than about 95% when compared to the nucleotide sequence of the FLD coding sequence as set forth in SEQ ID NO: 5. With respect to any of the above-described 3 ' termination sequences, preferably a 3' termination sequence comprises approximately 300 base pairs or more of nucleotide sequence located immediately downstream (3') to the translational stop codon of an FLD gene. In addition to the aforementioned nucleic acid sequences, the present invention contemplates isolated nucleic acids comprising promoters, coding sequences and 3 ' termination sequences from an FLD gene whose product has an amino acid sequence identity of about 30% to about 49% when compared to the amino acid sequence set forth in Figure 4 (SEQ ID NO: 2) . In a preferred embodiment, an isolated nucleic acid comprising a promoter, coding sequence or 3 ' termination sequence from an FLD gene is from an FLD gene whose product has an amino acid sequence identity of about 50% to about 90% when compared to the amino acid sequence set forth in Figure 4 (SEQ ID NO : 2 ) . In a more preferred embodiment, an isolated nucleic acid comprising a promoter, coding sequence or 3 ' termination sequence from an FLD gene is from an FLD gene whose product has an amino acid sequence identity of greater than about 90% when compared to the amino acid sequence set forth in Figure 4 (SEQ ID NO: 2) . In a most preferred embodiment, an isolated nucleic acid comprising a promoter, coding sequence or 3 ' termination sequence from an FLD gene is from an FLD gene whose product has an amino acid sequence as set forth in Figure 4 (SEQ ID NO: 2) .

[0063]

In accordance with the present invention, an entire FLD gene (i.e., a genomic sequence comprising FLD coding sequence operably linked to the native FLD promoter and native 3 ' termination sequence) may also be described by the sequence identity of the product of the coding region. Thus, in one embodiment of the invention, there is provided an FLD gene wherein the amino acid sequence of the product of the FLD gene has a sequence identity of about 30% to about 49% when compared to the amino acid sequence set forth in Figure 4 (SEQ ID NO: 2) . In a preferred embodiment, there is provided an FLD gene wherein the amino acid sequence of the product of the FLD gene has a sequence identity of about 50% to about 90% when compared to the amino acid sequence set forth in Figure 4 (SEQ ID NO: 2) . In a more preferred embodiment, an isolated nucleic acid comprising an FLD gene codes for a product having an amino acid sequence with a sequence identity of greater than about 90% when compared to the amino acid sequence set forth in Figure 4 (SEQ ID NO: 2) . In a most preferred embodiment, an FLD gene codes for a product having an amino acid sequence as set forth in Figure 4 (SEQ ID NO: 2).

[0064]

For purposes of determining the degree of sequence identity between a putative FLD amino acid sequence from a methylotrophic yeast and the FLD amino acid sequence provided herewith as SEQ ID NO: 2, the BLAST 2.0 program (GenBank, National Center for Biotechnology Information) may be used with all parameters set to default parameters.

[0065]

To determine the nucleotide sequence of an isolated FLD nucleic acid molecule, any of the various well known techniques may be used. For example, restriction fragments containing an FLD gene from Pichia pastoris or other methylotrophic yeast can be subcloned into the polylinker site of a vector such as pBluescript (Stratagene) . These pBluescript subclones can then be sequenced by the double-stranded dideoxy method (Chen et al. (1985) DNA, 4 ; 165) .

[0066]

5' regulatory sequence, coding sequence, and 3' termination sequence from a methylotrophic yeast FLD gene which correspond to Pichia pas toris FLD gene sequences may also be isolated by applying a nucleic acid amplification technique such as the polymerase chain reaction (PCR) using as primers oligonucleotides derived from sequences set forth in SEQ ID NOs:l, 3, 4, and 5. Confirmation of independent inducibility of an

[0067]

FLD promoter (including modifications or deletion fragments thereof) from a methylotrophic yeast, can be accomplished by construction of transcriptional and/or translational fusions of specific sequences with the coding sequences of a heterologous gene, transfer of the chimeric gene into an appropriate host, and detection of the expression of the heterologous gene. The assay used to detect expression depends upon the nature of the heterologous sequence. For example, reporter genes, exemplified by β-lactamase (β-lac) , β-galactosidase (β- gal) , luciferase and chloramphenicol acetyltransferase (CAT) are commonly used to assess transcriptional and translational competence of chimeric constructions. Standard assays are available to sensitively detect the reporter enzyme in a transformed host cell.

[0068]

An FLD promoter, 3 ' termination sequence and isolated fragments thereof, are useful in the construction of expression cassettes (also termed herein "chimeric genes") and expression vectors for the expression of heterologous proteins in a methylotrophic host cell. As used herein, "heterologous protein" or "heterologous polypeptide" refers to any protein or polypeptide other than formaldehyde dehydrogenase. As used herein, "heterologous gene" means a gene other than FLD .

[0069]

As used herein, the term "cassette" refers to a nucleotide sequence capable of expressing a particular gene if said gene is inserted so as to be operably linked to one or more regulatory sequences present in the nucleotide sequence. Thus, for example, the expression cassette may comprise a heterologous gene which is desired to be expressed through methanol or methylamine induction. The expression cassettes and expression vectors of the present invention are therefore useful for promoting expression of any number of heterologous genes upon methanol or methylamine induction.

[0070]

Some examples of heterologous genes for expression of foreign proteins under control of the subject FLD promoter and for use in the expression cassettes and vectors of the present invention include . human serum albumin, invertase, bovine lysozyme, human EGF, mouse EGF, aprotinin, Kunitz protease inhibitor, Hepatitis B surface antigen, tumor necrosis factor, tetanus toxin fragment C, pertussis antigen P69, streptokinase, β-galactosidase, and Bacillus s . crystal protein toxin. For a list of other useful proteins which may be expressed in Pichia pas toris , see Higgins, D.R. and Cregg, J.M. (1998) Methods in Molecular Biology: Pichia Protocols . Humana Press, Totowa, New Jersey, Chapter 17, pp. 249-261. Any and all coding sequences are contemplated as heterologous genes for use in the expression cassettes and expression vectors of the present invention.

[0071]

The expression cassettes of the present invention comprise in the 5 ' to 3 ' direction an FLD promoter operably linked a nucleotide sequence coding for a heterologous gene. In a preferred embodiment, the coding sequence for a heterologous gene is further operably linked at its 3 ' end to a 3 ' termination sequence. If desired, additional regulatory elements from genes other than FLD or parts of such elements sufficient to cause expression resulting in production of an effective amount of the polypeptide encoded by the heterologous gene are included in the chimeric constructs. For example, signal sequences coding for transit peptides may be used when secretion of a product of a heterologous gene is desired. Such sequences are widely known, readily available and include Saccharomyces cerevisiae alpha mating factor pre pro (αmf) , Pichia pas toris acid phosphatase (PH01) signal sequence and the native signal sequence from the protein encoding heterologous gene.

[0072]

The expression cassette may be inserted into a microorganism host via a vector such as a circular plasmid or linear site-specific integrative vector. The term "operably linked" refers to a juxtaposition wherein the FLD promoter , structural gene, and 3' termination sequence are linked and configured so as to perform their normal function. 3' termination sequences are sequences 3 ' to the stop codon of a structural gene which function to stabilize the mRNA transcription product of the gene to which the sequence is operably linked, such as sequences which elicit polyadenylation. 3 ' termination sequences may be obtained from Pichia or Hansenula polymorpha or other methylotrophic yeast. Examples of Pichia pastoris 3' termination sequences useful for the practice of the present invention include termination sequences from the AOXl gene, p40 gene, HIS4 gene and FLDl gene . In accordance with the present invention, the

[0073]

Pichia pas toris FLDl gene, the Hansenula polymorpha FLD gene, and other FLD genes isolated from methylotrophic yeasts, may be used as selectable markers in host cells. Either the entire FLD gene, including the native 5' and 3 ' regulatory sequences or the FLD coding region operably linked to 5 ' and 3 ' regulatory regions other than that of an FLD gene may be used.

[0074]

-28-

[0075]

T1TUTE SHEET (RULE 26) The isolated nucleic acids comprising an FLD promoter, FLD coding sequence and/or FLD 3 ' termination sequence, the subject expression cassettes comprising such isolated nucleic acids as well as an entire FLD gene (genomic sequence) or FLD coding sequence operably linked to 5 ' and 3 ' regulatory regions other than that of an FLD gene, may be inserted into a vector such as a plasmid. The vector preferably contains a selectable marker gene which functions in a methylotrophic yeast. The selectable marker may be any gene which confers a selectable phenotype upon a methylotrophic yeast and allows such yeast to be identified and selected from untransformed cells. The selectable marker system may include an auxotrophic mutant Pichia pastoris host strain and a wild type gene which complements the host's defect. Examples of such systems include the Saccharomyces cerevisiae or Pichia pastoris HIS4 gene which may be used to complement his4 Pichia strains, or the S. cerevisiae or Pichia pastoris ARG4 gene which may be used to complement Pichia pastoris arg mutants. Other selectable marker genes which function in Pichia pastoris include the ZeoR gene, the G418R gene, and of course, the FLD genes of the present invention.

[0076]

The vectors of the present invention may also contain selectable marker genes which function in bacteria. The added bacterial selectable marker permits amplification of the vector in bacterial host cells. Examples of bacterial selectable marker genes include ampicillin resistance (Ampr) , tetracycline resistance (Tetr) , neomycin resistance, hygromycin resistance, and zeocin resistance ( ZeoR) . In addition, the vectors of the present invention may include sequences responsible for replication and extrachromosomal maintenance in bacteria such as E. coli . The use of such sequences allows for amplification of the vector in bacteria and thus production of large amounts of the vector DNA. Examples of bacterial origins of replication include colisin, col Dl, col El and others known to skilled artisans . The vectors of the present invention may also contain an autonomous replication sequence (ARS) such as described in U.S. Patent No. 4,837,148, issued June 6, 1989 to James M. Cregg. The disclosure of U.S. Patent No. 4,837,148 is incorporated herein as if fully set forth. The autonomous replication sequences disclosed by Cregg provide a suitable means for maintaining plasmids in Pichia pastoris .

[0077]

Alternatively, integrative vectors may be used rather than circular plasmids . Such integrative vectors are disclosed in U.S. Patent No. 4,882,279, issued

[0078]

November 21, 1989 to James M. Cregg. The '279 patent is also incorporated herein by reference as if fully set forth. Integrative vectors suitable for use with the subject promoters, 3' termination sequences, FLDl marker genes and expression cassettes comprise a serially arranged sequence of at least a first insertable DNA fragment, a selectable marker gene, and a second insertable DNA fragment. An expression cassette containing a heterologous structural gene is inserted in this vector between the first and second insertable DNA fragments whether before or after the marker gene. Alternatively, an expression cassette can be formed in situ if the FLD promoter is contained within one of the insertable fragments to which the structural gene may be operably linked.

[0079]

The first and second insertable DNA fragments are each at least about 200 nucleotides in length and have nucleotides sequences which are homologous to portions of the genomic DNA of the species to be transformed. Insertable fragments may be as low as 50 nucleotides in length if a diploid strain of Pichia pastoris is used. The various components of the integrative vector are serially arranged forming a linear fragment of DNA such that the expression cassette and the selectable marker gene are positioned between the 3 ' end of the first insertable DNA fragment and the 5' end of the second insertable DNA fragment. The first and second insertable DNA fragments are oriented with respect to one another in the serially arranged linear fragment as they are oriented in the parent genome.

[0080]

Nucleotide sequences useful as the first and second insertable DNA fragments are nucleotide sequences which are homologous with separate portions of the native genomic site at which genomic modification is to occur. For example, if genomic modification is to occur at the locus of the alcohol oxidase gene, the first and second insertable DNA fragments employed would be homologous to separate portions of the alcohol oxidase gene locus . Examples of nucleotide sequences which could be used as first and second insertable DNA fragments are deoxyribonucleotide sequences such as the Pichia pastoris alcohol oxidase (AOX1 ) gene, dihydroxyacetone synthase

[0081]

(DAS1 ) gene, p40 gene and HIS4 gene. The AOXl gene, DAS1 gene, p40 gene, and HIS4 genes are disclosed in U.S. Pat. Nos. 4,855,231, and 4,885242, both incorporated herein by reference. The designation DASl is equivalent to the DAS designation originally used in U.S. Pat. Nos. 4,855,231 and 4,885,242. The first insertable DNA fragment may contain a FLD promoter which FLD promoter is also part of the expression cassette. A second insertable DNA fragment may contain 3' flanking sequence starting about 300 base pairs downstream from the translational stop codon of an FLD gene. The vectors and chimeric genes of the present invention can be constructed by standard techniques known to one of ordinary skill in the art and found, for example, in Sambrook et al. (1989) in Molecular Cloning: A Laboratory Manual , or any of a myriad of laboratory manuals on recombinant DNA technology that are widely available. A variety of strategies are available for ligating fragments of DNA, the choice of which depends on the nature of the termini of the DNA fragments and can be readily determined by the skilled artisan. When the methylotrophic yeast host cells are transformed with a linear DNA fragment comprising a heterologous gene under the control of the FLD promoter, the expression cassette is integrated into the host cell genome by any of the gene replacement methods known in the art such as by one-step gene replacement. Rothstein, 1983 Methods Enzymol . 101 : 202 and Cregg et al . , 1987 Bio/Technology 5:479. When the DNA vector is a circular plasmid, such plasmid may be linearized to facilitate integration and then integrated into the methylotrophic yeast genome at the same or different loci by addition. Cregg et al . (1985) Mol . Cell . Biol . 5 :3376. The vectors of the present invention may be transformed into the cells of a methylotrophic yeast using known methods such as the spheroplast technique, described by Cregg et al . 1985, or the whole-cell lithium chloride yeast transformation system, Ito et al . Agric. Biol . Chem . 48 : 341 , modified for use in Pichia as described in EP 312,934. Other published methods useful - for transformation of the plasmids or linear vectors of the present invention include U.S. Patent No. 4,929,555 to Cregg and Barringer; Hinnen et al . (1978) Proc . Nat . . Acad. Sci . 75:1929; Ito et al . (1983) J. Bacteriol . 253:163; U.S. Patent No. 4,879,231 to D.W. Stroman et al; Sreekrishna et al . (1987) Gene 59:115. Electroporation and PEG1000 whole cell transformation procedures may also be used. Cregg and Russel (1985) Methods in Molecular Biology: Pichia Protocols, Chapter 3, Humana Press, Totowa, N.J., pp. 27-39.

[0082]

In accordance with the present invention, host cells are provided which comprise the subject expression cassettes and expression vectors. The yeast host for transformation may be any suitable methylotrophic yeast. Suitable methylotrophic yeasts include but are not limited to yeast capable of growth on methanol such as yeasts of the genera Candida, Hansenula, Torulopsis, and Pichia . A list of species which are exemplary of this class of yeasts may be found in C. Anthony (1982), The Biochemistry of Methylotrophε, 269. Pichia pastoris, Pichia methanolica, Pichia anomola, Hansenula polymorpha and Candida boidinii are examples of methylotrophic yeasts useful in the practice of the present invention. Preferred methylotrophic yeasts are of the genus Pichia . Especially preferred are Pichia pastoris strains GS115 (NRRL Y-15851) ; GS190 (NRRL Y- 18014) disclosed in U.S. Patent No. 4,818,700; and PPFl (NRRL Y-18017) disclosed in U.S. Patent No. 4,812,405. Auxotrophic Pichia pastoris strains such as GS115, GS190 and PPFl are advantageous to the practice of the present invention for their ease of selection. Wild type Pichia pas toris strains such as NRRL Y-11430 and NRRL Y-11431 may be employed with equal success if a suitable transforming marker gene is selected, such as the use of SUC2 to transform Pichia pastoris to a strain capable of growth on sucrose or if antibiotic resistance marker is employed, such as resistance to G418 and zeocin.

[0083]

For the large-scale production in Pichia pas toris of heterologous proteins using the vectors of the present invention, a two-state, high cell-density, batch fermentation may be employed. During the first stage (growth stage) , Pichia host cells may be cultured in defined minimal medium with a suitable carbon source such as glycerol or glucose, and a suitable nitrogen source such as ammonium sulfate, ammonium nitrate or other ammonium salt. Ammonium hydroxide may also be used. In this first stage, heterologous gene expression is repressed, which allows cell expansion and generation of cell mass. Once the repressing carbon or nitrogen source is depleted, either methanol or methylamine, or both, are added which initiates expression of the heterologous gene in the second stage (production stage) . In accordance with the present invention, induction using both methanol and methylamine provides a synergistic effect. That is, levels of gene expression are higher when both methanol and methylamine are used to induce compared to when methanol alone or methylamine alone is used to induce.

[0084]

Alternatively, gene expression may be induced using formaldehyde or formate as energy source or choline and other methylated amines as nitrogen source. If methanol is used to induce, it is used in a concentration of 1% or less. Very small amounts, down to almost nothing are all that is needed to induce expression. If formaldehyde is used to induce, an amount of about 10 mM to almost nothing is used, keeping in mind that formaldehyde is very toxic to P. pastoris in amounts of 10 mM or higher. Formate is also very toxic to P. pastoris in amounts greater than 100 mM. If methylamine, choline or other methylated amines are used to induce gene expression, an amount of 0.5% to almost nothing is used.

[0085]

The host cells may be grown in the temperature range of about 35 degrees Centigrade (C) down to 4 degrees C. A preferred temperature for growth of cells is 30 degrees C. The pH range for growth of cells is 2.8 to 7.5 with a preferred ranged of 3.0 to 6.5. Conditions and methodologies for growth of methylotrophic yeast cells are thoroughly discussed in Higgins and Cregg (1998) Methods in Molecular Biology: Pichia protocols , Humana Press, Totowa, New Jersey, and are incorporated herewith as if fully set forth.

[0086]

Transformed Pichia pastoris cells may be selected by using appropriate techniques including but not limited to culturing previously auxotrophic cells after transformation in the absence of the biochemical product required (due to the cell's auxotrophy) , selection for and detection of a new phenotype ("methanol slow") or culturing in the presence of an antibiotic which is toxic to the yeast in the absence of a resistance gene contained in the transformant .

[0087]

As discussed hereinbefore, a subject FLD gene may be used as a selectable marker to transform a methylotrophic yeast cell for purposes of direct selection for formaldehyde resistance. In addition, the present invention provides a method for direct selection of a transformed host cell which comprises introducing into a host cell a vector comprising an FLD coding sequence operably linked to an FLD promoter as defined herein or operably linked to a heterologous promoter. Optimally, the FLD coding sequence is also operably linked at its 3' end to a 3 ' termination sequence. Transformed host cells are grown in the presence of formaldehyde and resistant cells selected.

[0088]

Levels of formaldehyde used to select for resistant cells will depend on the yeast strain used as a host cell, and the promoter used to drive expression of the FLD gene. For example, if a wild type Pichia pastoris strain and native FLD promoter are used, then a level of about 7mM formaldehyde is enough to allow for direct selection. If an fid mutant Pichia pastoris strain is used with either a native FLD promoter or a heterologous promoter (i.e., a promoter other than the FLD promoter) , then a level of about 2 mM is enough to allow for direct selection.

[0089]

Positive transformants may be characterized by Southern blot analysis (Sambrook et al . 1989) which is particularly useful for identifying the site of DNA integration. Northern analysis (Sambrook et al . 1989) may be used to confirm methanol-responsive and methylamine responsive gene expression. The product of the heterologous gene may also be assayed using well known methodologies and isolates which produce the desired gene product at the appropriate level identified. Immunoblotting using polyclonal or monoclonal antibodies to the product of the heterologous gene may also be used.

[0090]

Another aspect of the present invention provides a method for directing expression of a heterologous gene in a methylotrophic yeast which comprises introducing into a methylotrophic yeast cell an isolated nucleic acid comprising an FLD promoter isolated from a methylotrophic yeast, which promoter is operably linked at its 3 ' end to the 5 ' end of a heterologous gene. Optimally, the heterologous gene is also operably linked at its 3 ' end to the 5 ' end of a 3 ' termination sequence which functions in a methylotrophic yeast. Such an isolated nucleic acid is preferably within a vector which replicates within a methylotrophic yeast or which integrates into the genome of a methylotrophic yeast as hereinbefore described. A methylotrophic yeast cell is transformed with the expression cassette or expression vector and then the cell is grown in a medium having sugar such as glycerol or glucose as carbon source and ammonium hydroxide, ammonium sulfate, ammonium nitrate, or other ammonium salt as nitrogen source. After the repressing carbon or nitrogen source is depleted, expression of the heterologous gene is induced by addition of methanol or methylamine. Alternatively, gene expression may be induced with formaldehyde or formate as energy source or choline and other methylated amines as nitrogen source. Routine methods are used to isolate the heterologous protein from the culture medium (if the heterologous protein is secreted from the host cells) or from the methylotrophic yeast cells (if the heterologous protein is not secreted) .

[0091]

The present invention also provides kits which comprise the expression cassettes and expression vectors of the present invention. In this aspect of the invention, a kit is provided which comprises an expression cassette comprising a subject FLD promoter from a methylotrophic yeast and a 3 ' termination sequence such as the 3' termination sequence from the AOXl gene, p40 gene, HIS4 gene or FLD gene. At least one restriction site and preferably a multiple cloning site may be conveniently located between the FLD promoter and 3 ' termination sequence so that a heterologous gene may be inserted and operably linked to the promoter and 3 ' termination sequences. The kit may also comprise a vector such as a plasmid which replicates in a methylotrophic yeast or which integrates into the genome of a methylotrophic, yeast as hereinbefore described. Preferably, the vector comprises a marker gene and one or more restriction sites for insertion of the expression cassette. Alternatively, the kit may comprise the expression cassette already placed within a vector. In another embodiment, the kit also comprises a yeast strain which may be transformed with the expression vector and transformed cells directly selected. Examples of selectable markers and auxotrophic yeast strains are hereinbefore described. In yet another embodiment of this aspect of the invention, the kit may also contain a control plasmid such as the FLDl promoter operably linked to a reporter gene such as β-lactamase. Such a plasmid may be supplied alone or within a transformed yeast strain.

[0092]

The present invention also provides a kit comprising an expression vector with an FLD gene as a selectable marker. The vector may be an autonomous replicating vector or an integrative vector. As herinbefore described, the FLD coding sequence may be under control of the native FLD 5' and/or 3' regulatory sequences or may be operably linked to heterologous 5 ' and/or 3' regulatory sequences. Also within the expression vector is an expression cassette comprising a promoter which functions in a methylotrophic yeast and a 3 ' termination sequence which functions in a methylotrophic yeast. Within the expression cassette, between the 5' regulatory sequence and the 3' regulatory sequence are one or more restriction sites so that a heterologous gene may be inserted and placed under the control of the regulatory sequences . In a preferred embodiment, the promoter and 3 ' termination sequences are from the Pichia pastoris AOXl gene. In another embodiment, the kit further comprises a vector having the above-described expression cassette with a signal sequence operably linked to the 5' regulatory region. Between the end of the signal sequence and 3 ' termination sequence is located at least one restriction site for insertion of a heterologous gene. Preferably, a multiple cloning site is located between the end of the signal sequence and 5' end of the 3' termination sequence. Examples of appropriate signal sequences include the Saccharomyces cerevisiae alpha mating factor pre pro ( mf) and the Pichia pastoris acid phosphatase signal sequence (PHOl) . The invention is further illustrated by the following specific examples which are not intended in any way to limit the scope of the invention.

[0093]

EXAMPLES

[0094]

The strains, plasmids, and media employed in the following examples have the compositions given below: The wild-type P. pastoris strain used was NRRL

[0095]

Y-11430. P. pastoris fldl mutant strains were generated, using nitrosoguanidine and were obtained through Dr. George Sperl of Phillips Petroleum Company (Bartlesville, OK, USA) . The Pichia pastoris fldl strain GS241 ( fldl -1 ) was deposited at the Northern Regional Research Center of the U.S. Department of Agriculture (NRRL), Peoria,

[0096]

Illinois on and assigned Accession No. . MS105, a P. pastoris fldl his4 strain, was constructed by crossing GS241 ( fldl -1 ) with GS115 (his4 ) . MS105 was also deposited at the NRRL on and assigned Accession No. . The plasmids pYGl and pYG2 have been deposited in at the NRRL on and assigned Accession Nos. and respectively. The Hansenula polymorpha strain used was CBS4732. Bacterial recombinant DNA manipulations were performed in either Escherichia coli strain MC1061 or DH5 . Yeast strains were cultured in a rich YPD medium (1% yeast extract, 2% peptone, 0.4% glucose) or a minimal medium composed of 0.17% yeast nitrogen base without ammonium sulfate and amino acids, a carbon source (0.4% glucose or 0.5% methanol), and a nitrogen source (0.5% ammonium sulfate or 0.25% methylamine chloride). E. coli strains were cultured in Luria broth medium supplemented with either 100 μg/ml ampicillin or 50 μg/ml zeocin (invitrogen Corporation, Carlsbad, CA, USA) as required.

[0097]

-41-

[0098]

SUBST1TUTE SHEET (RULE 26) EXAMPLE 1

[0099]

Isolation of formaldehyde dehvdroαenase-defective mutants of P. pas toris

[0100]

As a first step in cloning the P. pastoris formaldehyde dehydrogenase gene ( FLDl ) , mutants were sought that were specifically defective in FLD activity. Previous biochemical studies of methylotrophic yeasts indicated that FLD is involved in the metabolism of both methanol as carbon source and methylamine as nitrogen source (Zwart et al . , 1983). To search for P. pastoris fldl mutants, nitrosoguanidine-mutagenized cultures were screened for strains that were unable to utilize methanol as carbon source and methylamine as nitrogen source. Complementation analysis and other classical genetic techniques were performed as described in Cregg and Russell (1998) . Five mutants belonging to a single complementation group were identified.

[0101]

These five strains were further examined by measuring the levels of activity of key methanol pathway enzymes in extracts prepared from methanol-induced cultures of each strain. These enzymes included: alcohol oxidase (AOX) , catalase, dihydroxyacetone synthase, dihydroxyacetone kinase, FLD, and formate dehydrogenase. For enzyme assays, yeast strains were grown in shake flasks at 30°C in YNB medium (without amino acids and ammonium sulfate, DIFCO) using 0.5% methanol as carbon source and 0.5% ammonium sulfate as nitrogen source. Cultures were harvested in the late logarithmic phase, and cell-free extracts were prepared using glass beads as described in Waterham et al . (1996). The protein concentrations in cell-free extracts were determined using either the method of Bradford (1976) or the Pierce BCA protein assay kit (Rockford, IL) with bovine serum albumin as standard. Alcohol oxidase (van der Klei et al . , 1990), catalase (Luck, 1963), dihydroxyacetone synthase (Waites and Quayle, 1981) , dihydroxyacetone kinase (van Dijken et al . , 1978), and formate dehydrogenase (van Dijken, 1976) activities were determined by published methods . Formaldehyde dehydrogenase activity was measured spectrophotometrically by following the rate of NADH formation at 340 nm in the presence of saturating amounts of formaldehyde, glutathione, and NAD as described by Schutte et al . (1976). Reaction mixtures contained 33 mM sodium phosphate buffer (pH 7.9-8.0), 2 mM glutathione, 1 mM NAD, 1 mM formaldehyde, and limiting amounts of enzyme in a final volume of 1.0 ml. The rate of absorbance change at 340 nm was followed for at least 2 min, and activities were calculated by using the constant e = 6.22 cmVnmol for NAD. Alcohol oxidase activities were expressed in μmol/mg/min, and formaldehyde dehydrogenase activities were expressed in μmol/mg/min. β-lactamase activity, expressed as nmol/mg/min, was assayed spectrophotometrically at 569 nm and 30°C in 25 mM Tris- HCl (pH 7.5) using 11.1 mM PADAC as substrate (extinction coefficient 44.403 cirfV1) .

[0102]

As shown in Table 1, growth of wt P. pas toris on methanol as sole carbon source and ammonium sulfate as sole nitrogen source specifically induced high levels of FLD activity (Table 1) . Results were essentially the same for each of the five mutants and are shown in Table 1 for one of the mutant strains GS241. Each mutant contained significant levels of activity for all enzymes assayed except FLD which was undetectable. As controls, methanol-grown wild-type P. pastoris had normal levels of FLD activity, and methanol-induced cells of a P. pastoris strain that is deleted for its AOX genes and as a result cannot grow on methanol also contained substantial levels of FLD activity.

[0103]

The phenotypic and biochemical characteristics of the mutants were consistent with the finding that they were specifically defective in the P. pastoris FLDl gene. One putative fldl strain, GS241 ( fldl -1 ) , was selected for all further manipulations.

[0104]

EXAMPLE 2

[0105]

Isolation and characterization of the P. pas toris FLDl gene

[0106]

To clone the putative FLDl gene by functional complementation, strain GS241 was first crossed to P. pastoris strain GS115 (his4 ) to obtain a derivative that was both methanol-utilization defective (Muf) and auxotrophic for histidine (His") . One Mut'His" strain that resulted from this cross, MS105 ( fldl -1 his4 ) , was then transformed with 5-10 μg of a P. pastoris genomic DNA library constructed in the P. pastoris-E . coli shuttle vector ρYM8 using the spheroplast method (Cregg et al . , 1985; Liu et al . , 1995). The plasmid pYM8 is composed of the Saccharomyces cerevisiae histidinol dehydrogenase gene ( SHIS4 ) and a P. pastoris-specific autonomous replication sequence ( PARSl) inserted into E. coli plasmid pBR322. Approximately 50,000 library transformants were selected for His+ prototrophy on YND medium agar and resultant selected clones further selected on YNM plates for Mut+ phenotype. Total DNA was extracted from a pool of several hundred His+ Mut+ colonies and used to transform E. coli . One plasmid recovered from this process, pYGl, was able to retransfor strain MS105 to both His+ and Mut+ and was examined further.

[0107]

To determine the location of the putative FLDl gene on pYGl, the plasmid was restriction mapped, and selected fragments from the vector were subcloned and tested for the ability to complement strain MS105.

[0108]

Recombinant DNA methods were performed essentially as described in Sambrook et al . (1989). Oligonucleotides were synthesized and DNA sequencing was performed at the Oregon Regional Primate Research Center, Molecular Biology Core Facility (Beaverton, OR, USA) . The plasmid was found to be 14.5 kb in size and to contain an insert of 6.8 kb (Fig. 2). A 2.7-kb Sphτ-BamHI fragment was found to be sufficient to complement the Mut" defect in MS105 and was sequenced. The DNA sequence identified a long open reading frame (ORF) whose predicted product had strong similarity to other alcohol dehydrogenases . The sequence also suggested the possible presence of an intron near the 5' terminus of the gene.

[0109]

To confirm the presence of an intron, this region of the ORF was amplified from mRNA by the reverse transcriptase-polymerase chain reaction method (RT-PCR) , and the size and sequence of the product was compared to that obtained by PCR of the genomic fragment on plasmid pYGl (Fig. 3). PCR reactions were performed as described by Kramer and Coen (1995) . Total P. pastoris RNA was isolated according to Schmitt et al. (1990). The RT-PCR reaction was performed as previously described (Frohman et al., 1988; Stewart et al . , 1992) using the following oligonucleotide primers: 5' '-CACAATGTCTACCGAAGGTC-3 " (5' primer) and 5'-CCAGAAAGCGTGTAAGCATCAG-3 ' (31 primer). Whereas the genomic product was 284 bp in length, the cDNA product was significantly shorter at 170 bp. Alignment of the cDNA and genomic sequences demonstrated that a segment of 114 bp that was present in the genomic DNA was absent from the cDNA. Furthermore, examination of the putative intron/exon junctions revealed typical yeast splice junctions (5" junction, 5'- GTAAGT-3 " ; 3' junction, 5 ' -YAG-3 ' ') and branch point (5'-TACTAAC-3' ) (Domdey et al . , 1984; Sasnauskas et al . , 1992) . A single intron is therefore present at this position in the ORF. Finally, Southern blots of selected restriction digests of wild-type genomic DNA, using a fragment from the ORF as hybridization probe, indicated that the P. pastoris genome contained only one copy of the gene .

[0110]

The DNA and predicted amino acid sequences of the ORF are shown in Fig. 4. The sequence data are available from EMBL/GenBank/DDBJ under accession number AF066054. The ORF is 1,137 bp long and is predicted to encode a protein of 379 amino acids with a calculated molecular mass of 39,870. The intron begins at a position 18 bp (six amino acids) 3' of the A of the predicted methionine initiator ATG and is 114 bp in length. Northern blots of total RNA extracted from glucose- and methanol-grown wild-type P. pastoris cells, using a DNA fragment from the ORF region, showed a single mRNA species of approximately 1.3 kb that was present at high levels in methanol- but not glucose-grown cells (data not shown) . Overall, the codon usage of the putative FLDl gene was typical of other highly expressed P. pastoris genes (Sreekrishna, 1993).

[0111]

The GenBank/NCBI database was searched for other proteins with amino acid sequence similarity to the ORF product. The sequence of the putative FLDl protein (Fldlp) showed the highest identity (71%) with that of glutathione-dependent formaldehyde dehydrogenase from the yeast Candida mal tosa (Sasnauskas et al . , 1992) (Fig. 5). C. mal tosa is an n-alkane assimilating yeast and FLD is believed to be important in protecting the yeast from the toxic effects of formaldehyde (Sasnauskas et al . , 1992). The close similarity of the predicted C. mal tosa FLD product to that of the cloned ORF provides further support that this ORF encodes P. pastoris Fldlp. The P. pastoris Fldlp sequence also showed high identity with alcohol dehydrogenase III (ADHIII) proteins of higher eukaryotes (65%, human; 63%, horse; 64%, rat) and a lower but significant identity with other higher eukaryotic ADHs (Holmquist and Vallee, 1991; Koivusalo et al . , 1998; Rathnagiri et al . , 1998). Finally, the Fldlp sequence showed little similarity with the predicted amino acid sequences of S. cerevisiae ADHs. The closest, at 19% identity, was S. cerevisiae ADHI (Jornvall et al . , 1987).

[0112]

EXAMPLE 3 Isolation and characterization of the Hansenula Oolymoxroha. FLD gene

[0113]

The putative H. polymorpha FLDl gene was isolated using the same functional complementation strategy described above for the P. pastoris gene. An H. polymorpha genomic DNA library was constructed in P. pastoris vector pYM8 in the same manner as the P. pastoris library (Liu et al . 1995). Briefly, H. polymorpha genomic DNA was partially digested with Sau3A and size selected for fragments of 5-20 kb. These fragments were ligated into the BamHI site of pYM8. The library was composed of approximately 100,000 independent E. coli transformants with greater than 90% containing an insert. The average size of insert DNA was approximately 10 kb. Assuming that the size of the H. polymorpha genome is 10,000 kb, the library contained approximately 100 genome equivalents of H. polymorpha genomic DNA. Plasmids were recovered and analyzed for ones that were capable of simultaneously retransforming MS105 ( fldl -1 his4 to both His+ and Mut+ phenotypes . One plasmid, pYG2 , (Figure 9) that met these criteria was selected for use in these studies. This plasmid contained an H. polymorpha DNA insert of 7.2 kb and the Mut complementing activity was found to reside within a 2.4-kb Sphl fragment (Figure 10) . Southern blot studies indicated that vectors pYGl and pYG2 contained homologous FLD genes . An example of such a blot is shown in Figures 11. In this experiment, genomic DNA from H. polymorpha was digested with either Bglll (B2) (lanes 1-3) or Clal (C) (lanes 4-6) and hybridized with the following labeled probes: pYG2 (lanes 1 and 4), pYM8 (lanes 2 and 5), or pYGl (lanes 3 and 6). The pYG2 probe containing the putative H. polymorpha FLDl gene produced major bands of -15 kb and ~7 kb when hybridized at high stringency to Bglll and Clal digested H. polymorpha genomic DNAs , respectively. Hybridization of pYGl containing the P. pastoris FLDl gene at low stringency (30% formamide, 37°C hybridization, lx SSC, room temperature washing) produced major bands of hybridization of the same size. These bands were not due to hybridization of vector sequences from pYM8 , since the pYM8 probe showed no major bands of hybridization with H. polymorpha genomic DNA under the same low stringency conditions .

[0114]

EXAMPLE 4

[0115]

Comparison of the thermal stability of Fldlp from P. pastoris and H. polymorpha Further evidence that the cloned P. pastoris gene actually encodes an FLD was obtained by comparing the thermal stability of its product to FLD from H. polymorpha . H. polymorpha is a related methylotrophic yeast that has a significantly higher optimal growth temperature than P. pastoris (42°C versus 30°C) . FLD from H. polymorpha would therefore be expected to display a significantly higher thermal stability than P. pastoris FLD. A comparison of the thermal stability properties of the putative FLDs from the two yeasts provides strong support for the identity of the gene product. In this experiment, the putative P. pas toris and H. polymorpha FLDl genes were expressed in methanol-grown cells of the P. pastoris fldl -1 his4 strain MS105, and the thermal stability of FLD activity in each was assessed by incubating extracts prepared from the strains at 60°C for selected periods of time and determining the rate of loss of FLD activity. If the genes actually encode Fldlp, the FLD inactivation rate for H. polymorpha Fldlp expressed in P. pastoris should be similar to that of wild-type H. polymorpha Fldlp, and the inactivation rate for the P. pastoris gene product should be similar to that of wild-type P. pas toris Fldlp.

[0116]

To perform this comparison, it was first necessary to establish that the thermal stability of the P. pastoris and H. polymorpha FLDs were significantly different and to clone the putative H. polymorpha FLDl gene. Thermal stabilities were determined by preparing cell-free extracts from methanol-grown cultures of wild- type P. pas toris and H. polymorpha and incubating them at 60°C. At selected times during incubation, samples of extract were removed and assayed for FLD activity. As shown in Fig. 6, H. polymorpha FLD activity was significantly more heat stable than P. pastoris activity.

[0117]

Thermal stability of FLD expressed from H. polymorpha vector pYG2 was then compared to that of FLD from the P. pastoris vector pYGl . As shown in Fig. 6, FLD in MSl05(pYG2) had a thermal inactivation rate similar to that of wild-type H. polymorpha , while MS105(pYGl) had a rate similar to that of P. pastoris . These results, taken with results demonstrating the specific absence of FLD activity in P. pas toris strain GS241 (and MS105) and the close similarity of the primary amino acid sequences of the cloned P. pas toris ORF and C. mal tosa FLD, indicated that the cloned ORF encoded P. pastoris Fldlp.

[0118]

EXAMPLE 5

[0119]

Analysis of PFJLrl and comparison to PΛC:

[0120]

To examine gene expression under the transcriptional control of PFLDl, two vectors were constructed (Fig. 1) . Both vectors contained identical expression cassettes composed of a 0.6-kb unI-Ba.mHI fragment with sequences originating from just 5 ' of the methionine initiator ATG codon of FLDl fused to the bacterial Jbla gene encoding β-lactamase (β-lac) , followed by a fragment containing the AOXl transcriptional terminator. The Muni is artificial and was installed by PCR using an oligonucleotide that contained the Muni site along with sequences from just 5' of the methionine initiator ATG of FLDl . A restriction site at this location was needed to aid in inserting the promoter 5 ' of the β-lactamase reporter gene. A Muni site was chosen because the DNA termini generated with Muni are compatible with EcoRI and there was an EcoRI site already present just 5' of the β-lactamase reporter in the test vectors. An EcoRI site could not be placed at the 3' end of the FLDl gene because the FLDl promoter region has a natural EcoRI site.

[0121]

One vector, pSS040, contained a unique Nsil restriction site within the PFLD1 fragment. When cut at this site and transformed into P. pastoris , the vector efficiently integrated at the PFLD1 locus. The result of this integration event was a PFLD1-bla expression cassette that also included native FLDl sequences upstream of the PFLD1 fragment ( WT-PFLD1-bla) . Assuming that all sequences required for transcriptional control of FLDl are located 5 ' of the FLDl ORF, regulation of bla and FLDl expression in this strain should be nearly identical. As shown in Table 2, this appeared to be true in that the relative levels of β-lac and FLD activity in the strain were similar in cells grown in four expression test media. These four media contained as carbon and nitrogen sources, respectively: (1) glucose and ammonium sulfate (G/NH/) , (2) glucose and methylamine (G/MA) , (3) methanol and ammonium sulfate (M/NH4+) , and (4) methanol and methylamine (M/MA) . As expected, β-lac and FLD activities were highly repressed in cells grown on G/NH/ medium. Cells grown on either G/MA or M/NH/ media contained at least ten-fold more β-lac and FLD with the highest level of both enzymes observed in cells grown in M/MA medium. The second vector, pSS050, contained the P. pas toris HIS4 gene as the selectable marker. When cut at a unique Sail site within HIS4 and transformed in P. pastoris , this vector efficiently integrated at the P. pastoris HIS4 locus. The result of this integration event was a PFLD1-bla expression cassette with sequences from pBR322 just 5 ' ' of the 0.6-kb PFLD1 fragment (pB-PFLD1- bla) . Comparison of β-lac activity levels in this strain with those observed in the WT-PFLD1-bla strain allowed evaluation of whether the 0.6-kb fragment contained all upstream regulatory sequences required for normal regulation. Table 2 shows that β-lac activity levels in the pB-PFLD1-bla strain were approximately two-fold higher than those observed in the WT-PFLD1-bla strain when grown in each of the four expression test media. These results indicated that most sequences required for normal regulation were present within the PFLD1 fragment but that sequences that constitutively repress PFLD1 by a factor of about two- fold existed somewhere 5 ' of the PFLD1 fragment and were missing from the 0.6-kb fragment.

[0122]

Finally, levels of β-lac activity produced under control of PFLD1 were compared with those of a strain in which bla expression was under the transcriptional control of PA0X1 (Waterham et al . , 1997). As previously reported, PΛOX1 expression is strongly repressed in the glucose-containing media and is highly and specifically induced in methanol-containing media (Tschopp et al . , 1987; Waterham et al . , 1997) (Table 2). Comparable levels of β-lac were present in cells of the WT-PFLD1 -bla strain grown in either M/NH/ or M/MA media, whereas cells of the pB-PFLD1-bla strain contained levels of β-lac that were significantly higher than those in the PA0X1-bla strain. Especially noteworthy were the levels of β-lac in the pB-PFLD1 -bla strain on M/NH/ and M/MA media which were consistently about twice those observed in the PA0X1- bla strain on the same media.

[0123]

EXAMPLE 6

[0124]

The FLDl gene confers resistance to formaldehyde

[0125]

The P. pastoris FLDl gene was incorporated into pPICZ vectors containing ZeoR (Invitrogen, Carlsbad, CA) . Two such pPICZ-FLDl vectors were constructed. In one, the whole FLDl gene including the FLDl promoter, structural gene and transcriptional terminator were inserted (pPFLD1-FLDl) . In the other, the FLDl structural gene (and transcriptional terminator) was placed under the control of the P. pastoris glyceraldehyde-3-phosphate dehydrogenase gene ( GAP) promoter (ρPGAP-FLDl) . These two plasmids were linearized within their respective promoter fragments (PFLD1, PGAP) and transformed by electroporation into wild-type and MS105 ( fldl -1 his4 ) P. pastoris strains by selection for resistance to Zeocin at 100 μg/ml and 1 g/ml . The lower Zeocin concentration selects for P. pas toris transformants that have one integrated copy of a ZeoR vector while the high Zeocin concentration selects for transformants that have multiple integrated ZeoR vector copies. Selected transformants of each type were streaked onto a YPD medium plate containing either Zeocin at 100 mg/ml or 1 mg/ml and onto sets of YPD plates containing formaldehyde at concentrations ranging from 0 to 30 mM. As a control, wild-type and GS241 strains transformed with a pPICZ vector alone (i.e., without an FLDl gene) were also streaked onto the plates.

[0126]

It was observed that MS105 strains transformed with pPICZ alone were resistant to 1 mM formaldehyde. MS105-derived strains containing a single copy of pPFLD1-FLDl and pPGAP-FLDl were resistant to 10 mM

[0127]

-56-

[0128]

SUBST1TUTE SHEET (RULE 26) and 5 mM formaldehyde, respectively, whereas MS105- derived strains containing multiple copies of pPFLD1-FLDl and pPGAP-FLDl were resistant to 30 mM and 10 mM formaldehyde, respectively. Thus, either the pPFLD1-FLDl and pPGAP-FLDl vectors conferred increased resistance to formaldehyde. In addition, an additive effect was evident in that increased numbers of copies of each vector resulted in an increased level of resistance to formaldehyde over that conferred by one copy of each vector.

[0129]

Wild-type P. pastoris strains transformed with pPICZ alone were resistant to 5 mM formaldehyde. Because wild-type strains contain one native copy of the FLDl gene, the concentration of formaldehyde to which this strain was resistant was significantly higher as expected. Wild-type-derived strains containing a single copy of pPFLD1-FLDl and pPGAP-FLDl were resistant to 10 and 5 mM formaldehyde, respectively, whereas wild-type- derived strains containing multiple copies of pPFLD1-FLDl and pPGAP-FLDl were resistant to 30 mM formaldehyde, respectively. Thus, the pPFLD1-FLDl but not the pPGAP-FLDl vectors conferred increased resistance to formaldehyde. An additive effect was also evident with increased numbers of copies of each vector conferring an increased level of resistance to formaldehyde over one copy of each vector .

[0130]

These transformation experiments were repeated with the pP-.LD1-FLDl and pPGAP-FLDl vectors and wild-type and MS105 P. pastoris strains only selecting directly for resistance to formaldehyde (along with selection for Zeocin resistance as a control) . With strain MS105, 2 mM formaldehyde was optimal for selection

[0131]

-57-

[0132]

SUBST1TUTE SHEET (RULE 26) of transformants. This concentration of formaldehyde produced approximately the same number of transformants as observed with the 100 μg/ml Zeocin selection control. For wild-type P. pastoris, 1 mM formaldehyde was optimal for selection of transformants with the pPFLD1-FLDl vector. This concentration produced approximately the same number of transformants as observed with the 100 μg/ml Zeocin selection control. Transformation was not observed with the pPGAP-FLDl vector. Based on these positive results, a P. pastoris expression vector was constructed. The vector contains a heterologous gene expression cassette composed of DNA fragments containing the AOX1 promoter and transcriptional terminator separated by a multiple cloning site (MCS) into which heterologous genes can be inserted. The expression cassette is followed by a DNA segment containing the PGAP-FLD1 gene construct, and this segment is followed by a DNA fragment that is derived from sequences 3' of the AOXl gene. This set of DNA fragments is inserted into the bacterial plasmid pBluesceipt (Stratagene, San Diego, CA) so that the vector can be propagated in E. coli .

[0133]

After insertion of the heterologous gene at the MCS, the resulting vector is cut with the restriction enzyme Notl to release from the bacterial plasmid a DNA fragment capable of transforming P. pastoris . The fragment is transformed into either wild- type or MS105 ( fldl -1 ) strains of P. pas toris by electroporation and transformants are selected on YPD medium plates containing either 7 mM formaldehyde for wild type strains or 2 mM for MS105 fldl strains. The vector fragment will insert itself into the P. pas toris genome in one of two ways. The first is by a gene replacement event replacing the AOXl gene. In addition to increased resistance to formaldehyde, such gene replacement transformants can be easily identified phenotypically because of their very slow growth rate on methanol due to the absence of the AOXl gene.

[0134]

Another way the vector will insert itself into the P. pastoris genome involves the circularization of the transforming fragment at some point before integration. After circularization, the transforming DNA can integrate by a single cross-over event at any of the P. pastoris genomic loci represented in the vector. These genomic regions include the FLDl , AOXl promoter and AOXl 3' flanking loci. Integration at any of these sites produces no change in strain phenotype other than increased resistance to formaldehyde. It is important to note that integration of this fragment in any manner does not result in the incorporation of an antibiotic resistance gene or any other gene foreign to P. pastoris with the exception of the heterologous gene whose protein product is desired.

[0135]

References

[0136]

Bradford, M. (1976) A rapid and sensitive method for the quantitation of microgram quantities of protein utilizing the principle of protein-dye binding. Anal. Biochem. 72, 248-254.

[0137]

Cregg, J.M. Expression in the methylotrophic yeast Pichia_ pastoris . (1998) In: J. Fernandez and J. Hoeffler (Eds.), Nature: The Palette for the Art of Expression, Chapter 10. Academic Press, San Diego, in press. Cregg, J.M., Barringer, K.J., Hessler, A.Y. and Madden, K.R. (1985) Pichia pas toris as a host system for transformations. Mol . Cell. Biol . 5, 3376. Cregg, J.M. and Russell, K.A. Transformation. (1998) In: D.R. Higgins and J.M. Cregg (Eds.) Methods in Molecular Biology: Pichia Protocols, Chapter 3. Humana Press, Totowa, NJ, pp. 27-39.

[0138]

Domdy, H., Apostol, B., Lin, R.J., Newman. A., Brody, E. and Abelson, J. (1984) Lariat structures are in vivo intermediates in yeast pre-mRNA splicing. Cell 39, 611-621.

[0139]

Frohman, M.A., Dush, M.K. and Martin, G.R. (1988) Rapid production of full-length cDNAs from rare transcripts: amplification using a single gene-specific oligonucleotide primer. Proc . Natl . Acad. Sci . USA. 85, 8998-9002.

[0140]

Higgins, D.R. and Cregg, J.M. (1998) Methods in Molecular Biology: Pichia Protocols. Humana Press, Totowa, New Jersey, pp. 1-15. Holmquist, B. and Vallee, B.L. (1991) Human liver class III alcohol and glutathione dependent formaldehyde dehydrogenase are the same enzyme. Biochem. Biophys . Res. Commun. 178, 1371-1377.

[0141]

-60-

[0142]

SUBST1TUTE SHEET (RULE 26) Jornvall, H., Persson, B. and Jeffery, J. (1987) Characteristics of alcohol/polyol dehydrogenases : the zinc-containing long-chain alcohol dehydrogenases. Eur. J. Biochem. 167, 195-201. Koivusalo, M. , Barmann, M. and Uotila, L. (1989) Evidence for the identity of glutathione-dependent formaldehyde dehydrogenase and class III alcohol dehydrogenase. FEBS Lett. 257, 105-109. Kramer, M.F. and Coen, D.M. The polymerase chain reaction. (1995) In: F.M. Ausubel , R. Brent, R.E.

[0143]

Kingston, D.D. Moore, J.G. Seidman, J.A. Smith and K. Struhl (Eds.) Current Protocols in Molecular Biology, Vol. 2, Chapter 15. John Wiley and Sons, New York, pp. 15.1.1-15.1.9. Liu, H., Tan, X, Russell, K.A. , Veenhuis, M. and Cregg, J.M. (1995) PER3 , a gene required for peroxisome biogenesis in Pichia pas toris , encodes a peroxisomal membrane protein involved in protein import. J. Biol. Chem. 270, 10940-10951. Luck, H. Catalase. (1963) In: H.U. Bergmeyer (Ed.),

[0144]

Methods of Enzymatic Analysis, Academic Press, San Diego, pp. 885-894.

[0145]

Rathnagiri, P., Krug, J.F., Kozak, C, Moretti, T., O'Brien, S.J., Seuanez, H.N. and Goldman, D. (1989) Cloning and comparative mapping of human class III alcohol dehydrogenase cDNA. Biochem. Biophys . Res. Commun. 164, 453-460.

[0146]

Sambrook, J. , Fritsch, E.F. andManiatis, T. (1989) Molecular Cloning: A Laboratory Manual, 2nd Edn. Cold Spring Harbor Laboratory Press, Cold Spring Harbor, NY. Sasnauskas, K. , Jomantiene, R. , Januska, A., Lebediene, E., Lebedys, J. and Janulaitis, A. (1992) Cloning and sequencing analysis of a Candida mal tosa gene which confers resistance to formaldehyde in Saccharomyces cerevisiae . Gene 122, 207-211.

[0147]

Schmitt, M., Brown, T.A. and Trumpower, B.L. (1990) A rapid and simple method for preparation of RNA from

[0148]

Saccharomyces cerevisiae . Nucleic Acids Res. 18,

[0149]

3091-3092.

[0150]

Schutte, H. , Flossdorf, J., Sahm, H. and Kula, M.R.

[0151]

(1976) Purification and properties of formaldehyde dehydrogenase and formate dehydrogenase from Candida boidinii . Eur. J. Biochem. 62, 151-160.

[0152]

Sibirny, A.A. , Ubiyvovk, V.M., Gonchar, M.V. , Titorenko,

[0153]

V.I., Voronovsky, A.Y., Kapultsevich, Y.G. and Bliznik,

[0154]

K.M. (1990) Reactions of direct formaldehyde oxidation to C02 are non-essential for energy supply of yeast methylotrophic growth. Arch. Microbiol 154, 566-575.

[0155]

Sreekrishna, K. Strategies for optimizing protein expression and secretion in the methylotrophic yeast

[0156]

Pichia pastoris . (1993) In: R.H. Baltz, G.D. Hegeman, and P.L. Skatrud (Eds.), Industrial Microorganisms: Basic and

[0157]

Applied Molecular Genetics . American Society for

[0158]

Microbiology, Washington, DC, pp. 119-126.

[0159]

Stewart, P., Kersten, P., Wymelenberg, A.V. , Gaskell, J. and Cullen, D. (1992) Lignin peroxidase gene family of Phanerochaete chrysosporium: complex regulation by carbon and nitrogen limitation and identification of a second dimorphic chromosome. J. Bacteriol. 174, 5036-5042.

[0160]

Tschopp, J.F., Brust, P.F., Cregg, J.M., Stillman, C.A. and Gingeras, T.R. (1987) Expression of the lacZ gene from two methanol-regulated promoters in Pichia pastoris .

[0161]

Nucleic Acids Res. 15, 3859-3876.

[0162]

van Dijken, J.P., Harder, W. , Beardsmore, A.J. and Quayle, J.R. (1978) Dihydroxyacetone: an intermediate in the assimilation of methanol by yeasts? FEMS Microbiol . Lett. 4, 97-102. van Dijken, J.P. (1976) Oxidation of methanol by

[0163]

Hansenula polymorpha : purification and kinetic properties of methanol oxidase. Ph.D. Thesis, University of Groningen, pp. 30-43. van der Klei, I.J., Bystrykh, L.V. and Harder, W. (1990) Alcohol oxidase from Hansenula polymorpha CBS 4732. Methods Enzymol. 188, 420-422.

[0164]

Veenhuis, M. , van Dijken, J.P. and Harder, W. (1983) The significance of peroxisomes in the metabolism of one- carbon compounds in yeasts. Adv. Microb. Physiol. 24, 1-82.

[0165]

Waites, M.J. and Quayle, J.R. (1981) The interrelation between transketolase and dihydroxyacetone synthase activities in the methylotrophic yeast Candida boidinii . J. Gen. Microbiol. 124, 309-316. Waterham, H.R., Keizer-Gunnink, I., Goodman, J.M.,

[0166]

Harder, W. and Veenhuis, M. (1992) Development of multipurpose peroxisomes in Candida boidinii grown in oleic acid-methanol limited continuous cultures. J. Bacteriol 174, 4057-4063. Waterham, H.R., Digan, M.E., Koutz, P.J., Lair, S.V. and Cregg, J.M. (1997) Isolation of the Pichia pastoris glyceraldehyde-3-phosphate dehydrogenase gene and regulation and use of its promoter. Gene 186, 37-44. Zwart, K. , Veenhuis, M. , van Dijken, J.P. and Harder, W. (1980) Development of amine oxidase-containing peroxisomes in yeast during growth on glucose in the presence of methylamine as the sole source of nitrogen. Arch. Microbiol. 126, 117-126.

[0167]

-64-

[0168]

SUBST1TUTE SHEET (RULE 26) Table 1

[0169]

Relative enzyme activity levels in methanol-utilization- defective mutants of P. pastoris .

[0170]

Strain % Activitya

[0171]

AOX CAT FLD FDH DAS DAK

[0172]

WT (methanol) 100 100 100 100 100 100

[0173]

WT (glucose) 0 2 1 0 3 53

[0174]

KM7121 ( aoxl 0 100 26 31 ND 88 aox2)

[0175]

GS241 ( fldl) 20 178 0 46 58 64

[0176]

a Activity for each enzyme is expressed as a percentage of that observed in. extracts prepared from methanol-grown cultures of wild-type P. pastoris . Abbreviations are: AOX, alcohol oxidase; CAT, catalase; FLD, formaldehyde dehydrogenase; FDH, formate dehydrogenase; DAS, dihydroxyacetone synthase; DAK, dihydroxyacetone kinase.b Not determined.

[0177]

Table 2

[0178]

Comparison of β-lactamase activity in extracts of P. pastoris strains expressing bla under control of PFLD and

[0179]

AOXl

[0180]

Strain Source of:a Enzyme activity0

[0181]

-

[0182]

C N β-lactamase FLD

[0183]

WT-PFLD1 -bla G NH/ 14 (4%) 0.13 (6%)

[0184]

(at FLDl G MA 168 (48%) 1.50 (69%) locus) M NH/ 310 (88%) 1.69 (78%)

[0185]

M MA 352 (100%) 2.16 (100%) pB-PFLD1 -bla G NH/ 19 (5%) 0.11 (5%)

[0186]

(at HIS 4 G MA 357 (102%) 0.82 (38%) locus) M NH/ 529 (150%) 1.48 (69%)

[0187]

M MA 530 (151%) 1.75 (81%)

[0188]

PAoxι~bla G NH/ 0.3 (0.1%) 0.12 (6%)

[0189]

G MA 0.5 (0.1%) 0.65 (30%)

[0190]

M NH/ 241 (68%) 1.40 (65%)

[0191]

M MA 254 (72%) 2.06 (95%)

[0192]

a Each strain was grown in media containing either glucose (G) or methanol (M) as carbon source and ammonium sulfate (NH/) or methylamine (MA) as nitrogen source.b β-lactamase activities are expressed as nmol/mg per min and, in parentheses, as a percentage of activity seen in the WT-PFLD1-bla strain grown on methanol and methylamine. Activities represent the mean of three experiments using two independently transformed strains.

[0193]

SEQUENCE LISTING

[0194]

<110> Cregg, James M.

[0195]

<120> FORMALDEHYDE DEHYDROGENASES GENES FROM METHYLOTROPHIC YEASTS

[0196]

<130> RESEARCH CORPORATION

[0197]

<140> Unassigned <141> 1999-07-02

[0198]

<160> 5

[0199]

<170> Patentln Ver. 2.0

[0200]

<210> 1

[0201]

<211> 2774

[0202]

<212> DNA

[0203]

<213> Pichia pastoris

[0204]

<220>

[0205]

<221> CDS

[0206]

<222> (598) .. (615)

[0207]

<220>

[0208]

<221> CDS

[0209]

<222> (730) .. (1851)

[0210]

<400> 1 gcatgcagga atctctggca cggtgctaat ggtagttatc caacggagct gaggtagtcg 60

[0211]

atatatctgg atatgccgcc tataggataa aaacaggaga gggtgaacct tgcttatggc 120

[0212]

tactagattg ttcttgtact ctgaattctc attatgggaa actaaacfcaa tctcatctgt 180

[0213]

gtgttgcagt actattgaat cgttgtagta tctacctgga gggcattcca tbaattagtg 240

[0214]

agataacaga gttgggtaac tagagagaat aatagacgta tgcatgatta ctacacaacg 300

[0215]

gatgtcgcac tctttcctta gttaaaacta tcatccaatc acaagatgcg ggctggaaag 360

[0216]

acttgctccc gaaggataat cttctgcttc tatctccctt cctcatatgg tttcgcaggg 420

[0217]

ctcatgcccc ttcttccttc gaactgcccg atgaggaagt ccttagccta tcaaagaatt 480

[0218]

cgggaccatc atcgattttt agagccttac ctgatcgcaa tcaggatttc actactcata 540 taaatacatc gctcaaagct ccaactttgc ttgttcatac aattcttgat attcaca 597 atg tct ace gaa ggt caa gtaagttcaa tcaaagtaat tgtttgggag 645

[0219]

Met Ser Thr Glu Gly Gin 1 5 ggaagaagat tgttttattg cgaacctttc aatatcttac ccgactaaat aaccattaca 705

[0220]

gtgaattttt tactaactat atag ate ate aaa tgt aag gca get gtt gee 756 lie lie Lys Cys Lys Ala Ala Val Ala 10 15 tgg gag gca gga aag gat etc tct att gag gag att gag gtt ctt cct 804

[0221]

Trp Glu Ala Gly Lys Asp Leu Ser lie Glu Glu lie Glu Val Leu Pro

[0222]

20 25 30 cca aga gcc cat gaa gtt aga gtg aaa gtg gaa ttc act ggt gta tgc 852

[0223]

Pro Arg Ala His Glu Val Arg Val Lys Val Glu Phe Thr Gly Val Cys 35 40 45 cac act gat get tac acg ctt tct ggt gca gat gca gag gga agt ttc 900

[0224]

His Thr Asp Ala Tyr Thr Leu Ser Gly Ala Asp Ala Glu Gly Ser Phe 50 55 60 cct gtt gtg ttc ggc cat gaa ggt get ggt gtt gtc gag tea gtt gga 948

[0225]

Pro Val Val Phe Gly His Glu Gly Ala Gly Val Val Glu Ser Val Gly 65 70 75 gaa ggt gtt gag tec gtg aag gtt ggg gat tct gta gtg ctt ctg tac 996

[0226]

Glu Gly Val Glu Ser Val Lys Val Gly Asp Ser Val Val Leu Leu Tyr 80 85 90 95 act cct gag tgc aga gag tgc aag ttc tgt ctg tct ggt aag acg aac 1044

[0227]

Thr Pro Glu Cys Arg Glu Cys Lys Phe Cys Leu Ser Gly Lys Thr Asn 100 105 110 etc tgt ggt aaa ate aga gcc ace cag ggt aaa ggt ttg tta cca gac 1092

[0228]

Leu Cys Gly Lys lie Arg Ala Thr Gin Gly Lys Gly Leu Leu Pro Asp 115 120 125 ggg act tct cgt ttc cgt tgt aag ggc aag gat ttg ttt cac tat atg 1140

[0229]

Gly Thr Ser Arg Phe Arg Cys Lys Gly Lys Asp Leu Phe His Tyr Met 130 135 140 gga tgt tct tec ttt tct caa tac act gtg gtg get gac ate tea gtg 1188

[0230]

Gly Cys Ser Ser Phe Ser Gin Tyr Thr Val Val Ala Asp lie Ser Val 145 150 155 gtt aaa gtc caa gac gaa get cct aag gac aag aca tgt ctg ttg ggt 1236

[0231]

Val Lys Val Gin Asp Glu Ala Pro Lys Asp Lys Thr Cys Leu Leu Gly 160 165 170 175 tgt ggt gtt ace aca ggg tac ggt get get ate aac act get aag ate 1284

[0232]

Cys Gly Val Thr Thr Gly Tyr Gly Ala Ala lie Asn Thr Ala Lys lie 180 185 190 tct aag ggt gac aag ate ggt gtg ttt ggt get gga tgt att gga tta 1332

[0233]

Ser Lys Gly Asp Lys lie Gly Val Phe Gly Ala Gly Cys lie Gly Leu 195 200 205 tct gtc ate caa ggt gca gtt tec aaa ggt gca age gag att att gta 1380

[0234]

Ser Val He Gin Gly Ala Val Ser Lys Gly Ala Ser Glu He He Val 210 215 220 att gac ate aat gat tea aag aag gca tgg gcg gac caa ttt ggt gca 1428

[0235]

He Asp He Asn Asp Ser Lys Lys Ala Trp Ala Asp Gin Phe Gly Ala 225 230 235 act aag ttt gtc aat cct aca ace tta cca gaa ggt ace aat att gtt 1476

[0236]

Thr Lys Phe Val Asn Pro Thr Thr Leu Pro Glu Gly Thr Asn He Val 240 245 250 255 gac tac ttg att gat ate act gac gga ggc ttt gac tat ace ttc gac 1524

[0237]

Asp Tyr Leu He Asp He Thr Asp Gly Gly Phe Asp Tyr Thr Phe Asp 260 265 270 tgt ace ggt aat gtt caa gta atg aga aat gca ctt gaa tct tgc cac 1572

[0238]

Cys Thr Gly Asn Val Gin Val Met Arg Asn Ala Leu Glu Ser Cys His 275 280 285 aag ggt tgg ggt gag teg ate ate ate ggt gtc get get get ggt aaa 1620

[0239]

Lys Gly Trp Gly Glu Ser He He He Gly Val Ala Ala Ala Gly Lys 290 295 300 gaa ate tct ace cgt cct ttc cag ttg gtt act ggc aga gtc tgg aga 1668

[0240]

Glu He Ser Thr Arg Pro Phe Gin Leu Val Thr Gly Arg Val Trp Arg 305 310 315 gga tgc gcc ttt gga ggt ate aag gga cgt act caa atg cca tct ttg 1716

[0241]

Gly Cys Ala Phe Gly Gly He Lys Gly Arg Thr Gin Met Pro Ser Leu 320 325 330 335 gtt cag gac tat ctt gat ggt aag att aaa gtt gac gag ttt ate aca 1764

[0242]

Val Gin Asp Tyr Leu Asp Gly Lys He Lys Val Asp Glu Phe He Thr 340 345 350 cac aga cat gac ctg gac aac ate aac aaa gca ttt cat gac atg cat 1812

[0243]

His Arg His Asp Leu Asp Asn He Asn Lys Ala Phe His Asp Met His 355 360 365 get gga aac tgt att cgt get gtg att act atg cac taa gtacgacgta 1861

[0244]

Ala Gly Asn Cys He Arg Ala Val He Thr Met His

[0245]

370 375 380 tgatgaatga atgagttatg taaggcccga tctcagctag gacgtttata gacctatgta 1921

[0246]

tatatatgta tgtatacgta tatacctcaa actcatttta tggctatagg aaggattgtt 1981

[0247]

ttcatcgtta tgtccgaaga tacatcaata cagcgtttct tgatttgtac caaacactcc 2041

[0248]

ecaggtagat tctccagtet cgctagttac ettcgcggta ttgatcgacg etetgtgaaa 2101

[0249]

aaataaaaaa aaaatgtcaa tagtatcgag gttggcttca aaatcaccag cgttctgtat 2161

[0250]

cgggttecgt ttttgagctt ctactttcct tatatecate atacattcct gtgettgaat 2221

[0251]

tcagcagtag aatgtccgat cgatatattg tgttgcatat caacaccacc gccaatgaga 2281

[0252]

gttctcagca gttcaaacgc gacccttcag agattattga gctagcatgg gttctgctag 2341

[0253]

atcctggaac caactttgaa atagttggta ggggaagtgt tctggctaaa ccattcaaca 2401

[0254]

ctcctataac cccgctttgt accagcatga caactcttac atgggaaagt gtcaagaacg 2461

[0255]

ctggttcact caaggatgcg ctagaggagc ttagcagatt tattgactca aacttggtca 2521

[0256]

gcaacggctt gtcattcagt tttataactc tgaatgcctg ggatctccgc ttgaaattac 2581

[0257]

ccaaggagtc gcgtgaaaga agtatagccc ttcccgcgta cttggactta cccaagtact 2641

[0258]

ttgatcttag aaaagaattc tgtagatggg cccaaaaatc atctgcattg actacaaacg 2701

[0259]

gtaateacat gagtttaget tatatggtat ctaaacttga aacagaagct agtttggttt 2761

[0260]

tggacgagga tec 2774 <210> 2

[0261]

<211> 379

[0262]

<212> PRT

[0263]

<213> Pichia pastoris

[0264]

<400> 2

[0265]

Met Ser Thr Glu Gly Gin He He Lys Cys Lys Ala Ala Val Ala Trp 1 5 10 15

[0266]

Glu Ala Gly Lys Asp Leu Ser He Glu Glu He Glu Val Leu Pro Pro 20 25 30

[0267]

Arg Ala His Glu Val Arg Val Lys Val Glu Phe Thr Gly Val Cys His 35 40 45

[0268]

Thr Asp Ala Tyr Thr Leu Ser Gly Ala Asp Ala Glu Gly Ser Phe Pro 50 55 60

[0269]

Val Val Phe Gly His Glu Gly Ala Gly Val Val Glu Ser Val Gly Glu 65 70 75 80

[0270]

Gly Val Glu Ser Val Lys Val Gly Asp Ser Val Val Leu Leu Tyr Thr

[0271]

85 90 95

[0272]

Pro Glu Cys Arg Glu Cys Lys Phe Cys Leu Ser Gly Lys Thr Asn Leu 100 105 110

[0273]

Cys Gly Lys He Arg Ala Thr Gin Gly Lys Gly Leu Leu Pro Asp Gly 115 120 125

[0274]

Thr Ser Arg Phe Arg Cys Lys Gly Lys Asp Leu Phe His Tyr Met Gly 130 135 140

[0275]

Cys Ser Ser Phe Ser Gin Tyr Thr Val Val Ala Asp He Ser Val Val 145 150 155 160

[0276]

Lys Val Gin Asp Glu Ala Pro Lys Asp Lys Thr Cys Leu Leu Gly Cys 165 170 175

[0277]

Gly Val Thr Thr Gly Tyr Gly Ala Ala He Asn Thr Ala Lys He Ser 180 185 190

[0278]

Lys Gly Asp Lys He Gly Val Phe Gly Ala Gly Cys He Gly Leu Ser 195 200 205

[0279]

Val He Gin Gly Ala Val Ser Lys Gly Ala Ser Glu He He Val He 210 215 220

[0280]

Asp He Asn Asp Ser Lys Lys Ala Trp Ala Asp Gin Phe Gly Ala Thr 225 230 235 240

[0281]

Lys Phe Val Asn Pro Thr Thr Leu Pro Glu Gly Thr Asn He Val Asp 245 250 255

[0282]

Tyr Leu He Asp He Thr Asp Gly Gly Phe Asp Tyr Thr Phe Asp Cys 260 265 270 Thr Gly Asn Val Gin Val Met Arg Asn Ala Leu Glu Ser Cys His Lys 275 280 285

[0283]

Gly Trp Gly Glu Ser He He He Gly Val Ala Ala Ala Gly Lys Glu 290 295 300

[0284]

He Ser Thr Arg Pro Phe Gin Leu Val Thr Gly Arg Val Trp Arg Gly 305 310 315 320

[0285]

Cys Ala Phe Gly Gly He Lys Gly Arg Thr Gin Met Pro Ser Leu Val 325 330 335

[0286]

Gin Asp Tyr Leu Asp Gly Lys He Lys Val Asp Glu Phe He Thr His 340 345 350

[0287]

Arg His Asp Leu Asp Asn He Asn Lys Ala Phe His Asp Met His Ala 355 360 365

[0288]

Gly Asn Cys He Arg Ala Val He Thr Met His 370 375

[0289]

<210> 3

[0290]

<211> 597

[0291]

<212> DNA

[0292]

<213> Pichia pastoris

[0293]

<400> 3 gcatgcagga atctctggca cggtgctaat ggtagttatc caacggagct gaggtagtcg 60

[0294]

atatatctgg atatgccgcc tataggataa aaacaggaga gggtgaacct tgcttatggc 120

[0295]

tactagattg ttcttgtact ctgaattctc attatgggaa actaaactaa tctcatctgt 180

[0296]

gtgttgcagt actattgaat cgttgtagta tctacctgga gggcattcca tgaattagtg 240

[0297]

agataacaga gttgggtaac tagagagaat aatagacgta tgcatgatta ctacaeaacg 300

[0298]

gatgtcgcae tctttcetta gttaaaaeta tcatceaatc acaagatgeg ggetggaaag 360

[0299]

acttgctccc gaaggataat cttctgcttc tatctccctt cctcatatgg tttcgcaggg 420

[0300]

ctcatgcccc ttcttccttc gaactgcccg atgaggaagt ccttagccta tcaaagaatt 480

[0301]

cgggaccatc atcgattttt agagccttac ctgatcgcaa tcaggatttc actactcata 540 taaatacatc gctcaaagct ccaactttgc ttgttcatac aattcttgat attcaca 597 <210> 4

[0302]

<211> 300

[0303]

<212> DNA

[0304]

<213> Pichia pastoris

[0305]

<400> 4 gtacgacgta tgatgaatga atgagttatg taaggcccga tctcagctag gacgtttata 60

[0306]

gacctatgta tatatatgta tgtatacgta tatacctcaa actcatttta tggctatagg 120

[0307]

aaggattgtt ttcatcgtta tgtccgaaga tacatcaata cagcgtttct tgatttgtac 180

[0308]

caaacactcc ecaggtagat tctccagtet cgctagttac ettcgcggta ttgatcgacg 240

[0309]

etetgtgaaa aaataaaaaa aaaatgtcaa tagtatcgag gttggcttca aaatcaccag 300

[0310]

<210> 5

[0311]

<211> 1293

[0312]

<212> DNA

[0313]

<213> Pichia pastoris

[0314]

<220>

[0315]

<221> CDS

[0316]

<222> (1) .. (18)

[0317]

<223> genomic, double stranded

[0318]

<220>

[0319]

<221> CDS

[0320]

<222> (133) .. (1293)

[0321]

<223> genomic, double stranded

[0322]

<400> 5 atg tct ace gaa ggt caa gtaagttcaa tcaaagtaat tgtttgggag 48

[0323]

Met Ser Thr Glu Gly Gin 1 5 ggaagaagat tgttttattg cgaacctttc aatatcttac ccgactaaat aaccattaca 108

[0324]

gtgaattttt tactaactat atag ate ate aaa tgt aag gca get gtt gcc 159

[0325]

He He Lys Cys Lys Ala Ala Val Ala 10 15 tgg gag gca gga aag gat etc tct att gag gag att gag gtt ctt cct 207

[0326]

Trp Glu Ala Gly Lys Asp Leu Ser He Glu Glu He Glu Val Leu Pro

[0327]

20 25 30 cca aga gcc cat gaa gtt aga gtg aaa gtg gaa ttc act ggt gta tgc 255 Pro Arg Ala His Glu Val Arg Val Lys Val Glu Phe Thr Gly Val Cys 35 40 45 cac act gat get tac acg ctt tct ggt gca gat gca gag gga agt ttc 303

[0328]

His Thr Asp Ala Tyr Thr Leu Ser Gly Ala Asp Ala Glu Gly Ser Phe 50 55 60 cct gtt gtg ttc ggc cat gaa ggt get ggt gtt gtc gag tea gtt gga 351

[0329]

Pro Val Val Phe Gly His Glu Gly Ala Gly Val Val Glu Ser Val Gly 65 70 75 gaa ggt gtt gag tec gtg aag gtt ggg gat tct gta gtg ctt ctg tac 399

[0330]

Glu Gly Val Glu Ser Val Lys Val Gly Asp Ser Val Val Leu Leu Tyr 80 85 90 95 act cct gag tgc aga gag tgc aag ttc tgt ctg tct ggt aag acg aac 447

[0331]

Thr Pro Glu Cys Arg Glu Cys Lys Phe Cys Leu Ser Gly Lys Thr Asn 100 105 110 etc tgt ggt aaa ate aga gcc ace cag ggt aaa ggt ttg tta cca gac 495

[0332]

Leu Cys Gly Lys He Arg Ala Thr Gin Gly Lys Gly Leu Leu Pro Asp 115 120 125 ggg act tct cgt ttc cgt tgt aag ggc aag gat ttg ttt cac tat atg 543

[0333]

Gly Thr Ser Arg Phe Arg Cys Lys Gly Lys Asp Leu Phe His Tyr Met 130 135 140 gga tgt tct tec ttt tct caa tac act gtg gtg get gac ate tea gtg 591

[0334]

Gly Cys Ser Ser Phe Ser Gin Tyr Thr Val Val Ala Asp He Ser Val 145 150 155 gtt aaa gtc caa gac gaa get cct aag gac aag aca tgt ctg ttg ggt 639

[0335]

Val Lys Val Gin Asp Glu Ala Pro Lys Asp Lys Thr Cys Leu Leu Gly 160 165 170 175 tgt ggt gtt ace aca ggg tac ggt get get ate aac act get aag ate 687

[0336]

Cys Gly Val Thr Thr Gly Tyr Gly Ala Ala He Asn Thr Ala Lys He 180 185 190 tct aag ggt gac aag ate ggt gtg ttt ggt get gga tgt att gga tta 735

[0337]

Ser Lys Gly Asp Lys He Gly Val Phe Gly Ala Gly Cys He Gly Leu 195 200 205 tct gtc ate caa ggt gca gtt tec aaa ggt gca age gag att att gta 783

[0338]

Ser Val He Gin Gly Ala Val Ser Lys Gly Ala Ser Glu He He Val 210 215 220 att gac ate aat gat tea aag aag gca tgg gcg gac caa ttt ggt gca 831

[0339]

He Asp He Asn Asp Ser Lys Lys Ala Trp Ala Asp Gin Phe Gly Ala 225 230 235 act aag ttt gtc aat cct aca ace tta cca gaa ggt ace aat att gtt 879

[0340]

Thr Lys Phe Val Asn Pro Thr Thr Leu Pro Glu Gly Thr Asn He Val 240 245 250 255 gac tac ttg att gat ate act gac gga ggc ttt gac tat ace ttc gac 927

[0341]

Asp Tyr Leu He Asp He Thr Asp Gly Gly Phe Asp Tyr Thr Phe Asp 260 265 270 tgt ace ggt aat gtt caa gta atg aga aat gca ctt gaa tct tgc cac 975

[0342]

Cys Thr Gly Asn Val Gin Val Met Arg Asn Ala Leu Glu Ser Cys His 275 280 285 aag ggt tgg ggt gag teg ate ate ate ggt gtc get get get ggt aaa 1023

[0343]

Lys Gly Trp Gly Glu Ser He He He Gly Val Ala Ala Ala Gly Lys 290 295 300 gaa ate tct ace cgt cct ttc cag ttg gtt act ggc aga gtc tgg aga 1071

[0344]

Glu He Ser Thr Arg Pro Phe Gin Leu Val Thr Gly Arg Val Trp Arg 305 310 315 gga tgc gcc ttt gga ggt ate aag gga cgt act caa atg cca tct ttg 1119

[0345]

Gly Cys Ala Phe Gly Gly He Lys Gly Arg Thr Gin Met Pro Ser Leu 320 325 330 335 gtt cag gac tat ctt gat ggt aag att aaa gtt gac gag ttt ate aca 1167

[0346]

Val Gin Asp Tyr Leu Asp Gly Lys He Lys Val Asp Glu Phe He Thr 340 345 350 cac aga cat gac ctg gac aac ate aac aaa gca ttt cat gac atg cat 1215

[0347]

His Arg His Asp Leu Asp Asn He Asn Lys Ala Phe His Asp Met His 355 360 365 cac aga cat gac ctg gac aac ate aac aaa gca ttt cat get gga aac 1263

[0348]

His Arg His Asp Leu Asp Asn He Asn Lys Ala Phe His Ala Gly Asn 370 375 380 tgt att cgt get gtg att act atg cac taa 1293

[0349]

Cys He Arg Ala Val He Thr Met His 385 390

[0350]

<210> 5 <211> 392 <212> PRT <213> Pichia pastoris

[0351]

<400> 5

[0352]

Met Ser Thr Glu Gly Gin He He Lys Cys Lys Ala Ala Val Ala Trp 1 5 10 15

[0353]

Glu Ala Gly Lys Asp Leu Ser He Glu Glu He Glu Val Leu Pro Pro 20 25 30

[0354]

Arg Ala His Glu Val Arg Val Lys Val Glu Phe Thr Gly Val Cys His 35 40 45

[0355]

Thr Asp Ala Tyr Thr Leu Ser Gly Ala Asp Ala Glu Gly Ser Phe Pro 50 55 60

[0356]

Val Val Phe Gly His Glu Gly Ala Gly Val Val Glu Ser Val Gly Glu 65 70 75 80

[0357]

Gly Val Glu Ser Val Lys Val Gly Asp Ser Val Val Leu Leu Tyr Thr

[0358]

85 90 95

[0359]

Pro Glu Cys Arg Glu Cys Lys Phe Cys Leu Ser Gly Lys Thr Asn Leu 100 105 110

[0360]

Cys Gly Lys He Arg Ala Thr Gin Gly Lys Gly Leu Leu Pro Asp Gly 115 120 125

[0361]

Thr Ser Arg Phe Arg Cys Lys Gly Lys Asp Leu Phe His Tyr Met Gly 130 135 140

[0362]

Cys Ser Ser Phe Ser Gin Tyr Thr Val Val Ala Asp He Ser Val Val 145 150 155 160

[0363]

Lys Val Gin Asp Glu Ala Pro Lys Asp Lys Thr Cys Leu Leu Gly Cys 165 170 175

[0364]

Gly Val Thr Thr Gly Tyr Gly Ala Ala He Asn Thr Ala Lys He Ser 180 185 190

[0365]

Lys Gly Asp Lys He Gly Val Phe Gly Ala Gly Cys He Gly Leu Ser 195 200 205

[0366]

Val He Gin Gly Ala Val Ser Lys Gly Ala Ser Glu He He Val He 210 215 220

[0367]

Asp He Asn Asp Ser Lys Lys Ala Trp Ala Asp Gin Phe Gly Ala Thr 225 230 235 240

[0368]

Lys Phe Val Asn Pro Thr Thr Leu Pro Glu Gly Thr Asn He Val Asp 245 250 255

[0369]

Tyr Leu He Asp He Thr Asp Gly Gly Phe Asp Tyr Thr Phe Asp Cys 260 265 270

[0370]

Thr Gly Asn Val Gin Val Met Arg Asn Ala Leu Glu Ser Cys His Lys 275 280 285

[0371]

Gly Trp Gly Glu Ser He He He Gly Val Ala Ala Ala Gly Lys Glu 290 295 300 He Ser Thr Arg Pro Phe Gin Leu Val Thr Gly Arg Val Trp Arg Gly 305 310 315 320

[0372]

Cys Ala Phe Gly Gly He Lys Gly Arg Thr Gin Met Pro Ser Leu Val 325 330 335

[0373]

Gin Asp Tyr Leu Asp Gly Lys He Lys Val Asp Glu Phe He Thr His 340 345 350

[0374]

Arg His Asp Leu Asp Asn He Asn Lys Ala Phe His Asp Met His His 355 360 365

[0375]

Arg His Asp Leu Asp Asn He Asn Lys Ala Phe His Ala Gly Asn Cys 370 375 380

[0376]

He Arg Ala Val He Thr Met His 385 390

Как компенсировать расходы
на инновационную разработку
Похожие патенты