заявка
№ WO 1995034649
МПК A61K38/00

POLYCYSTIC KIDNEY DISEASE 1 GENE AND USES THEREOF

Авторы:
HARRIS, Peter, Charles PERAL, Belen WARD, Christopher, James
Все (12)
Номер заявки
GB9501386
Дата подачи заявки
13.06.1995
Опубликовано
21.12.1995
Страна
WO
Дата приоритета
15.12.2025
Номер приоритета
Страна приоритета
Как управлять
интеллектуальной собственностью
Реферат

[95]

The present invention relates to the polycystic kidney disease 1 (PKD1) gene and its nucleic acid sequence, mutations thereof in patients having PKD1-associated disorders, the protein encoded by the PKD1 gene or its mutants, and their uses in disease diagnosis and therapy.

[96]

[97]

Формула изобретения

CLAIMS

1. An isolated nucleic acid sequence comprising:-

(a) a PKDl gene or its complementary strand,

(b) a sequence substantially homologous to a substantial portion of a molecule defined in (a) above, or

(c) a fragment of a molecule defined in (a) or (b) above.

2. A sequence according to claim 1, wherein the PKDl gene has the nucleic acid sequence according to Figure 15.

3. A sequence according to claim 1, wherein the PKDl gene has the partial nucleic acid sequence according to Figure 7.

4. A sequence according to claim 1, wherein the PKDl gene has the partial nucleic acid sequence according to Figure 10.

5. An isolated nucleic acid selected from the group consisting of:

(a) [0X114] a nucleic acid including a deletion of 446 base pairs between residues 1746-2192 as defined in Figure

7; (b) [0X32] a nucleic acid including a deletion of 135 base pairs between residues 3696-3831 as defined in Figure

7;

(c) [0X875] a nucleic acid wherein about 5.5kb flanked by the two Xbal sites shown in Figure 3a are deleted and the EcoRI site separating the CW10 (41kb) and JHl (18kb) fragments is thereby absent;

(d) (WS-53) a nucleic acid including a deletion of about lOOkb encompassing the PKDl gene, wherein the 3' end of the deletion lies between the JHl and CW21 fragments and the 5' end of the deletion lies between the SM6 and JH17 frgments shown in Figure 6;

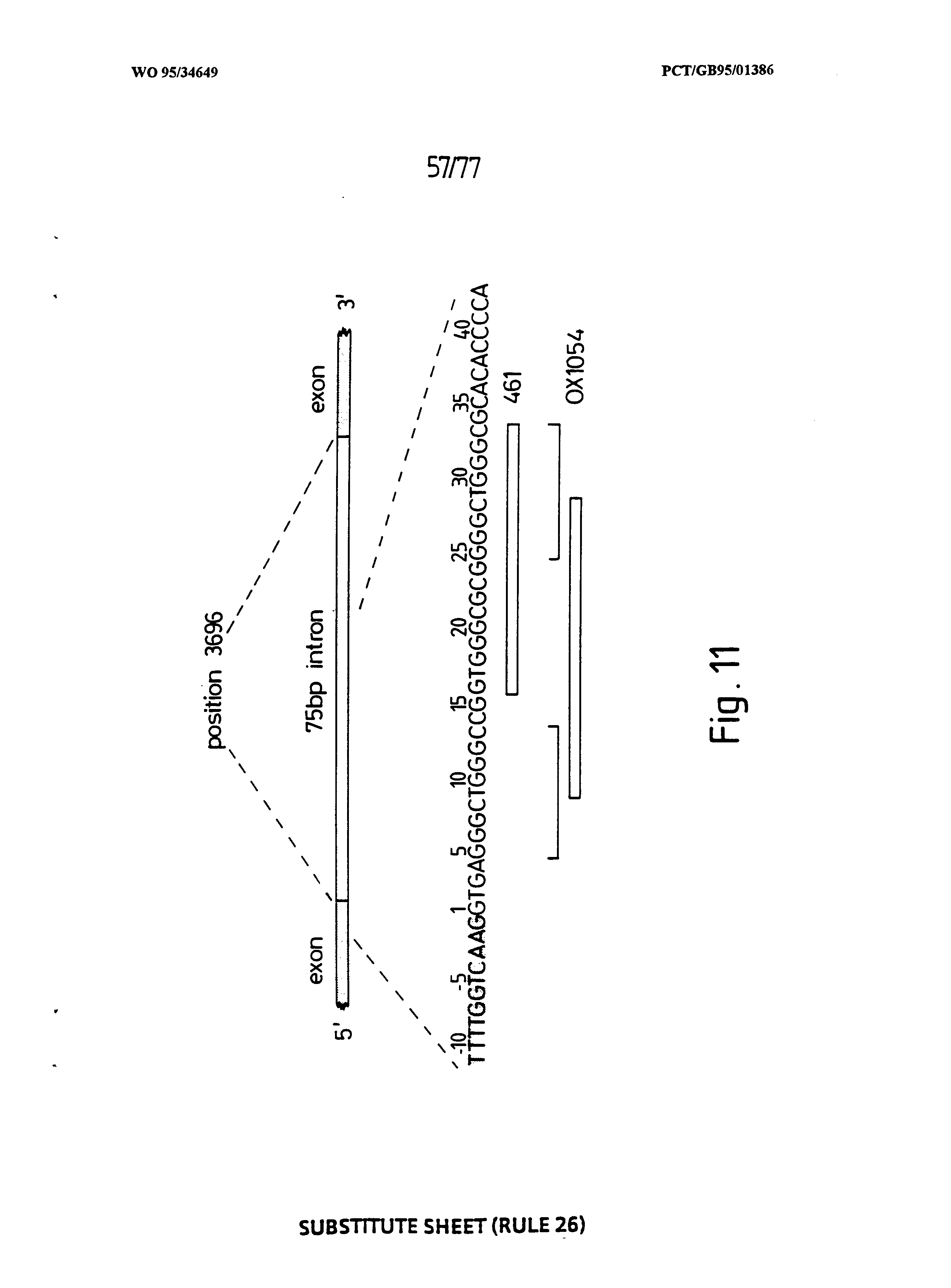
(e) (461) a nucleic acid wherein about 18 base pairs are deleted in the 75 base pair intron amplified by the primer pair 3A3C insert at position 3696 of the 3' sequence as shown in Figure 11;

( f) (0X1054 ) a nucleic acid wherein about 20 base pairs are deleted in the 75 base pair intron amplified by the primer pair 3A3C insert at position 3696 of the 3' sequence as shown in Figure 11;

(g) (WS-212) a nucleic acid including a deletion of about 75kb downstream of the PKDl gene and located between fragments SM9 and CW9 distal of the PKDl gene and the PKDl 3'UTR proximal to the PKDl gene as shown in Figure 12; (h) (WS-215) a nucleic acid including a deletion of about 160kb encompassing the PKDl gene, wherein the deletion extends 3' of the PKDl gene to within fragment CW15 and 5' of the PKDl gene to between fragments CW10 and CW36 as shown in Figure 12; (i) (WS-227) a nucleic acid including a deletion of about 50kb encompassing the PKDl gene, wherein the deletion extends 3 ' of the PKDl gene to within fragment CW20 and 5 ' of the PKDl gene to within fragment JH11 as shown in Figure 12 ;

(j) (WS-219) a nucleic acid including a deletion of about 27kb encompassing a portion of the PKDl gene, wherein the deletion extends 3 ' of the PKDl gene within fragment JHl and into the PKDl gene to within fragment JH6 as shown in

Figure 12;

(k) (WS-250) a nucleic acid including a deletion of about 160kb encompassing the PKDl gene, wherein the deletion extends 3 ' of the PKDl gene to within fragment CW20 and 5 ' of the PKDl gene to within fragment BLu24 as shown in

Figures la and 12; and

(1) (WS-194) a nucleic acid including a deletion of about 65kb encompassing the PKDl gene, wherein the deltion extends 3 ' of the PKDl gene to within fragment CW20 and 5' of the PKDl gene to within fragment CW10.

6. An isolated nucleic acid according to any preceding Claim, wherein the molecule is an RNA transcript comprising a sequence complementary to the coding region of the nucleic acid sequence according to Fig. 15 and comprising a length of about 14 KB.

7. An isolated nucleic acid according to claim 5 comprising an RNA transcript.

8. An isolated nucleic acid according to claim 6 comprising an RNA transcript. 9. A nucleic acid probe comprising 10 nucleotides complementary to 10 consecutive nucleotides of the PKDl sequence according to Figure 15.

10. A nucleic acid probe according to claim 9 wherein said probe is between 15 nucleotides and 14 kb in length.

11. A nucleic acid probe according to claim 10, said probe being between 100 nucleotides and 5 kb in length.

12. A recombinant expression vector comprising the isolated nucleic acid according to claim 1.

13. A host cell comprising the vector of claim 12.

14. A recombinant expression vector comprising the isolated nucleic acid according to claim 5.

15. A recombinant expression vector comprising the isolated nucleic acid according to claim 7.

16. An isolated polypeptide comprising a PKDl protein having the amino acid sequence according to Fig. 15.

17. An isolated polypeptide comprising a PKDl protein fragment having the amino acid sequence according to Fig. 7.

18. An isolated polypeptide comprising a PKDl protein fragment having the amino acid sequence according to Fig. 10.

19. An isolated polypeptide comprising a PKDl protein fragment having an amino acid sequence comprising the amino acid sequence according to Fig. 7 and the amino acid residue deletions defined by the nucleotide deletions of claim 5, parts ( a) , (b) and (j ) .

20. An immunoglobulin molecule having specificity for PKDl protein, said protein comprising the amino acid sequence according to any one of Figures 7, 10 or 15.

21. A method for screening a subject to determine whether said subject is a PKDl-associated disorder carrier or has a PKDl-associated disorder, which method comprises detecting the presence or absence of PKDl nucleic acid in a biological sample from said subject, wherein detection of a mutant or absent PKDl nucleic acid is indicative of a PKDl-associated disorder.

22. A method for screening a subject to determine whether said subject is a PKDl-associated disorder carrier or has a PKDl-associated disorder, which method comprises detecting the presence or absence of PKDl polypeptide in a biological sample from said subject, wherein detection of a mutant or absent PKDl polypeptide is indicative of a PKDl-associated disorder. 23. A method according to claim 21, comprising detecting a genomic fragment comprising the PKDl gene or a portion thereof, a genomic fragment comprising a flanking region of the PKDl gene or PKDl RNA.

24. A method according to claim 23, wherein said detection comprises hybridizing a PKDl nucleic acid probe to nucleic acid from said biological sample and comparing the results thereof with results obtained using a biological sample from a subject who is not a carrier of a PKDl-associated disorder.

25. A method according to claim 25, wherein said detection includes applying a nucleic acid amplification process to said nucleic acid to amplify a fragment of the PKDl nucleic acid.

26. A method according to claim 26, wherein said nucleic acid amplification process comprises amplifying a fragment of PKDl nucleic acid utilizing a set of primers selected from the group consisting of:- AH3 F9 : AH3 B7 3A3 Cl : 3A3 C2

AH4 F2 : JH14 B3.

27. A method according to claim 24 wherein said detection step comprises digesting nucleic acid from said biological sample to EcoRI fragments and hybridising with a DNA probe which hybridises to the restriction fragment in Figure 3(a) or 12.

28. A method according to claim 27, wherein nucleic acid from said biological sample is digested with EcoR I and said DNA probe is selected from the group consisting of the probes CW10, JH14, JH5, JH6, JH4, JH13, JH8, JHll and CW36 identified in Figures 3a and 12.

29. A method according to claim 28 which comprises digesting said nucleic acid to provide BamH I fragments and hybridising with a DNA probe which hybridises to the BamH I fragment identified (B) in Figure 3(a).

30. A method according to claim 30, wherein said DNA probe comprises the DNA probe 1A1H0.6 identified herein.

31. A method of treating a patient afflicted with a PKD1- associated disorder comprising administering a nucleic acid sequence according to any of claims 1 to 8.

32. A method of treating or preventing a PKDl-associated disorder which method comprises admxnistering to a patienr in need thereof a PKDl gene having the sequence according to Figure 15 so as to permit expression of PKDl protein.

33. A method of treating or preventing a PKDl-associated disorder which method comprises administering to a patient in need thereof a mutated PKDl gene isolated from WS212 DNA so as to permit expression of PKDl protein.

34. A diagnostic kit for amplifying a portion of the PKDl gene, comprising a pair of nucleic acid primers complementary to a portion of the PKDl nucleic acid sequence according to Fig. 15, and packaging means therefore.

35. A diagnostic kit according to claim 34, wherein the nucleic acid primers comprise one or more of the following sets: AH3 F9 : AH3 B7;

3A3 Cl : 3A3 C2; and AH4 F2 : JH14 B3.

36. A diagnostic kit for carrying out a method for determining whether said subject is a PKDl-associated disorder carrier or a patient having a PKDl-associated disorder, which kit includes a nucleic acid probe capable of hybridising to a sequence according to claim 1.

37. A diagnostic kit for carrying out a method for determining whether said subject is a PKDl-associated disorder carrier or a patient having a PKDl-associated disorder, which kit includes a nucleic acid probe capable of hybridising to a sequence according to claim 6 and packaging means therefore. 38. A diagnostic kit for carrying out a method for determining whether said subject is a PKDl-associated disorder carrier or a patient having a PKDl-associated disorder, which kit includes a nucleic acid probe capable of hybridising to a sequence according to claim 5 and packaging means therefore.

39. A diagnostic kit for detecting PKDl nucleic acid, including the DNA probe CW10 and packaging means therefore.

40. A diagnostic kit for detecting PKDl nucleic acid, including the DNA probe 1A1H0.6 and packaging means therefore.

Описание

[0001]

POLYCYSTIC KIDNEY DISEASE 1 GENE AND USES THEREOF BACKGROUND TO THE INVENTION

[0002]

In humans, one of the commonest of all genetic disorders is i

[0003]

> autosomal dominant polycystic kidney disease (ADPKD) also 5 termed adult polycystic kidney disease (APKD), affecting approximately 1/1000 individuals (Dalgaard, 1957). ADPKD is a progressive disease of cyst formation and enlargement typically leading to end stage renal disease (ESRD) in late middle age. The major cause of morbidity in ADPKD is

[0004]

10 progressive renal disease characterized by the formation and enlargement of fluid filled cysts, resulting in grossly enlarged kidneys. Renal function deteriorates as normal tissue is compromised by cystic growth, resulting in end stage renal disease (ESRD) in more than 50% of patients by

[0005]

15 the age of 60 years (Gabow, et al., 1992). ADPKD accounts for 8-10% of all renal transplantation and dialysis patients in Europe and the USA (Gabow, 1993).

[0006]

ADPKD also causes cystic growth in other organs (reviewed in Gabow, 1990) and occasionally presents in

[0007]

20 childhood (Fink, et al., 1993; Zerres, et al., 1993). Extrarenal manifestations include liver cysts ( ilutinovic, et al., 1980), and more rarely cysts of the pancreas (Gabow, 1993) and other organs. Intracranial aneurysms occur in approximately 5% of patients and are a significant cause of

[0008]

25 morbidity and mortality due to subarachnoid haemorrhage (Chapman, et al., 1992). ADPKD is associated with a higher prevalence of various connective tissue disorders. An increased prevalence of heart valve defects (Hossack, et al., 1988), hernia (Gabow, 1990) and colonic diverticulae (Scheff, et al. , 1980) have been reported.

[0009]

Considerable progress has been made in the last few years in understanding the pathophysiology of ADPKD (and other animal models of cystic disease) . Cysts in ADPKD are known to develop from outpouchings of descending or ascending kidney tubules and the early stages are characterized by a thickening and disorganization of the basement membrane, accompanied by a de-differentiation of tubular epithelial cells. Several of the characteristics of ADPKD epithelia: altered growth responses, abnormal expression of various proteins and reversal of polarity, may be a sign of this de-differentiation and important in cyst expansion. The nature of the primary defect which triggers these changes is, however, unknown and consequently much effort has been devoted to identifying the causative agent by genetic means.

[0010]

The first step towards positional cloning of an ADPKD gene was the demonstration of linkage of one locus now designated the polycystic kidney disease 1 (PKDl) locus to the α globin cluster on the short arm of chromosome 16 (Reeders, et al., 1985). Subsequently, families with ADPKD unlinked to markers of 16p were described (Kimberling, et al., 1988; Romeo, et al., 1988) and a second ADPKD locus (PKD2 ) has recently been assigned to chromosome region 4ql3- q23 (Kimberling, et al., 1993; Peter, et al., 1993). It is estimated that approximately 85% of ADPKD is due to PKDl (Peters and Sankuijl, 1992) with PKD2 accounting for most of the remainder. PKD2 appears to be milder condition with a later age of onset and ESRD (Parfrey. et al., 1990; Gabow, et al., 1992; Ravine, et al., 1992).

[0011]

The position of the PKDl locus was refined to chromosome band 16pl3.3 and many markers were isolated from that region (Breuning, et al., 1987; Reeders, et al., 1988; Breuning, et al., 1990; Germino, et al., 1990; Hyland, et al., 1990; Himmelbauer, et al., 1991). Their order, and the position of the PKDl locus, has been determined by extensive linkage analysis in normal and PKDl families and by the use of a panel of somatic cell hybrids (Reeders et al., 1988; Breuning, et al., 1990; Germino, et al., 1990). ADPKD is genetically heterogenous with loci mapped not only to 16pl3.3 (PKDl), but also to chromosome 4 (PKD2) . Although the phenotype of PKDl and PKD2 are clearly similar, it is now well documented that PKDl (which accounts for about 85% of ADPKD; (Peters, 1992) is a more severe disease with an average age at ESRD of about 56 years compared to about 71.5 years for PKD2 (Ravine, 1992). An accurate long range restriction map of the 16pl3.3 region (Harris, et al., 1990; Germino, et al., 1992) has located the PKDl locus in an interval of approximately 600 kb between the markers GGG1 and SM7 (Harris, et al., 1991; Somlo, et al., 1992) (see Figure la). The density of CpG islands and identification of many mRNA transcripts indicated that this area is rich in gene sequences. Germino et al. (1992) estimated that the candidate region contains approximately 20 genes.

[0012]

Identification of the PKDl gene from within this area has thus proved difficult and other means to pinpoint the disease gene have been sought. Linkage disequilibrium has been demonstrated between PKDl and the proximal marker VK5, in a Scottish population (Pound, et al., 1992) and between PKDl and BLu24 (see Figure la), in a Spanish population (Peral, et al., 1994). Studies with additional markers have shown evidence of a common ancestor in a proportion of each population (Peral, et al. , 1994; Snarey, et al. , 1994), but the association has not precisely positioned the PKDl locus. Disease associated genomic rearrangements, detected by cytogenetics or pulsed field gel electrophoresis (PFGE have been instrumental in the identification of various genes associated with various genetic disorders. Hitherto, no such abnormalities related to PKDl have been described. This situation contrasts with that for the tuberous sclerosis locus, which lies within 16pl3.3 (TSC2) . In that case, TSC associated deletions were detected by PFGE within the interval thought to contain the PKDl gene and their characterisation was a significant step toward the rapid identification of the TSC2 gene (European Chromosome 16 Tuberous Sclerosis Consortium, 1993). The TSC2 gene therefore maps within the candidate region for the hitherto unidentified PKDl gene; as polycystic kidneys are a feature common to TSC and ADPKD1 (Bernstein and Robbins, 1991) the possibility of an etiological link, as proposed by Kandt et al. (1992), was considered. A contiguous gene syndrome resulting from the disruption of PKDl and the adjacent tuberous sclerosis 2 (TSC2 ) gene, which is associated with TSC and severe childhood onset polycystic kidney disease, has also been defined (Brook-Carter et al, 1994).

[0013]

We have now identified a pedigree in which the two distinct phenotypes, typical ADPKD or TSC, are seen in different members. In this family, the two individuals with ADPKD are carriers of a balanced chromosome translocation with a breakpoint within 16pl3.3. We have located the chromosome 16 translocation breakpoint and a gene disrupted by this rearrangement has been defined; the discovery of additional mutations of that gene in other PKDl patients shows that we have identified the PKDl gene. Full characterisation of the PKDl transcript has been significantly complicated because of the unusual genomic region containing most of the gene. All but 3.5 kb at the 3' end of the transcript (which is about 14 kb in total) is encoded by a region which is reiterated several times elsewhere on the same chromosome (in 16pl3.1 and termed the HG area). The structure of the duplication is complex, with some regions copied more times than others, and the HG region encoding three large transcripts. The transcripts from the HG area are: HG-A (21 kb), HG-B (17 kb) and HG-C (8.5 kb) and although these have 3' ends which differ from PKDl, over most of their length they share substantial homology to the PKDl transcript. Consequently, cloning and characterizing a bona fide PKDl cDNA has proven difficult. To overcome the problem caused by duplication we have cloned cDNAs covering the entire transcript from a cell line which contains the PKDl but not the HG loci. Characterisation of these cDNAs has enabled the PKDl protein sequence to be predicted and led to the identification of several homologies with described motifs.

[0014]

SUMMARY OF THE INVENTION

[0015]

Accordingly, in one aspect, this invention provides an isolated, purified or recombinant nucleic acid sequence comprising: (a) a PKDl-encoding nucleic acid or its complementary strand,

[0016]

(b) a sequence substantially homologous to, or capable of hybridizing to, a substantial portion of a molecule defined in (a) above, or (c) a fragment of a molecule defined in (a) or (b) above.

[0017]

In particular, there is provided a sequence wherein the PKDl gene has the nucleic acid sequence according to Fig. 15, or the partial sequence of Figs. 7 or 10. The invention therefore includes a DNA molecule coding for a polypeptide having the amino acid sequence of Figure 15, or a polypeptide fragment thereof; and genomic DNA corresponding to a molecule as in (a) - (c) above.

[0018]

As used herein, "substantially homologous" refers to a nucleic acid strand that is sufficiently duplicative of the PKDl sequence presented in Fig. 15 such that it is capable of hybridizing to that sequence under moderately stringent, and preferably stringent conditions, as defined herein below. Preferably, "substantially homologous" refers to a homology of between 97 and 100%. Further, such a strand will encode or be complementary to a strand that encodes PKDl protein having the biological activity described below. As used herein, a "substantial portion of a molecule" refers to at least 60%, preferably 80% and most preferably 90% of the molecule in terms of its linear residue length or its molecular weight. "Nucleic acid" refers to both DNA and RNA. The PKDl gene described herein is a gene found on human chromosome 16, and the results of studies described herein form the basis for concluding that this PKDl gene encodes a protein called PKDl protein which has a role in the prevention or suppression of ADPKD. The PKDl gene therefore includes the DNA sequences shown in Figure 15, and all functional equivalents. By "functional equivalents", we mean nucleic acid sequences that are substantially homologous to the PKDl nucleic acid sequence, as presented in Fig. 15, and encoding a protein that possesses one or more of the biological functions or activities of PKDl; i.e., that is involved in cell/cell adhesion, cell/cell recognition or cell/cell communication, for example to effect adhesion of cells to other cells or components of the extracellular matrix; effect communication and/or interaction between epithelial cells and the basal membrane ( hether in kidneys or otherwise ) ; assist in development of connective tissue such as assembly and/or maintenance of the basal membrane; in signal transduction between cells or cells and components of the extracellular matrix; and/or to promote binding of cells carrying proteins such as integrins or carbohydrates to target cells. The biological function of PKDl of course includes maintaining a healthy physiological state; that is, the native protein's aberrations or absence results in ADPKD or an associated disorder.

[0019]

The PKDl gene may furthermore include regulatory regions which control the expression of the PKDl coding sequence, including promoter, enhancer and terminator regions. Other DNA sequences such as introns spliced from the end-product PKDl RNA transcript are also encompassed. Although work has been carried out in relation to the human gene, the corresponding genetic and functional sequences present in lower animals are also encompassed.

[0020]

The present invention therefore further provides a PKDl gene or its complementary strand having the sequence according to Figure 15 which gene or strand is mutated in some ADPKD patients (more specifically, PKDl patients). Therefore, the invention further provides a nucleic acid sequence comprising a mutant PKDl gene as described herein, including wherein Intron 43 as defined hereinbelow has a deletion of 18 or 20bp resulting in an intron of 55 or 57bp.

[0021]

As used herein, "PKDl mutant" or "mutation" encompasses alterations of the native PKDl nucleotide or amino acid sequence, as defined by Fig. 15, i.e., substitutions, deletions or additions, and also encompasses deletion of DNA containing the entire PKDl gene.

[0022]

The invention further provides a nucleic acid sequence comprising a mutant PKDl gene, especially one selected from a sequence comprising a partial sequence according to Figures 7 and/or 10, or the corresponding sequences disclosed in Fig. 15, when: (a) [0X114] base pairs 1746-2192 as defined in Figure 7 are deleted (446bp);

[0023]

(b) [0X32] base pairs 3696-3831 as defined in Figure 7 are deleted by a splicing defect; (c) [0X875] about 5.5kb flanked by the two Xbal sites shown in Figure 3a are deleted and the EcoRl site separating the CW10 (41kb) and JH1 (18kb) sites is thereby absent

[0024]

(d) [WS53] about lOOkb extending between the JH1 and CW21 and the SM6 and JH17 sites shown in Figure 6 and the PKDl gene is thereby absent, the deletion lying proximally between SM6 and JH13;

[0025]

(e) [461] 18bp are deleted in the 75bp intron amplified by the primer pair 3A3C insert at position 3696 of the 3' sequence as shown in Figure 11; (f) [0X1054] 20bp are deleted in the 75bp intron amplified by the primer pair 3A3C insert at position 3696 of the 3' sequence as shown in Figure 11;

[0026]

(g) [WS212] about 75kb are deleted between SM9-CW9 distally and the PKDl 3'UTR proximally as shown in Figure 12;

[0027]

(h) [WS-215] about 160kb are deleted between CW20 and SM6-JH17 as shown in Figure 12;

[0028]

(i) [WS-227] about 50kb are deleted between CW20 and JH11 as shown in Figure 12; (j) [WS-219] about 27kb are deleted between JH1 and JH6 as shown in Figure 12;

[0029]

(k) [WS-250] about 160kb are deleted between CW20 and Blu24 as shown in Figure 12; (1) [WS-194] about 65kb is deleted between CW20 and CW10.

[0030]

The invention therefore extends to RNA molecules comprising an RNA sequence corresponding to any of the DNA sequences set out above. Such molecule may be the transcript reference PBP and identifiable with respect to the restriction map of Figure 3a and having a length of about 14 KB.

[0031]

In another aspect, the invention provides a nucleic acid probe having a sequence as set out above; in particular, this invention extends to a purified nucleic acid probe which hybridizes to at least a portion of the DNA or RNA molecule of any of the preceding sequences. Preferably, the probe includes a label such as a radiolable, for example, a32P label.

[0032]

In another aspect, this invention provides a purified DNA or RNA coding for a protein comprising the amino acid sequence of Figure 15, or a protein polypeptide having homologous properties with said protein, or having at least one functional domain or active site in common with said protein.

[0033]

The DNA molecule defined above may be incorporated in a recombinant cloning vector for expressing a protein having the amino acid sequence of Figure 15, or a protein or a polypeptide having at least one functional domain or active site in common with said protein. Such a vector may include any vector for expression in bacteria, e.g., E. coli; yeast, insect, or mammalian cells. The invention also features a nucleic acid probe for detecting PKDl nucleic acid comprising 10 consecutive nucleotides as presented in Fig. 15. Preferably, the probe may comprise 15, 20, 50, 100, 200, or 300, etc., consecutive nucleotides (nt) presented in Fig. 13, and may fall within the size range 15nt-13kb, 100nt-5kb, 150nt-4kb, 300nt-2kb, and 500nt-lkb.

[0034]

Probes are used according to the invention in hybridization reactions to identify PKDl sequences, whether they be native or mutated PKDl DNA or RNA, as disclosed herein. Such probes are useful for identifying the PKDl gene or a mutation thereof, as defined herein.

[0035]

The invention also features a synthetic polypeptide corresponding in amino acid residue sequence to at least a portion of the sequence of naturally occurring PKDl, and having a molecular weight equal to less than that of the native protein. A synthetic polypeptide of the invention is useful for inducing the production of antibodies specific for the synthetic polypeptide and that bind to naturally occurring PKDl.

[0036]

Preferred embodiments of this aspect of the invention include a group of synthetic polypeptides whose members correspond to a fragment of the PKDl protein comprising a stretch of amino acids of at least 8, and preferably 15, 30, 50, or 100 residues in length from the sequence disclosed in Fig. 15.

[0037]

In another aspect, the invention provides a polypeptide encoded by a sequence as set out above, or having the amino acid sequence according to the amino acid sequence of Figure 15, or a protein or polypeptide having homologous properties with said protein, or having at least one functional domain or active site in common with said protein. In particular, there is provided an isolated, purified or recombinant polypeptide comprising a PKDl protein or a mutant or variant thereof or encoded by a sequence set out above or a variant thereof having substantially the same activity as the PKDl protein. The present invention may further comprise a polypeptide having 9 or 13 transmembrane pairs instead of 11 transmembrane domains as described hereinbelow. Further comprising this invention is a molecule which interacts with a polypeptide as herein described which molecule synergises, causes, enhances or is necessary for the functioning of the PKDl protein as herein described.

[0038]

The invention also encompasses recombinant expression vectors comprising a nucleic acid or isolated DNA encoding PKDl and a process for preparing PKDl polypeptide, comprising culturing a suitable host cell comprising the vector under conditions suitable for promoting expression of PKDl, and recovering said PKDl.

[0039]

This invention also provides an in vitro method of determining whether an individual is at risk of a PKD1- associated disorder, comprising assaying a biological sample from the individual to determine the presence and/or amount of PKDl protein or polypeptide having the amino acid sequence of Figure 15.

[0040]

As used herein, "biological sample" includes any fluid or tissue sample from a mammal, preferably a human, including but not limited to blood, urine, saliva, any body organ tissue, cells from any body tissue, including blood cells. Additionally or alternatively, a sample may be assayed to determine the presence and/or amount of mRNA coding for the protein or polypeptide having the amino acid sequence of Figure 15, or to determine the fragment lengths of fragments of nucleotide sequences coding for the protein or polypeptide of Figure 15, or to detect inactivating mutations in DNA coding for a protein having the amino acid sequence of Figure 15 or a protein having homologous properties. The screening preferably includes applying a nucleic acid amplification process, as described herein in detail, to said sample to amplify a fragment of the DNA sequence. The nucleic acid amplification process advantageously utilizes at least one of the following sets of primers as identified herein: AH3 F9 : AH3 B7; 3A3 Cl : 3A3 C2; and AH4 F2 : JH14 B3. Alternatively, the screening method may comprise digesting the sample DNA to provide EcoRI fragments and hybridizing with a DNA probe which hybridizes to the EcoRI fragment identified (A) in Figure 3(a), and the DNA probe may comprise the DNA probe CW10 identified herein. Another screening method may comprise digesting the sample to provide BamHI fragments and hybridizing with a DNA probe which hybridizes to the BamHI fragment identified (B) in Figure 3(a), and the DNA probe may comprise the DNA probe 1A1H.6 identified herein.

[0041]

A method according to the present invention may comprise detecting a PKDl-associated disorder in a patient suspected of having or having predisposition to the disorder (i.e., a carrier), the method comprising detecting the presence of and/or evaluating the characteristics of PKDl DNA, PKDl mRNA and.or PKDl protein in a sample taken from the patient. Such method may comprise detecting and/or evaluating whether the PKDl DNA is deleted, missing, mutated, aberrant or not expressing normal PKDl protein. One way of carrying out such a method comprises: A. taking a biological, tissue or biopsy sample from the patient; B. detecting the presence of and/or evaluating the characteristics of PKDl DNA, PKDl mRNA and/or PKDl protein in the sample to obtain a first set of results; C.comparing the first set of results with a second set of results obtained using the same or similar methodology for an individual that is not suspected of having the disorder; and if the first and second sets of results differ in that the PKDl DNA is deleted, missing, aberrant, mutated or not expressing PKDl protein then that is indicative of the presence, predisposition or tendency of the patient to develop the disorder. As used herein, a "PKDl-associated disorder" refers to adult polycystic kidney disease, as described herein, and also refers to tuberous sclerosis, as well as other disorders having symptoms such as cyst formation in common with these diseases.

[0042]

A specific method according to the invention comprises extracting from a patient a sample of PKDl DNA or DNA from the PKDl locus purporting to be PKDl DNA, cultivating the sample in vitro and analyzing the resulting protein, and comparing the resulting protein with normal PKDl protein according to the well-established Protein Truncation Test. Less sensitive tests include analysis of RNA using RT PCR (reverse transcriptase polymerase chain reaction), and examination of genomic DNA.

[0043]

Step C of the above method may be replaced by: comparing the first set of results with a second set of results obtained using the same or similar methodology in an individual that is known to have the or at least one of the disorder(s); and if the first and second sets of results are substantially identical, this indicates that the PKDl DNA in the patient is deleted, mutated or not expressing normal PKDl protein.

[0044]

The invention further provides a method of characterizing a mutation in a subject suspected of having a mutation in the PKDl gene, which method comprises:A amplifying each of the exons in the PKDl gene of the subject; B. denaturing the complementary strands of the amplified exons; C.diluting the denatured separate, complementary strands to allow each single-stranded DNA molecule to assume a secondary structural confirmation; D. subjecting the DNA molecule to electrophoresis under non- denaturing conditions; E. comparing the electrophoresis pattern of the single-stranded molecule with the electrophoresis pattern of a single-stranded molecule containing the same amplified exon from a control individual which has either a normal or PKDl heterozygous genotype; and, F. sequencing any amplification product which has an electrophoretic pattern different from the pattern obtained from the DNA of the control individual.

[0045]

The invention also extends to a diagnostic kit for carrying out a method as set out above, comprising nucleic acid primers for amplifying a fragment of the DNA or RNA sequences defined above, and packaging means therefore. The kit may optionally include written instructions stating that the primers are to be used for detection of disorders associated with the PKDl gene. The nucleic acid primers may comprise at least one of the following sets: AH3 F9 : AH3 B7; 3A3 Cl : 3A3 C2; and AH4 F2 : JH14 B3. Another embodiment of kit may combine one or more substances for digesting a sample to provide EcoRI fragments and a DNA probe as previously defined. A further embodiment of kit may comprise one or more substances for digesting a sample to provide BamHI fragments and a DNA probe as previously defined.

[0046]

A vector (such as Bluescript (available from Stratagene) ) comprising a nucleic acid sequence set out above; and a host cell (such as E. coli strain SL-1 Blue (available from Stratagene)) transfected or transformed with the vector are also provided, together with the use of such a vector or a nucleic acid sequence set out above in gene therapy and/or in the preparation of an agent for treating or preventing a PKDl-associated disorder. Therefore, there is further provided a method of treating or preventing a PKDl-associated disorder which method comprises administering to a patient in need thereof a functional PKDl gene to affected cells in a manner that permits expression of PKDl protein therein and/or a transcript produced from a mutated chromosome (such as the deleted WS-212 chromosome) which is capable of expressing functional-PKDl protein therein.

[0047]

As used herein, the term "hybridization" refers to conventional DNA/DNA or DNA/RNA hybridization conditions. For example, for a DNA or RNA probe of about 10 - 50 nucleotides, moderately stringent hybridization conditions are preferred and include 10X SSC, 5X Denhardts, 0.1% SDS, at 35 - 50 degrees for 15 hours; for a probe of about 50 - 300 nucleotides, "stringent" hybridization conditions are preferred and refer to hybridization in 6X SSC, 5X Denhardts, 0.1% SDS at 65 degrees for 15 hours.

[0048]

The present invention further provides the use of PKDl protein or polycystin or a mutant or variant thereof having substantially the same biological activity there as in therapy. In particular, to effect cell adhesion, recognition or communication for example to effect adhesion of cells to other cells or components of the extracellular matrix; effect communication and/or interaction between epithelial cells and the basal membrane (whether in kidneys or otherwise) ; assisting in development of connective tissue such as assembly and/or maintenance of the basal membrane; in signal transduction between cells or cells and components of the extracellular matrix; and/or to promote binding of cells carrying proteins such as integrins or carbohydrates to target cells.

[0049]

Accordingly, where it is preferred to administer the polypeptide directly to a patient in need thereof, the invention further provides the use of a PKDl protein or polycystin in the preparation of a medicament. Therefore, there is also provided a pharmaceutical formulation comprising a PKDl protein, functional PKDl gene and/or a transcript produced from a mutated chromosome which is capable of expressing functional PKDl protein, in association with a pharmaceutically acceptable carrier therefor.

[0050]

The invention also features an immunoglobin, i.e., a polyclonal or monoclonal antibody specific for an epitope of PKDl, which epitope is found in the amino acid sequence presented in Fig. 15.

[0051]

The invention also features a method of assaying for the presence of PKDl in a sample of mammalian, preferably human cells, comprising the steps of: (a) providing an antibody specific for said PKDl; and (b) assaying for the presence of PKDl by admixing an aliquot from a sample of mammalian cells with antibody under conditions sufficient to allow for formation and detection of an immune complex of PKDl and the antibody. Such method is useful for detecting disorders involving aberrant expression of the PKDl gene or processing of the protein, as described herein.

[0052]

Preferably, this method includes providing a monoclonal antibody specific for an epitope that is antigenically the same, as determined by Western blot assay, ELISA or immunocytochemical staining, and substantially corresponds in amino acid sequence to the amino acid sequence of a portion of PKDl and having a molecular weight equal to less than that of PKDl.

[0053]

The invention thus also features a kit for detecting PKDl, the kit including at least one package containing an antibody or idiotype-containing polyamide portion of an antibody raised to a synthetic polypeptide of this invention or to a conjugate of that polypeptide bound to a carrier. An indicating group or label is utilized to indicate the formation of an immune reaction between the antibody and PKDl when the antibody is admixed with tissue or cells. Further features will become more fully apparent in the following description of the embodiments of this invention and from the appended claims.

[0054]

BRIEF DESCRIPTION OF THE DRAWINGS

[0055]

Before describing preferred embodiments of the invention in detail, the drawings will briefly be described. Figure la (top): A long range map of the terminal region of the short arm of chromosome 16 showing the PKDl candidate region defined by genetic linkage analysis. The positions of selected DNA probes and microsatellites used for haplotype, linkage or heterozygosity analyses are indicated. Markers previously described in linkage disequilibrium studies are shown in bold (from: Harris, et al., 1990; Harris, et al., 1991; Germino, et al., 1992; Somlo, et al., 1992; Peral, et al., 1994; Snarey, et al. , 1994).

[0056]

(bottom) : A detailed map of the distal part of the PKDl candidate region showing: the area of 16pl3.3 duplicated in 16pl3.1 (hatched); C, Cla I restriction sites; the breakpoints in the somatic cell hybrids, N-OH1 and P- MWH2A; DNA probes and the TSC2 gene. The limits of the position of the translocation breakpoint found in family 77 (see b), determined by evidence of heterozygosity (in 77-4) and PFGE (see c and text) is also indicated. The contig covering the 77 breakpoint region consists of the cosmids: 1, CW9D; 2, ZDS5; 3, JH2A; 4, REP59; 5, JC10.2B; 6, CW10III; 7, SM25A; 8, SMII; 9, NM17. Figure lb: Pedigree of family 77 which segregates a 16;22 translocation; showing the chromosomal composition of each subject. Individuals 77-2 and 77-3 have the balanced products of the exchange - and have PKDl; 77-4 is monosomic for 16pl3.3-->l6pter and 22qll.21-->22pter - and has TSC.

[0057]

Figure lc: PFGE of DNA from members of the 77 family: 77-1 (1); 77-2 (2); 77-3 (3); 77-4 (4); digested with Cla I and hybridised with SM6. In addition to the normal fragments of 340 and partially digested fragment of 480 kb a proximal breakpoint fragment of approximately 100 kb (arrowed) is seen in individuals, 77-2, 77-3 and 77-4; concordant with segregation of the der(16) chromosome.

[0058]

Figure 2: FISH of the cosmid CWIOIII (cosmid 6; Figure la) to a normal male metaphase. Duplication of this locus is illustrated with two sites of hybridisation on 16p; the distal site (the PKDl region) is arrowed. The signal from the proximal site (16pl3.1) is stronger than that from the distal, indicating that sequences homologous to CWIOIII are reiterated in 16pl3.1.

[0059]

Figure 3a: A detailed map of the 77 translocation region showing the precise localisation of the 77 breakpoint and the region that is duplicated in 16pl3.1 (hatched). DNA probes (open boxes); the transcripts, PKDl and TSC2 (filled boxes; with direction of transcription indicated by an arro ) and cDNAs (grey boxes) are shown below the genomic map. The known genomic extent of each gene is indicated at the bottom of the diagram and the approximate genomic locations of each cDNA is indicated under the genomic map. The positions of genomic deletions found in PKDl patients, 0X875 and 0X114, are also indicated. Restriction sites for EcoR I (E) and incomplete maps for BamH I (B); Sac I (S ) and Xba I (X) are shown. SM3 is a 2kb BamHI fragment shown at the 5' end of the gene.

[0060]

Figure 3b: Southern blots of BamH I digested DNA from individuals: 77-1 (1); 77-2 (2); and 77-4 (4) hybridised with: left panel, 8S3 and right panel, 8S1 (see a). 8S3 detects a novel fragment on the telomeric side of the breakpoint (12 kb: arrowed) associated with the der(22) chromosome in 77-2, but not 77-4; 8S1 identifies a novel fragment on the centromeric side of the breakpoint (9 kb: arrowed) - associated with the der(16) chromosome - in 77-2 and 77-4. The telomeric breakpoint fragment is also seen weakly with 8S1 (arrowed) indicating that the breakpoint lies in the distal part of 8S1. The 8S3 and 8S1 loci are both duplicated; the normal BamH I fragment detected at the 16pl3.3 site by these probes is 11 kb (see a), but a similar sized fragment is also detected at the 16pl3.1 site. Consequently, the breakpoint fragments are much fainter than the normal (16pl3.1 plus 16pl3.3) band.

[0061]

Figure 4a: PBP cDNA, 3A3, hybridised to a Northern blot containing about 1 μg polyA selected mRNA per lane of the tissue specific cell lines: lane 1, MJ, EBV-transformed lymphocytes; lane 2, K562, erythroleukemia; lane 3, FS1, normal fibroblasts; lane 4, HeLa, cervical carcinoma; lane 5, G401, renal Wilm's tumour; lane 6, Hep3B, hepatoma; lane 7, HT29, colonic adenocarcinoma; lane 8, SW13, adrenal carcinoma; lane 9, G-CCM, astrocytoma. A single transcript of approximately 14 kb is seen; the highest level of expression is in fibroblasts and in the astrocytoma cell line, G-CCM. Although in this comparative experiment little expression is seen in lanes 1, 4 and 7, we have demonstrated at least a low level of expression in these cell lines on other Northern blots and by RT-PCR (see later).

[0062]

Figure 4b: A Northern blot containing about 20 μg of total RNA from the cell line G-CCM hybridised with cDNAs or a genomic probe which identify various parts of the PBP gene. Left panel, a single about 14 kb transcript is seen with a cDNA from the single copy area, 3A3. Right panel, a cDNA, 21P.9, that is homologous to parts of the region that is duplicated (JH12, JH8 and JH10; see Figure 3a) hybridises to the PBP transcript and three novel transcripts; HG-A (about 21 kb), HG-B (about 17 kb) and HG-C (8.5 kb). A similar pattern of transcripts is seen with cDNAs and genomic fragments that hybridise to the area between JH5 and JH13, with the exception of the JH8 area. Middle panel, JH8 hybridises to the transcripts PBP, HG-A and HG-B but not to HG-C.

[0063]

Figure 4c: A Northern blot of 20 μg total fibroblast RNA from: normal control (N); 77-2 (2); 77-4 (4) hybridised with 8S1, which contains the 16;22 translocation breakpoint (see Figure 3). A transcript of about 9 kb (PBP-77) is identified in the two patients with this translocation but not in the normal control. PBP-77 is a chimeric PBP transcript formed due to the translocation and is not seen in 77-2 or 77-4 RNA with probes which map distal to the breakpoint.

[0064]

Figure 5a: FIGE of DNA from: normal (N) and ADPKD patient 0X875 (875), digested with EcoR I and hybridised with, left panel, CW10; middle panel, JH1. Normal fragments of 41 kb (plus a 31 kb fragment from the 16pl3.1 site), CW10, and 18 kb, JHI, are identified with these probes; 0X875 has an additional 53 kb band (arrowed). The EcoR I site separating these two fragments is removed by the deletion (see Figure 3a) . The right panel shows a Southern blot of BamH I digested DNA (as above) hybridised with 1A1H.6. A novel fragment of 9.5 kb is seen in 0X875 DNA, as well as the normal 15 kb fragment. These results indicate that 0X875 has a 5.5 kb deletion; its position was determined more precisely by mapping relative to two Xba I sites which flank the deletion (see figure 3a) .

[0065]

Figure 5b: Northern blot of total fibroblast RNA, as (a), hybridised with the cDNAs, AH4, 3A3 and AH3. A novel transcript (PBP-875) of about 11 kb is seen with AH4 (the band is reduced in intensity because the probe is partly deleted) and AH3 (arrowed), which flank the deletion, but not 3A3 which is entirely deleted (see figure 3a) . The transcripts HG-A, HG-B and HG-C, from the duplicated area, are seen with AH3 (see figure 4b).

[0066]

Figure 5c: Left panel; FIGE of DNA from: normal (N) and ADPKD patient 0X114 (114), digested with EcoR I and hybridised with CW10; a novel fragment of 39 kb (arrowed) is seen in 0X114. Middle panel; DNA, as above, plus the normal mother (M) and brother (B) of 0X114 digested with BamH I and hybridised with CW21. A larger than normal fragment of 19 kb (arrowed) was detected in 0X114 but not other family members due to deletion of a BamH I site; together these results are consistent with a 2 kb deletion (see Figure 3a). Right panel; RT-PCR of RNA, as above, with primers flanking the 0X114 deletion (see Experimental Procedures). A novel fragment of 810 bp (arrowed) is seen in 0X114, indicating a deletion of 446 bp in the PBP transcript.

[0067]

Figure 5d: RT-PCR of RNA from: ADPKD patient 0X32 (32) plus the probands, normal mother (M) and affected father (F) and sibs ( 1 ) and (2) using the C primer pair from 3A3 (see Experimental Procedures). A novel fragment of 125 bp is detected in each of the affected individuals.

[0068]

Figure 6: Map of the region containing the TSC2 and PBP genes showing the area deleted in patient WS-53 and the position of the 77 translocation breakpoint. Localisation of the distal end of the WS-53 deletion was described (European Chromosome 16 Tuberous Sclerosis Consortium, 1993) and we have now localised the proximal end between SM6 and JH17. The size of the aberrant Mlu I fragment in WS-53, detected by JHl and JH17, is 90kb and these probes lie on adjacent Mlu I fragments of 120kb and 70kb, respectively. Therefore the WS-53 deletion is about lOOkb. Restriction sites for: Mlu I (M); Nru I (R); Not I (N); and partial maps for Sac II (S) and BssH II (H) are shown. DNA probes (open boxes ) and the TSC2 and PBP transcripts ( filled boxes) are indicated below the line with their known genomic extents (brackets). The locations of the microsatellites KG8 and SM6 are also indicated.

[0069]

Figure 7: The partial nucleotide sequence (cDNA) of the PKDl transcript extending 5631bp to the 3' end of the gene. The corresponding predicted protein (also shown in SEQ ID NO: 4: ) is shown below the sequence and extends from the start of the nucleotide sequence. The GT-repeat, KG8, is in the 3' untranslated region between 5430-5448 bp. This sequence corresponds to GenBank Accession No. L33243 and is shown in SEQ ID NO: 3:.

[0070]

Figure 8: The sequence of the probe 1A1H0.6 (also shown in SEQ ID NO: 5: ) .

[0071]

Figure 9: The sequence (SEQ ID NO: 6:) of the probe CW10 which is about 0.5kb.

[0072]

Figure 10: The larger partial nucleotide sequence (SEQ ID NO: 1:) of the PKDl transcript (cDNA) extending from bp 2 to 13807bp to the 3' end of the gene together with the corresponding predicted protein (also shown in SEQ ID NO: 2:). This larger partial sequence encompasses the (smaller) partial sequence of Figure 7 from amino acid no. 2726 in SEQ ID NO: 3: and relates to the entire PKDl gene sequence apart from its extreme 5' end.

[0073]

Figure 11: A map of the 75bp intron amplified by the primer set 3A3C insert at position 3696 of the 3' sequence showing the positions of genomic deletions found in PKDl patients 461 and 0X1054.

[0074]

Figure 12: A map of the region of chromosome 16 containing the TSC2 and PKDl genes showing the areas affected in patients WS-215, WS-250, WS-212, WS-194, WS-227 and WS-219; also WS-53 (but cf. Figure 6). Genomic sites for the enzymes Mlul (M), Clal (C), Pvul (P) and Nrul (R) are shown. Positions of single copy probes and cosmids used to screen for deletions are shown below the line which represents about 400kb of genomic DNA. The genomic distribution of the approximately 45kb TSC2 gene and known extent of the PKDl gene are indicated above. The hatched area represents an about 50kb region which is duplicated more proximally on chromosome 16p.

[0075]

Figure 13 is a genomic map of the PKDl gene. (Top) A restriction map of the genomic area containing the PKDl gene showing sites for Bam H1(B), EcoRI(E) and partial maps for Xbal (X) and Hind III(H), and the duplicated area (hatched). The position of genomic clones and the cosmid JH2A are shown above the map (open boxes). The positions of the 46 exons of the PKDl gene are shown below the map (solid boxes, translated areas; open boxes, untranslated regions; UTRs) . Each 5th exon is numbered and the direction of transcription arrowed. The area sequenced in Figs. 7 and 10 is bracketed and the approximate location of the 3' end of the TSC2 gene is shown on the left (dashed line and hatched box). (Bottom) The cDNA contig covering the PKDl transcript. The cDNAs are: 1, revl; 2, S13;3, S3/4; 4, Sl/3;5, GAP e; 6, GAP d; 7, GAP g; 8, GAP a (see table 2 for details); 9, A1C; 10, AH3; 11, 3A3; 12, AH4.

[0076]

Figure 14 (a) (Top): Map of the genomic BamH I fragment, SM3 which contains the CpG island at the 5' end of the PKDl gene, showing the probe CW45 (open box). Genomic restriction sites for the methylation sensitive enzymes: SacII (S), Notl (N), Mlul (M) and BssHII (H) are illustrated. The approximate position of the DNasel hypersensitive site is also shown (large arrow), plus the location of the first exon including the proposed transcription start site (small arrow), the 5'UTR (open box) and the translated region (solid bar). (Bottom) The GC content across the area is plotted with a window size of 50 nt. A peak of GC content of over 80% is seen in the area of the transcriptional start site and the first exon. A corresponding lack of CpG suppression was also found with an average CpG/GC ratio of 0.84 between 800-1,800 bp. Figure 14(b). Analysis of DNase I hypersensitivity at the PKDl CpG island. DNA isolated from HeLa cells treated with an increasing amount of DNase I (left to right; first lane contains no DNase 1) , digested with BamH I and hybridised with CW45. A fragment about 400 bp smaller than the restriction fragment is seen with increasing DNase 1, indicating a hypersensitive site as shown in (a) . SM3 is within the duplicated area and so both the PKDl and HG loci are assayed together. The degree of DNasel digestion seen at the end of the assay indicates that cleavage occurs at the PKDl and HG loci.

[0077]

Figure 15 provides the sequence of the PKDl transcript and predicted protein. The full sequence of 14,148 bp from the transcription start site to the poly A tail is shown. The probable signal sequence of 23 amino acids is shown after the first methionine (underlined) plus the cleavage site (arrow) . The predicted transmembrane (TM) domains (double underlined and numbered) and N-linked glycosylation sites (asterisk) are indicated. The position of a possible hinge sequence is underlined and tyrosine kinase and protein kinase C phosphorylation sites marked with a box and circle, respectively.

[0078]

Figure 16(a). The leucine rich repeats (LRRs) found in the PKDl protein (72-125aa) are compared with each other and to the LRR consensus (Rothberg, 1990; Kobe, 1994); a, aliphatic. A total of just over 2 full repeats are present in PKDl but they have been arranged into 3 incomplete repeats to show their similarity to those found in slit (Rothberg, 1990). The black boxes show identity to the LRR consensus and shaded boxes other regions of similarity between the repeats which have also been noted in other LRRs (Kobe, 1994).

[0079]

Figure 16(b). The amino flanking region to the LRR in the PKDl protein (33-71aa) is compared similar regions from a variety of other proteins. Black boxes shown identity with the consensus (adapted from [Rothberg, 1990 #1126]) and shaded boxes conserved amino acids. The different types of residue indicated in the consensus are: a, as above; p, polar or turn-like; h, hydrophobic. The listed proteins, with the species and Protein Identification Resource no. (PIR) shown in brackets, are: OMgp, oligodendrocyte myelin glycoprotein (Human, A34210); Slit (Drosophila; A36665); Chaoptin (Drosophila; A29943); GP-IB Beta, platelet glycoprotein lbβ chain (Human; A31929); Pgl, proteoglycan-1 (mouse; 520811); Biglycan (Human; A40757); Trk (Human; A25184) and LH-CF, lutropinchoriogonadotrophin receptor (Rat; A41343). Figure 16(c). The carboxy flanking region of the LRR repeat from the PKDl protein (126-180 aa) compared to similar regions in other proteins and a consensus accepted from [Rothberg, 1990 #1126] . The shading and amino acid types are as above. The proteins not described above are: Toll (Drosophila; A29943) and GP IX, platelet glycoprotein IX (Human; A46606).

[0080]

Figure 17 is a sequence comparison of the C-type lectin domain. The PKDl lectin domain (403-532aa) is compared to those of: BRA3, acorn barnacle lectin (JC1503); Kupffer cell carbohydrate-binding receptor (Rat; A28166), CSP, cartilage specific protoglycan (Bovine; A27752); Agp; asialoglycoprotein receptor (Human; 55283), E-Selectin (Mouse; B42755) and glycoprotein gpl20 (Human; A46274). Black squares show identify with the consensus and shaded boxes conserved residues. Amino acid types are: Very highly conserved residues are shown in bold in the consensus which is adapted from Drickamer 1987, Drickamer 1988.

[0081]

Figure 18 is a sequence analysis of the Ig-like repeat. The 16 copies of the PKDl Ig-like repeat (PKDl 273-356 aa; PKDII-XVI, 851-2145aa) are compared to each other and to: V.a. colAi, and C.p. colA collagenases of Vibrio alginolyticus (Ξ19658) and Clostridium perfringens (D13791), respectively; Pmell7, melanocyte specific glycoprotein (Human; A41234 ) , FLT4, Ig repeat IV of fms-like tyrosine kinase 4 (Human; X68203 ) , CaVPT, Ig repeat I of target protein of the calcium vector protein (CAVP) ( amphioxius; P05548). black boxes shown amino acids identical in more than 5 repeats and shaded boxes related residues. An Ig consensus determined from Harpaz et al. 1994 and Takagi et al. 1990 is shown in the symbols: a, aliphatic; h, hydrophobic; s, small and b, base with the predicted positions of the β-strands indicated below. The PKD repeat IV has an extra repetition of 20 aa in the centre of the repeat while all of the others are between 84-87 aa.

[0082]

Figure 19 reveals type Ill-related fibronectin domains. The four fibronectin-related domains from the PKDl protein (2169-2573aa) are compared to similar domains in: Neuroglian (Drosophila; A32579 ) ; Ll, neural recognition molecule Ll (X59847); Fll, neural cell recognition molecule Fll (X14877); TAG 1, transiently expressed axonal surface glycoprotein-1 (Human; S28830); F3, Neuro-1 antigen (mouse; S05944); NCAM, neural cell adhesion molecule (Rat; X06564); DCC, deleted in colorectal cancer (Human; X76132) ; LAR, Leukocyte-common antigen related molecule (Human; Y00815); HPTP, β protein tyrosine phosphate beta (Human; X54131 ) and FN, fibronectin (Human; X02761 ) . The consensus sequence is compiled from Borh and Doolittle (1993), Kuma et al. (1993), Baron et al. (1992) and Borh and Doolittle (1992). Black boxes show identity to highly conserved residues and shaded boxes conserved changes or similarity in less highly conserved positions. The approximate positions of the β strands are illustrated. The fibronectin repeats in the PKDl protein are linked by sequences of 27aa (A-B), 22aa (B- C) and 7aa (C-D) which are not shown.

[0083]

Figure 20 presents a proposed model of the PKDl protein, polycystin. The predicted structure of the PKDl protein is shown.

[0084]

DETAILED DESCRIPTION

[0085]

All references mentioned herein are listed in full at the end of the description which are herein incorporated by reference in their entirety. Except where the context clearly indicates otherwise, references to the PBP gene, transcript, sequence, protein or the like can be read as referring to the PKDl gene, transcript, sequence, protein or the like, respectively. A translocation associated with ADPKD A major pointer to the identity of the PKDl gene was provided by a Portuguese pedigree ( family 77 ) with both ADPKD and TSC (Figure lb). Cytogenetic analysis showed that the mother, 77-2, has a balanced translocation, 46XX t(16;22) (pl3.3;qll.21 ) which was inherited by her daughter, 77-3. The son, 77-4, has the unbalanced karyotype, 45XY-16- 22+der(16) (16qter—>16pl3.3: :22qll.21—>2qter) and consequently is monosomic for 16pl3.3-->16pter as well as for 22qll.21-->22pter. This individual has the clinical phenotype of TSC ( see Experimental Procedures ) ; the most likely explanation is that the TSC2 locus located within 16pl3.3 is deleted in the unbalanced karyotype.

[0086]

Further analysis revealed that the mother (77-2), and the daughter (77-3) with the balanced translocation. have the clinical features of ADPKD ( see Experimental Procedures), while the parents of 77-2 were cytogenetically normal, with no clinical features of TSC and no renal cysts on ultrasound examination ( aged 67 and 82 years ) . Although kidney cysts can be a feature of TSC, no other clinical

[0087]

SU6STITUTESHEET (RUL.2., signs of TSC were identified in 77-2 or 77-3, making it unlikely that the polycystic kidneys were due to TSC. We therefore investigated the possibility that the translocation disrupted the PKDl locus in 16pl3.3 and proceeded to identify and clone the region containing the breakpoint.

[0088]

The 77 family was analyzed with polymorphic markers from 16pl3.3. Individual 77-4 was hemizygous for MS205.2 and GGG1, but heterozygous for SM6 and more proximal markers, locating the translocation breakpoint between GGG1 and SM6 (see Figure la). Fluorescence in situ hybridization (FISH) of a cosmid from the TSC2 region, CW9D (cosmid 1 in Figure la) , to metaphase spreads showed that it hybridized to the der(22) chromosome of 77-2; placing the breakpoint proximal to CW9D and indicating that 77-4 was hemizygous for this region consistent with his TSC phenotype. DNA from members of the 77 family was digested with Cla I, separated by PFGE and hybridized with SM6; revealing a breakpoint fragment of about 100 kb in individuals with the der(16) chromosome (Figure lc) . The small size of this novel fragment enabled the breakpoint to be localized distal to SM6 in a region of just 60 kb (Figure la). A cosmid contig covering this region was therefore constructed ( see Experimental Procedures for details ) . The translocation breakpoint lies within a region duplicated elsewhere on chromosome 16p (16pl3.1)

[0089]

It is noted hereabove that the region between CW21 and N54 (Figure la) was duplicated at a more proximal site on the short arm of chromosome 16 (Germino, et al., 1992; European Chromosome 16 Tuberous Sclerosis Consortium, 1993). Figure 2 shows that a cosmid, CWIOIII, from the duplicated region hybridized to two points on 16p; the distal, PKDl region and a proximal site positioned in 16pl3.1. The structure of the duplicated area is complex with each fragment present once in 16pl3.3 re-iterated two-four times in 16pl3.1 (see Figure 2). Cosmids spanning the duplicated area in 16pl3.3 were subcloned (see Figure 3a and Experimental Procedures for details) and a restriction map was generated. A genomic map of the PKDl region was constructed using a radiation hybrid, Hyl45.19 which contains the distal portion of 16p but not the duplicate site in 16pl3.1. To localize the 77 translocation breakpoint, subclones from the target region were hybridized to 77-2 DNA, digested with Cla I and separated by PFGE. Once probes mapping across the breakpoint were identified they were hybridized to conventional Southern blots of 77 family DNA. Figure 3b shows that novel BamH I fragments were detected from the centromeric and telomeric side of the breakpoint, which was localized to the distal part of the probe 8S1 (Figure 3a) . Hence, the balanced translocation was not associated with a substantial deletion, and the breakpoint was located more than 20 kb proximal to the TSC2 locus (Figure 3a). These results supported the hypothesis that polycystic kidney disease in individuals with the balanced translocation (77-2 and 77-3) was not due to disruption of the TSC2 gene, but indicated that a separate gene mapping just proximal to TSC2, was likely to be the PKDl gene.

[0090]

The polycystic breakpoint (PBP) gene is disrupted by the translocation Localization of the 77 breakpoint identified a precise region in which to look for a candidate or the PKDl gene. During the search for the TSC2 gene we identified other transcripts not associated with TSC including a large transcript (about 14 kb) partially represented in the cDNAs 3A3 and AH4 which mapped to the genomic fragments CW23 and CW21 (Figure 3a). The orientation of the gene encoding this transcript had been determined by the identification of a polyA tract in the cDNA, AH4: the 3' end of this gene lies very close to the TSC gene, in a tail to tail orientation (European Chromosome 16 Tuberous Sclerosis Consortium, 1993). To determine whether this gene crossed the translocation breakpoint genomic probes from within the duplicated area and flanking the breakpoint were hybridized to Northern blots. Probes from both sides of the breakpoint, between JH5 and JH13 identified the 14 kb transcript (Figure 3a and see below for details) . Therefore, this gene, called 3A3, but not designated the PBP gene extended over the 77 breakpoint and consequently was a candidate for the PKDl gene. A walk was initiated to increase the extent of the PBP cDNA contig and several new cDNAs were identified using probes from the single copy (non-duplicated) region ( see Experimental Procedures for details ) . A cDNA contig was constructed which extended about 5.7 kb, including about 2 kb into the area that is duplicated (Figure 3a). Expression of the PBP gene

[0091]

Initial studies of the expression pattern of the PBP gene were undertaken with cDNAs that map entirely within the single copy region (e.g. AH4 and 3A3 ) . Figure 4a shows that the about 14 kb transcript was identified by 3A3 in various tissue-specific cell lines. From this and other Northern blots we concluded that the PBP gene was expressed in all of the cell lines tested, although often at a low -level. The two cell lines which showed the highest level of expression were fibroblasts and a cell line derived from an astrocytoma, G-CCM. Significant levels of expression were also obtained in cell lines derived from kidney (G401) and liver (Hep3B). Measuring the expression of the PBP gene in tissue samples by Northern blotting proved difficult because such a large transcript is susceptible to minor RNA degradation. However, initial results with an RNAse protection assay, using a region of the gene located in the single copy area (see Experimental Procedures ) , showed a moderate level of expression of the PBP gene in tissue obtained from normal and polycystic kidney (data not shown) . The widespread expression of the PBP is consistent with the systemic nature of ADPKD. Identification of transcripts that are partially homologous to the PBP transcript

[0092]

New cDNAs were identified with the genomic fragments, JH4 and JH8, that map to the duplicated region (Figure 3a and see Experimental Procedures). However, when these cDNAs were hybridized to Northern blots a more complex pattern than that seen with 3A3 was observed. As well as the"14 kb PBP transcript, three other, partially homologous transcripts were identified designated homologous gene-A (HG-A; "21 kb), HG-B ("17 kb) and HG-C (8.5 kb) Figure 4b). There were two possible explanations for these results, either the HG transcripts were alternatively spliced forms of the PBP gene, or the HG transcripts were encoded by gene located in 16pl3.1. To determine the genomic location of the HG loci a fragment from the 3 ' end of one HG cDNA (HG- 4/1.1) was isolated. HG-4/1.1 hybridized to all three HG transcripts, but not to the PBP transcript and on a hybrid panel it mapped to 16pl3.1 (noτ the PKDl area). These results show that all the HG transcripts are related to each other outside the region of homology with the PBP transcript and that the HG loci map to the proximal site (16pl3.1).

[0093]

An abnormal transcript associated with the 77 translocation

[0094]

As the PBP gene was transcribed across the region disrupted by the 77 translocation breakpoint, in a proximal to distal direction on the chromosome ( see Figure 3a) it was possible that a novel transcript originating from the PBP pro otor would be found in this family. Figure 4c shows that using a probe to the PBP transcript that mapped mainly proximal to the breakpoint, a novel transcript of approximately 9 kb (PBP-77 derived from the der(16) product of the translocation was detected. Interestingly, the PBP- 77 transcript appears to be expressed at a higher level than the normal PBP product. These results confirmed that the 77 translocation disrupts the PBP gene and supports the hypothesis that this is the PKDl gene. Mutations of the PBP gene in other ADPKD patients To prove that the PBP gene is the defective gene at the PKDl locus, we analyzed this region for mutations in patients with typical ADPKD. The 3' end of the PBP gene was most accessible to study as it maps outside the duplicated area. To screen this region BamH I digests of DNA from 282 apparently unrelated ADPKD patients were hybridized with the probe 1A1H.6, (see Figure 3a). In addition, a large EcoR I fragment (41 kb) which contains a significant proportion of the PBP gene was assayed by field inversion gel electrophoresis (FIGE) in 167 ADPKD patients, using the probe CW10. Two genomic rearrangements were identified in ADPKD patients by these procedures; each identified by both methods.

[0095]

The first rearrangement was identified in patient 0X875 ( see Experimental Procedures for clinical details) who was shown to have a 5.5 kb genomic deletion without the 3 ' end of the PBP gene, producing a smaller transcript (PBP-875) (see Figures 5a, b and 3a for details). This genomic deletion results in a~3 kb internal deletion of the transcript with the~500 bp adjacent to the polyA tail intact. In- this family linkage of ADPKD to chromosome 16 could not be proven because although 0X875 has a positive family history of ADPKD there were no living, affected relatives. However, paraffin-embedded tissue from her affected father (now deceased) was available. We demonstrated that this individual has the same rearrangement as 0X875 by PCR amplification of a 220bp fragment spanning the deletion (data not shown). This result and analysis of two unaffected sibs of 0X875, that did not have the deletion, showed that this mutation was transmitted with ADPKD.

[0096]

The second rearrangement detected by hybridization was a 2 kb genomic deletion within the PBP gene, in ADPKD patient 0X114 ( see Experimental Procedures for clinical details and Figures 5c and 3a) . No abnormal PBP transcript was identified by Northern blot analysis, but using primers flanking the deletion (see Experimental Procedures) a shortened product was detected by RT-PCR (Figure 5c). This was cloned and sequenced and shown to have a frame-shift deletion of 446 bp (between base pair 1746 and 2192 of the sequence shown in Figure 7) . 0X114 is the only member of the family with ADPKD (she has no children) and ultrasound analysis of her parents at age 78 (father) and 73 years old (mother) showed no evidence of renal cysts. Somatic cell hybrids were produced from 0X114 and the deleted chromosome was found to be of paternal origin by haplotype analysis. The father of 0X114 is now deceased but analysis of DNA from the brother of 0X114 (0X984) with seven microsatellite markers from the PKDl region (see Experimental Procedures) showed that he shares the same paternal chromosome, in the PKDl region, as 0X114. Renal ultrasound revealed no cysts in 0X984 at age 53 and no deletion was detected by DNA analysis (Figure 5c). Hence, the deletion in 0X114 is a de novo event associated with the development of ADPKD. Although it is not possible to show that the ADPKD- is chromosome 16-linked, the location of the PBP gene indicated that this is a de novo PKDl mutation.

[0097]

To identify more PKDl associated mutations, single copy regions of the PBP gene were analyzed by RT-PCR using RNA isolated from lymphoblastoid cell lines established from ADPKD patients. cDNA from 48 unrelated patients was amplified with the primer pair 3A3 C (see Experimental Procedures) and the product of 260 bp was analyzed on an agarose gel. In one patient, 0X32, an additional smaller product (125bp) was identified, consistent with a deletion or splicing mutation. 0X32 comes from a large family in which the disease can be traced through three generations. Analysis of RNA from two affected sibs of 0X32 and his parents showed that the abnormal transcript segregates with PKDl (Figure 5d) .

[0098]

Amplification of normal genomic DNA with the 3A3 C primers generates a product of 418 bp; sequencing showed that this region contains two small introns (5', 75 bp and 3', 83 bp) flanking a 135 bp exon. The product amplified from 0X32 genomic DNA was normal in size, excluding a genomic deletion. However, heteroduplex analysis of that DNA revealed larger heteroduplex bands, consistent with a mutation within that genomic interval. The abnormal 0X32, RT-PCR product was cloned and sequenced: this demonstrated that, although present in genomic DNA, the 135 bp exon was missing from the abnormal transcript. Sequencing of 0X32 genomic DNA demonstrated a G-->C transition at +1 of the splice donor site following the 135 bp exon. This mutation was confirmed in all available affected family members by digesting amplified genomic DNA with the enzyme Bst NI: a site is destroyed by the base substitution. The splicing defect results in an in-frame deletion of 135 bp from the PBP transcript (3696 bp to 3831 bp of the sequence shown in Figure 7). Together, the three intragenic mutations confirm that the PBP gene is the defective gene at the PKDl locus. Deletions that disrupt the TSC2 and the PKDl gene

[0099]

The deletion called WS-53 disrupts both the TSC2 gene and the PKDl gene (European Chromosome 16 Tuberous Sclerosis Consortium, 1993), although the full proximal extent of the deletion was not determined. Further study has shown that the deletion extends "100 kb (see Figure 6 for details) and deletes most if not all of the PKDl gene. This patient has TSC but also has unusually severe polycystic disease of the kidneys. Other patients with a similar phenotype have also been under investigation. Deletions involving both TSC2 and PKDl were identified and characterized in six patients in whom TSC was associated with infantile polycystic kidney disease. As well as the deletion in WS-53, those in WS-215 and "S-250 also extended proximally well beyond the known distribution of PKDl and probably delete the entire gene. The deletion in WS-194 extended over the known extent of PKDl, but not much further proximally, while the proximal breakpoints in WS-219 and WS-227 lay within PKDl itself. Northern analysis of case WS-219 with probe JH8, which lies outside the deletion, showed a reduced level of the PKDl transcript but no evidence of an abnormally sized transcript (data not shown). Analysis of samples from the clinically unaffected parents of patients WS-53, WS-215, WS-219, WS-227 and WS-250 showed the deletions in these patients to be de novo. The father of WS-194 was unavailable for study.

[0100]

In a further case (WS-212), renal ultrasound showed no cysts at four years of age but a deletion was identified which removed the entire TSC2 gene and deleted an Xbal site which is located 42 bp 5' to the polyadenylation signal of PKDl. To determine the precise position of the proximal breakpoint in PKDl, a 587bp probe from the 3' untranslated region (3'UTR) was hybridized to Xbal digested DNA. A 15kb XbaL 1 breakpoint fragment was detected with an approximately equal intensity to the normal fragment of 6kb, indicating that most of the PKDl 3'UTR was preserved on the mutant chromosome. Evidence that a PKDl transcript is produced from the deleted chromosome in WS-212 was obtained by 3 ' rapid identification of cDNA ends (RACE) with a novel, smaller product generated from WS-212 cDNA. Characterization of this product showed that polyadenylation occurs 546bp 5' to the normal position, within the 3'UTR of PKDl (231bp 3' to the stop codon at 5073bp of the described PKDl sequence1 ) . A transcript with an intact open reading frame is thus produced from the deleted WS-212 chromosome. It is likely that a functional PKDl protein in produced from this transcript, explaining the lack of cystic disease in this patient. The sequence preceding the novel site of polyA addition is:

[0101]

AGTCAGTAATTTATATGGTGTTAAAATGTG(A)n. Although not conforming precisely to the consensus of AATAAA, it is likely that part of this AT rich region acts as an alternative polyadenylation signal if, as in this case, the normal signal is deleted (a possible sequence is underlined) .

[0102]

The WS-212 deletion is 75kb between SM9-CW9 distally and the PKDl 3'UTR proximally. The WS-215 deletion is 160kb between CW15 and SM6-JH17. WS-194 has 65kb deleted between CW20 and CW10-CW36. WS-227 has a 50kb deletion between CW20 and JH11 and WS-219 has a 27kb deletion between JHl and JH6. The distal end of the WS-250 deletion is in CW20 but the precise location of the proximal end is not known. However, the same breakpoint fragment of 320kb is seen with Pvul- digested DNA using probes on adjacent Pvul fragments, CE18 (which normally detects a 245kb fragment) and Blu24 (235kb). Hence this deletion can be estimated ~160kb. b. PFGE analysis of the deletion in WS-219. Mlul digested DNA from a normal control (N) and WS-219 probed with the clones H2, JHl, CW21 and CW10 which detect an "130kb fragment in normal individuals. CW10 also detects a much smaller fragment from the duplicated region situated more proximally on 16p. A novel fragment of ~100kb is seen in WS-219 with probes H2 and CW10 which flank the deletion in this patient. JHl is partially deleted but detects the novel band weakly. The aberrant fragment is not detected by CW-21, which is deleted on the mutant chromosome. BamHI digested DNA of normal control (N) and WS-219 separated by conventional gel electrophoresis and hybridized to probes JHl and JH6 which flank the deletion. The same breakpoint fragment of~3kb is seen with both probes, consistent with a deletion of ~27kb ending within the BamHI fragments seen by these probes. Two further deletions

[0103]

In addition we have characterized two further mutations of this gene which were identified in typical PKDl families. In both cases the mutation is a deletion in the 75bp intron amplified by the primer pair 3A3C (European Polycystic Kidney Disease Consortium, 1994). The deletions are of 18bp and 20bp, respectively, in the patients 461 and 0X1054. Although these deletions do not disrupt the highly conserved sequences flanking the exon/intron boundaries, they do result in aberrant splicing of the transcript. In both cases, two abnormal mRNAs are produced, one larger and one smaller than normal. Sequencing of these cDNAs showed that the larger transcript includes the deleted intron, and so has an in-frame insertion of 57bp in 461, while 0X1054 has a frameshift insertion of 55bp. The smaller transcript is due to activation of a cryptic splice site in the exon preceding the deleted intron and results in an in-frame deletion of 66bp in both patients. The demonstration of two additional mutations of this gene in PKDl patients further confirms that this is the PKDl gene. Partial Characterization of the PKDl gene

[0104]

To characterize the PKDl gene further, evolutionary conservation was analyzed by 'zoo blotting'. Using probes from the single copy, 3' region (3A3 ) and from the duplicated area (JH4, JH8 ) the PKDl gene was conserved in other mammalian species, including horse, dog, pig and rodents (data not shown). No evidence of related sequences were seen in chicken, frog or drosophila by hybridization at normal stringency. The degree of conservation was similar when probes from the single copy of the duplicated region were employed. Although the full genomic extent of the PKDl gene was not yet known, results obtained by hybridization to Northern blots showed that it extended from at least as far as JH13. Several CpG islands were localized 5 ' of the known extent of the PKDl gene (Figure 6 ) , although there was no direct evidence that any of these are associated with this gene.

[0105]

The cDNA contig extending 5631 bp to the 3' end of the PKDl transcript was sequenced; where possible more than one cDNA was analyzed and in all regions both strands were sequenced (Figure 7) . We estimated that this accounts for~40% of the PKDl transcript. An open reading frame was detected which runs from the 5' end of the region sequenced and spans 4842 bp, leaving a 3' untranslated region of 789 bp which contains the previously described microsatellite, KG8 (Peral, et al., 1994; Snarey, et al. , 1994). A polyadenylation signal is present at nucleotides 5598-5603 and a polyA tail was detected in two independent cDNAs (AH4 and AH6 ) at position, 5620. Comparison with the cDNAs HG-4 and 11BHS21, which are encoded by genes in the duplicate, 16pl3.1 region, show that 1866 bp at the 5' end of the partial PKDl sequence shown in Figure 7 lies within the duplicated area. The predicted amino acid sequence from the available open reading frame extends 1614 residues, and is shown in Figure 7. A search of the swissprot and NBRF data bases with the available protein sequence, using the Blast program (Altschul, et al., 1990) identified only short regions of similarity (notably, between amino-acids 690-770 and 1390-1530) to a diverse group of proteins; no highly significant areas of homology were recognized. The importance of the short regions of similarity is unclear as the search for protein motifs with the ProSite Program did not identify any recognized functional protein domains within the PKDl gene. The test of identifying and characterizing the PKDl gene has been more difficult than for other disorders because more than three quarters of the gene is embedded in a region of DNA that is duplicated elsewhere on chromosome 16. This segment of 40-50 kb of DNA, present as a single copy in the PKDl area (16pl3.3), is re-iterated as several divergent copies in the more proximal region, 16pl3.1. This proximal site contains three gene loci (HG-A, -B and -C) that each produce polyadenylated mRNAs and share substantial homology to the PKDl gene; it is not known whether these partially homologous transcripts are translated into functional proteins.

[0106]

Although gene amplification is known as a major mechanism for creating protein diversity during evolution, the discovery of a human disease locus embedded within an area duplicated relatively recently is a new observation. In this case because of the recent nature of the reiteration the whole duplicated genomic region retains a high level of homology, not just the exons. The sequence of events leading to the duplication and which sequence represents the original gene locus are not yet clear. However, early evidence of homology of the 3 ' ends of the three HG transcripts which are different from the 3' end of the PKDl gene indicated that the loci in 16pl3.1 have probably arisen by further reiteration of sequences at this site, after it separated from the distal locus.

[0107]

To try to overcome the duplication problem we employed an exon linking approach using RNA isolated from a radiation hybrid, HY145.19, that contains just the PKDl part of chromosome 16, and not the duplicate site in 16pl3.1. Hence, this hybrid produces transcripts from the PKDl gene but not from the homologous genes (HG-A, HG-B and HG-C). We have also sequenced much of the genomic region containing the PKDl gene, from the cosmid JH2A, and have sequenced a number of cDNAs from the HG locus. To determine the likely position of PKDl exons in the genomic DNA we compared HG cDNAs, (HG-4 and HG-7) to the genomic sequence. We then designed primers with sequences corresponding to the genomic DNA, to regions identified by the HG exons and employing DNA generated from the hybrid HY145.19, we amplified sections of the PKDl transcript. The polymerase Pfu was used to minimise incorporation errors. These amplified fragments were then cloned and sequenced. The PKDl cDNA contig whose sequence is shown in Figure 10 is made up of (3' -5') the original 5.7 kb of sequence shown in Figure 7, and the cDNAs: gap 22 (890 bp), gap gamma (872 bp), a section of genomic DNA from the clone JH8 (2,724 bp) which corresponds to a large exon, S1-S3 (733 bp), S3-S4 (1,589 bp) and S4-S13 (1,372 bp). Together these make a cDNA of 13,807nt. When these cDNAs from the PKDl contig were sequenced an open reading frame was found to run from the start of the contig to the stop codon, a region of 13,018 bp. The predicted protein encoded by the PKDl transcript is also shown in Figure 10 and has 4,339 amino acid residues. Cloning a full length PKDl cDNA cDNAs known to originate from the PKDl or HG transcripts show on average a sequence divergence of less than 3%. Consequently, although many cDNAs were identified by hybridisation of various PKDl genomic probes to cDNA libraries, it proved difficult to differentiate genuine PKDl clones from those of the HG transcripts. For this reason a novel strategy was employed to clone the PKDl transcript.

[0108]

To obtain a template of genomic sequence of the PKDl gene, clones which contain the transcribed region, JH6 and JH8-JH13, were sequentially truncated and sequenced. These clones were isolated from the cosmid JH2A, which extends into the single copy area containing the 3' portion of the PKDl gene ( figure 13 ) and hence represents the PKDl and not the HG loci. As a result of this analysis a contig of about 18 kb of genomic sequence was generated, which was ultimately found to encode >95% of the unsequenced portion of the PKDl transcript.

[0109]

A number of HG cDNA clones identified by the DNA probes JH8 or JH13 (including HG-4, HG-7C and 13A1 ) were sequenced. Clones identified by JH8 were chosen because this genomic area is duplicated fewer times than the surrounding DNA, with only the HG-A and HG-B transcripts (not HG-C) homologous to this region. The comparison of these cDNA and genomic sequences showed a characteristic intron/exon pattern and we concluded that the exons highlighted in the genomic sequence were likely to be exons of the PKDl gene. To prove this, pairs of primers matching the sequence of the putative PKDl exons and spaced 0.7 - 2 kb apart in the proposed transcript, were synthesised. Employing RNA from a radiation hybrid, HY145.19, that contains the PKDl but not the HG loci, PKDl specific cDNAs were amplified by RT-PCR and cloned (see Experimental Procedures for details) . In this way, a number of overlapping cDNAs spanning the PKDl transcript, for the cDNAs at the 3' end to those homologous to JH13 were cloned (Figure 13) .

[0110]

Analysis of a further cDNA, HG-6 showed that a short region (-100 bp) of HG-6 lay 5' to the sequenced genomic region and this was located by hybridisation to the genomic clone SM3 (figure 13); SM3 was subsequently sequenced. The position of the cDNA in SM3 was identified and the possible 5' extent of this exon was determined in the genomic sequence; and in-frame stop codon was identified hear the 3' end of the exon. This exon lay at a CpG island (described hereinafter) suggesting, along with the presence of the stop codon, that this may be the first exon of the PKDl gene, to determine the likely transcriptional start site the method of primer extension from three different oligos within the first exon was employed (see Experimental Procedures) . In all cases, a transcriptional start was identified at the same G nucleotide and showed the first exon to be 426 bp. The structure of the PKDl transcript was confirmed by a final exon link, revl which starts 3 bp 3' to the proposed transcriptional start (see figure 13 and Experimental Procedures for details) . The intron/exon structure of the PKDl gene

[0111]

Sequencing the cDNA contig revealed a total sequence of 14, 148 bp which extends over approximately 52 bp of genomic sequence from SM3 to BFS5 (Figure 13). We were able to determine the intron/exon structure of much of the gene by direct comparison between the cDNA and genomic sequence. In the 3' region of the gene (JH5-BFS5), a partial genomic sequence was obtained at intron/exon borders by sequencing the corresponding genomic clone from exonic primer. The PKDl CpG island

[0112]

The 5' end of the gene lies at CpG island SM3. SM3 is located entirely within the duplicated region, but this clone was isolated from the cosmid SM11 which extends through the duplicated area into the proximal flanking single copy region and therefore is known to originate from this area. Figure 14 shows a map of the PKDl CpG island including genomic sites for several methylation sensitive enzymes, the location of the first exon and the GC content across the island. Evidence that the enzyme sites in the PKDl region (and not just the HG area) digest, was obtained by pulsed field gel electrophoresis with the enzymes Mlu I, Not II and BssH II using probes outside the duplicated area. Digestion of the Sac II sites and confirmation of the Not I site was made with a panel of somatic cell hybrids which either contain just the HG (P-MWH2A) or just the PKDl locus (Hyl45.19). These results showed that the Sac II and Not I sites digest in both sets of hybrids (data not shown), indicating that this region is a CpG island in the HG as well as the PKDl area. Further proof that this is the likely position of a functional promoter was obtained by analysis for DNAase 1 hypersensitivity. A DNAase hypersensitive site in the region 5' to the transcription start site in SM3 was detected (figures 14a and b). Analysis of the PKDl transcript

[0113]

Analysis of the sequence shows an open reading frame running from the start of the sequence to position 13,117 bp (Figure 15). Detailed sequencing of the genomic region containing the 3' portion of the gene revealed two extra Cs at positions 13.081-2 (Figure 15). An in-frame start codon which is consistent with the Kozak consensus was detected at position 212 bp; just 3' to the stop codon in the 5'UTR. Analysis for a signal sequence cleavage site using the von Hinge (von Hinge 1986) algorithm showed a high probability of a hydrophobic signal sequence with cleavage at amino acid 23 (see Figure 15). The total length of the predicted protein is 4302 aa with a calculated molecular mass after excision of the signal peptide of 460 kD and an estimated isoelectric point of 6.26. However, this may be an underestimate of the total mass of the protein as many potential sites for N-linked glycosylation are present (Figure 15). Homologies with the PKDl protein

[0114]

The predicted PKDl protein was analysed for homologies with know proteins in the SwissProt and NBRF databases using the BLAST Altschul et al 1990) and FASTA algorithms. This analysis revealed two clear homologies and also a number of other potential similarities which were studied on detail. Leucine rich repeat

[0115]

Near the 5' end of the PKDl protein is a region of leucine rich-repeats (LRRs). LRRs are a highly conserved motif usually of 24 residues with precisely spaced leucines (or other aliphatic amino acids) and an asparagine at position 19 (Figure 16a and reviewed in Kobe and Reisenhofer (1994)). Two complete LRRs plus a partial repeat unit are found in the PKDl protein, which have complete homology with the LRR consensus.

[0116]

Surrounding the LRRs are distinctive cysteine-rich amino and carboxy flanking regions (Figures 16b and c). This flank-LRR-flank structure is exclusively found on proteins in extracellular locations and is thought to be involved in protein-protein interactions such as adhesion to other cells or to components of the extracellular matrix or as a receptor concerned with binding or signal transduction. The structure found in the PKDl protein is similar to that found in the Drosophila protein, slit, which is important for normal central nervous system development (Rothberg, 1990). Although slit contains far more LRRs than the PKDl protein, with four blocks each consisting of 4 or 5 repeat units, the structure of each block is similar as they finish on the amino and carboxy side with shortened LRRs which are immediately flanked by the cysteine rich regions. In the PKDl protein two shortened LRRs surround one complete repeat unit and immediately abut the amino and carboxy flanking regions.

[0117]

The amino flanking region consists of four invariant cysteines and a number of other highly conserved residues in an area of 30-40 amino acids; comparison of the PKDl region to amino flanking motifs of other proteins is shown in figure 4b. The carboxy flanking region extends over an area of between 50-60 residues and consists of an invariant proline and four cysteines plus several other highly conserved amino acids. The similarity of the PKDl region to carboxy flanking regions from other proteins is shown in figure 4c.

[0118]

Some LRR proteins, such as slit (Rothberg 1990) and small proteoglycans are wholly extracellular but others including Toll (Hashimoto et al, 1990) and trkc ( Lamballe 1991) have a single transmembrane sequence, while the LH-CRG receptor and related proteins have seven trans-membrane segments and are involved in signal transduction. C type lectin domain Analysis of the sequence from exons 6 and 7 showed a high level of homology with a C type lectin domain. C type lectins are found in a variety of proteins in extracellular locations where they bind specific carbohydrates in the presence of Ca2+ ion (Drickamer 1987, 1988; Weiss 1992). Figure 17 illustrates the similarity of the PKDl lectin domain to those found in a number of proteins including: proteogylcans, which interact with collagens and other components of the extracellular matrix; endocytic receptors, and selectins which are involved in cell adhesion and recognition. Three different selectins have been identified: E-selectin (endothelium) , P-selectin (platelets) and L-selectin (lymphocytes) and these work with other cell adhesion molecules to promote binding of the cell carrying the selectin to various other target cells. Immunoglobulin-like repeat motif

[0119]

Significant homologies were detected between a region of exon 5 and three regions of exon 15, with the same conserved sequence, WDFGDGS, which is also found in a melanocyte-specific secreted glycoprotein, Pmell7 (Kwon et al, 1991) and three prokaryotic collagenases or proteinases (Ohara et al, 1989, Takeuchi et al, 1992 and Matsushita et al, 1994). Further analysis of the amino acid sequence of the PKDl protein showed that a conserved region of approximately 85 bp could be discerned around this central sequence and that 16 copies of this repeat were present in the PKDl protein; 1 in exon 5 and the other 15 as a tandem array in exons 11 to 15. Figure 18 shows that a highly conserved structure is maintained between the repeats although in some cases less similarity is noted with the WDFGDGS sequence. Further analysis of the most conserved residues found in the repeat units showed similarity to various immunoglobulin (Ig) domains; two Ig repeats which show particular homology to the PKDl protein are shown ( figure 18 ) . The repeat unit is most similar to that found in a number of cell adhesion and surface receptors which have recently been defined as the I set of Ig domains (Harpaz 1994). Ig repeats consist of 7-9 β strands of 5-10 residues linked by turns which are packed into two β sheets. The B, C, F and G β-strands of the I set are particularly similar to the PKDl repeat, although the highly conserved cystine residues which stabilise the two β sheets through a disulphide bond are absent. The D and E β strands, however, seem less similar and in some cases are significantly shortened or apparently absent. Further evidence that this PKDl repeat has an Ig-like structure is found by analysis of the secondary structure with the predominant configuration found of β strands linked by turns. The WDFGDS area of the Ig molecule is one that often has a specific binding function (Jones et al. , 1995) and this sequence may have a specific binding role in polycystxn. Type III fibronectin-related domains Analysis of the secondary structure of the PKDl protein beyond the carboxy end of the region of Ig-like repeats showed a continuation of the β stand and turn structure. No evidence of further Ig-like repeats could be found in this area but three pairs of evenly spaced (38-40aa) tryptophan and tyrosine residues was noted which are the most highly conserved positions of the type III fibronectin repeat which has a similar secondary structure to Ig domains. Further analysis and comparison with other type III fibronectin domains showed that in total four fibronectin repeats (one with leucine replacing the conserved tyrosine) could be recognised in this area with many of the most highly conserved residues of this domain found in the PKDl repeat (Figure 20).

[0120]

A large number of proteins with Ig-like repeats have now been described which are involved in cell-cell interactions and cell adhesion (reviewed in Brummendork and Rathjen, 1994), while type III fibronectin (FNIII) domains are found on extracellular matrix molecules and adhesion proteins. A number of cell adhesion proteins which are located mainly on neural cells, have both Ig-like and FNIII- related domains. In these cases the FNIII repeats are always positioned C-terminal of the Ig-like units and close to a transmembrane domain; a similar pattern is seen in the proposed structure of polycystin. These Ig/FNIII containing proteins such as neuroglican and NrCAM are thought to be involved in neuron-neuron interactions and the patterning of the axonal network. Many cell adhesion proteins of the Ig superfamily are also involved in communication and signal transduction mediated through their cytoplasmic tails. These cytoplasmic regions are known to bind to cytoskeletal proteins and other intracellular components, and phosphorylation of this part of the molecule is also thought to affect adhesive properties of the protein; potential phosphorylation sites are found in the cytoplasmic tail and one intracellular loop of polycystin (Figure 20) . Transmembrane regions

[0121]

Analysis of hydrophobicity predicted that the deduced protein is an integral membrane protein with a signal peotide and multiple transmembrane (TM) domains located in the C-terminal region. From this analysis 11 regions (including the signal peptide) had a mean hydrophobicity indice higher than 1.4 and therefore were considered as certain membrane spanning domains (see Experimental Procedures for details) . Three others with a mean hydrophobicity indice between 0.75-1.0 were considered as putative TM domains. The most likely topology of the protein was predicted using TopPed II programme (see Experimental Procedures for details) and the resulting model included one putative segment plus the 10 certain transmembrane domains and the signal peptide. According to this model the N-terminal end is extracellular and the (highly hydrophobic) carboxy-terminal region is anchored to the membrane by 11 membrane-spanning segments, with the highly charged carboxy end located in the cytoplasm. This topology is supported by the study of N-glycosylation sites with all but one site, out of a total of 61 predicted, in an extracellular location according to the model, including 11 in the two large extracellular loops between TM regions. However, if degree of hydrophobicity required to define a certain putative transmembrane region is altered within the model, the predicted number of such domains can change to 9 (excluding the most N-terminal pair) or 13 (with two new domains defined between TM7 and TM8 ) . This can be ascertained by studies with specific antibodies.

[0122]

Most transmembrane proteins containing the types of cell adhesion domain found on polycystin have a single transmembrane domain. The role of the multiple membrane spanning domains found in polycystin is not yet clear. Proposed structure of the PKDl protein

[0123]

From the detailed analysis of the predicted PKDl protein sequence a model of the likely structure of the protein can be formulated (Figure 20) . This model predicts an extracellular N-terminal region of approximately 2550 aa containing several distinctive extracellular domains and an intracellular C-terminus of approximately 225 aa. The intervening region of nearly 1500 aa is associated with the membrane with 11 transmembrane regions predicted and 10 variously sized extracellular and cytoplasmic loops (see Figure 20) . A proline rich hinge is found between the flank-LRR-flank region and the first Ig-like repeat. Two phosphorylation sites for tyrosine kinase and protein kinase C are found in cytoplasmic locations (Figures 15 and 20). Therefore, the PKDl protein, named polycystin, has highlighted several clear domains, plus a reiterated motif that occupies over 30% of the protein.

[0124]

Characterisation of the PKDl gene has proven to be a uniquely difficult problem because most of the gene lies in a region which is reiterated elsewhere on the chromosome. The high degree of similarity between the two areas ()97%) both in exons and introns has meant that a novel approach has been required to clone the full length transcript; involving extensive genomic sequencing and generating cDNAs from a cell line with the PKDl but not the HG loci. In this way a contig containing the entire PKDl transcript has now been cloned. Preliminary analysis shows that the HG genes are very similar to PKDl both in terms of genomic structure and sequence over most of their length (apart from the novel 3' regions) . The 5' end of the PKDl gene is at a CpG island which lies within the duplicated area. Homologous areas to this island, in the HG region, also have cleavable sites for methylation sensitive enzymes; these duplicate islands probably lie at the 5' ends of the various HG genes. Analysis for DNAase hypersensitivity also indicates that the HG, CpG islands probably contain active promoters. These results are consistent with the observation of polyadenylated mRNA from the HG genes on Northern blots and the similarity of the expression pattern of the HG and PKDl genes in different tissue specific cell lines. The HG genes may have complete open reading frames and may encode functional proteins. Antibodies to their 'unique' 3' regions will be required to determine this.Although the PKDl transcript is large, the overall size of the gene, at 52 kb, is not (the Duchenne muscular dystrophy (DMD) gene which encodes a slightly smaller transcript has a genomic size of over 2Mb). Indeed, if the first intron of PKDl is excluded from the analysis, 40.3% of the remainder of the gene is found in the mature mRNA. In the compact structure of the PKDl gene, some of the introns are close to or smaller than the minimal size of 80 bp thought to be required for efficient splicing, although they are presumably excised effectively. We have shown that deletion of 18 or 10 bp from one small intron (intron 43 ) , resulting in an intron of 55 or 57 bp, leads to aberrant splicing (Peral, 1995). Similar mutations may be found in the other small introns of this gene. The compact nature of the PKDl gene probably reflects the GC rich area of the genome in which it is found (the PKDl transcript has a total GC content of about 65%); a similar organisation is seen in other genes from the area of chromosome 16 (Vyas, 1992) is in an AT rich genomic region.

[0125]

It is clear that polycystin has many features of a cell adhesion or recognition molecule with multiple different extracellular domains. These various binding domains are likely to have different specificities so that it can be envisaged that it will bind to a variety of different proteins (and carbohydrates) both on other cells and possibly in the extracellular matrix. Although provisional evidence indicates a wide range of expression of polycystin in tissue specific cell lines, detailed analysis by in situ of the mRNA and with antibodies to determine the cells expressing this protein both in adult tissue and during development will provide further evidence.

[0126]

Initial analysis has revealed little clear evidence of alternate splicing, although one cDNA (out of 6 studied) had an extra exon of 255 bp positioned in intron 16. This exon contains an in-frame stop codon and it is not known at this stage if this represents an incompletely spliced mRNA or a splice form of polycystin which terminates at this point. Truncation of the protein here would leave a secreted protein lacking all of the transmembrane and cytoplasmic regions. Interestingly, a similar secreted form of the neural adhesion protein, NCAM, which is normally attached to the cell membrane, is produced by alternate splicing by insertion of an exon containing a stop codon (Gower et al. , 1988). The initial changes that have been noted in ADPKD kidneys are abnormal thickening and splitting of the basement membrane (BM) and simultaneous de-differentiation of associated epithelial cells at the point of tubular dilation. Similar results have been noted in the heterozygote Han:SPRD rat (Schafer et al., 1994) which is a dominant model of PKD, although it is not known if it is a rat model of PKDl. Concurrent changes in cellular characteristics and the BM suggests that a disruption or alteration of communication between the cell and the BM may be the primary change in this disease. Polycystin could play an important role in interaction and communication between epithelial cells and the BM. It is known that signals are required from cells to the extracellular matrix ( ECM) for normal BM development and also that communication from the ECM to cells is required for control of cellular differentiation. Communication between the ECM and cells occurs by several different means including through integrins and so polycystin may bind to integrins, although it may interact directly with components of the ECM. Although ADPKD is generally a disease of adulthood, there is plenty of evidence that the cystic changes in the kidney may start much earlier (Milutinovic et al., 1970), even in utero (Reeders, 1986). Expression of polycystin during renal development may be when its major role occurs, perhaps in assembly of the BM and it is then that the errors, which later lead to cyst development, occur.

[0127]

The plethora of connective tissue abnormalities associated with ADPKD indicate that the adhesion/communication roles of polycystin may be important for assembly and/or maintenance of the BM in many tissues, as well as the kidney. Hence, it is possible that disruption of normal cell adhesion and communication mediated by polycystin may explain the primary defects seen in the kidney and other organs in ADPKD. Clearly molecules that interact with polycystin or have a similar role are candidates for the other renal polycystic diseases of man.

[0128]

A study of the mutations of the PKDl gene highlight important functional regions of the protein. All of the mutations described so far in typical PKDl families involve deletion or other disruption in the 3' end of gene. Two large deletions detected on Southern blots remove a large part of the protein (or make an out of frame product) including the last 6 transmembrane domains and the C- terminal end. The in-frame splicing change described in the same paper would remove most of TM10 and part of the preceding cytoplasmic loop. Two recently described splicing mutations (Peral, 1995) create three different products which either delete part of the cytoplasmic loop between TM7 and TM8 or a larger region of this loop including part of TM7 or insert an extra region into that loop. These mutated genes may make functional protein (they all produce abnormal mRNA) and it is interesting to note that, in each case, these proteins would have an intact extracellular region with disrupted cytoplasmic and transmembrane areas. Such proteins may bind to extracellular targets but are unable to communicate in a normal way.

[0129]

A group of mutations of PKDl which completely delete the gene and hence are clearly inactivating have been described (Brook-Carter, 1994). However, in each of these cases the deletions also disrupt the adjacent TSC2 gene making interpretation of these cases difficult (TSC2 mutations alone can cause the development of renal cysts) . Nevertheless, the severity of the polycystic disease in these patients indicate that inactivation of one PKDl allele does promote cyst development. Further more, all these children are often severely affected at birth, cyst formation must occur ±n utero in these cases and hence polycystin has an important developmental role. A second somatic hit in the target tissue may also be required in these cases (and normal PKDl patients) before cyst development can occur.

[0130]

PKDl GENE AND POLYCYSTIC KIDNEY DISEASE

[0131]

We have therefore compelling evidence that mutations of the PKDl gene give rise to the typical phenotype of ADPKD. The location of this gene within the PKDl candidate region and the available genetic evidence from the families with mutations show that this is the PKDl gene. The present invention therefore includes the complete PKDl gene itself and the six PKDl - associated mutations which have been described: a de novo translocation, which was subsequently transmitted with the phenotype; two intragenic deletions (one a de novo event); two further deletions; and a splicing defect. It has been argued that PKDl could be recessive at the cellular level, with a second somatic mutation required to give rise to cystic epithelium (Reeders, 1992). This "two hit" process is thought to be the mutational mechanism giving rise to several dominant diseases, such as neurofibromatosis (Legius, et al., 1993) and tuberous sclerosis (Green, et al., 1994) which result from a defect in the control of cellular growth. If this were the case, however, we might expect that a proportion of constitutional PKDl mutations would be inactivating deletions as seen in these other disorders.

[0132]

The location of the PKDl mutations may, however, reflect some ascertainment bias as it is this single copy area which has been screened most intensively for mutations. Nevertheless, no additional deletions were detected when a large part of the gene was screened by FIGE, and studies by PFGE showed no large deletions of this area in 75 PKDl patients. It is possible that the mutations detected so far result in the production of an abnormal protein which causes disease through a gain of function. However, it is also possible that these mutations eliminate the production of functional protein from this chromosome and result in the PKDl phenotype by haploinsufficiency, or only after loss of the second PKDl homologue by somatic mutation.

[0133]

At least one mutation which seems to delete the entire PKDl gene has been identified (WS-53) but in this case it also disrupts the- adjacent TSC2 gene and the resulting phenotype is of TSC with severe cystic kidney disease. Renal cysts are common in TSC so that the phenotypic significance of deletion of the PKDl gene in this case is difficult to assess. It is clear that not all cases of renal cystic disease in TSC are due to disruption of the PKDl gene; chromosome 9 linked TSC (TSC1 ) families also manifest cystic kidneys and we have analysed many TSC2 patients with kidney cysts who do not have deletion of the PKDl gene.

[0134]

Preliminary analysis of the PKDl protein sequence has highlighted two regions which provide some clues to the possible function of the PKDl gene. At the extreme 5' end of the characterised region are two leucine-rich repeats (LRRs) (amino acids 29-74) flanked by characteristic amino flanking (amino acids 6-28) and carboxy flanking sequences (amino acids 76-133) (Rothberg et al., 1990). LRRs are thought to be involved in protein-protein interations (Kobe and Deisenhofer, 1994) and the flanking sequences are only found in extracellular proteins. Other proteins with LRRs flanked on the amino and carboxy sides are receptors or are involved in adhesion or cellular signalling. Further 3' on the protein (amino acids 350-515) is a C-type lectin domain (Curtis et al., 1992). This indicates that this region binds carbohydrates and is also likely to be extracellular. These two regions of homology indicate that the 5' part of the PKDl protein is extracellular and involved in protein- protein interactions. It is possible that this protein is a constituent of, or plays a role in assembling, the extracellular matrix (ECM) and may act as an adhesive protein in the ECM. It is also possible that the extracellular portion of this protein is important in signalling to other cells. The function of much of the PKDl protein is still not fully known but the presence of several hydrophobic regions indicates that the protein may be threaded through the cell membrane.

[0135]

Familial studies indicate that de novo mutations probably account for only a small minority of all ADPKD cases; a recent study detected 5 possible new mutations in 209 families (Davies, et al., 1991). However in our study one of three intragenic uttions detected was a new mutation and the PKDl associated translocation was also a de novo event. Furthermore, the mutations detected in the two familial cases do not account for a significant proportion of the local PKDl. The 0X875 deletion was only detected in 1 of 282 unrelated cases, and the splicing defect was seen in only 1 of 48 unrelated cases. Nevertheless, studies of linkage disequilibrium have found evidence of common haplotypes associated with PKDl in a proportion of some populations (Peral, et al., 1994; Snarey, et al., 1994) suggesting that common mutations will be identified.

[0136]

Once a larger range of mutations have been characterised it will be possible to evaluate whether the type and location of mutation determines disease severity, and if there is a correlation between mutation and extra- renal manifestations. Previous studies have provided some evidence that the risk of cerebral aneurysms 'runs true' in families (Huston, et al., 1993) and that some PKDl families exhibit a consistently mild phenotype (Ryynanen, et al., 1987). A recent study has concluded that there is evidence of anticipation in ADPKD families, especially if the disease is transmitted through the mother (Fink, et al., 1994). Furthermore, analysis of families with early manifestations of ADPKD show that there is a significant intra-familial recurrence risk and that childhood cases are most often transmitted maternally (Rink, et al., 1993; Zerres, et al., 1993). This pattern of inheritence is reminiscent of that seen in diseases in which an expanded trinucleotide repeat was found to be the mutational mechanism (reviewed in Mandel, 1993). However, no evidence for an expanding repeat correlating with PKDl has been found in this region although such a sequence cannot be excluded. There is ample evidence that early presymptomatic diagnosis of PKDl is helpful because it allows complications such as hypertension and urinary tract infections to be monitored and treated quickly (Ravine, et al. , 1991). The identification of mutations within a family allow rapid screening of that and other families with the same mutation. However, genetic linkage analysis is likely to remain important for presymptomatic diagnosis. The accuracy and ease of linkage based diagnosis will be improved by the identification of the PKDl gene as a microsatellite lies in the 3' untranslated region of this gene (KG-8) and several CA repeats are located 5' of the gene (see Figure la and 6; Peral, et al., 1994; Snarey, et al. , 1994). Experimental Procedures Clinical Details of Patients Family 77

[0137]

77-2 and 77-3 are 48 and 17 years old, respectively and have typical ADPKD. Both have bilateral polycystic kidneys and 77-2 has impaired renal function. Neither patient manifests any signs of TSC (apart from cystic kidneys) on clinical and ophthalmological examination or by CT scan of the brain.

[0138]

77-4 is 13 years old, severely mentally retarded and has multiple signs of tSC including adenoma sebaceum, depigmented macules and periventricular calcification on CT scan. Renal ultrasound reveals a small number of bilateral renal cysts. ADPKD patients 0X875 developed ESRD from ADPKD, aged 46. Progressive decline in renal function had been observed over 17 years; ultrasound examinations documented enlarging polycystic kidneys with less extensive hepatic cystic disease. Both kidneys were removed after renal transplantation and pathological examination showed typical advanced cystic disease in kidneys weighing 1920g and 340g (normal average 120g) .

[0139]

0X114 developed ESRD from ADPKD aged 54: diagnosis was made by radiological investigation during an episode of abdominal pain aged 25. A progressive decline in renal function and the development of hypertension was subsequently observed. Ultrasonic examination demonstrated enlarged kidneys with typical cystic disease, with less severe hepatic involvement.

[0140]

0X32 is a member of a large kindred affected by typical

[0141]

ADPKD in which several members have developed ESRD. The patient himself has been observed for 12 years with progressive renal failure and hypertension following ultrasonic demonstration of polycystic kidneys.

[0142]

No signs of TSC were observed on clinical examination of any of the ADPKD patients. DNA Electrophoresis and Hybridisation

[0143]

DNA extraction, restriction digests, electrophoresxs, Southern blotting, hybridisation and washing were performed by standard methods or as previously described (Harris, et al.. 1990). FIGE was performed with the Biorad FIGE Mapper using programme 5 to separate fragments from 25-50 kb. High molecular weight DNA for PFGE was isolated in agarose blocks and separated on the Biorad CHEF DRII apparatus using appropriate conditions.

[0144]

Genomic DNA probes and somatic cell hybrids Many of the DNA probes used in this study have been described previously: MS205.2 (D16S309; Royle, et al., 1992); GGG1 (D16S259; Germino, et al. , 1990); N54 (D16S139; Himmelbauer, et al., 1991); SM6 (D16S665), CW23, CW21, and JHl (European Chromosome 16 Tuberous Sclerosis Consortium, 1993). Microsatellite probes for haplotype analysis were

[0145]

KG8 and W5.2 (Snarey, et al., 1994)SM6, CW3 and CW2, (Peral, et al., 1994), 16AC2.5 (Thompson, et al. , 1992); SM7

[0146]

(Harris, et al., 1991), VK5AC (Aksentijevich, et al., 1993).

[0147]

New probes isolated during this study were: JH4, JH5, JH6, 11 kb, 6 kb and 6 kb BamH I fragments, respectively, and JH13 and JH14, 4 kb and 2.8 kb BamH I-EcoR I fragments, respectively, all from the cosmid JH2A; JH8 and JH10 are 4.5 kb and 2 kb Sac I fragments, respectively and JH12 a 0.6 Sac I-BamH I fragment, all from JH4; 8S1 and 8S3 are 2.4 kb and 0.6 kb Sac II fragments, respectively, from JH8; CW10 is a 0.5 kb Not I-Mlu I fragment of SM25A; JH17 is a 2 kb EcoR I fragment of NM17.

[0148]

The somatic cell hybrids N-OHl (Germino, et al., 1990), P-MWH2A (European Chromosome 16 Tuberous Sclerosis Consortium, 1993) and Hyl45.19 (Himmelbauer, et al., 1991) have previously been described. Somatic cell hybrids containing the paternally derived (BP2-10) and maternally derived (BP2-9) chromosomes from 0X114 were produced by the method of Deisseroth and Hendrick (1979). Constructing a cosmid contig

[0149]

Cosmids were isolated from chromosome 16 specific and total genomic libraries, and a contig was constructed using the methods and libraries previously described (European Chromosome 16 Tuberous Sclerosis Consortium, 1993). To ensure that cosmids were derived from the 16pl3.3 region (not the duplicate 16pl3.1 area) initially, probes from the single copy area were used to screen libraries (e.g. CW21 and N54 ) . Two cosmids mapped entirely within the area duplicated, CWIOIII and JC10.2B. To establish that these were from the PKDl area, they were restriction mapped and hybridised with the probe CW10. The fragment sizes detected were compared to results obtained with hybrids containing only the 16pl3.3. are (Hyl45.19) or only the 16pl3.1 region (P-MWH2A) . FISH

[0150]

FISH was performed essentially as previously described (Buckle and Rack, 1993). The hybridisation mixture contained 100 ng of biotin-II-dUTP labelled cosmid DNA and 2.5 mg human Cot-1 DNA (BRL), which was denatured and annealled at 37°C for 15 min prior to hybridisation at 42°C overnight. After stringent washes the site of hybridisation was detected with successive layers of fluorescein- con ugated avidin (5 mg/ml ) and biotinylated ani-avidin (5 mg/ML) Vector Laboratories). Slides were mounted in Vectashield (Vector Laboratories) containing 1 mg/ml propidium iodide and 1 mg/ml 4', 6-diamidino-2-phenylindole (DAPI ), to allow concurrent G-banded analysis under UV light. Results were analysed and images captured using a Bio-Rad MRC 600 confocal laser scanning microscope.

[0151]

cDNA screening and characterisation

[0152]

Foetal brain cDNAs libraries in λ phage (Clonetech and Stratagene ) were screened by standard methods with genomic fragments in the single copy area (equivalent to CW23 and CW21 ) or with a 0.8 kb Pvu II-Eco RI single copy fragment of AH3. Six PBP cDNAs were characterised; AH4 (1.7 kb ) and 3A3 (2.0 kb) are described in European Chromosome 16 Tuberous Sclerosis Consortium, 1993, and four novel cDNAs AH3 (2.2 kb), AH6 (2.0 kb), A1C (2.2 kb) and B1E (2.9 kb) . A Striatum library (Stratagene) was screened with JH4 and a HG-C cDNA, 11BHS21 (3.8 KB) WAS ISOLATED, 21p.9 is a 0.9 kb Pvu II-EcoR I subclone of this cDNA. A HG-A or HG-B cDNA, HG-4 (7 kb) was also isolated by screening the foetal brain library (Stratagene) with JH8. HG-4/1.1 is a 1.1 kb Pvu II- EcoR I fragment from the 3' end of HG-4. 1A1H.6 is a 0.6 kb Hind III-EcoR I subclone of a TSC2 cDNA, 1A-1 (1.7 kb), which was isolated from the Clonetech library. Each cDNA was subcloned into Bluescript and sequenced utilising a combination of sequential truncation and liigonucleotide primers using DyeDeoxy Terminators (Applied Biosystems ) and an ABI 373A DNA Sequencer (Applied Biosystems) or by hand with 'Sequenase' T7 DNA polymerase OUSB) . RNA Procedures

[0153]

Total RNA was isolated from cell lines and tissues by the method of Chomczynskiand Sacchi (1987) and enrichment for mRNA made using the PolyAT tract mRNA Isolation System ( Pro ega ) . For RNA electrophoresis 0.5% agarose denaturing formaldehyde gels were used which were Northern blotted. hybridised and washed by standard procedures. The 0.24 - 9.5 kb RNA (Gibco BRL) size standard was used and hybridisation of the probe (1-9B3) to the 13 kb Utrophin transcript (Love, et al. , 1989) in total fibroblast RNA was used as a size marker for the large transcripts.

[0154]

RT-PCR was performed with 2.5 mg of total RNA by the method of Brown et al. (1990) with random hexamer primers, except that AMV-reverse transcriptase (Life Sciences) was employed. To characterise the deletion of the PBP transcript in 0X114 we used the primers:

[0155]

AH# F95' TTT GAC AAG CAC ATC TGG CTC TC 3' AH3 B75' TAC ACC AGG AGG CTC CGC AG 3' in a DMSO containing PCR buffer (Dode, et al., 1990) with 0.5 mM MgCl2 and 36 cycles of: 94°C, 1 min; 61°C, 1 min; 72βC, 2 min plus a final extension of 10 min. The 3A3 C primers used to amplify the 0X32 cDNA and DNA were: 3A3 C15' CGC CGC TTC ACT AGC TTC GAC 3' 3A3 C25' ACG CTC CAG AGG GAG TCC AC 3' These were employed in a PCR buffer and cycle previously described (Harris, et al., 1991) with ImM MgCl2 and an annealing temperature of 61°C.

[0156]

PCR products for sequencing were amplified with Pfu-1 (Stratagene) and ligated into the Srf-1 site in PCR-Script (Stratagene) in the presence of Srf-1. RNAse protection

[0157]

Tissues from normal and end-stage polycystic kidneys were immediately homogenised in guanidinium thiocyanate. RNA was purified on a cesium chloride gradient and 30 mg total RNA was assayed by RNAse protection by the method of Melton, et al. , (1984) using a genomic template generated with the 3A3, C primers. Heteroduplex Analysis Heteroduplex analysis was performed essentially as described by Keen et al. (1991). Samples were amplified from genomic DNA with the 3A3, C primers, heated at 95°C for 5 minutes and incubated at room temperature for at least 30 minutes before loading on a Hydrolink gel (AT Biochem) . Hydrolink gels were run for 12-18 hours at 250V and fragments observed after staining with ethidiu bromide. Extraction and amplification of paraffin-embedded DNA

[0158]

DNA from formalin fixed, paraffin wax embedded kidney tissue was prepared by the method of Wright and Manos (1990), except that after proteinase K digestion overnight at 55°C, the DNA was extracted with phenol plus chloroform before ethanol precipitation. Approximately 50 ng of DNA was used for PCR with 1.5 mM MgCl2 and 40 cycles of 94°C for 1 min, 50°C for 1 min and 72°C for 40 s, plus a 10 min extension at 72°C.

[0159]

The oligonucleotide primers designed to amplify across the genomic deletion of 0X875 were: AHF2 : 5' - GGG CAA GGG AGG ATG ACA AG - 3' JH14B3 : 5' - GGG TTT ATC AGC AGC AAG CGG - 3' which produced a product of about 220 bp in individuals with the 0X875 deletion. 3' RACE analysis of WS-212

[0160]

3' RACE was completed essentially as described (European Polycystic Kidney Disease Consortium (1994)). Reverse transcription was performed with 5μg total RNA with 0.5μg of the hybrid dT:- adapter primer using conditions previously described (Fronman et al.. (1988)). A specific 3' RACE product was amplified with the primer F5 and adapter primer in 0.5mM MgCl2 with the program: 57°C, 60s; 72°C, 15 minutes and 30 cycles of 95°C, 40s; 57°C, 60s; 72°C, 60s plus 72°C, 10 minutes. The amplified product was cloned using the TA cloning system ( Invitrogen) and sequenced by conventional methods.

[0161]

Genomic and cDNA Probes and somatic cell hybrids

[0162]

The genomic clones CW21, JH5, JH6, JH8, JH10. JH12, JH13 and JH14 and the cDNAs A1C, AH3, 3A3 and AH4 are described herein. Newly described probes are: SM3 a 2.0 kb BamH 1 subclone of the cosmid SM11, JH9, 2.4kb Sac 1 fragment and JH11, 1.2kn Sac 1 - BamHI fragment, both from JH4. See Eur. Polycystic Kidney Disease Consortium, 1994 and Eur. Chromosome 16 Tuberous clerosis Consortium 1993 for all above clones. DFS5 is a 4.2 kb Not 1-Hind 111 fragment of CW23 (Eur. Chromosome 16 Tuberous Sclerosis Consortium, 1993). The cDNAs; BPG4, BPG6, BPG7C and 13-A were isolated from a fetal brain cDNA library in λ phage (Stratagene ) and are 7 kb, 2 kb, 4.5 kb and 1.2 kb respectively.

[0163]

The somatic cell hybrids have previously been described, P-MWH2A (Eur. Chromosome 16 Tuberous Sclerosis Consortium, 1993) and Hyl45.19 (Himmelbauer et al. , 1991). Exon linking

[0164]

Total cellular RNA from the radiation hybrid Hyl45.19 was reverse transcribed using random hexamers (Eur. Polycystic Kidney Disease Consortium, 1994). This material was used as a templaτe for PCR using the proof reading polymerase Pfu-1 with the primer pairs described in Table 2. The resultant products were cloned into the Srf-1 site of pPCRscript (SK+ ) plasmid. Sequencing

[0165]

Full length sequence was obtained from the genomic clones, HG cDNAs and exon link clones using the progressive unidirectional deletion technique of Henikoff, (1984). Both strands were then sequenced using DyeDeoxy Terminator Cycle Sequencing and an Applied Biosystems Sequencer 373A. Contig assembly was done using the programmes Assembly line (vs 1.0.7), SeqEd (vs 1.03) and MacVector (4.1.4). Primer Extension

[0166]

Primer extension was performed on total cellular fibroblast RNA. 25μg of RNA was annealed at 60eC in the presence of 400mM NaCl to O.OlpM of HPLC pure oligonucleotide which had been end labelled to a specific activity of 3 x 10 cpm/pM with;iP. Primer extension was then performed in the presence of 50mM Tris pH8.2, lOmM DTT, 6mM MgCl2, 25mg/ml Actino ycin D. 0.5mM dNTPs, and 8 units of AMV reverse transcriptase. The extension reaction was continued for 60 min at 42°C. The extension products were compared to a sequencing ladder generated using the same primer on the genomic clone SMS. The primers used were: N2765: 5 ' -GGCGCGGCGGGCGGCATCGTTAGGGCAGCG-3 ' N5496: 5 ' -GGCGGGCGGCATCGTTAGGGCAGCGCGCGC-3' N5495:5 '-ACCTGCTGCTGAGCGACGCCCGCTCGGGGC-3' . Analysis of sequence homology

[0167]

The predicted PKDl protein was analyzed for homologies with known proteins in the SwissProt and NBRF database using the BLAST (Altschul et al. , 1990) and FASTA (Pearson et al., 1988) algorithms. Layouts were prepared by hand and using the programme Pileup. Transmembrane regions

[0168]

Potential transmembrane segments were identified by the method of Sipos and von Heljne (Sipos et al., 1993), using the GES hydrophobicity scale (Engelmen et al., 1986) and a trapezoid sliding window (a full window of 21 residues and a core window of 11 residues), as recommended. Candidate transmembrane domains were selected on the basis of their average hydrophobicity <H>, and were classified as certain ( <H> 1.0) or putative (0.6 , <H> <1).

[0169]

The best topology for the protein was predicted on the basis of three different criteria: a) the net charge difference between the 15 N-terminal and the 15 C-terminal residues flanking the most N-terminal transmembrane segment (Hartmann et al., 1989); b) the difference in positively charged residues between the two sides of the membrane in loops smaller than 60 residues, and c) the analysis of the overall amino acid composition of loops longer than 60 residues by the compositional distance method (Nakashima et al., 1992). Using the above criteria the TopPred II program (Sipos wt al., 1993) calculated all the possible topologies of the proteins including the certain transmembrane segments and either included or excluded each of the putative segments to determine the most likely structure. PKDl Protein Purification

[0170]

The PKDl protein may be purified according to conventional protein purification procedures well known in the art. Alternatively, the protein may be purified from cells harboring a plasmid containing an expressible PKDl gene. For example, the protein may be expressed in an E.coli expression system and purified as follows. Cells are grown in a 10 liter volume in a Chemap Fermentor (Chemapec, Woodbury, NY) in 2% medium. Fermentation temperature may be 37'C, pH 6.8, and air as provided at 1 wm. Plasmid selection may be provided using ampicillin for a plasmid containing an ampicillin resistance gene. Typical yield (wet weight) is 30 g/1.

[0171]

For cell lysis, 50g wet cell weight of E.coli containing the recombinant PKDl plasmid may be resuspended in a final volume of 100ml in 50 mM Tris-HCl pH 8.0, 5 M EDTA, 5mM DTT, 15 mM mercaptoethanol, 0.5% triton X-100, and 5 mM PMSF. 300 mg lysozyme is added to the suspension, and incubated for 30 min at room temperature. The material is then lyzed using a BEAD BEATER (R) (Biospec Products, Bartlesville, OK) containing an equal volume of 0.1-0.15 urn glass beads. The liquid is separated from the beads and the supernatant removed, the pellet dissolved in 20 mM Tris-Cl pH 8.0.

[0172]

The protein may be purified from the supernatant using DEAE chromatography, as is well known in the art. Preparation of Antibodies.

[0173]

Antibodies specific for PDK1 protein or a fragment thereof are prepared as follows. A peptide corresponding to at least 8 amino acid residues of the PKDl sequence of Fig. 15, are synthesized. Coupling of the peptide to carrier protein and immunizations is performed as described (Dymecki, S.M., J. Biol. Chem 267:4815-4823, 1992). Rabbit antibodies against this peptide are raised and sera are titered against peptide antigen by ELISA. The sera exhibiting the highest titer (1:27,000) are most useful.

[0174]

Techniques for preparing monoclonal antibodies are well known, and monoclonal antibodies of this invention may be prepared by using the synthetic polypeptides of this invention, preferably bound to a carrier, as the immunogen as was done by Arnheiter et al., Nature, 294, 278-280 (1981).

[0175]

Monoclonal antibodies are typically obtained from hvbridoma tissue cultures or from ascites fluid obtained from animals into which the hybridoma tissue was introduced. Nevertheless, monoclonal antibodies may be described as being "raised to" or "induced by" the synthetic polypeptides of this invention or their conjugates with a carrier.

[0176]

Antibodies are utilized along with an "indicating group" also sometimes referred to as a "label". The indicating group or label is utilized in conjunction with the antibody as a means for determining whether an immune reaction has taken place, and in some instances for determining the extent of such a reaction. The indicating group may be a single atom as in the case of radioactive elements such as iodine 125 or 131, hydrogen 3 or sulfur 35, or NMR-active elements such as fluorine 19 or nitrogen 15. The indicating group may also be a molecule such as a fluorescent dye like fluorescein, or an enzyme, such as horseradish peroxidase (HRP), or the like.

[0177]

The terms "indicating group" or "label" are used herein to include single atoms and molecules that are linked to the antibody or used separately, and whether those atoms or molecules are used alone or in conjunction with additional reagents. Such indicating groups or labels are themselves well-known in immunochemistry and constitute a part of this invention only insofar as they are utilized with otherwise novel antibodies, methods and/or systems.

[0178]

Detection of PKDl and Subcellular Localization.

[0179]

Another embodiment of this invention relates to an assay for the presence of PKDl protein in cells. Here, an above-described antibody is raised and harvested. The antibody or idiotype-containing polyamide portion thereof is then admixed with candidate tissue and an indicating group. The presence of the naturally occurring amino acid sequence is ascertained by the formation of an immune reaction as signaled by the indicating group. Candidate tissues include any tissue or cell line or bodily fluid to be tested for the presence of PKDl.

[0180]

Metabolic labeling immunoprecipitation. and immunolocalization assays are performed in cells as described previously (Furth, M.E., et al., Oncogene 1:47-58, 1987; Laemmli, U.K., Nature 227:680-685, 1970; Yarden, Y. , et al., EMBO J. 6:3341-3351, 1987; Konopka, J.B., et al., Mol. Cell. Biol. 5:3116-3123, 1985). For immunoblot analysis, total lysates are prepared (using Fruth's lysis buffer) (Fruth, M.E., et al., Oncogene, 1:47-58, 1987). Relative protein concentrations are determined with a colorimetric assay kit (Bio-Rad) with bovine serum albumin as the standard. A protein of lysate containing approximately 0.05 mg of protein is mixed with an equal volume of 2 x SDS sample buffer containing 2 mercaptoethanol, boiled for 5 min., fractioned on 10% polyacrylamide-SDS gels (Konopka, J.B., et al., J.Virol., 51:223-232, 1984) and transferred to immunobilon polyvinyldine difluoride (Millipore Corp., Bedford, MA) filters. Protein blots are treated with specific antipeptide antibodies (see below). Primary binding of the PKDl-specific antibodies is detected using anti-igG second antibodies conjugated to horseradish peroxidase and subsequent chemiluminescence development ECL Western blotting system (Amersham International).

[0181]

For metabolic labeling, 106 cells are labeled with 100 μCi of35S-methionine in 1 ml of Dulbecco's modified Eagles medium minus methionine (Amersham Corp.) for 16h. Immunoprecipitation of PKDl protein from labeled cells with antipeptide antiserum is performed as described (Dymecki, S.M., et al., supra). Portions of lysates containing 107 cpm of acid-insoluble35S-methionine are incubated with 1 μg of the antiserum in 0.5 ml of reaction mixture. Immunoprecipitation samples are analyzed by SDS- polylarcylamide gel electrophoresis and autoradiography.

[0182]

For immunolocalization studies, 107 CMK cells are resuspended in 1 ml of sonication buffer ( 60mM Tris-HCl, pH 7.5, 6 mM EDTA, 15 mM EGTA, 0.75M sucrose, 0.03% leupeptin 12mM phenylmethylsulfonyl fluoride, 30 mM 2- mercaptoethanol) . Cells are sonicated 6 times for 10 seconds each and centrifuged at 25,000 xg for 10 min at 4°C. The pellet is dissolved in 1 ml of sonication buffer and centrifuged at 25,000 x g for 10 min at 4°C.

[0183]

The pellet (nucleus fraction) is resuspended in 1 ml of sonication buffer and added to an equal volume of 2 x SDS sample buffer. The supernatant obtained above (after the first sonication) is again centrifuged at 100,000 x g for 40 min at 4°C. The supernatant (cytosolic fraction) is removed and added to an equal volume of 2 x concentrated SDS sample buffer. The remaining pellet (membrane fraction) is washed and dissolved in sonication buffer and SDS sample buffer as described above. Protein samples are analyzed by electrophoresis on 10% polyacrylamide gels, according to the Laemmli method (Konopka, J.B., supra). The proteins are transferred from the gels on a 0.45-μm polyvinylidine difluoride membrane for subsequent immunoblot analysis. Primary binding of the PKDl specific antibodies is detected using anti-igG second antibodies conjugated to horseradish peroxidase.

[0184]

For immunohistochemical localization of PKDl protein, CMK cells or U3T3 are grown on cover slips to approximately 50% confluence and are washed with PBS (pH 7.4) after removing the medium. The cells are prefixed for 1 min at 37°C in 1% paraformaldehyde containing 0.075% Triton X-100, rinsed with PBS and then fixed for 10 min with 4% paraformaldehyde. After the fixation step, cells are rinsed in PBS, quenched in PBS with o.l and finally rinsed again in PBS. For antibody staining, the cells are first blocked with a blocking solution (3% bovine serum albumin in PBS) and incubated for 1 h at 37°C. The cells are then incubated for 1 h at 37°C with antiserum (1:100 dilution or with preimmune rabbit serum ( 1:100) . After the incubation with the primary antibody, the cells are washed in PBS containing 3% bovine and serum albumin and 0.1% Tween 20 and incubated for 1 h at 37 C in fluorescein-conjugated donkey anti-rabbit IgGs (Jackson Immunoresearch, Maine) diluted 1:100 in blocking solution.

[0185]

The coverslips are washed in PBS (pH 8.0), and glycerol is added to each coverslip before mounting on glass slides and sealing with clear nail polish. All glass slides are examined with a Zeiss Axiophot microscope.

[0186]

An indicating group or label is preferably supplied along with the antibody and may be packaged therewith or packaged separately. Additional reagents such as hydrogen peroxide and diaminobenzideine may also be included in the system when an indicating group such as HRP is utilized. Such materials are readily available in commerce, as are many indicating groups, and need not be supplied along with the diagnostic system. In addition, some reagents such as hydrogen peroxide decompose on standing, or are otherwise short-lived like some radioactive elements, and are better supplied by the end-user. Pharmaceutical Compositions of the Invention; Dosage and Administration

[0187]

Pharmaceutical formulations comprising PKDl nucleic acid or protein, or mutants thereof, can be prepared by procedures well known in the art. For example, as injectables, e.g., liquid solutions or suspensions. Solid forms for solution in, or suspension in, a liquid prior to injection also can be prepared. Optionally, the preparation also can be emulsified. The active ingredient can be mixed with excipients which are pharmaceutically acceptable and compatible with the active ingredient. For example, water, saline, dextrose, glycerol, ethanol, etc. or combinations thereof. Also useful are wetting or emulsifying agenrs, pH buffering agents or adjuvants. PKDl protein or DNA can be administered parenterally, by injection, for example, either subcutaneously or intramuscularly. Additional formulations which are suitable for other modes of administration include suppositories and, in some cases, oral formulations. In each case, the active protein or the nucleic acid will be present in the range of about 0.05% to about 10%, preferably in ther ange of about 1-2% by weight. Alternatively, the active protein or the nucleic acid will be administered at a dosage of about 10mg-2kg/kg body weight, preferably 50mg- 400mg/kg/body weight. Administration may be daily, weekly, or in a single dosage, as determined by the physician.

[0188]

OTHER EMBODIMENTS

[0189]

Other embodiments will be evident to those of skill in the art. It should be understood that the foregoing detailed description is provided for clarity only and is merely exemplary. The spirit and scope of the present invention are not limited thereto, being defined by the claims set forth below.

[0190]

REFERENCES

[0191]

Aksentijevich et al.. Am. J. Hum. Genet. 53:451-461, (1993).

[0192]

Altschul et al. , J. Mol. Biol. 215:403-410, (1990).

[0193]

Bevilacqua, M.P., et al.. Science 243:1160-1165, (1989). Bork et al., Protein Science 2:1185-1187, (1993).

[0194]

Breuning et al. , Lancet ii, 1359-1361, (1987).

[0195]

Breuning et al . , J. Med. Genet. 27:603-613, (1990).

[0196]

Brook-Carter et al. , Nature Genetics 8:328-332, (1994).

[0197]

Brown et al., Nucl. Acids Res. 18:4191-4195, (1990). Brummendorf, T., et al. , Protein Profile 1:951-1058, (1994).

[0198]

Buckle et al. , Human Genetic Disease Analysis; IRL Press

[0199]

(K.E. Davies, Ed. ) 2:59-82. Oxford, (1993).

[0200]

Carone, F.A. , et al. , Laboratory Investigations 70:437-448,

[0201]

( 1994). Carone, F.A. , et al.. Kidney International 47:861-868,

[0202]

( 1995).

[0203]

Calvet. J.P., Kidney International 43:101-108, (1993).

[0204]

Chapman eτ al. , N. Eng. J. Med. 227:916-920, (1992).

[0205]

Chao. M.V., Neuron 9:583-593, (1992). Chomczynski et al.. Anal. Biochem. 162:156-159, (1987).

[0206]

Curtis et al. , Proc. of the Nat' 1. Acad. of Sci., USA

[0207]

89:8356-8360, (1992).

[0208]

Dalgaard, O.Z., Acta Medica Scandinavica 158:1-251, (1957).

[0209]

Daoust, M.C., et al. , Genomics 25:733-736, (1995). Davies et al. , Q.J. Med. 79:477-485, (1991).

[0210]

Deisseroth et al., Proc. Narl . Acad. Sci. USA 76:2185-2189,

[0211]

( 1979 ) .

[0212]

Dode et al., Brit. J. Haemat. 76:275-281, (1990). Drickamer, K., Kidney Int'1. 32:167-180, (1987).

[0213]

Drickamer, K. , J. Biol. Chem. 263:9557-9560, (1988).

[0214]

Ekblom, P., FASEB Journal 3:2141-2150, (1989).

[0215]

Engelman et al., Ann. Rev. Bioph. Chem. 15:321-353, (1986). European Polycystic Kidney Disease Consortium, Cell 77:881-

[0216]

894, (1994).

[0217]

European Chromosome 16 Tuberous Sclerosis Consortium, Cell

[0218]

75:1305- 1315, (1993).

[0219]

Fink et al., J. Amer. Soc. Nephrology 3:1863-1870, (1993). Fink et al., Kidney Int. 45:1153-1162, (1994).

[0220]

Fronman et al. , Biochemistry 85:8998-9002, (1988).

[0221]

Gabow, P.A., Kidney Int. 40:989-996, (1991).

[0222]

Gabow, P.A., N.E. J. of Medicine 329:332-342, (1993).

[0223]

Gabow, P.A., Amer. J. of Kidney Diseases 16:403-413, (1990). Germino et al.. Am. J. Hum. Genet. 46:925-933, (1990).

[0224]

Germino et al., Genomics 13:144-151, (1992).

[0225]

Gower, H.J., et al., Cell 55:955-964, (1988).

[0226]

Green et al. , Nature Genet. 6:193-196, (1994).

[0227]

Harpaz, Y. , et al., J. of the Mol. Biol. 238:528-539 (1994). Harris et al., Genomics 7:195-206, (1990).

[0228]

Harris et al., Lancet 338:1484-1487, (1991).

[0229]

Hartmann et al. , Proc. Nat'l. Acad. Sci. USA 86:5786-5790,

[0230]

(1989).

[0231]

Henikoff, S., Gene 28:351-359, (1984). Himmelbauer et al. , Amer. J. Human Genetics 48:325-334,

[0232]

(1991).

[0233]

Hossack et al. , N. Eng. J. Med. 319:907-912, (1988).

[0234]

Huston et al. , J. Amer. Soc. of Nephrology 3:1871-1877, ( 1993 ) .

[0235]

Hyland et al. , Hum. Genet. 84:286-288, (1990).

[0236]

Jia, R., et al., J. of Biol. Chem. 269:1839-1844 (1994).

[0237]

Jones, E.Y., et al., Nature 373:539-544, (1995). Keen et al. , Trend Genet. 7:5, (1991).

[0238]

Kimberly, W.J., et al. , Genomics 18:467-472, (1993).

[0239]

Kimberling et al. , N. Eng. J. Med. 319:913-918, (1988).

[0240]

Kobe et al.. Trends in Bioch. Sci. 19:415-421, (1994).

[0241]

Kornblihtt, A.R., et al., EMBO Journal 4:1755-1759, (1985). Kozak, M., Nucleic Acids Res. 15:8125-8148, (1987).

[0242]

Kuma et al. , Mol. Biol. and Evolution 10:539-551, (1993).

[0243]

Kwon, B.S., et al. , Proc. of the Nat'l. Acad. of Sci., USA

[0244]

88:9228- 9232, (1991).

[0245]

Lamballe et al., Cell 66:967-979, (1991). Legius et al., Nature Genet. 3:122-126, (1993).

[0246]

Love et al.. Nature 339:55-58, (1989).

[0247]

Mandel, J-L, Nature Genetics 4:8-9.

[0248]

Matsushita, 0., et al., Journal of Bacteriology 176:149-156, (1994). McFarland, K.C., et al., Science 245:494-499, (1989).

[0249]

Melton et al., Nuc. Acid Res. 12:7035-7056.

[0250]

Milutinovic, J., et al., Amer. J. of Med. 68:741-744,

[0251]

(1980) .

[0252]

Milutinovic, J. , et al. , Amer. J. of Clin. Path. 73: 740- 747, (1979).

[0253]

Nakashima et al. , FEBS Letters 303:141-146, (1992).

[0254]

Oldberg, et al. , EMBO J. 8:2601-2604, (1989).

[0255]

Oldberg et al. , Biochemical J. 243:255-259, (1987). Parfrey et al. , N. Eng. J. Med. 323:1085-1090, (1990).

[0256]

Pearson et al., Proc. Nat'1 Acad. Sci. USA 85:2444-2448,

[0257]

(1988).

[0258]

Peral et al., Am. J. Hum. Genet. 54:899-908. Peral et al. , Human Molecular Genetics (in press), (1995).

[0259]

Peters, D.J.M., et al. , Nature Genetics 5:359-362, (1993).

[0260]

Peters, D.J.M., et al., Contribuτions to Nephrology:

[0261]

Polychystic Kidney Disease (eds. Breuning, M.H.,

[0262]

Devoto, M. & Romeo, G), p. 128-139 (1992). Pound et al., J. Med. Genet. 29:247-248, (1992).

[0263]

Ravine et al., Lancet 337:127-129, (1991).

[0264]

Ravine D. , et al. , Lancer 340:1330-1333, (1992).

[0265]

Reeders, S.T., Nature Genet. 1:235-237, (1992).

[0266]

Reeders et al., Lancet i, 6-8, (1986). Reeders et al., Nature 317:542-544, (1985).

[0267]

Reeders et al., Genomics 3:150-155. (1988).

[0268]

Romeo et al. , Lancet ii, 8-10, -'1988).

[0269]

Roth, G.J., Blood 77:5-19, (1991).

[0270]

Rothberg et al., Genes and Development 4:2169-2187, (1990). Royle et al. , Nucl. Acids Res. 20:1164, (1992).

[0271]

Ryynanen et al. , J. Med. Genet. 24:462-465, (1987).

[0272]

Ξchafer, K. , et al. , Kidney International 46:134-152,

[0273]

( 1994).

[0274]

Scheff et al. , Ann. Intern. Med. 92:202-204, (1980). Sipos et al. , European J. Biochemistry 213:1333-1340,

[0275]

( 1993).

[0276]

Snarey et al. , Am. J. Hum. Genet, (in press), (1994). Somlo et al., Genomics 13:152-158. (1992).

[0277]

Somlo, S., et al. , J. of the Amer. Soc. of Nephrology 4:

[0278]

1371-1378, (1993).

[0279]

Streuli. M. , et al. , Journal of Experimental Medicine 168:1523- 1530, (1988).

[0280]

Takagi et al. , J. Bioch. Chem. 265:19721-19727, (1990).

[0281]

Taylor, M.E., et al. , J. of Biol. Chem. 265:12156-12162,

[0282]

(1990).

[0283]

Thompson et al., Genomics 13:402-408, (1992). Volkmer H., et al. , Journal of Cell Biology 118:149-161,

[0284]

( 1992). von Heijne, G. , Nuc. Acids Res. 14:4683-4691, (1986).

[0285]

Wieringa, B., et al., Cell 37:915-925, (1984).

[0286]

Weis et al., Nature 360:127-134, (1992). Williams, A.F., et al. , Annual Review of Immunology 6:381-

[0287]

405 (1988).

[0288]

Wilson, P.D., et al.. Kidney International 39:450-463,

[0289]

( 1991).

[0290]

Wright et al. , PCR Protocols: A Guide to Methods and Applications, 153-166, (1990).

[0291]

Zerres et al. , J. Med. Genet. 30:583-588, (1993).

Как компенсировать расходы
на инновационную разработку
Похожие патенты