заявка
№ WO 1990014537
МПК F16K1/36

CHECK VALVE

Авторы:
KRÄMER, Günter
Номер заявки
DE9000352
Дата подачи заявки
14.05.1990
Опубликовано
29.11.1990
Страна
WO
Дата приоритета
15.12.2025
Номер приоритета
Страна приоритета
Как управлять
интеллектуальной собственностью
Чертежи 
2
Реферат

[11]

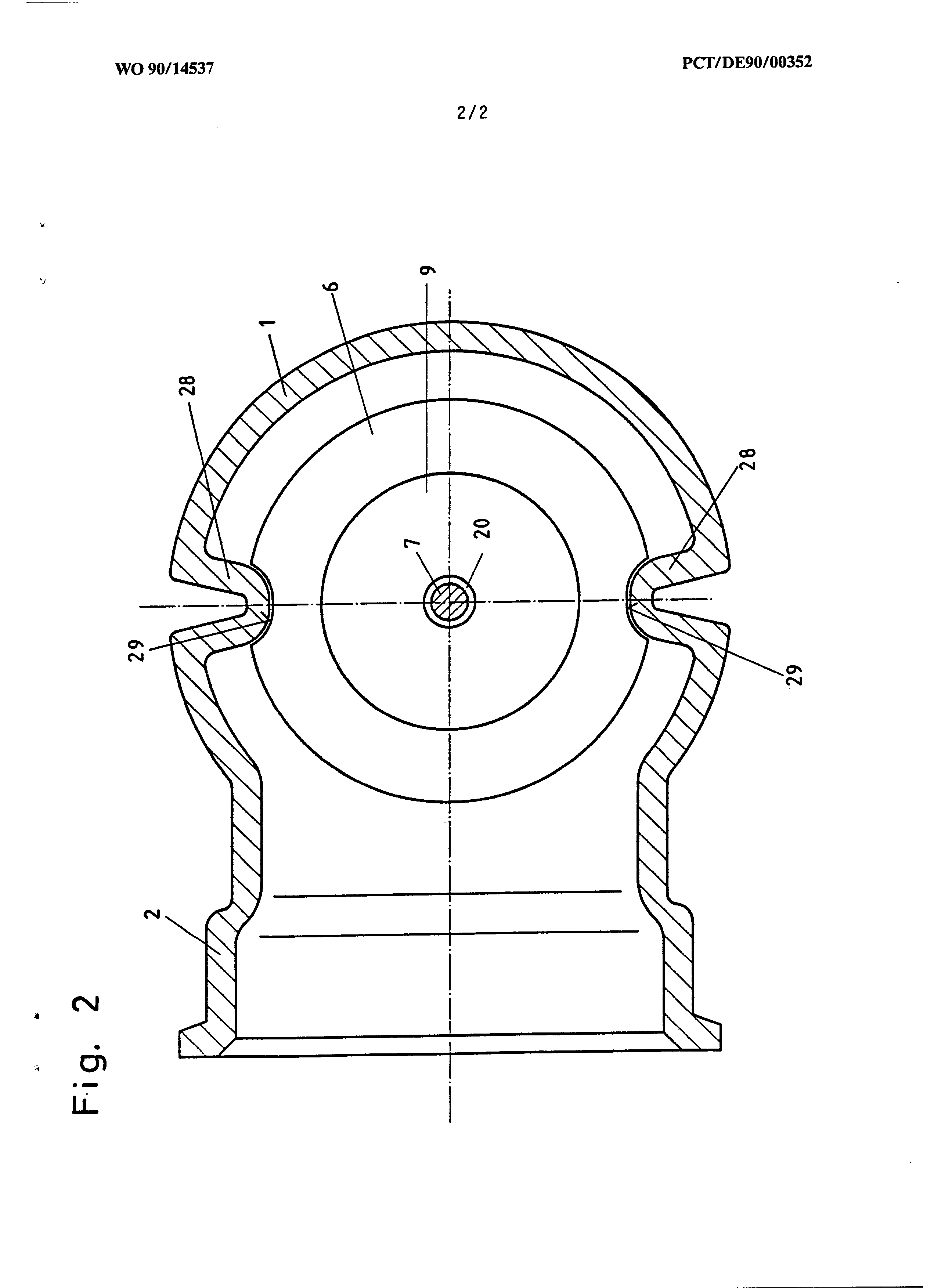
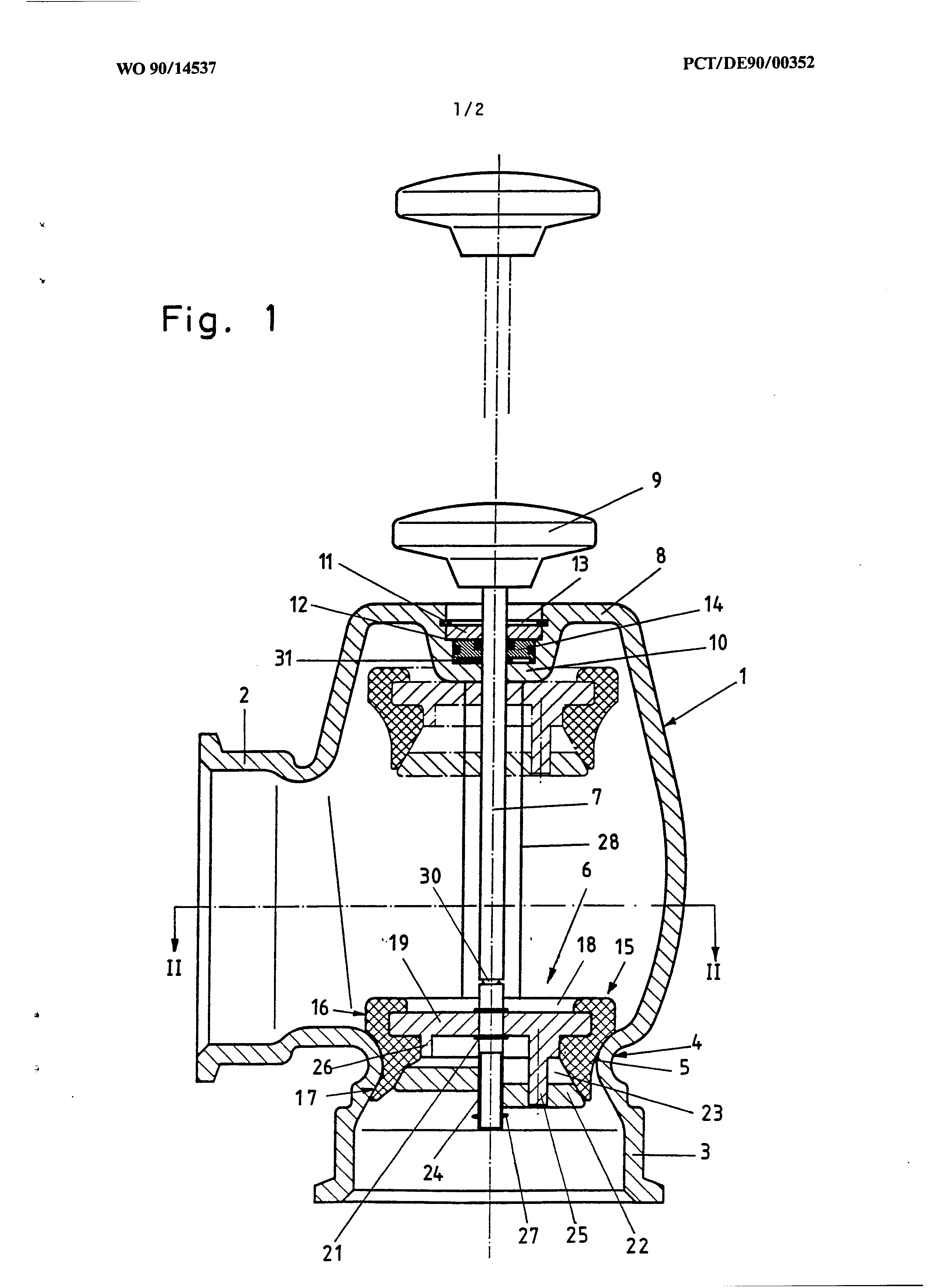
A check valve comprises a housing (1) on which at least two connecting sleeves (2, 3) are provided, at least one valve seat (4) arranged in one of the connecting sleeves (3), and a valve body (6) which co-operates with the valve seat and wich can be externally actuated by a control element (7). The check valve is to be versatile, so that pressure can be applied to it on both sides for example. To this end, the valve seat (4) has at least two seating surfaces arranged on opposite sides of its narrowest cross-section (5), while the valve body (6) has at least two sealing surfaces which surround and co-operate with the seating surfaces of the valve seat (4). One sealing surface of the valve body (6) has a predetermined diameter which is greater than the narrowest cross-section (5) of the valve seat (4), while the second sealing surface is expandable; when unexpanded, its diameter is less than the narrowest cross-section (5) of the valve seat (4) and when expandedm its diameter is greater than the narrowest cross-section of the valve seat (4).

[12]

[13]

Формула изобретения

Описание

Как компенсировать расходы
на инновационную разработку
Похожие патенты