заявка
№ US 20240148092
МПК A41G3/00

FLEXIBLE HAIR PIECE AND METHOD OF MANUFACTURING

Авторы:
ALLISON OMBRES
Номер заявки
18414179
Дата подачи заявки
16.01.2024
Опубликовано
09.05.2024
Страна
US
Как управлять
интеллектуальной собственностью
Реферат

[0000]

A flexible partial or full wig cap for attachment of hair fibers to form a wig that is made of multiple panels sized and shaped to match the contours of a wearer's skull. The panels are made of a stretchable material which provides the wearer with a wig that eliminates itchy seams, reduces bulk, increases breathability, and reduces chafing to enhance the comfort and performance of the cranial prosthesis.

[00000]

Формула изобретения

1. A wig cap for use with hair fibers to form a wig, comprising:

a center back panel of stretchable material;

a right side panel of stretchable material that is joined to a first side of the center back panel using a flatlock stitched seam and stretchable thread;

a left side panel of stretchable material that is joined to a second side opposite the first side of the center back panel using a flatlock stitched seam and stretchable thread; and

a center front panel that is joined to the right side panel, left side panel and center back panels using stretchable threads using flatlock stitched seams;

wherein the wig cap is stretchable and tailored to planes and curves of a human skull.

2. The wig cap of claim 1, further comprising a front panel that is joined to the center front panel, the right side panel and the left side panel using a flatlock stitched seam and stretchable thread.

3. The wig cap of claim 2, wherein the front panel is a silicone material.

4. The wig cap of claim 2 further comprising a lace edging on an edge opposite to the edge joined to the center front panel.

5. The wig cap of claim 2, wherein the front panel further comprises bendable stays.

6. The wig cap of claim 1, further comprising a nape panel that is joined to the center back panel, the right side panel and the left side panel using a flatlock stitched seam and stretchable thread.

7. The wig cap of claim 6, wherein the nape panel is a silicone material.

8. The wig cap of claim 6, further comprising elastic tape on an edge opposite to the edge joined to the center back panel.

9. The wig cap of claim 6, wherein the nape panel further comprises bendable stays.

10. The wig cap of claim 1, wherein the stretchable material is mesh material comprising spandex.

11. The wig cap of claim 1, further comprising a headband of a stretchable material attached around a circumference of the cap using a flatlock stitched seam and stretchable thread.

Описание

RELATED APPLICATIONS

[0001]

This application is a Continuation-In-Part of U.S. patent application Ser. No. 17/406,856 filed Aug. 19, 2021; which claims priority to U.S. Provisional Patent Application No. 63/067,684 filed Aug. 19, 2020; both of which are incorporated by reference in their entirety.

BACKGROUND

[0002]

Women with hair loss who want to exercise with hair have few options: 1) a full normal wig, 2) a headband wig, 3) a bandfall wig also known as a ponytail wig, 4) a silicone wig, or 5) a vacuum wig. Each of these options presents problems. None of these options were designed to be used for exercise. None of the designs in the options listed have changed or improved since the 1960s. All of these options are itchy, bulky, hot, and unsecure. Women resort to wearing them because there are no other options for them to choose from.

[0003]

1) Itchy, Poorly Sized: Headband wigs have recently become popular. They tend to be inexpensive but no innovations or design changes have been made to the full normal wig. The wig cap is open meaning the skull is exposed to the outer elements of the wig; basically, this is an unfinished wig. The open design means hair/fiber can easily come inside the cap which is extremely itchy making it very uncomfortable for the user to wear. The cap is in general is made of elastic nylon strips and the hair is attached to the cap in the form of wefts. The elastic nylon strips are not soft or breathable, and the wefts are often bulky, itchy and hot. As a result, this wig doesn't solve any of the problems that women are having when trying to exercise while wearing a wig—they are hot, itchy, and fit poorly. In addition, most headband wigs are not sized well, so they do not cup the back of head correctly, therefore the wig slips and moves around on the user's head. Most of these wigs have a hook-and-loop tape band that straps around a portion of the user's head, and then the user has to wear a separate headband on top. They are often painful, itchy, bulky, and hot to wear, and women have a hard time getting them to stay on.

[0004]

3) Must be worn up: A bandfall wig, also known as a Ponytail wig, features a hook-and-loop tape band or thick band, and the user wears a separate headband to change the look. The hair is attached to cap with wefts in a circle design. When the wefts are sewn in a circle the hair cannot be worn down, the hair must always be part in a ponytail, top bun, etc. If it is worn down, the hair does not hang right and looks unnatural. The only innovation in wig design that the Ponytail wig made was sewing the hair in the form of a circle instead of horizontally. As a result, the Ponytail wig also doesn't solve any of the problems that women are having—hot, itchy, and wigs that fit poorly.

[0005]

4) Silicone/Gripper wigs slip off. Silicone/Gripper wigs are marketed to women with hair loss as the ultimate athletic wig solution, and they are extremely expensive. These wigs are lined with medical-grade silicone so they grip the head but they have performance issues where sweat causes the silicone cap to become slippery so that the wig slips. For a silicone wig to be secured correctly, it must fit the user's head extremely well; otherwise, it won't be able to grip the head correctly. Fit is often an issue, particularly for wearers with head shapes or sizes that are not close to the standard sizes available.

[0006]

5) Vacuum wigs often don't feel secure and are extremely hot to wear. Vacuum wigs are similar to silicone wigs. Vacuum wigs are 100% custom—a mold is taken of the user's head so that it fits perfectly; however, it is often very hard to get these wigs to secure correctly because they often don't fit right. These wigs are made with thin polyurethane, which is a plastic material so these wigs are not breathable at all; they are extremely hard to wear in the summer or during exercise. Wearing a vacuum wig feels like wearing a helmet.

[0007]

Full wig doesn't feel secure: Many women with hair loss wear headbands to secure their normal full wigs, which are too big. Women also use headbands to hide a lace front that looks fake. However, because the headband is not connected to the wig cap it does not help retain the wig in place so security or fear of it falling off is still a concern. The solution also doesn't solve the various problems mentioned above—wigs are hot, itchy, poorly sized.

[0008]

In addition to the lack of good options for exercise wigs, there are additional problems with all wigs.

[0009]

No Interior Liner: in general, wigs are uncomfortable because they do not have an interior layer or inside liner. Wigs caps are made with bulky, often itchy “lace” and elastic bands, “Lace band tape,” or “mono tape.” These materials are scratchy and lack breathability. More importantly, when a hair is attached to the cap, the knot leaves a hump, causing the wig to feel like sand paper against the wearers soft, sensitive scalp. Because the majority of wigs do not have an inside liner, which could act as a buffer against the itchy material, the wig is extremely itchy. The few that do have interior liners often use silk, which isn't breathable, and makes the wig very hot.

[0010]

Bulky, Itchy Seams: In general, most wigs have bulky, raised seams. Mono tape, which has no stretch, is incased and folded over to enclose the connecting pieces, which keeps the sections/parts of the wig from stretching or moving. This method creates bulky, raised seams that rub the scalp throughout the day so the users scalp is irritated and itchy while wearing it.

[0011]

No Flexibility, Restricting Movement: In general, the joining pieces/parts of the wig are connected or attached using a straight stitch or a zigzag stitch. Although zig zag stitches have some stretch because mono tape is encased, the seams have no flexibility or movement, resulting in seams that can easily snap or break, making the wig feel very stiff. There are around 1,000 nerve endings per square centimeter on the human head so the scalp is very sensitive. In addition, the head, like the rest of our body, moves so when the wig is stiff, it restricts the natural movement the user needs to be comfortable.

[0012]

Wigs are poorly sized. In general, wigs are poorly sized. Upwards of over 80% of wigs are made to fit an “average” size head. Hands down, the biggest fear, concern, and issue women have with wigs is fit. The shape and circumference of the head is small compared to most garments. A difference of ¼″ can literally make a huge difference—it can make a wig fit too tightly giving the wearer tension headaches, or it can make the wig fit too big making the wearer constantly worried that their wig is going to fall off. Manufacturers and wig sellers don't seem to think this matters but it does. Women have to wear and do all kinds of things “under” the wig just to make it stay on; often these things add heat, bulk, and cause scalp sensitivity.

[0013]

Wigs without ear tabs or strong metal stays. The main way that a wig stays on the head is through two anchors 1) ear tabs; 2) nape. In these sections, “stays” are used to help cup the wig preventing it from moving and sliding. This is a crucial part to making the wig function the way it should. Without it means that the user must use adhesive to secure the wig in place. One of the latest trends wig brands are doing is forgoing making the wig with this function; basically, the wig doesn't have what it needs to function. In addition, if the wig does have ear tabs, the quality of the “stay” isn't great. A “stay” is a bendable piece of plastic or metal commonly used in men's collars or nose bridges in eyeglasses. Almost all stays in wigs are made of cheap plastic. The whole concept of the stay is that when they are bent, they cup or anchor the wig, preventing it from shifting or moving. The plastic stays don't stay bent so they do not provide the necessary and fundamental function that the wig needs to perform or stay on throughout the day.

[0014]

Modern wigs today have not evolved since the 1960s because wig manufacturers and the wig brands don't need to make changes to sell wigs. In short, wig wearers have no options. They need the product and they wear several different kinds of “wig accessories” under the wig just to make it work. Products like the wig grip, adhesive, and wig liners are used just so wig wearers can feel secure and comfortable in the wig. Some people, especially women, prefer to appear in public bald rather than wear a wig.

[0015]

A strong need exists for women to have a modernized wig or cranial prosthesis compared to the traditional wigs of today. The wig industry as a whole (both manufacturing and alternative hair brands) has not improved on the innovation of wigs since the 1960s. Women are hot, itchy, and don't feel secure in wigs, so they must wear “wig accessories” or use adhesive under the wig to make the wig useable/wearable. This causes extreme discomfort in the form of excess heat, tension headaches, and extreme scalp irritation in the form of welts. Some users with nerve sensory distribution caused by chemo or other medical reasons simply cannot handle how uncomfortable the wig is and resort to wearing chemo caps or other headwear. Traditional wigs do not provide the user with the secure fit they need to feel confident during the day—many women consistently worry their wig is going to fly off so they have to wear “wig grips or use adhesive” in order to secure a wig down. Wigs of today lack the fundamental basic designs that the wearer needs to feel confident and comfortable during the day. The fundamental basics are: soft, breathable materials, adequately sized caps (shapes and sizes), durable metal stays, seamless seams, etc.

SUMMARY OF THE EMBODIMENTS

[0016]

A flexible hair piece is double-lined with a spandex power mesh material and uses technical athletic techniques, such as flat lock seams, stretchable thread, and removes the commonly used bulky, itchy mono taped casing. This seamless experience eliminates itchy seams, reduces bulk, improves breathability, and stops chafing. This makes the cranial prosthesis or wig more comfortable and effective.

[0017]

The flexible wig enhances the comfort of the user because of the combination of specifically chosen shapes, materials, and techniques used to connect them to make a wig cap/base, which provides the user with a seamless, barely there, or second skin experience, unlike most wigs, which are bulky, hot, itchy, and fit poorly.

[0018]

In a first aspect, a wig (full wig or partial wig, used for exercise or just modern everyday life) incorporates technical athletic designs to make the wig cap, which eliminates bulk, itchy seams, reduces chafing, and provides the user with secure, breathable, comfortable wig for modern everyday life.

[0019]

In a second aspect, a wig is designed to be fully complete wig or a partial wig made to be attached to different types of head gear (headbands, hats, etc) in a way that is comfortable, flexible, and secure.

[0020]

In third aspect, a partial wig is attached to a headband. To help secure the wig to the head without the need for tape or other accessories. Clear elastic tape is added to help prevent the headband from overstretching, which creates a cupping effect and eliminates the need for other security elements like the pull cord, wig grips, or other adhesives used to secure wigs onto the head.

BRIEF DESCRIPTION OF THE FIGURES

[0021]

FIG. 1 is a side view of a workout/gym/sport/fitness wig worn by a user, in embodiments.

[0022]

FIG. 2 is a side view of the inside of a partial wig cap or hairpiece 106 for the workout/gym/sport/fitness wig, in embodiments.

[0023]

FIGS. 3A and 3B are back views of the inside of the original version of a completed workout/gym/sport/fitness wig of FIG. 1, in embodiments.

[0024]

FIG. 4A is a front or top perspective view of the inside of the original version of a completed workout/gym/sport/fitness wig of FIG. 1, in embodiments.

[0025]

FIG. 4B is a side perspective of the inside of the original version of a completed workout/gym/sport/fitness wig of FIG. 1, in embodiments.

[0026]

FIGS. 5-12 illustrates how the headband is created and attached to the wig cap of FIG. 2 used to make the original version of a completed workout/gym/sport/fitness wig of FIG. 1 during assembly, in embodiments.

[0027]

FIG. 13 the updated version of a completed workout/gym/sport/fitness wig is an inside view of a cap having multiple panels that are joined using flatlock seams, stretchable threads, and the removal of bulky, itchy, seams in embodiments.

[0028]

FIG. 14 the updated version of of a completed workout/gym/sport/fitness wig is a side exterior view of the cap of FIG. 13.

[0029]

FIGS. 15A and 15B are schematic diagram illustrating panels of the workout/gym/sport/fitness wig including an updated headband of FIG. 13.

[0030]

FIG. 16 is a schematic diagram of set of pattern panels that may be assembled to form a full wig cap, in embodiments.

[0031]

FIG. 17A shows a front view of an assembled wig cap of FIG. 16, in embodiments.

[0032]

FIG. 17B shows a top view of an assembled wig cap of FIG. 16, in embodiments.

[0033]

FIG. 17C shows a side view of an assembled wig cap of FIG. 16, in embodiments.

[0034]

FIG. 17D shows a back view of an assembled wig cap of FIG. 16, in embodiments.

DETAILED DESCRIPTION OF THE EMBODIMENTS

[0035]

Wigs include two main components, 1) a base or wig cap that mimics the shape of the wearer's head or the skull, and 2) hair/fibers. Fibers may be made from human hair or synthetic fibers (made of plastic, nylon, acrylic—such as acrylic, polyester, polyvinyl chloride (PVC), and Kanekalon®, modacrylic). The fibers are attached to the base or wig cap using two methods.

[0036]

The first method is hand tied wigs, which means each hair strand is hand tied or hand-knotted and attached to the wig cap. There are dozens of different hand tied knotting techniques used to attach the hair to the wig cap. Hand tied wigs are often lighter and more realistic but the improvements stop there. The wig industry only makes wigs with one of the three materials: French, Swiss, or monofilament. These materials are scratchy and lack breathability, and more importantly, when a hair is attached to the cap, the knot leaves a bump, causing the wig to honestly feel like sandpaper against the wearers soft, sensitive scalp.

[0037]

The second method is machine-made wigs, also known as wefted wigs. The fiber is 1st sewn, using a sewing machine, to “tape or ribbon” often made of silk, or nylon, which has no stretch and is often bulky and heavy. The wefts are then machine-sewn and attached to the wig cap either 1) horizontally (most common) 2) in a circle (these types of wigs must be worn up in a ponytail because the hair be positioned to lay flat or down like normal hair. The amount of wefts used in a wig varies greatly—some wigs are a 100% wefted, some wig only have wefts in the back and side (bottom half of the wig), and some wig only have a few wefts at the very bottom or nape of the wig. Regardless of the amount of wefts used or the method, one point remains: wefts are not flexible, lack breathability, and are bulky.

[0038]

Additionally, there are closed wefts and open wefts designs. Open wefted wig uses a wig cap that only consists of elastic banded tape and the weft is attached to that elastic, therefore, the wig cap is exposed or open; this design is very itchy because the hair/fiber can easily come back into the cap & rub against the skull, making it extremely uncomfortable to wear. It's basically an unfinished wig. A closed wefted wig uses a wig cap with an interior layer, that is often made with non-breathable silk or other mesh-like material is added inside the cap (liner), making it a bit more comfortable for the wearer but these wigs are often hot and lack stretchability. In embodiments disclosed herein, a wig cap or base is double-lined with a high spandex power mesh that stretches with the user and is also breathable, lightweight, and very soft.

[0039]

Compared to other garments, the shape and circumference of the head is small; therefore, a difference of as little as ¼″ can make a wig too tight causing tension headaches, or too big, causing the wig to slip. Wigs often come in one standard size so most wigs don't fit women well. In addition, typically, the sides of the wig, ear tab or nape sections of the wig don't mimic the shape of the skull. pattern or shape often doesn't match the shape of the skull, which means the wig doesn't sit on the head correctly. In embodiments disclosed herein, a wig cap is designed to with several panels to precisely follow the shape of a human skull. As discussed below with reference to FIGS. 13-17D, panels are designed with angles, points and measurements to create a wig that will securely fit a user. The figures illustrate specific pattern pieces for purposes of illustrating the invention, variations may be made without departing from the scope of the invention. Wigs may be made with multiple cap sizes because, just like a shoe or bra, heads/skulls come in different sizes and a one-size-fits all approach doesn't work.

[0040]

Typically, prior art wig caps use as 2 to 3 panels. The number of panels is minimizes because the standard way of connecting the panels is with various kinds of lace tape that have no stretch. The most common is mono tape; the “lace” material is folded over and cased or enclosed to the connecting pieces, which keeps the joining panels from shifting or moving. One of two stitches is used to do this 1) straight stitch; 2) zigzag stitch. Although a zigzag has stretch because mono tape is used, the seams have no flexibility or movement, resulting in seams that can easily snap or break and a wig that is very stiff. In addition, the combination of folding over the lace and using the mono tap creates bulky, raised seams that rub and dig into the scalp, making the scalp very irritated and itchy. There are around 1,000 nerve endings per square centimeter on the human head so the scalp is very sensitive. In addition, the head, like the rest of the body, moves so when the wig is stiff, it restricts the natural movement the user needs to be comfortable.

[0041]

In embodiments disclosed herein wig caps are made with between four to six pieces or panels: lace front/hairline, top, back, left side, right side, and nape. More or fewer panels may be used depending on the preferred degree of customization. In embodiments disclosed herein, panels are joined using a flat lock stitch with stretchable threads, which means that the edges of the fabric completely encased the stitching and threads. This stitch, thread and specially chosen spandex mesh created a wig cap that not only mimics the shape of the skull but also completely moves with the wearer. The wig cap as disclosed herein provides a completely seamless flexible wig experience while also eliminating unnecessary bulk, itchy seams, & reduced chafing. The entire wig became flexible and stretchable, resulting in a second skin experience.

[0042]

FIGS. 1-12 show an embodiment of a first or original workout wig (sport & fitness wig) including the hair piece and an attached headband. FIGS. 13-17D show an embodiment of the second version of the workout wig (sport & fitness wig) including the flexible hair piece, or wig cap, which is made of multiple panels of stretchable material that may be used for the workout wig of FIGS. 1-12, or any full wig.

[0043]

FIG. 1 shows the original workout wig 100 includes a headband 102 with a hair piece 104. As disclosed herein, the term “hair piece” may be used interchangeably with the term “wig.” In embodiments, the headband may be approximately 5″ wide so the wearer can change the look by folding it along it's circumference to give it a smaller width or pleating across the top to create a rippled look. Other widths are contemplated. The headband material may be a 4-way stretch fabric that hugs the head but also expands when needed for flexibility of movement. The back is tapered to approximately 1½ inches so that it cups the occipital bone at the base of the skull. This is also where the “wig stays” in the back of a wig typically sits. In embodiments, the unstretched circumference of the headband is approximately 20.5 inches, with the ability to stretch up to 23 inches. Hair piece 104 is shown with generally straight hair; however, the hair may be styled in a number of ways, including braids or a bun, for example.

[0044]

FIG. 2 is a side view of the inside of a hair piece cap 106. In embodiments, hair piece cap 106 has dimensions of approximately 9×9 or 10×10 inch partial wig cap that it sits about 1½ “to 2” inches back from where a user's hairline typically begins. The base is doubled lined, including an outer layer 108 made of nylon power mesh material to which the fibers of wig 104 are tied. Outer layer 108 is not shown in FIG. 2 as it is inside of hair piece cap 106 as depicted.

[0045]

The inner layer of hair piece cap 106 has two parts. A first part, the diamond flower lace material has been coated with silicone to create a non-slip top 110 and is positioned across the top of a user's head and allows the top to grip to the skull while still being breathable. In embodiments, non-slip material 110 Although a flower lace pattern is shown, other patterns may be used without departing from the principles disclosed herein.

[0046]

In embodiments, a second part of hair piece cap 106 is panel 112 that stretches across the back and sides of a user's head. Panel 112 is made from a spandex power mesh material that is very flexible, breathable, lightweight and comfortable. Spandex allows the material to stretch and move with the wearer. Hair piece cap 106 is double lined with this material to prevent inversion from occurring. Inversion is when hairs come into the inside of the cap and it is the main source of discomfort for wearers of wigs because it is very itchy. The inner layer prevents hairs from coming back through the cap to increase the comfort of the person wearing it. Panel 112 is designed have a shape that is generally hemispherical so that it cups the sides of a user's head and the occipital bone.

[0047]

Non-slip material 110 of cap 106 has an ⅛″ folded lace edging and panel 112 has a cap edge 116 of 0.5 cm folded stretch mesh so it's very thin. Non-slip material 110 may be attached to panel 112 with a zig-zag stitch. In embodiments, the seam between non-slip material 110 and panel 112 may be covered with seam tape 118 for additional comfort.

[0048]

FIGS. 3A and 3B are back views of the inside of workout wig 100, in embodiments. FIG. 4A is a front perspective view and FIG. 4B is a side perspective of the inside of the workout wig of FIG. 1. FIGS. 3A, 3B, 4A, and 4B are best viewed together during the following discussion.

[0049]

As shown, hair piece cap 106 has been attached to headband 102. This can be done using an overcast stitch 117 may be used to attach the base to headband 102 prevent the material of the hair piece 104 from raveling, although other methods could be used.

[0050]

The back of the headband is gathered with a basting stitch 119 across the width of headband 102 so that it is narrower than the front of headband 102. In embodiments, headband 102 may be gathered to a width of approximately 1.5 inches so that it cups the occipital bone. This location is where the stays in the back of the wig typically rest.

[0051]

A pull system may be used to allow users to easily adjust the circumference of headband to increase the security of the wig 102. The pull system includes a cord 120 and a cord lock 122. A casing is formed around the sides of workout wig 100. Cap edge 116 may form a casing for cord 120 or a casing may be formed in headband 102 close to where it is attached to hair piece cap 106. The casing begins where non-slip material 110 and panel 112 are attached and runs along the edge of the panel 112. Cord 120 exits headband 102 where it is secured with cord lock 122 that keeps the cord from retracting all the way into the casing. When pulled, cord 120 tightens hair piece cap 106 against the user's head.

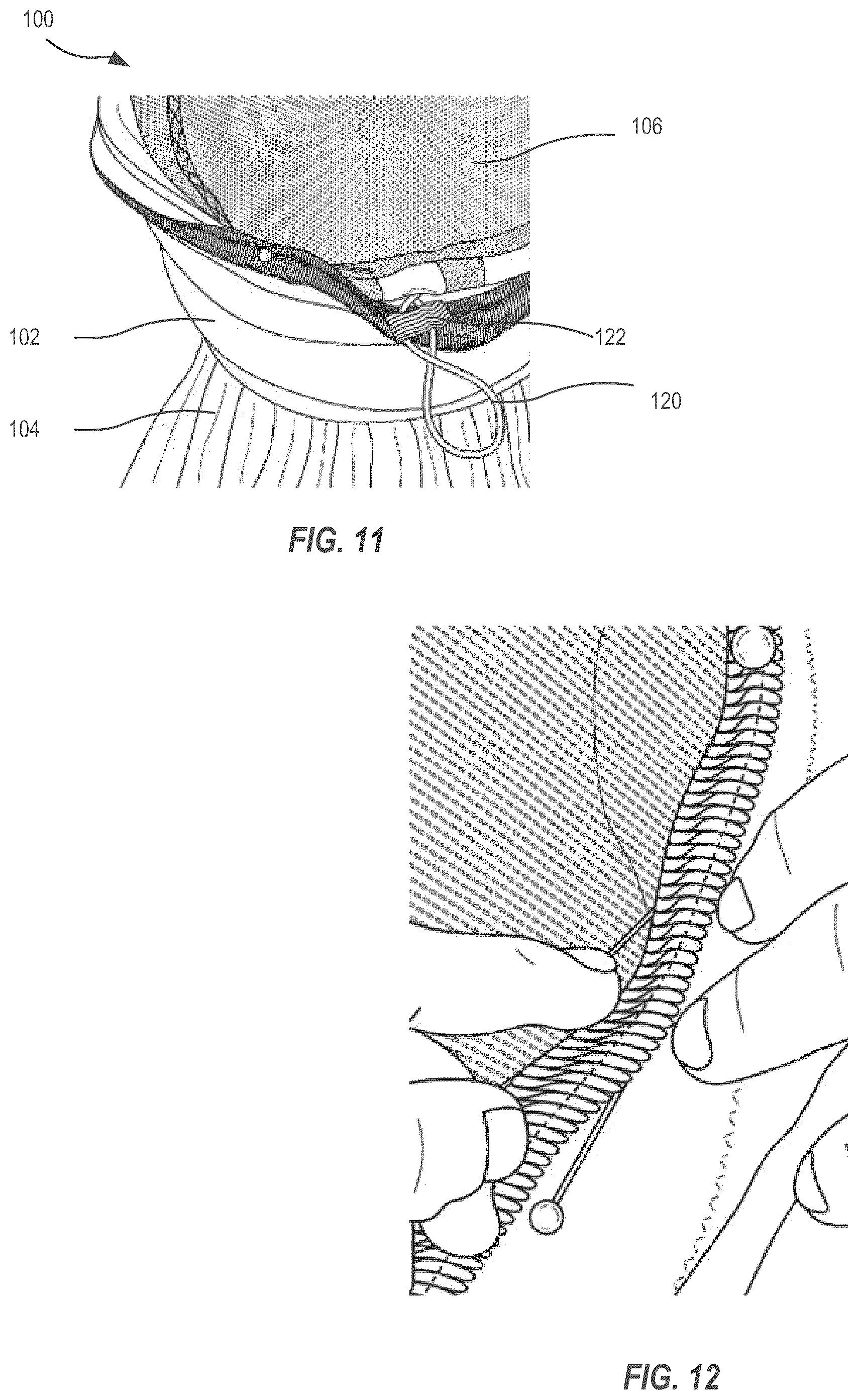
[0052]

As shown in FIG. 3A, the loop in cord 120 may be short as it extends from cord lock 122. This means that most of the length of cord 120 is inside headband 102 so that it is at its loosest configuration. After workout wig 100 is placed on a user's head, cord lock 122 have be operated so that a loop of cord 120 may be pulled out to a desired degree of tightness around the user's head as shown in FIG. 3B. As will be discussed in more detail below, cord 120 extends through headband 102 to a position approximately above the user's ears, although any suitable position that provides an appropriate range of sizes may be used. In embodiments, cord lock 122 may be any device that grips cord 120 and prevents it from moving, such as a spring-loaded latch or a stopper lined with rubber or silicon.

[0053]

In embodiments, panel 112 may be made from two halves 124 and 126 to further tailor the shape of panel 112. Halves 124 and 126 may be attached to each other using a zig-zag stitch, for example.

[0054]

FIGS. 5-7 illustrate the workout wig of FIG. 1 during assembly, in embodiments. As shown in FIG. 5, headband 102 is made from a generally rectangular piece of fabric 128 that is approximately 21⅜″ inches long and 8⅜″ inches wide. An overcast or overlock stitch may be used along edge 130 to prevent fabric from unraveling. Edge 130 will become the outside edge of headband 102 that is closer to a user's face. Edge 131 will be sewn to hair piece cap 106. In embodiments, fabric 128 has a thickness of approximately 0.5 cm so it's very thin. A variety of colors and fabrics may be used to provide users with options according to their personal preferences.

[0055]

As shown in FIG. 6, fabric 128 is folded to bring the wrong sides of fabric together along the short edge. A ⅜″ center back seam 134 is sewn using a medium straight stitch. A gap 132 of approximately 3/16 of an inch in seam 134 is positioned at a space 136 of approximately ¾″ away from edge 130 to provide an access point for cord 120. A stopping/locking stitch may be made in center back seam 134 at both ends and on either side of gap 132.

[0056]

As shown in FIG. 7, a basting stitch 119 may be sewn at approximately ¼″ or ⅜″ away from center back seam 134. Basting stitch 119 is pulled to reduce the width of headband 102 to approximately 1½-2″ inches, resulting in a tapered back (this allows the headband to cup and hug the occipital bone. In embodiments, a piece of ribbon such as 1″ grosgrain may be sewn over center back seam 134 to lock the gathered basting stitch 119 in place.

[0057]

FIGS. 8-10 illustrate the workout wig of FIG. 1 during assembly, in embodiments.

[0058]

FIG. 8 is a view of the inside of hair piece cap 106 in preparation for attaching headband 102. As shown, hair piece cap 106 is generally folded along a line from center front 138 to center back 140. Pins 142 may be placed at intervals around the circumference of both hair piece cap 106 and headband 102 to assist in placement.

[0059]

FIG. 9 shows headband 102 placed around the circumference of the edge of hair piece cap 106 with wrong sides together. Center back seam 134 is aligned with the center back of hair piece cap 106. Using a straight or a zigzag stitch the headband is sewn to hair piece cap 106 along the interior casing/straight stitch for cord 120 at 144 as shown in FIG. 10. This allows for the thinnest transition possible. The connection seam on most headband wigs is ½″ or more. In embodiments, the thin transition between cap 106 and headband 102 is what makes the workout wig 100 look so realistic.

[0060]

FIG. 11 shows the back of workout wig 100 where cord 120 and cord lock 122 have been pulled through gap 132 in headband 102. A final step in finishing workout wig 100 is shown in FIG. 12, which includes sewing an overcast stitch just after the zig-zag stitch along the inside mesh. Starting in the back, hide split knot in between fabric and mesh. Grab two to three mesh holes and then go into the end headband (i.e., overlock edge) at a 45-degree angle.

[0061]

FIG. 13 is an inside view of a partial wig cap with a headband attached to the base, commonly known as a workout, sport, fitness or gym wig, 200 having multiple panels that are joined with stretchable threads using a flatlock seam. FIG. 14 is a side exterior view of partial wig cap with the headband attached 200. FIGS. 13 and 14 are best viewed together in the following description.

[0062]

The material of wig cap 200 may be, for example, a spandex power mesh fabric such as that used for active wear, but any fabric that is capable of being stretched may be used. The partial wig cap 200 is formed from four panels of material. The shape of each panel is selected to conform to and mimic the wearer's skull. Center back panel 202 extends from a wearer's nape up to the crown. The opposite sides of center back panel 202 are joined to right side panel 204 and left side panel 206 with stretchable threads and flatlock stitched seams 209 and 210, respectively. Right side panel 206 and left side panel 208 are shaped to conform to the somewhat flatter sides of the wearer's skull and sized to not touch the wearer's ears because that is a sensitive area and can cause great discomfort. Center front/top panel 208 is attached to center back panel 202 and side panels 204 and 206 with stretchable threads using a flatlock stitched seam 212, and extends across the wearer's crown towards the forehead.

[0063]

In embodiments, headband 214 is attached to the partial wig cap 200 with stretchable threads using flatlock stitched seam 216. Headband 214 may be made of any decorative stretchable fabric. A clear elastic tape (also known as Mobilon® Tape which is thin & latex free so it won't irritate the skin, is used to prevent the headband from overstretching. In replacement of the pull cord used in FIG. 1, the elastic tape can either be added 218 which is sewn into seam 216 OR the elastic tape can be added inside of the headband (area closest to the forehead) which provides a cupping effect securing the wig in place without the need for any other “wig accessories, adhesive, or pull cords. By adding the clear elastic tape, we have successfully provided a more secure fit without losing the breathability and flexibility of the wig cap 200.

[0064]

FIGS. 15A and 15B are schematic diagram illustrating representative panels of the partial wig cap with the attached headband 214 of FIG. 13. Individual panels are aligned with each other during assembly of cap 200 according to letters A, B, C, D and CF, as shown by dashed arrows, showcase the uniquely designed angles and curves that closely mimic the shape and curvature of the skull. Center back panel 202 is generally rectangular with a curved edge where it is aligned with center front/top panel 208 at letter A. Right side panel 204 is generally wedge shaped with a curved edge, where it is attached to the center top panel 202 by aligning letters B and D. Left side panel 206 is a mirror image of right side panel 204 and is similarly joined to center top panel 202 by aligning letters B and D. Center top panel 208 includes notches for aligning with the joined corners B of center back panel 202 and right side panel 204 and left side panel 206, respectively. Center front panel 208 is generally triangular and includes letters C that align with letters C on right side panel 204 and left side panel 206.

[0065]

Panels 202, 204, 206 and 208 are shaped to conform to the various planes and curves of a wearer's skull. Various edges are curved so that the assembled cap forms a volume that fits snugly. The specific shapes as shown are for illustrating principles disclosed herein and variations in dimensions and curvatures are within the scope of this disclosure.

[0066]

FIG. 15B is a schematic diagram of a headband 214. In embodiments, edges 219 would be seamed to each other using stretchable threads and a flat lock seam to form a loop, then headband 214 would be attached around the circumference of cap 200 by aligning letters CF on headband 214 with letters CF on center front panel 208. In embodiments, headband 214, thin elastic tape maybe added inside of the front edge 221 of the headband which will provide a cupping effect securing the wig in place without the need for any other wig accessories, adhesive, or pull cords. The elastic tape on front edge 221 provides a more secure fit without losing the breathability and flexibility of the wig cap 200. In embodiments, headband 214 using stretchable thread and a flat lock seam eliminates the bulk caused from the pull cord and the encasing/folding two layers of the headband material, mono tape, and the wig cap 200 or FIG. 1, which allowed the transition from the headband to the wig to be seamless and flat (prior FIG. 1, this transition point was bulky) this innovation resulted in making the overall wig look more realistic and more comfortable for the wearer.

[0067]

Other arrangements and numbers of panels of the partial wig cap may be used to further adapt or allow the wig to fit larger or smaller heads/skulls.

[0068]

FIG. 16 is a schematic diagram illustrating panels of the full or complete wig cap 220, shown in assembled views in FIGS. 17A-17D. FIGS. 16 and 17A-17D are best viewed together in the follow description.

[0069]

In embodiments, wig cap 220 is double-lined and made with stretchable power mesh material. Individual panels are aligned with each other during assembly of wig cap 220 according to letters C, D, E, F, G, H, as shown by dashed arrows. The design of each panel showcases the uniquely designed angles and curves that closely mimic the shape and curvature of the skull, but variations to the panels may be made without departing from the scope disclosed herein.

[0070]

Center back panel 222 is generally rectangular with a curved edge where it is aligned with center front panel 228 at letter E and F. Right side panel 224 is a polygon with a curved edge, where it is attached to the center back panel 222 by aligning letters G and F. Left side panel 226 is a mirror image of right side panel 224 and is similarly joined to center back panel 222 by aligning letters G and F. Center front panel 228 includes notches labeled F for aligning with the joined corners F of center back panel 222 and right side panel 224 and left side panel 226, respectively. Center front panel 228 is generally triangular and includes letters C and D that align with letters C and D on right side panel 224 and left side panel 226.

[0071]

Front panel 230 is aligned to the center front panel 228 by aligning letters D and C. In embodiments front edge 238 of front panel 230 may include a ⅜″ Swiss lace front 242 (FIG. 17C) which recreates a natural hairline; the lace can be folded or not. Front panel 230 includes ear tabs 240 adjacent to stays 234; this unique shape cups the temples but also sits higher which keeps the front of the wig off the ears. The ears are very sensitive to pressure so it is extremely important that the ear tabs stay off and away from the ears. Note, front panel 230, center front panel 228 and left side panel 226 (or right side panel 224) are all connected by aligning letter D. This point hits the wearers skull right at the temple and it is typically a source for great pain in the wig because it digs into the temples. By using flexible threads and the flat lock stitch, wig cap 220 eliminates this “joint” causing the wig to sit flat and flexible at a very critical angle of the skull. The joint doesn't occur in the partial wig of FIGS. 1-12 because the wig sits further back so the headband touches this point.

[0072]

Nape panel 232 is attached to the center back panel 222 so it will be positioned along the wearer's nape by aligning letters J. Nape panel 232 is aligned to the right side panel 224 and the left side panel by aligning letters H. In embodiments, nape panel 232 may include a two inch elastic band encased around the spandex power mesh material. The elastic band may be added here to allow the wig to stretch and not restrict movement around the back of the head/neck which flexibility not only helps the wig stay on but it makes wearing the wig more comfortable.

[0073]

In embodiments, front panel 230 and nape panel 232 may be made with silicone for a more secure fit or power mesh for more flexible, lightweight fit. In addition, strong bendable metal stays 234 may be added along the dashed lines in nape panel 232 and front panel 230, which helps secure the wig to the skull without the need for adhesive or other wig accessories.

[0074]

Panels 222, 224, 226, 228, 230, and 232 are shaped to conform to the various planes and curves of a wearer's skull. Various edges are curved so that the assembled full wig cap forms a volume that fits snugly. The specific shapes as shown in FIG. 16 are for illustrating principles disclosed herein and variations in dimensions and curvatures are within the scope of this disclosure. Wig cap 220 is a full wig cap so does not include a headband, but a cap similar to wig cap 220 may also be used for headband wig 200, also referred to as a gym, exercise, fitness, or sport wig.

[0075]

Other arrangements and numbers of panels of the full/complete wig cap may be used to further adapt or allow the wig to fit larger or smaller heads/skulls.

[0076]

FIG. 17A shows a front view, FIG. 17B shows a top view, FIG. 17C shows a side view, and FIG. 17D shows a back view of an assembled wig cap 220 of FIG. 16.

[0077]

Changes may be made in the above methods and systems without departing from the scope hereof. It should thus be noted that the matter contained in the above description or shown in the accompanying drawings should be interpreted as illustrative and not in a limiting sense. Herein, and unless otherwise indicated: (a) the adjective “exemplary” means serving as an example, instance, or illustration, and (b) the phrase “in embodiments” is equivalent to the phrase “in certain embodiments,” and does not refer to all embodiments. The following claims are intended to cover all generic and specific features described herein, as well as all statements of the scope of the present method and system, which, as a matter of language, might be said to fall there between.

Как компенсировать расходы
на инновационную разработку
Похожие патенты