заявка
№ US 20240137276
МПК H04L41/0894

Controlling User Plane Function (UPF) Load

Авторы:
Miguel Angel Puente Pestaña Miguel Angel Muñoz De La Torre Alonso Rodrigo Alvarez Dominguez
Все (4)
Номер заявки
18279064
Дата подачи заявки
27.04.2021
Опубликовано
25.04.2024
Страна
US
Дата приоритета
15.12.2025
Номер приоритета
Страна приоритета
Как управлять
интеллектуальной собственностью
Чертежи 
9
Реферат

[0000]

A User Plane Function, UPF (35), sends a load report to a Session Management Function, SMF (45). Responsive to receiving the load report from the UPF (35), the SMF (45) installs a load reduction policy rule in the UPF (35). The load reduction policy rule comprises a criterion for identifying one or more users subject to the load reduction policy rule. The UPF (35) selectively applies the load reduction policy rule to user plane traffic of the one or more users based on the criterion.

[00000]

Формула изобретения

1-39. (canceled)

40. A method, implemented in a Session Management Function (SMF) in a wireless communication network, the method comprising:

responsive to receiving a load report from a User Plane Function (UPF), installing a load reduction policy rule in the UPF;

wherein the load reduction policy rule comprises a criterion for identifying one or more users subject to the load reduction policy rule.

41. The method of claim 40, further comprising sending, to the UPF, one or more requests to activate one or more types of load reporting, wherein at least one of the requests to activate indicates a trigger for sending the load report.

42. The method of claim 41, further comprising registering, in a Unified Data Repository (UDR), the one or more users as being of a user type that corresponds to a type of load reporting of the load report.

43. The method of claim 41, further comprising receiving a Packet Forwarding Control Protocol (PFCP) association request from the UPF, wherein the PFCP association request indicates that the UPF supports providing the load report.

44. The method of claim 41, further comprising sending, to the UPF, a PFCP session establishment request comprising one or more Policy and Charging Control (PCC) rules, wherein installing the load reduction policy rule in the UPF comprises fetching the load reduction policy rule from the PCF and sending the load reduction policy rule to the UPF in a PFCP session update request to update the PCC rules.

45. The method of claim 40, wherein the load report indicates, for each of one or more user categories, a respective amount of load on the UPF caused by the user category.

46. The method of claim 40, wherein the load report comprises a list of user identifiers corresponding to users responsible for load indicated in the load report.

47. The method of claim 40, wherein installing the load reduction policy rule in the UPF is responsive to determining that the UPF is overloaded based on the load report.

48. The method of claim 40, further comprising, after having installed the load reduction policy rule, determining that the UPF is not overloaded and, in response, installing a further policy rule in the UPF that eliminates at least one of the one or more users from being subject to the load reduction policy rule.

49. A Session Management Function (SMF) comprising:

interface circuitry configured to receive a load report from a User Plane Function, UPF; and

processing circuitry communicatively connected to the interface circuitry, wherein the processing circuitry is configured to, responsive to receiving the load report from the UPF via the interface circuitry, install a load reduction policy rule in the UPF;

wherein the load reduction policy rule comprises a criterion for identifying one or more users subject to the load reduction policy rule.

50. The SMF of claim 49, wherein:

the processing circuitry is further configured to send, to the UPF via the interface circuitry, one or more requests to activate one or more types of load reporting; and

at least one of the requests to activate indicates a trigger for sending the load report.

51. The SMF of claim 50, wherein the processing circuitry is further configured to register, in a Unified Data Repository (UDR), the one or more users as being of a user type that corresponds to a type of load reporting of the load report.

52. The SMF of claim 50, wherein:

the processing circuitry is further configured to receive a Packet Forwarding Control Protocol (PFCP) association request from the UPF via the interface circuitry; and

the PFCP association request indicates that the UPF supports providing the load report.

53. The SMF of claim 50, wherein:

the processing circuitry is further configured to send, to the UPF via the interface circuitry, a PFCP session establishment request comprising one or more Policy and Charging Control (PCC) rules; and

to install the load reduction policy rule in the UPF the processing circuitry is configured to fetch the load reduction policy rule from the PCF and send the load reduction policy rule to the UPF in a PFCP session update request to update the PCC rules.

54. The SMF of claim 49, wherein the load report indicates, for each of one or more user categories, a respective amount of load on the UPF caused by the user category.

55. The SMF of claim 49, wherein the load report comprises a list of user identifiers corresponding to users responsible for load indicated in the load report.

56. The SMF of claim 49, wherein the processing circuitry is configured to install the load reduction policy rule in the UPF responsive to determining that the UPF is overloaded based on the load report.

57. The SMF of claim 49, wherein the processing circuitry is further configured to, after having installed the load reduction policy rule, determine that the UPF is not overloaded and, in response, install a further policy rule in the UPF that eliminates at least one of the one or more users from being subject to the load reduction policy rule.

58. A non-transitory computer readable medium storing a computer program product for controlling a Session Management Function (SMF) in a wireless communication network, the computer program product comprising software instructions that, when run on the SMF, cause the SMF to:

responsive to receiving a load report from a User Plane Function (UPF), install a load reduction policy rule in the UPF;

wherein the load reduction policy rule comprises a criterion for identifying one or more users subject to the load reduction policy rule.

59. A system comprising:

a Session Management Function (SMF) and a User Plane Function (UPF) in a wireless communication network;

wherein the SMF is configured to, responsive to receiving a load report from the UPF, install a load reduction policy rule in the UPF;

wherein the load reduction policy rule comprises a criterion for identifying one or more users subject to the load reduction policy rule; and

wherein the UPF is configured to selectively apply the load reduction policy rule to user plane traffic of the one or more users based on the criterion.

Описание

TECHNICAL FIELD

[0001]

The present disclosure generally relates to wireless communication networks, and more particularly relates to controlling user plane function (UPF) load in Third Generation Partnership Project (3GPP) networks.

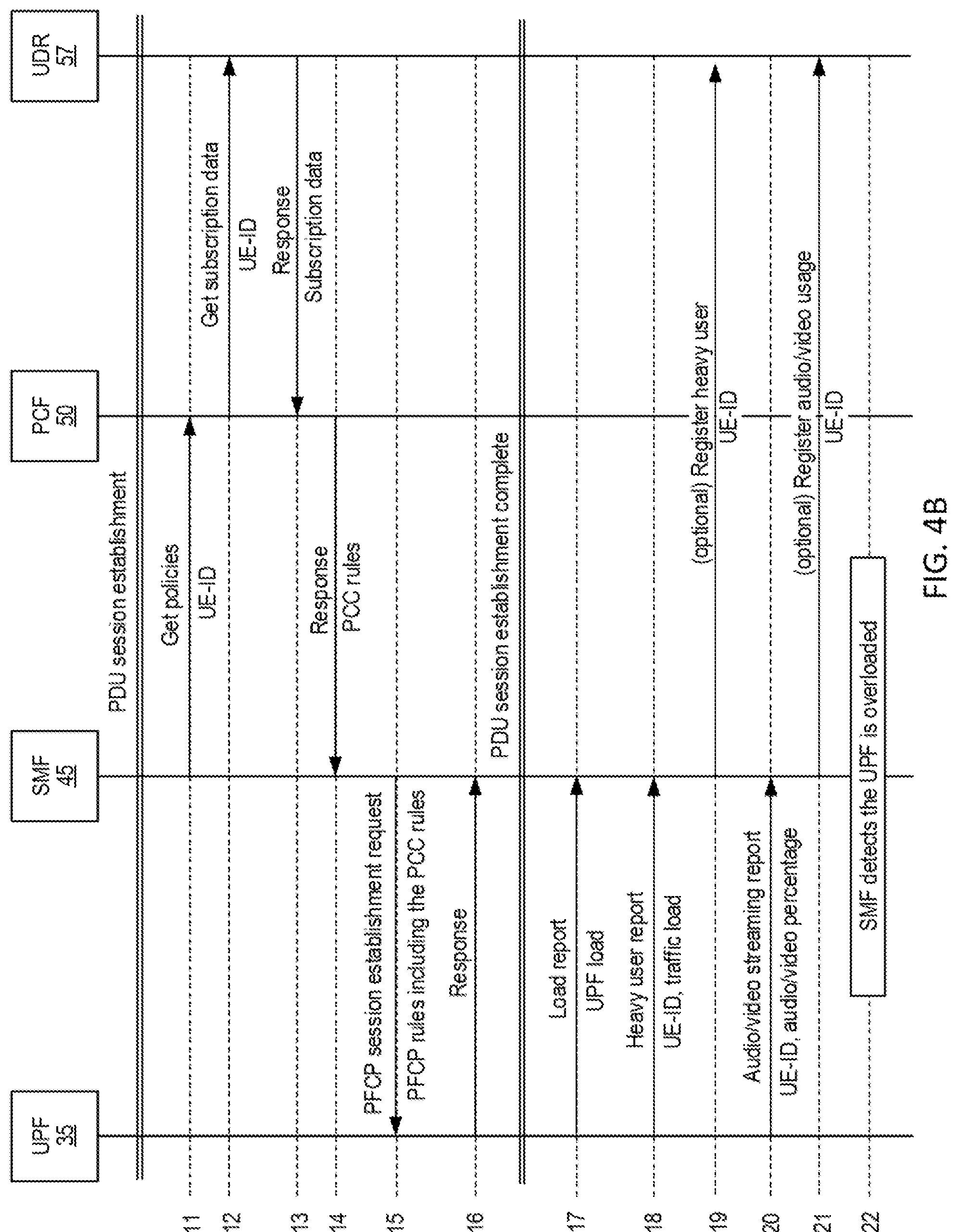
BACKGROUND

[0002]

The 3GPP is a telecommunication standards organization that produces specifications defining numerous technologies in support of wireless networks, such networks including (for example) Long Term Evolution (LTE) networks and Fifth Generation (5G) networks. A fundamental characteristic of a 5G core network is the separation of the control and user planes. The control plane is the portion of the network that handles signaling traffic, whereas the user plane is the portion of the network that handles network user traffic. Due to the ever-increasing amount of user traffic wireless communication networks are transporting (e.g., to stream high-definition video), the user plane is increasingly likely to be overloaded, particularly as compared to the control plane.

SUMMARY

[0003]

Embodiments of the present disclosure are generally directed to implementing load control for network nodes handling user plane traffic. One or more embodiments include a method implemented by a Session Management Function (SMF) in a wireless communication network. The method comprises, responsive to receiving a load report from a User Plane Function (UPF), installing a load reduction policy rule in the UPF. The load reduction policy rule comprises a criterion for identifying one or more users subject to the load reduction policy rule.

[0004]

In some embodiments, the method further comprises sending, to the UPF, one or more requests to activate one or more types of load reporting. At least one of the requests to activate indicates a trigger for sending the load report. In some such embodiments, the method further comprises registering, in a Unified Data Repository (UDR), the one or more users as being of a user type that corresponds to a type of load reporting of the load report.

[0005]

Additionally or alternatively, the one or more requests to activate the one or more types of load reporting may comprise a request to activate reporting of load caused by Audio/Video streaming. Additionally or alternatively the one or more requests to activate the one or more types of load reporting may comprise a request to activate reporting of load caused by heavy users. Additionally or alternatively, the method may further comprise receiving a Packet Forwarding Control Protocol, PFCP, association request from the UPF. The PFCP association request indicates that the UPF supports providing the load report. In some such embodiments, at least one of the requests to activate is comprised in an acknowledgement to the PFCP association request.

[0006]

Additionally or alternatively, the method may further comprise sending, to the UPF, a PFCP session establishment request comprising one or more Policy and Charging Control (PCC) rules. Installing the load reduction policy rule in the UPF comprises fetching the load reduction policy rule from the PCF and sending the load reduction policy rule to the UPF in a PFCP session update request to update the PCC rules. In some such embodiments, at least one of the requests to activate is comprised in the PFCP session establishment request.

[0007]

In some embodiments, the load report indicates, for each of one or more user categories, a respective amount of load on the UPF caused by the user category.

[0008]

In some embodiments, the load report comprises a list of user identifiers corresponding to users responsible for load indicated in the load report.

[0009]

In some embodiments, installing the load reduction policy rule in the UPF is responsive to determining that the UPF is overloaded based on the load report.

[0010]

In some embodiments, the method further comprises, after having installed the load reduction policy rule, determining that the UPF is not overloaded, and in response, installing a further policy rule in the UPF that eliminates at least one of the one or more users from being subject to the load reduction policy rule.

[0011]

In some embodiments, the criterion for identifying one or more users subject to the load reduction policy rule comprises an indication that the load reduction policy rule applies to users that consume more than a threshold amount of bandwidth.

[0012]

In some embodiments, the criterion for identifying one or more users subject to the load reduction policy rule comprises an indication that the load reduction policy rule applies to users that are Audio/Video streaming.

[0013]

Other embodiments include an SMF configured to, responsive to receiving a load report from a UPF, install a load reduction policy rule in the UPF. The load reduction policy rule comprises a criterion for identifying one or more users subject to the load reduction policy rule.

[0014]

In some embodiments, the SMF is further configured to perform any one of the methods described above.

[0015]

Other embodiments include an SMF comprising interface circuitry configured to receive a load report from a UPF. The SMF further comprises processing circuitry communicatively connected to the interface circuitry. The processing circuitry is configured to, responsive to receiving the load report from the UPF via the interface circuitry, install a load reduction policy rule in the UPF. The load reduction policy rule comprises a criterion for identifying one or more users subject to the load reduction policy rule.

[0016]

In some embodiments, the processing circuitry is further configured to perform any one of the methods described above.

[0017]

Other embodiments include a method implemented in a UPF in a wireless communication network. The method comprises sending a load report to an SMF, and receiving a load reduction policy rule in response. The load reduction policy rule comprises a criterion for identifying one or more users subject to the load reduction policy rule. The method further comprises selectively applying the load reduction policy rule to user plane traffic of the one or more users based on the criterion.

[0018]

In some embodiments, the method further comprises receiving, from the SMF, one or more requests to activate one or more types of load reporting. At least one of the requests to activate indicates a trigger for sending the load report. In some such embodiments, the one or more requests to activate the one or more types of load reporting comprises a request to activate reporting of load caused by Audio/Video streaming. Additionally or alternatively, the one or more requests to activate the one or more types of load reporting may comprise a request to activate reporting of load caused by heavy users.

[0019]

Additionally or alternatively, the method may further comprise sending a Packet Forwarding Control Protocol (PFCP) association request to the SMF. The PFCP association request indicates that the UPF supports providing the load report. In some such embodiments, at least one of the requests to activate is comprised in an acknowledgement to the PFCP association request.

[0020]

Additionally or alternatively, the method may further comprises receiving, from the SMF, a PFCP session establishment request comprising one or more PCC rules. The method may further comprise receiving the load reduction policy rule from the SMF in a PFCP session update request to update the PCC rules. The method may further comprise updating the PCC rules responsive to the PFCP session update request. In some such embodiments, at least one of the requests to activate is comprised in the PFCP session establishment request.

[0021]

In some embodiments, the load report indicates, for each of one or more user categories, a respective amount of load on the UPF caused by the user category.

[0022]

In some embodiments, the load report comprises a list of user identifiers corresponding to users responsible for load indicated in the load report.

[0023]

In some embodiments, receiving the load reduction policy rule comprises receiving the load reduction policy rule responsive to the load report indicating the UPF is overloaded.

[0024]

In some embodiments, the method further comprises, after having received the load reduction policy rule, receiving a further policy rule from the SMF that eliminates at least one of the one or more users from being subject to the load reduction policy rule.

[0025]

In some embodiments, the criterion for identifying one or more users subject to the load reduction policy rule comprises an indication that the load reduction policy rule applies to users that consume more than a threshold amount of bandwidth.

[0026]

In some embodiments, the criterion for identifying one or more users subject to the load reduction policy rule comprises an indication that the load reduction policy rule applies to users that are Audio/Video streaming.

[0027]

Other embodiments include a UPF configured to send a load report to an SMF, and receive a load reduction policy rule in response. The load reduction policy rule comprises a criterion for identifying one or more users subject to the load reduction policy rule. The UPF is further configured to selectively applying the load reduction policy rule to user plane traffic of the one or more users based on the criterion.

[0028]

In some embodiments, the UPF is further configured to perform any one of the methods implemented in a UPF described above.

[0029]

Other embodiments include a UPF comprising interface circuitry and processing circuitry communicatively coupled to the interface circuitry. The processing circuitry is configured to send a load report via the interface circuitry to an SMF, and receive a load reduction policy rule via the interface circuitry in response. The load reduction policy rule comprises a criterion for identifying one or more users subject to the load reduction policy rule. The processing circuitry is further configured to selectively apply the load reduction policy rule to user plane traffic of the one or more users based on the criterion.

[0030]

In some embodiments, the processing circuitry is further configured to perform any one of the methods implemented in a UPF described above.

[0031]

Other embodiments include a computer program comprising instructions which, when executed on processing circuitry of a network node cause the processing circuitry to carry out any one of the methods described above.

[0032]

Other embodiments include a carrier containing such a computer program. The carrier is one of an electronic signal, optical signal, radio signal, or computer readable storage medium.

[0033]

Other embodiments will be apparent in view of the detailed description provided below.

BRIEF DESCRIPTION OF THE DRAWINGS

[0034]

Aspects of the present disclosure are illustrated by way of example and are not limited by the accompanying figures with like references indicating like elements.

[0035]

FIG. 1 is a schematic block diagram illustrating an example wireless communication network according to one or more embodiments of the present disclosure.

[0036]

FIGS. 2 and 3 are flow diagrams illustrating example methods according to one or more embodiments of the present disclosure.

[0037]

FIGS. 4A through 4C are swimming lane diagrams illustrating signaling exchanged between network nodes according to a first example embodiment of the present disclosure.

[0038]

FIGS. 5A and 5B are swimming lane diagrams illustrating signaling exchanged between network nodes according to a second example embodiment of the present disclosure.

[0039]

FIG. 6 illustrates an example network node according to one or more embodiments of the present disclosure.

DETAILED DESCRIPTION

[0040]

Referring now to the drawings, example embodiments of the disclosure will be described below in the context of a 5G wireless communication network. Those skilled in the art will appreciate that the methods and apparatus herein described are not limited to use in 5G networks but may also be used in wireless communication networks operating according to other standards. Such embodiments may be particularly well suited for (but not limited to) derivatives of, and/or successors to, 5G networks, for example.

[0041]

FIG. 1 illustrates an example architecture of a wireless communication network 10 according to one or more embodiments of the present disclosure. The wireless communication network 10 comprises a radio access network (RAN) 20 and a core network 30 employing a service-based architecture. The RAN 20 comprises one or more base stations 25 providing radio access to UEs 100 operating within the wireless communication network 10. The base stations 25 are also referred to as gNodeBs (gNBs). The core network 30 provides a connection between the RAN 20 and one or more other packet data networks (PDNs) 90, such as an Internet Protocol (IP) Multimedia Subsystem (IMS) and/or the Internet.

[0042]

In an example embodiment, the core network 30 comprises a plurality of network functions (NFs), such as a User Plane Function (UPF) 35, an Access and Mobility Management Function (AMF) 40, a Session Management Function (SMF) 45, a Policy Control Function (PCF) 50, a Unified Data Management (UDM) function 55, a Unified Data Repository (UDR) function 57, an Authentication Server function (AUSF) 60, a Network Exposure Function (NEF) 70, a Network Repository Function (NRF) 75, a Network Slice Selection Function (NSSF) 80, and/or a Network Data Analytics Function (NWDAF) 65. These NFs comprise logical entities that reside in one or more core network nodes, which may be implemented through the use of one or more processors, hardware, firmware, or a combination thereof. The functions may reside in a single core network node or may be distributed among two or more core network nodes.

[0043]

The various NFs (e.g., SMF 45, AMF 40, etc.) in the core network 30 may communicate with one another over predefined interfaces. Additionally or alternatively, one or more of the control plane functions query the NRF 75 or other NF discovery node to discover and communicate with each other.

[0044]

The 5G core (5GC) network is designed to support network slicing. Network slicing allows the use of virtualized networks to separate networks designed for different purposes. Each network slice is capable of providing customized features and connectivity specifically tailored for a specific purpose, and is capable of executing on a shared, distributed infrastructure that provides high availability and flexibility.

[0045]

The Global System for Mobile Communications Association Network Group 116 (GSMA NG.116) describes a set of attributes that can be used by an operator to define a network slice type (NEST). These parameters include the maximum number of connections (e.g., concurrent Packet Data Unit (PDU) sessions) supported by the network slice and the maximum number of users (e.g., user equipment (UEs)) supported by the network slice. These attributes provide useful input to scale the network slice and provides enough physical resources to the network slice. There is a significant difference between a network slice designed to serve 10 users and a network slice designed to serve 1,000,000 users. Typically, either the maximum number of connections or the maximum number of terminals is defined by the NEST. The NEST can, in some cases define both the maximum number of connections and the maximum number of terminals supported by the network slice.

[0046]

One aspect of the present disclosure comprises mechanisms for controlling the load of a UPF 35, particularly with respect to a given network slice in the network. In this regard, embodiments of the present disclosure include particular enhancements to the SMF 45, UPF 35, PCF 50, and/or UDM 55 as will be disclosed in further detail below.

[0047]

The PCF 50 supports a unified policy framework to govern the behavior of the network. In particular, the PCF 50 may provide Policy and Charging Control (PCC) rules to the SMF 45. The SMF 45 supports, e.g., session establishment, modification, and release, as well as policy related functionalities like termination of interfaces towards policy control functions, charging data collection, support of charging interfaces and/or control/coordination of charging data collection at the UPF 35. In particular embodiments, the SMF 45 receives PCC rules from the PCF 50 and configures the UPF 35 accordingly (e.g., through the N4 reference point using Packet Forwarding Control Protocol (PFCP)). The UDR 57 is a data store for certain subscriber information. In some embodiments, one or more NFs may use the UDM 55 as a front-end to accessing the UDR 57.

[0048]

According to embodiments, the SMF 45 controls the packet processing in the UPF 35 by establishing, modifying and/or deleting PFCP sessions and by provisioning (e.g., adding, modifying and/or deleting) Packet Detection Rules (PDRs), Forwarding Action Rules (FARs), Quality of Service (QoS) Enforcement Rules (QERs), and/or Usage Reporting Rules (URRs) per PFCP session. Note that a PFCP session may correspond to an individual PDU session or a standalone PFCP session not tied to any PDU session.

[0049]

Each PDR contains Packet Detection Information (PDI) specifying the traffic filters and/or signatures against which incoming packets are matched. Each PDR is associated with rules that provide the set of instructions to apply to packets matching the PDI. These rules include one FAR that contains instructions related to the processing of the packets (e.g., forward, duplicate, drop, or buffer packets) with or without notifying the CP function about the arrival of a DL packet. The rules may also include zero, one, or more QERs that contain instructions related to the QoS enforcement of the traffic. The rules may also include zero, one, or more URRs that contain instructions related to traffic measurement and reporting.

[0050]

The UPF 35 supports the handling of user plane traffic based on the rules received from the SMF 45. Among other things, the UPF 35 may perform packet inspection (e.g., through PDRs) and one or more enforcement actions. These enforcement actions may include, for example, traffic steering, QoS, and/or Charging/Reporting (e.g., through FARs, QERs, URRs).

[0051]

PFCP load/overload control procedures may include a variety of approaches, which may (for example) be compatible with (or suitable for incorporation into) 3GPP TS 29.244. For example, a simple load control procedure may be used mainly for load balancing. According to one such procedure, the SMF 45 prioritizes selection of UPFs 35 with less load. Further, the overload control procedure may define mitigation actions (i.e., in case of overload) that are based on not allowing new sessions to be established (e.g., through message throttling, redirection and prioritization). Although embodiments that incorporate such an approach may be effective at controlling load, it should be noted that not allowing new sessions to be established may directly and negatively impact the user's experience, which would not be desirable.

[0052]

In some embodiments, NFs (e.g. the UPF 35) may register NF load information in the NRF 75 so that when a consumer (e.g., SMF 45) triggers a discovery procedure, this load information can be used to achieve load balancing (e.g., when SMF 45 triggers a UPF 35 selection procedure). Such approaches may be compatible or suitable for incorporation into 3GPP TS 29.510, for example. These embodiments may also support subscription to NF load changes. However, the resulting notifications produced under such embodiments may be quite demanding on the network (e.g., in terms of network traffic).

[0053]

Other embodiments may include different network functions (e.g. the UPF 35) sending load information to an OAM so that Performance Measurements (PM) or statistics may be taken. However, in general, traditional 5G networks do not define a procedure regarding what action(s) an OAM should perform in response to particular conditions (e.g., if a UPF load goes above a certain threshold).

[0054]

User plane NFs like the UPF 35 have a high risk of becoming overloaded, largely due to the exponential increase of user traffic (mainly due to video streaming applications). As compared with control plane NFs like the AMF 40, SMF 45, PCF 50, and NEF 70 (which only need to handle control plane signaling), user plane NFs are far more likely to suffer an overload. Embodiments of the present disclosure address are particularly drawn to providing effective control over the user plane to address mitigate such overload situations.

[0055]

Although a generally straightforward solution to mitigating user plane overload is to over-dimension the network (e.g., by simply deploying more UPFs), this has a high cost for the network operators. Therefore, there is a need to provide network operators with more advanced techniques for controlling the user plane.

[0056]

In view of the above, particular embodiments of the present disclosure may include traffic optimization techniques (Transmission Control Protocol (TCP)/Quick User Datagram Protocol (UDP) Internet Connections (QUIC) optimization, Adaptive Bit Rate (ABR) shaping, etc.) that reduce the amount of traffic handled by UPFs, while also maintaining support for at least the same number of user sessions as well as mitigating the negative impact of overloading on the user's experience. In so doing, embodiments are directed to implementing 5G networks as Smart Networks, and in particular, provide UPF load control procedures that may be fully automated and minimally impact existing network operability. Known UPF load control procedures as may be known in traditional 3GPP 5GC are still far from providing such solutions. In view of the above, embodiments of the present disclosure address one or more of the problems described above. Particular embodiments propose to leverage the SMF 45 to automate control of the UPF load.

[0057]

FIG. 2 illustrates an example method 200 implemented by an SMF 45 in a wireless communication network 10. The method 200 comprises, responsive to receiving a load report from a UPF 35 (block 210), installing a load reduction policy rule in the UPF 35 (block 220). The load reduction policy rule comprises a criterion for identifying one or more users subject to the load reduction policy rule.

[0058]

In some embodiments, the method 200 further comprises sending, to the UPF 35, one or more requests to activate one or more types of load reporting (block 205). At least one of the requests to activate indicates a trigger for sending the load report.

[0059]

In some embodiments, the method 200 further comprises registering, in a UDR 57, the one or more users as being of a user type that corresponds to a type of load reporting of the load report (block 215).

[0060]

In some embodiments, the method 200 further comprises, after having installed the load reduction policy rule, determining that the UPF 35 is not overloaded (block 225), and in response, installing a further policy rule in the UPF 35 that eliminates at least one of the one or more users from being subject to the load reduction policy rule (block 227).

[0061]

FIG. 3 illustrates an example method 300 implemented by a UPF 35 in a wireless communication network 10. The method 300 comprises sending a load report to an SMF 45 (block 310). The method 300 further comprises receiving a load reduction policy rule in response (block 320). The load reduction policy rule comprises a criterion for identifying one or more users subject to the load reduction policy rule. The method 300 further comprises selectively applying the load reduction policy rule to user plane traffic of the one or more users based on the criterion (block 330).

[0062]

Examples of particular embodiments will now be discussed in a more detailed context with respect to the signaling diagrams of FIGS. 4A-C and FIGS. 5A-B, which may be useful (for example) for understanding certain interactions between the SMF 45, UMF 35, PCF 50 and UDR 57.

[0063]

It should be noted that in the following example embodiments, controlling user plane load may, in some embodiments, be performed for a particular mobile broadband (MBB) slice. In the following example embodiments, the PCF 50 holds suggested policies to be applied to reduce UPF load. For example, for an MBB slice, the PCF 50 may have an ABR shaping policy to be applied to ABR streaming traffic (e.g. to Audio and Video streaming). Additionally or alternatively, the PCF 50 may have a bandwidth limiting policy to be applied to all traffic, but only with respect to Heavy Users. Heavy users are defined as subscribers consuming more than a threshold amount of traffic.

[0064]

The PCF 50 may additionally or alternatively hold other policies for reducing the UPF load. For example, the PCF 50 may have polices for optimizing one or more protocols. In particular, the PCF 50 may have a TCP Optimization policy that is applied to all TCP traffic and/or a QUIC Optimization policy that is applied to all QUIC traffic.

[0065]

In the example embodiments described below, it is also registered in the UPF 35 that the UPF 35 supports the Event-IDs: AUDIO_VIDEO_STREAMING; HEAVY_USERS; and/or UPF_LOAD.

[0066]

Turning to FIG. 4A, at step 1, the SMF 45 is configured with a maximum UPF load (e.g., on a per slice-ID basis, in some embodiments). At step 2, the UPF 35 sends a PFCP association request from to the SMF. The PFCP association request may comprise an indication that the UPF 35 supports load reporting. In some particular embodiments, the PFCP association request may indicate that the UPF 35 supports one or more types of load reporting. For example, the PFCP association request may indicate load reporting support overall, with respect to certain types of users (e.g., heavy users), and/or with respect to certain types of traffic (e.g., ABR streaming traffic, such as is commonly used for audio/video (AV) streaming). At step 3, the SMF 45 acknowledges the association request.

[0067]

The SMF 45 transmits, to the UPF 35, one or more requests to activate load reporting. In some embodiments, one or more such requests are included in the acknowledgement of step 3. Additionally or alternatively, one or more of these requests are sent after the acknowledgment of step 3. For example, the SMF 45 may send a request to activate load reporting (step 4), a request to activate heavy user load reporting (step 6), and/or a request to activate AV streaming load reporting (step 8). The UPF 35 may respond to one or more of the requests with one or more acknowledgements (e.g., respective steps 5, 7, and 9).

[0068]

In some particular examples, the SMF 45 may be even more specific with respect to what type of load reporting is being requested. For example, in a request for heavy user load reporting, the request may indicate which of a plurality of heavy user categories to report.

[0069]

Further, one or more of the activation requests may include certain reporting information, e.g., a periodicity such as the reporting period and/or a threshold for triggering reporting, among other things. At step 10, the UPF 35 behaves as configured in the reporting info.

[0070]

Continuing with reference to FIG. 4B, PDU session establishment commences after step 10, and includes steps 11 through 16. At step 11, the SMF 45 requests one or more policies in the form of PCC rules from the PCF 50. The policy request may comprise, in some embodiments, an identifier of a User Equipment (UE) (i.e., a UE-ID). In response, at step 12 the PCF 50 requests subscription data associated with the UE-ID from the UDR 57. At step 13, the UDR responds to the request from the PCF 50 with the requested subscription data. At this point, the subscription data associated with the UE-ID does not include any indication of being associated with a heavy user or a user of AV streaming. Accordingly, at step 14, the PCF 50 responds to the SMF 45 with the requested policies. In particular, since the since the subscription data does not include any indication that the UE-ID corresponds to a heavy user or AV streaming user, the rules provided may be PCC rules that control user plane traffic under regular operating conditions. That is, the PCC rules provided at this point may not be specifically tailored for a user that is considered a heavy user or AV streaming user.

[0071]

At step 15, the SMF 45 sends a PFCP session establishment request to the UPF 35. The PFCP session establishment request may include one or more PFCP rules and/or one or more of the regular PCC rules. At step 16, the UPF 35 sends a PFCP session establishment response to the SMF 45. According to particular embodiments, at this point, PDU session establishment is complete.

[0072]

Having been requested to activate load reporting, the UPF 35 monitors UPF load (e.g., CPU and/or memory resources) and reports periodically and/or when the current UPF load is equal to or above a certain threshold (e.g. 70%) (e.g., based on the reporting information included in the activation request and/or an existing configuration of the UPF 35). In this particular example, at step 17 the UPF 35 sends a load report to the SMF 45. The load report includes an indication of overall UPF load.

[0073]

At step 18 the UPF 35 sends a heavy user load report to the SMF 45. In some embodiments, the heavy user load report indicates what percentage of the total UPF traffic volume is the traffic of heavy users. In some embodiments, the heavy user load report additionally or alternatively includes a list of UE-IDs that correspond to heavy users.

[0074]

In some embodiments, there are a plurality of different categories of heavy user, e.g., depending on the amount of traffic they generate. For example, there may be a heavy user category, a very heavy user category, an extremely heavy user category, and so on, each of which may be associated with one or more thresholds for determining whether a user generates enough traffic to fall into the category. In some such embodiments, the heavy user load report may pertain to any one or more of the heavy user categories. Accordingly, in some embodiments the heavy user load report may additionally or alternatively include an indication of which of a plurality of heavy user categories the heavy user load report pertains to.

[0075]

In support of heavy user load reporting, the UPF 35 may detect which UE-IDs are consuming more than a threshold amount of traffic, e.g., using Deep Packet Inspection (DPI) techniques and/or based on reporting information received in the activation message (Step 6, in this example). Alternatively, the threshold amount of traffic required to consider a user a heavy user may be locally configured in the UPF 35 for each heavy user category. As noted above, in some embodiments the UPF 35 may calculate the percentage of heavy users' traffic with respect to the total traffic volume and include the percentage in the heavy users load report. The UPF 35 may additionally or alternatively include the UE-IDs of the relevant heavy users in the heavy users load report.

[0076]

In some embodiments, the SMF 45 can register the heavy users in the UDR 57, as shown at step 19.

[0077]

At step 20, the UPF 35 sends an AV streaming load report to the SMF 45. Similarly to the heavy users load report, the AV streaming load report may include what percentage of the total UPF traffic volume is AV streaming traffic. Additionally or alternatively, the AV streaming load report may include a list of UE-IDs corresponding to detected AV streaming traffic. In such embodiments, the UPF 35 may use DPI techniques to detect the AV streaming traffic and calculate the percentage of AV streaming traffic with respect to the total amount of traffic. The UPF 35 may additionally or alternatively determine the UE-IDs for which there is presence of AV streaming traffic using DPI techniques.

[0078]

In some embodiments, the SMF 45 can register the users for which AV streaming traffic was detected in the UDR 57, as shown at step 21.

[0079]

It should be noted that the example of FIGS. 4A-4C includes activation and reporting of three types of load reports. Notwithstanding, other embodiments may include activation and reporting of any number of load reports. Moreover, the activation of particular types of load reporting may be performed in any order, and not just that illustrated in FIGS. 4A-4C. Similarly, the reporting may be performed in accordance with the reporting information configured in the UPF 35, which may differ from that illustrated in FIGS. 4A-4C.

[0080]

At step 22, the SMF 45 detects that the UPF 35 is overloaded based on one or more of the load reports. In response, at step 23, the SMF 45 determines which users will be subject to a UPF load reduction policy.

[0081]

At step 24, the SMF 45 sends a UPF load reduction policy request to the PCF 50. The UPF load reduction policy request may include, e.g., the UE-ID for the users determined by the SMF 45 to be subject to the UPF load reduction policy. At step 25, in response, the PCF 50 responds to the SMF 45 with one or more UPF load reduction policies. The UPF load reduction policies may include an ABR shaping policy and/or an Multi-bitrate (MBR) reduction policy, for example. For AV streaming traffic, the PCF 50 may determine the ABR shaping level to be applied. For Heavy users, the PCF 50 may determine the bandwidth (BW) limitation level to be applied.

[0082]

In particular, the PCF 50 may provide policies on a per UE-ID basis. For example, the PCF 50 may provide, for each of the UE-IDs provided in the UPF load reduction policy request, an ABR shaping policy for AV Streaming traffic in the form of a new or updated PCC rule. In this regard, the PCC rule may include an application identifier (e.g., App-ID) that indicates to what the PCC rule pertains (e.g., AV streaming responsive to an overload detected based on an AV streaming load report, all traffic responsive to an overload detected based on a heavy users load report). The PCC rule may additionally or alternatively include a QoS for the controlled traffic. For example, the PCC rule may include a suggested QoS action to be taken, such as by indicating a particular ABR shaping level (e.g., for controlling the traffic of AV streaming users) and/or indicating that a bandwidth limit should be applied (e.g., for controlling the traffic of heavy users).

[0083]

At step 26, the SMF 45 sends a PFCP session update request to the UPF 35. The PFCP session update request includes one or more PFCP rules. In particular, the PFCP session update request may include one or more UPF load reduction policies (e.g., on a per user or traffic category basis). Each UPF load reduction policy may include a PDR and a QER. For example, a load reduction policy suitable for controlling UPF load with respect to AV Streaming users may include a PDR with PDI set to App-ID=Audio-Video-Streaming, and a QER that indicates ABR-Shaping-Level=X. As another example, a load reduction policy suitable for controlling UPF load with respect to heavy users may include a PDR with PDI set to App-ID=Match all, and a QER that indicates BW-Limit=Y.

[0084]

Having received the PFCP session update request, at step 27, the UPF 35 behaves as configured in the reporting info while also controlling load in accordance with the load reduction policies. Thus, the UPF 35 sends another load report, heavy user load report, and AV streaming load report at steps 28-30 (respectively) that reflects updated UPF load conditions. As discussed above, the SMF 45, in some embodiments, register users in the UDR 57 that are identified in one or more of the reports as being in a particular class of users (e.g., heavy users, AV streaming users).

[0085]

At step 31, the SMF 45 determines, based on one or more of the updated load reports that the UPF 35 is not overloaded. In response, at step 32, the SMF 35 determines what users will be subject to regular policies. That is, one or more of the users that were subject to the load reduction policy may be eliminated from being subject to the load reduction policy, and thereby restored to being treated under the typical PCC rules. Accordingly, at step 33, the SMF 45 sends a PFCP session update request to the UPF 35. The PFCP session update request includes PFCP rules including one or more of the regular PCC rules.

[0086]

FIGS. 5A-5B illustrate another example of embodiments of the present disclosure. Although the example illustrated in FIGS. 5A-5B share several features with the example illustrated in FIGS. 4A-4C, there are some notable differences. For example, in the example of FIGS. 5A-5B, a load reporting activation request may be included by the SMF 45 in a PFCP association request acknowledgement (step 3) and/or in a PFCP session establishment request (step 9) to the UPF 35. This is in contrast to the individual load reporting activation requests and corresponding acknowledgements depicted in FIG. 4A steps 4 through 9, for example. Further, in FIG. 5A, the SMF 45 selects a UPF 35 that supports load reporting (e.g., generally, with respect to heavy users, and/or with respect to AV streaming users) during PDU session establishment at step 8.

[0087]

Also, in the example embodiment of FIGS. 5A-5B, load reduction policies are obtained by the SMF 45 from the PCC 50 earlier (i.e., in step 7, along with PCC rules) relative to the example of FIGS. 4A-4C, in which the SMF 45 obtains load reduction policies responsive to detecting that the UPF 35 is overloaded.

[0088]

Turning to FIG. 5A, at step 1, the SMF 45 is configured with a maximum UPF load (e.g., on a per slice-ID basis, in some embodiments). At step 2, the UPF 35 sends a PFCP association request from to the SMF 45. The PFCP association request may comprise an indication that the UPF 35 supports load reporting. In some particular embodiments, the PFCP association request may indicate that the UPF 35 supports one or more types of load reporting. For example, the PFCP association request may indicate load reporting support overall, with respect to certain types of users (e.g., heavy users), and/or with respect to certain types of traffic (e.g., ABR streaming traffic, such as is commonly used for audio/video (AV) streaming). At step 3, the SMF 45 acknowledges the association request. In some embodiments, the SMF 45 transmits, to the UPF 35, one or more requests to activate load reporting in the PFCP association request acknowledgement. For example, the SMF 45 may send a request to activate load reporting, a request to activate heavy user load reporting, and/or a request to activate AV streaming load reporting in the PFCP association request acknowledgement.

[0089]

As discussed above, the SMF 45 may be particularly specific with respect to what type of load reporting is being requested. For example, in a request for heavy user load reporting, the request may indicate which of a plurality of heavy user categories to report.

[0090]

Further, the activation request may include certain reporting information with respect to each of the activated load reporting types, e.g., a periodicity such as the reporting period and/or a threshold for triggering reporting.

[0091]

PDU session establishment commences after step 3, and includes steps 4 through 9. At step 4, the SMF 45 requests one or more policies from the PCF 50. The policy request may comprise, in some embodiments, an identifier of a UE-ID. In response, at step 5 the PCF 50 requests subscription data associated with the UE-ID from the UDR 57. At step 6, the UDR 57 responds to the request from the PCF 50 with the requested subscription data. In some embodiments, the UDR 57 may also respond with an indication that the user associated with the UE-ID is a heavy user and/or an AV streaming user.

[0092]

In view of the subscriber information obtained from the UDR 57, at step 7 the PCF 50 responds to the SMF 45 with the requested policies. In particular, since the since the subscription data in this example indicates whether the UE-ID corresponds to a heavy user and/or AV streaming user, the rules provided may include PCC rules that control user plane traffic under regular operating conditions and may also include a load reduction policy for the particular type of user. That is, for an AV streaming user, the PCF 50 may determine the ABR shaping level to be applied. For a heavy user, the PCF 50 may determine the BW limitation level to be applied. In either case, the PCF 50 may provide a corresponding load reduction policy, e.g., on a per UE-ID basis.

[0093]

In particular, for each UE-ID in which a user is detected to be an AV streaming user, the PCF 50 may provide a PCC rule that includes an App-ID=Audio-Video-Streaming, and a QoS that includes a Suggested-QoS-Action of ABR-Shaping-Level=X.

[0094]

For each UE-ID in which a user is detected to be a heavy user, the PCF 50 may provide a PCC rule that includes an App-ID=Match all, and a QoS that includes a Suggested-QoS-Action that indicates BW-Limit=Y.

[0095]

At step 8, the SMF selects a UPF 35 that supports UPF load reporting, heavy user load reporting, and/or AV streaming load reporting.

[0096]

At step 9, the SMF 45 sends a PFCP session establishment request to the UPF 35. The PFCP session establishment request may include one or more PFCP rules, including the regular PCC rules. In some embodiments, the SMF 45 may also include activation requests for one or more of the different types of load reporting supported by the UPF 35, as well as corresponding reporting information to configure a periodicity and/or threshold trigger for reporting. Note that sending an activation request in step 9 may be omitted in many embodiments that include sending an activation request earlier, e.g., in step 3.

[0097]

At this point, PDU session establishment is complete. Having been requested to activate load reporting, at step 10 the UPF 35 monitors UPF load (e.g., CPU and/or memory resources) and will report periodically and/or when the current UPF load is equal to or above a certain threshold (e.g. 70%) (e.g., based on the reporting information included in the activation request and/or an existing configuration of the UPF 35) as will be explained below.

[0098]

Turning to FIG. 5B, at step 11 the UPF 35 sends a load report to the SMF 45. The load report includes an indication of overall UPF load. At step 12, the UPF 35 sends a heavy user load report to the SMF 45. At step 13, the UPF 35 sends an AV streaming load report to the SMF 45. Each of the load reports sent in steps 11-13 may have been sent in response to criteria in the reporting information being met (e.g., load above a threshold, periodic expiration of a timer).

[0099]

With respect to the heavy user load report, as discussed above, in some embodiments the heavy user load report indicates what percentage of the total UPF traffic volume is the traffic of heavy users. In some embodiments, the heavy user load report additionally or alternatively includes a list of UE-IDs that correspond to heavy users. In this regard, the UPF 35 may detect which UE-IDs are consuming more than a threshold amount of traffic, e.g., using DPI techniques and/or based on reporting information received in the activation message. As in the previous example, the SMF 45 may also, in some embodiments, register the heavy users in the UDR 57 (not shown).

[0100]

With respect to the AV streaming load report, the AV streaming load report may include what percentage of the total UPF traffic volume is AV streaming traffic. Additionally or alternatively, the AV streaming load report may include a list of UE-IDs corresponding to detected AV streaming traffic. In such embodiments, the UPF 35 may use DPI techniques to detect the AV streaming traffic and calculate the percentage of AV streaming traffic with respect to the total amount of traffic. The UPF 35 may additionally or alternatively determine the UE-IDs for which there is presence of AV streaming traffic using DPI techniques. As in the previous example, the SMF 454 may also register the users for which AV streaming traffic was detected in the UDR 57 (not shown).

[0101]

It should be noted that the example of FIGS. 5A-5B includes activation and reporting of three types of load reports. Notwithstanding, other embodiments may include activation and reporting of any number of different types of load reports. Moreover, the activation of particular types of load reporting may be performed in any order, and not just that illustrated in FIGS. 5A-5B.

[0102]

At step 14, the SMF 45 detects that the UPF 35 is overloaded based on one or more of the load reports. In response, at step 15, the SMF 45 determines which users will be subject to a UPF load reduction policy.

[0103]

At step 16, the SMF 45 sends a PFCP session update request to the UPF 35. The PFCP session update request includes one or more PFCP rules. These PFCP rules may include one or more UPF load reduction policies (e.g., on a per user or traffic category basis). Each UPF load reduction policy may include a PDR and a QER. For example, a load reduction policy suitable for controlling UPF load with respect to AV Streaming users may include a PDR with PDI set to App-ID=Audio-Video-Streaming, and a QER that indicates ABR-Shaping-Leve1=X. As another example, a load reduction policy suitable for controlling UPF load with respect to heavy users may include a PDR with PDI set to App-ID=Match all, and a QER that indicates BW-Limit=Y.

[0104]

Having received the PFCP session update request, at step 17, the UPF 35 behaves as configured in the reporting info while also controlling load in accordance with the load reduction policies. Accordingly, the UPF 35 sends another load report, heavy user load report, and AV streaming load report at steps 18-20 (respectively) that reflects updated UPF load conditions. As discussed above, the SMF 45, in some embodiments, register users in the UDR 57 that are identified in one or more of the reports as being in a particular class of users (e.g., heavy users, AV streaming users) (not shown).

[0105]

At step 21, the SMF 45 determines, based on one or more of the updated load reports that the UPF 35 is not overloaded. In response, at step 22, the SMF 35 determines what users will be subject to regular policies. That is, one or more of the users that were subject to the load reduction policy may be eliminated from being subject to the load reduction policy, and thereby restored to being treated under the typical PCC rules. Accordingly, at step 23, the SMF 45 sends a PFCP session update request to the UPF 35. The PFCP session update request includes PFCP rules including one or more of the regular PCC rules.

[0106]

Although the examples discussed above describe embodiments in terms of a 5G wireless communication network, other embodiments may be implemented by network nodes of a 4G wireless communication network. In such embodiments, the PCF 50 is replaced by a Policy and Charging Rules Function (PCRF). The SMF 45 is replaced by a Packet Data Network (PDN) Gateway Control plane function (PGW-C) or Traffic Detection Function Control plane function (TDF-C). The UPF 35 is replaced by a PDN Gateway User plane function (PGW-U) or Traffic Detection Function User plane function (TDF-U).

[0107]

Other embodiments of the present disclosure include the network node 500 implemented according to the hardware illustrated in FIG. 6. The example hardware of FIG. 6 comprises processing circuitry 510, memory circuitry 530, and interface circuitry 520. The processing circuitry 510 is communicatively coupled to the memory circuitry 530 and the interface circuitry 520, e.g., via one or more buses. The processing circuitry 510 may comprise one or more microprocessors, microcontrollers, hardware circuits, discrete logic circuits, hardware registers, digital signal processors (DSPs), field-programmable gate arrays (FPGAs), application-specific integrated circuits (ASICs), or a combination thereof. For example, the processing circuitry 510 may be programmable hardware capable of executing software instructions stored, e.g., as a machine-readable computer program 550 in the memory circuitry 530. The memory circuitry 530 of the various embodiments may comprise any non-transitory machine-readable media known in the art or that may be developed, whether volatile or non-volatile, including but not limited to solid state media (e.g., SRAM, DRAM, DDRAM, ROM, PROM, EPROM, flash memory, solid state drive, etc.), removable storage devices (e.g., Secure Digital (SD) card, miniSD card, microSD card, memory stick, thumb-drive, USB flash drive, ROM cartridge, Universal Media Disc), fixed drive (e.g., magnetic hard disk drive), or the like, wholly or in any combination.

[0108]

The interface circuitry 520 may be a controller hub configured to control the input and output (I/O) data paths of the computing device 110. Such I/O data paths may include data paths for exchanging signals over a communications network 105 and data paths for exchanging signals with a user. For example, the interface circuitry 520 may comprise a transceiver configured to send and receive communication signals over one or more of a cellular network, Ethernet network, or optical network.

[0109]

The interface circuitry 520 may be implemented as a unitary physical component, or as a plurality of physical components that are contiguously or separately arranged, any of which may be communicatively coupled to any other, or may communicate with any other via the processing circuitry 510. For example, the interface circuitry 520 may comprise output circuitry (e.g., transmitter circuitry configured to send communication signals over the communications network 10) and input circuitry (e.g., receiver circuitry configured to receive communication signals over the communications network 10). Other examples, permutations, and arrangements of the above and their equivalents will be readily apparent to those of ordinary skill.

[0110]

According to particular embodiments of the hardware illustrated in FIG. 6, the network node 500 is an SMF 45 in a wireless communication network 10. In some such embodiments, the interface circuitry 520 is configured to receive a load report from a UPF 35. The processing circuitry 710 is configured to, responsive to receiving the load report from the UPF 35 via the interface circuitry 520, install a load reduction policy rule in the UPF 35. The load reduction policy rule comprises a criterion for identifying one or more users subject to the load reduction policy rule.

[0111]

According to some other embodiments of the hardware illustrated in FIG. 6, the network node 500 is a UPF 35 in a wireless communication network 10. In some such embodiments, the processing circuitry 710 is configured to send a load report via the interface circuitry 520 to an SMF 45, and receive a load reduction policy rule via the interface circuitry 520 in response. The load reduction policy rule comprises a criterion for identifying one or more users subject to the load reduction policy rule. The processing circuitry 520 is further configured to selectively apply the load reduction policy rule to user plane traffic of the one or more users based on the criterion.

[0112]

Other embodiments include the computer program 550. The computer program comprises instructions which, when executed on processing circuitry 510 of a network node 500 cause the processing circuitry 510 to carry out any of the methods and/or processing described above (e.g., the method 200).

[0113]

Other embodiments include a carrier containing the computer program 550. The carrier is one of an electronic signal, optical signal, radio signal, or computer readable storage medium. In some particular embodiments, the computer readable storage medium is non-transitory.

[0114]

The present invention may, of course, be carried out in other ways than those specifically set forth herein without departing from essential characteristics of the invention. The present embodiments are to be considered in all respects as illustrative and not restrictive, and all changes coming within the meaning and equivalency range of the appended claims are intended to be embraced therein.

Как компенсировать расходы
на инновационную разработку
Похожие патенты