The present disclosure provides a method of managing thermal loads in the powertrain of an electric vehicle and controlling various electronic components of a powertrain thermal management system. The method may include heating a coolant of a powertrain coolant loop utilizing waste heat from a liquid-cooled powertrain component (e.g., an electric motor, a DC-DC converter, etc.), measuring a coolant temperature, and utilizing combined feedforward and feedback control methods for different components (pump(s), radiator fan(s), valve(s)) of the powertrain thermal management system.
1. A method of managing thermal loads in an electric vehicle, the method comprising:
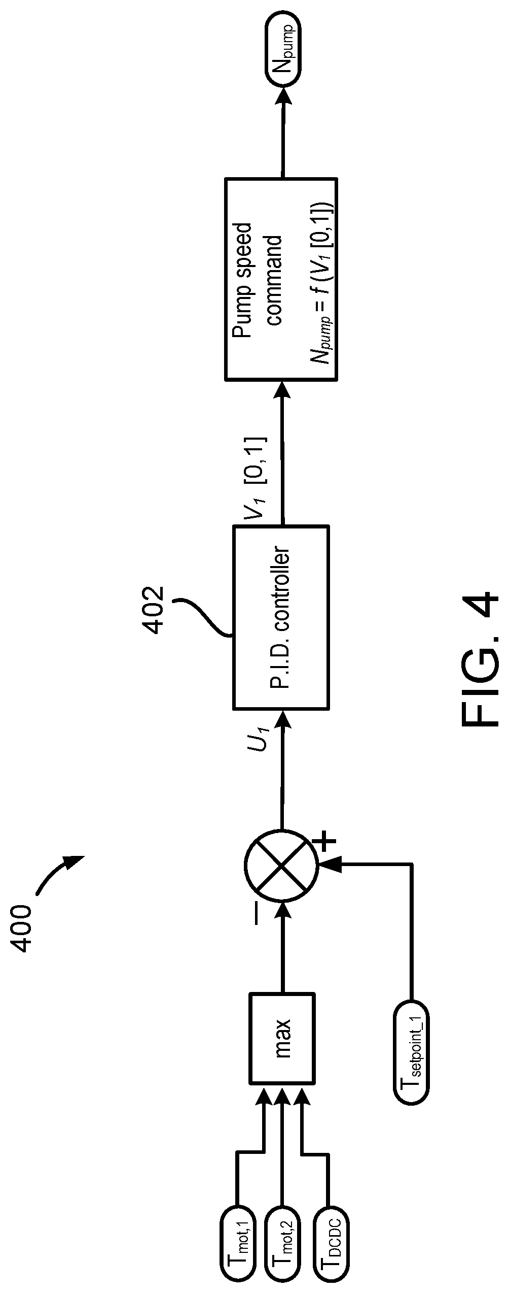
heating a coolant of a powertrain coolant loop utilizing waste heat from at least one of an electric motor or a DC-DC converter; measuring a first coolant temperature; measuring an ambient air temperature; calculating a coolant flow rate of the coolant; calculating a powertrain heat generation; calculating a feedback portion of a fan speed command using the first coolant temperature; calculating a feedforward portion of the fan speed command using the ambient air temperature, the coolant flow rate of the coolant, and the powertrain heat generation; and controlling a fan speed of a radiator fan for the powertrain coolant loop based upon the feedback portion of the fan speed command and the feedforward portion of the fan speed command. 2. The method of 3. The method of 4. The method of 5. The method of measuring a second coolant temperature downstream from the DC-DC converter; measuring a third coolant temperature downstream from the electric motor; performing a proportional-integral-derivative (PID) control using a maximum value of the second coolant temperature and the third coolant temperature to generate a PID output variable; and calculating a pump speed command using the PID output variable and at least one of a lookup table or a polynomial expression. 6. The method of 7. The method of 8. The method of measuring a second coolant temperature at an outlet of the DC-DC converter; calculating a difference between a DC-DC outlet temperature setpoint and the second coolant temperature to calculate an error value; performing a proportional-integral-derivative (PID) control using the error value to generate a PID output variable; calculating a flow split valve command using the PID output variable and at least one of a lookup table or a polynomial expression; and controlling a position of the flow split valve based upon the flow split valve command to regulate a flow of the coolant through the DC-DC converter. 9. A method of managing thermal loads in an electric vehicle, the method comprising:
heating a coolant of a powertrain coolant loop utilizing waste heat from at least one of an electric motor or a DC-DC converter; measuring a first coolant temperature; calculating a difference between a pump outlet coolant temperature setpoint and the first coolant temperature to calculate a first error value; performing a proportional-integral-derivative (PID) control using the first error value to generate a PID output variable; calculating a feedback portion of a fan speed command using the PID output variable and at least one of a lookup table or a polynomial expression; and controlling a fan speed of a radiator fan for the powertrain coolant loop based upon the feedback portion of the fan speed command. 10. The method of measuring an ambient air temperature; calculating a coolant flow rate of the coolant; calculating a powertrain heat generation; calculating a radiator temperature differential by determining a difference between a radiator inlet coolant temperature setpoint and the measured ambient air temperature; calculating a desired radiator air flow using the radiator temperature differential, the powertrain heat generation, and the coolant flow rate; calculating a feedforward portion of the fan speed command using a vehicle speed and the desired radiator air flow; and controlling the fan speed of the radiator fan for the powertrain coolant loop further based upon the feedforward portion of the fan speed command. 11. The method of 12. The method of 13. The method of 14. The method of 15. The method of 16. A thermal management system for an electric vehicle, comprising:
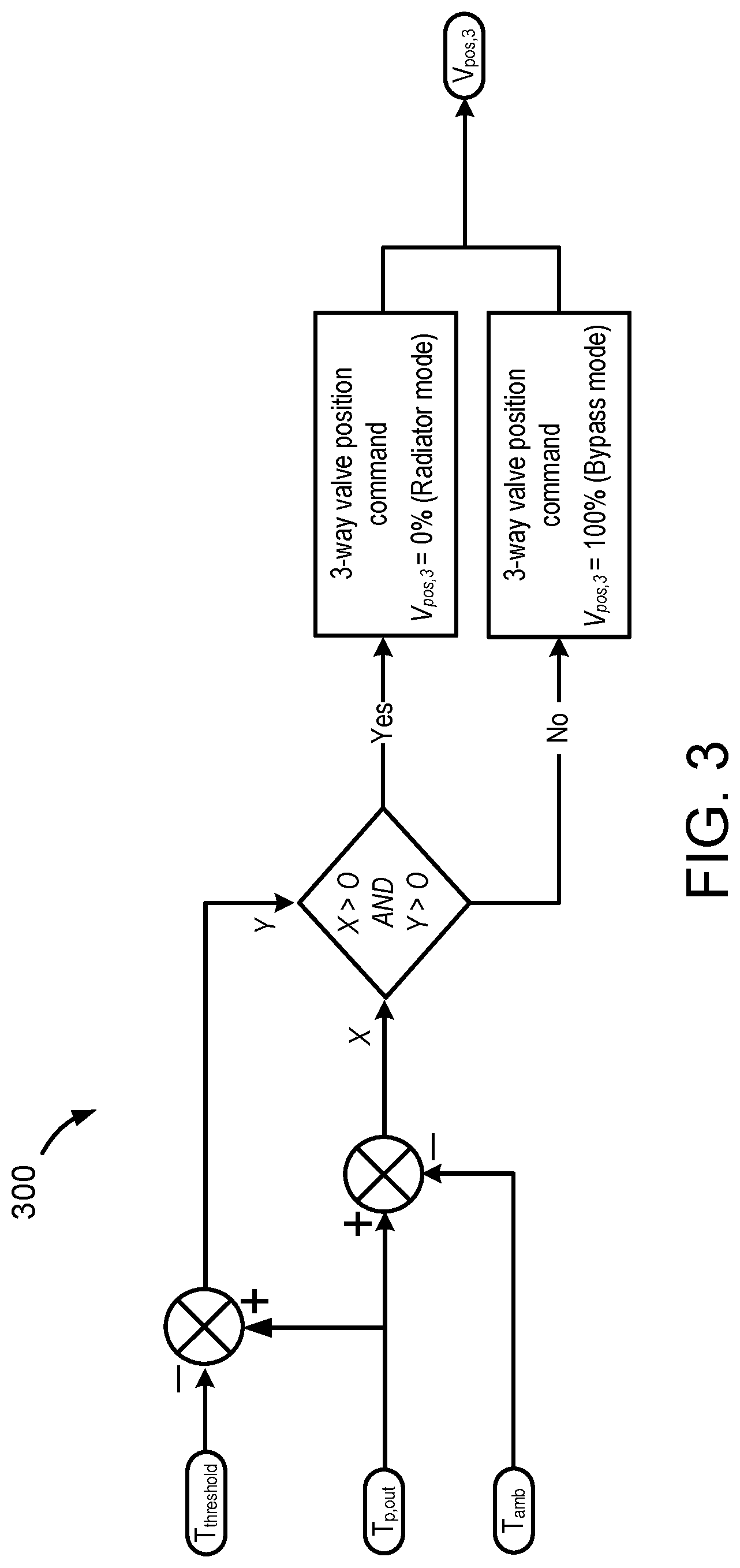
an electric motor; a DC-DC converter fluidly coupled in parallel with respect to the electric motor; a radiator fluidly coupled to the electric motor and the DC-DC converter; a radiator fan; a bypass valve fluidly coupled to the radiator; a coolant pump fluidly coupled to the bypass valve; a flow split valve fluidly coupled in series with the DC-DC converter; and a controller in electronic communication with the radiator fan, wherein the controller is configured to utilize both a feedforward control of the radiator fan and a feedback control of the radiator fan, wherein, in a radiator mode position, the bypass valve is configured to route a coolant through the radiator, and, in a bypass mode position, the bypass valve is configured to route the coolant to bypass the radiator. 17. The thermal management system of 18. The thermal management system of 19. The thermal management system of an inverter for the electric motor; an air compressor; a brake resistor controller; and an expansion tank. 20. The thermal management system of control a position of the bypass valve based upon a coolant temperature at an outlet of the coolant pump; control a position of the flow split valve based upon a coolant temperature at an outlet of the DC-DC converter; and regulate a speed of the coolant pump based upon a coolant temperature at an outlet of the electric motor and the coolant temperature at the outlet of the DC-DC converter.
This application claims priority to, and the benefit of, U.S. Provisional Patent Application No. 63/375,478 filed on Sep. 13, 2022 entitled “SYSTEMS AND METHODS FOR ELECTRIC VEHICLE POWERTRAIN THERMAL MANAGEMENT AND CONTROL.” The disclosure of the foregoing application is incorporated herein by reference in its entirety, including but not limited to those portions that specifically appear hereinafter, but except for any subject matter disclaimers or disavowals, and except to the extent that the incorporated material is inconsistent with the express disclosure herein, in which case the language in this disclosure shall control. The present disclosure relates to thermal management systems, and more particularly, to thermal management control systems for electric vehicles. Fuel cell electric vehicles (FCEVs) utilize multiple fuel cells, combined in what is known as a fuel cell stack, to generate an electric current to power one or more system components to operate the vehicle. For example, the electric current generated by the fuel cell stack may be used to charge an onboard battery system that may be used to power one or more electric motors to drive the vehicle's wheels as well as power multiple other electrically operated systems of the vehicle. Similarly, modern battery electric vehicles (BEVs) also include a battery system capable of storing energy to be used to power the electric vehicle. For example, electric current provided to the battery system by an electrical grid may be used to power one or more electric motors to drive the vehicle's wheels as well as power other electrically operated systems of the vehicle. In electric vehicles (FCEVs and/or BEVs), various powertrain components (e.g., electric motors among others) generate substantial waste heat. Accordingly, systems and methods that efficiently cool these powertrain components in order to maximize system lifespan and performance are desirable. A method of managing powertrain thermal loads in an electric vehicle is disclosed, including heating a coolant of a powertrain coolant loop utilizing waste heat from an electric motor and/or a DC-DC converter, measuring a first coolant temperature, measuring an ambient air temperature, calculating a coolant flow rate of the coolant, calculating a powertrain heat generation, calculating a feedback portion of a fan speed command using the first coolant temperature, calculating a feedforward portion of the fan speed command using the ambient air temperature, the coolant flow rate of the coolant, and the powertrain heat generation, and controlling a fan speed of a radiator fan for the powertrain coolant loop based upon the feedback portion of the fan speed command and the feedforward portion of the fan speed command. The coolant flow rate may be calculated using a pump speed of a coolant pump, a flow split valve position, and a bypass valve position. The powertrain heat generation may be calculated using a speed of the electric motor and a torque of the electric motor. The controlling the fan speed may comprise sending the fan speed command to the radiator fan, wherein the fan speed command comprises a sum of the feedback portion of the fan speed command and the feedforward portion of the fan speed command. The method may further comprise measuring a second coolant temperature downstream from the DC-DC converter, measuring a third coolant temperature downstream from the electric motor, performing a proportional-integral-derivative (PID) control using a maximum value of the second coolant temperature and the third coolant temperature to generate a PID output variable, and calculating a pump speed command using the PID output variable and at least one of a lookup table or a polynomial expression. In various embodiments, the powertrain heat generation may be calculated further using a speed of a second electric motor and a torque of the second electric motor. The bypass valve may be located downstream from the radiator and upstream from the electric motor; though in various embodiments the bypass valve is located upstream from the radiator. The method may further comprise sending the pump speed command to a coolant pump to regulate a flow of the coolant. The powertrain coolant loop may comprise a flow split valve, and the method may further comprise measuring a second coolant temperature at an outlet of a DC-DC converter, calculating a difference between a DC-DC outlet temperature setpoint and the second coolant temperature to calculate an error value, performing a proportional-integral-derivative (PID) control using the error value to generate a PID output variable, calculating a flow split valve command using the PID output variable and at least one of a lookup table or a polynomial expression, and controlling a position of the flow split valve based upon the flow split valve command to regulate a flow of the coolant through the DC-DC converter. A method of managing thermal loads in an electric vehicle is disclosed, including heating a coolant of a powertrain coolant loop utilizing waste heat from an electric motor and/or a DC-DC converter, measuring a first coolant temperature, calculating a difference between a pump outlet coolant temperature setpoint and the first coolant temperature to calculate a first error value, performing a proportional-integral-derivative (PID) control using the first error value to generate a PID output variable, calculating a feedback portion of a fan speed command using the PID output variable and at least one of a lookup table or a polynomial expression, and controlling a fan speed of a radiator fan for the powertrain coolant loop based upon the feedback portion of the fan speed command. The method may further comprise measuring an ambient air temperature, calculating a coolant flow rate of the coolant, calculating a powertrain heat generation, calculating a radiator temperature differential by determining a difference between a radiator inlet coolant temperature setpoint and the measured ambient air temperature, calculating a desired radiator air flow using the radiator temperature differential, the powertrain heat generation, and the coolant flow rate, calculating a feedforward portion of the fan speed command using a vehicle speed and the desired radiator air flow, and controlling the fan speed of the radiator fan for the powertrain coolant loop further based upon the feedforward portion of the fan speed command. The method may further comprise calculating the fan speed command by adding the feedforward portion of the fan speed command to the feedback portion of the fan speed command. The method may further comprise applying a low pass filter to the feedforward portion of the fan speed command before the feedforward portion of the fan speed command is added to the feedback portion of the fan speed command. The first coolant temperature may be measured at an outlet of a coolant pump. The coolant flow rate may be calculated using a pump speed of a coolant pump, a flow split valve position, and a bypass valve position. The powertrain heat generation may be calculated using a speed of the electric motor and a torque of the electric motor. A thermal management system for an electric vehicle is disclosed, comprising an electric motor, a DC-DC converter fluidly coupled in parallel with respect to the electric motor, a radiator fluidly coupled to the electric motor and the DC-DC converter, a radiator fan, a bypass valve fluidly coupled to the radiator, a coolant pump fluidly coupled to the bypass valve, a flow split valve fluidly coupled in series with the DC-DC converter, and a controller in electronic communication with the radiator fan, wherein the controller is configured to utilize both a feedforward control of the radiator fan and a feedback control of the radiator fan. In a radiator mode position, the bypass valve is configured to route a coolant through the radiator. In a bypass mode position, the bypass valve is configured to route the coolant to bypass the radiator. In various embodiments, the controller utilizes the feedforward control by receiving an ambient air temperature, a coolant flow rate of the coolant, and a powertrain heat generation for controlling the radiator fan. The controller may utilize the feedback control by receiving a coolant temperature from a coolant temperature sensor for controlling the radiator fan. The thermal management system may further comprise an inverter for the electric motor, an air compressor, a brake resistor controller, and an expansion tank. The controller may be further configured to control a position of the bypass valve based upon a coolant temperature at an outlet of the coolant pump, control a position of the flow split valve based upon a coolant temperature at an outlet of the DC-DC converter, and regulate a speed of the coolant pump based upon a coolant temperature at an outlet of the electric motor and the coolant temperature at an outlet of the DC-DC converter. The contents of this section are intended as a simplified introduction to the disclosure and are not intended to limit the scope of any claim. The foregoing features and elements may be combined in various combinations without exclusivity, unless expressly indicated otherwise. These features and elements as well as the operation thereof will become more apparent in light of the following description and the accompanying drawings. It should be understood, however, the following description and drawings are intended to be exemplary in nature and non-limiting. The accompanying drawings are included to provide a further understanding of the present disclosure and are incorporated in, and constitute a part of, this specification, illustrate various embodiments, and together with the description, serve to explain exemplary principles of the disclosure. The detailed description of various embodiments herein makes reference to the accompanying drawings, which show various embodiments by way of illustration. While these various embodiments are described in sufficient detail to enable those skilled in the art to practice the disclosure, it should be understood that other embodiments may be realized and that logical chemical, electrical, and mechanical changes may be made without departing from the spirit and scope of the disclosure. Thus, the detailed description herein is presented for purposes of illustration only and not of limitation. For example, the steps recited in any of the method or process descriptions may be executed in any suitable order and are not necessarily limited to the order presented. Furthermore, any reference to singular includes plural embodiments, and any reference to more than one component or step may include a singular embodiment or step. Also, any reference to attached, fixed, connected, or the like may include permanent, removable, temporary, partial, full, and/or any other possible attachment option. Additionally, any reference to without contact (or similar phrases) may also include reduced contact or minimal contact. For example, in the context of the present disclosure, methods, systems, and articles may find particular use in connection with electric vehicles, fuel cell electric vehicles, battery electric vehicles, compressed natural gas (CNG) vehicles, hythane (mix of hydrogen and natural gas) vehicles, and/or the like. However, various aspects of the disclosed embodiments may be adapted for performance in a variety of other systems. Further, in the context of the present disclosure, methods, systems, and articles may find particular use in any system requiring use of liquid-cooled powertrain components such as electric motors, electric power control components (e.g., converters and/or inverters), and/or thermal management system(s) of the same. As such, numerous applications of the present disclosure may be realized. The following nomenclature in Table 1, Table 2, and Table 3 corresponds to measured parameters, controlled parameters, and selected parameters, respectively, described in the present disclosure: Modern electric vehicles may utilize various power sources to provide electric current to one or more electric motors configured to drive the vehicle's wheels. Among the types of electric vehicles currently being researched and developed at a wide scale are FCEVs and BEVs. Similar to traditional internal combustion engine vehicles (ICEVs), electric vehicles may generate large amounts of waste heat through the operation of various system components. For example, powertrain systems such as electric motors may generate waste heat as a result of losses within the winding(s), bearing losses, core losses, and/or circulation (windage) losses. Various other powertrain components (e.g., DC-DC converters and the like) may similarly generate waste heat. This additional heat can adversely impact the operation of the powertrain component and reduce the life thereof. Accordingly, modern electric vehicles are typically equipped with one or more thermal management systems capable of managing the operating temperatures of various system components. By increasing the thermal efficiency of the thermal management system, certain components of the thermal management system may require less power from on-board batteries. As a result, battery capacity may be preserved and instead be utilized for other desirable purposes, for example to increase vehicle range. Accordingly, with reference to With continued reference to In various embodiments, fuel cell stack 102 may comprise one or more fuel cells capable of facilitating an electrochemical reaction to produce an electric current. For example, the one or more fuel cells may be proton-exchange membrane (PEM) fuel cells which may receive a fuel source (such as diatomic hydrogen gas) which may react with an oxidizing agent (such as oxygen) to generate electricity with heat and water as byproducts. The fuel cells may be electrically coupled in series and/or parallel to increase voltage and/or current and form fuel cell stack 102. In various embodiments, fuel cell stack 102 may comprise fuel cells other than PEM fuel cells, for example, alkaline fuel cells, phosphoric acid fuel cells, molten carbonate fuel cells, solid oxide fuel cells, or any other suitable fuel cell type. Battery 104 may be a rechargeable, or secondary, battery configured to store energy from an external power source (for example, a charging station), from fuel cell stack 102, from a solar panel disposed on vehicle 100, and/or from regenerative braking or other applications. Battery 104 may release this stored energy in the form of electricity to power one or more electric motors 108 and/or to supply power to other vehicle components utilizing electricity to operate. For example, battery 104 and/or fuel cell stack 102 may power other vehicle components such as an air compressor 110, one or more inverters 111, one or more DC-DC converters 112, a brake resistor controller 114, and so forth. In various embodiments, battery 104 may be a lithium-ion battery; however, battery 104 is not limited in this regard and may comprise other rechargeable battery types such as a lead-acid battery, nickel-cadmium battery, nickel-metal hydride battery, lithium iron sulfate battery, lithium iron phosphate battery, lithium sulfur battery, solid state battery, flow battery, or any other type of suitable battery. Battery 104 may further comprise multiple battery cells coupled in series and/or parallel to increase voltage and/or current. The cells of battery 104 may comprise any suitable structure including cylindrical cells, prismatic cells, or pouch cells. Moreover, battery 104 may at least partially comprise other energy storage technologies such as an ultracapacitor. In various embodiments, vehicle 100 comprises a thermally managed powertrain arrangement, comprising one or more electric motors 108, air compressor 110, one or more inverters 111, one or more DC-DC converters 112, a brake resistor controller 114, and so forth, and which may be thermally regulated by a powertrain thermal management system 116. In various embodiments, powertrain thermal management system 116 includes one or more controllers (e.g., processors) and one or more tangible, non-transitory memories capable of implementing digital or programmatic logic. In various embodiments, for example, the one or more controllers are one or more of a general purpose processor, digital signal processor (DSP), application specific integrated circuit (ASIC), field programmable gate array (FPGA), or other programmable logic device, discrete gate, transistor logic, or discrete hardware components, or any various combinations thereof or the like. In various embodiments, as will be discussed in further detail below, powertrain thermal management system 116 is configured to monitor and/or manage temperatures of various powertrain components such as electric motors 108, air compressor 110, inverters 111, DC-DC converters 112, brake resistor controller 114, control electronics of the same, and/or other system components. For example, powertrain thermal management system 116, which can be in thermal communication with electric motors 108, air compressor 110, inverters 111, DC-DC converters 112, brake resistor controller 114, and other system components, may comprise one or more coolant loops configured to transfer thermal energy from areas of higher temperature to areas of lower temperature. With reference now to Powertrain thermal management system 200 comprises two types of components, thermally managed components and thermal-hydraulic components. The thermally managed components may include electric motors 232 (e.g., electric motor 232 In various embodiments, air compressor 220, brake resistor controller 222, flow split valve 224, and DC-DC converters 226 are fluidly connected along a first coolant flow path 291 in series. In various embodiments, inverter 230 To provide desirable cooling capacity for the powertrain components, the thermal-hydraulic electronic components are regulated using feedback and/or feedforward control methodology. Powertrain thermal management system 200 may be configured to remove waste heat from electric motors 232 and/or DC-DC converters 226, among other components, to ensure electric motors 232 and/or DC-DC converters 226 operate within a desired temperature range, for example for efficiency, safety, longevity, reliability, or other desirable purposes. This method may involve a coolant temperature sensor (Tp,out) at the outlet of the pump 218, coolant temperature sensors (Tmot,1and Tmot,2) at the outlet of each electric motor 232 With continued reference to With reference now to With reference now to With reference now to With reference now to With reference now to The feedback portion of the fan speed command may be regulated using a PID controller 802 based on feedback of the coolant temperature (Tp,out) at the outlet of the pump 218. The difference between a third coolant temperature setpoint/reference (e.g., Tsetpoint_3may be 60° C. or another suitable temperature as desired) and the measured temperature (Tp,out) at the pump 218 outlet is used as the error value (U3) for the PID controller. This error value (U3) may be minimized by the PID controller by adjusting and optimizing the PID output variable (V3) using proportional, integral, and/or derivative control actions. The output variable (V3) may be a value between 0 and 1. The output variable (V3) is then used to compute the feedback part of the radiator fan speed command (Nfan_fb), for example via a LUT or a polynomial expression. For the feedforward controller, a process model (e.g., a heat transfer model) may be used to correlate the effect of measured disturbances (e.g., electric motor speed and torque) on the controlled variable (fan speed). The measured electric motor speed and torque may be used to calculate the powertrain heat generation as previously described with respect to Benefits, other advantages, and solutions to problems have been described herein with regard to specific embodiments. Furthermore, the connecting lines shown in the various figures contained herein are intended to represent exemplary functional relationships and/or physical couplings between the various elements. It should be noted that many alternative or additional functional relationships or physical connections may be present in a practical system. However, the benefits, advantages, solutions to problems, and any elements that may cause any benefit, advantage, or solution to occur or become more pronounced are not to be construed as critical, required, or essential features or elements of the disclosure. The scope of the disclosure is accordingly to be limited by nothing other than the appended claims, in which reference to an element in the singular is not intended to mean “one and only one” unless explicitly so stated, but rather “one or more.” Moreover, where a phrase similar to “at least one of A, B, or C” or “at least one of A, B, and C” is used in the claims or disclosure, it is intended that the phrase be interpreted to mean that A alone may be present in an embodiment, B alone may be present in an embodiment, C alone may be present in an embodiment, or that any combination of the elements A, B and C may be present in a single embodiment; for example, A and B, A and C, B and C, or A and B and C. Different cross-hatching may be used throughout the figures to denote different parts but not necessarily to denote the same or different materials. Methods, systems, and articles are provided herein. In the detailed description herein, references to “one embodiment”, “an embodiment”, “various embodiments”, etc., indicate that the embodiment described may include a particular feature, structure, or characteristic, but every embodiment may not necessarily include the particular feature, structure, or characteristic. Moreover, such phrases are not necessarily referring to the same embodiment. Further, when a particular feature, structure, or characteristic is described in connection with an embodiment, it is submitted that it is within the knowledge of one skilled in the art to affect such feature, structure, or characteristic in connection with other embodiments whether or not explicitly described. After reading the description, it will be apparent to one skilled in the relevant art(s) how to implement the disclosure in alternative embodiments. Furthermore, no element, component, or method step in the present disclosure is intended to be dedicated to the public regardless of whether the element, component, or method step is explicitly recited in the claims. No claim element herein is intended to invoke 35 U.S.C. 112(f) unless the element is expressly recited using the phrase “means for.” As used herein, the terms “comprises”, “comprising”, or any other variation thereof, are intended to cover a non-exclusive inclusion, such that a process, method, article, or apparatus that comprises a list of elements does not include only those elements but may include other elements not expressly listed or inherent to such process, method, article, or apparatus.CROSS-REFERENCE TO RELATED APPLICATION
TECHNICAL FIELD
BACKGROUND
SUMMARY
BRIEF DESCRIPTION OF THE DRAWINGS
DETAILED DESCRIPTION
Sensor Measurements Measurement Sensor Description Tmot, 1 Coolant temperature at outlet of E-motor 1 (° C.) Tmot, 2 Coolant temperature at outlet of E-motor 2 (° C.) TDCDC Coolant temperature at outlet of DC-DC converter (° C.) Tp, out Coolant temperature at outlet of pump (° C.) Tamb Ambient temperature (° C.) Speedmot, 1 E-motor 1 speed (RPM) Torquemot, 1 E-motor 1 torque (N-m) Speedmot, 2 E-motor 2 speed (RPM) Torquemot, 2 E-motor 2 torque (N-m) Speedveh Vehicle speed (kph) Controlled Parameters Controlled Parameter Description Nfan Radiator fan speed (RPM) Npump Powertrain loop pump speed (RPM) Vpos, 2 Flow split (2-way) valve (%) Vpos, 3 Bypass (3-way) valve (%) Selected/Calculated Parameters Selected/Calculated Parameter Description Tthreshold Threshold coolant temperature (° C.) Tsetpoint Component outlet temperature setpoint (° C.) Tsetpoint DC-DC outlet temperature setpoint (° C.) Tsetpoint Pump outlet temperature setpoint (° C.) Qpowertrain Powertrain heat generation (kW) Vcoolant Powertrain loop coolant flow (LPM) Vair Desired radiator air flow (LPM)