An automated electric portable friction welding system is disclosed for friction welding a fixture onto a substrate, the welding system having a linear actuator received to produce a defined stroke within a tool housing and a rotary motor engaged to said linear actuator to slide therewith. A control module controls welding operations as a function of encoded instructions and the sensor data from the linear actuator and the rotary motor, whereby the control module affords both active control of the linear actuator and rotary motor, individually to performance parameter instructions, and in coordination through phases of the weld process in response to linear actuator operation sensors and motor operation sensors. Another feature of some embodiments of the present invention is a portable friction welding network and a method for supporting portable friction welding on the cloud.
1. An automated friction welding system for friction welding a fixture onto a substrate at an interface between the fixture and the substrate using an electric power system, said system comprising:
a friction welding tool operably connectable to the power system, said friction welding tool comprising:
a tool housing; a linear actuator received in an axially slidable relation to produce a defined stroke within the tool housing; a rotary motor disposed in the tool housing and engaged to said linear actuator to slide therewith; a collet configured to receive the fixture; a control system, comprising:
one or more motor operation sensor(s) and one or more linear actuator operation sensor(s), each capable of producing an operations sensor output; a control module, comprising:
a central processing unit; read only memory; a set of firmware instruction installed on the read only memory; read access memory that can receive job instructions; a sensor controller connected to receive the operations sensor output from the linear actuator operation sensor(s) and the motor operation sensor(s); a welder controller with outputs connected to the linear actuator and the rotary motor; whereby the control module affords both active control of the linear actuator and rotary motor, individually to performance parameter instructions, and in coordination through phases of the weld process in response to the operations sensor output from linear actuator operation sensors and motor operation sensors. 2. An automated friction welding system in accordance with the one or more motor operation sensor(s) are selected from a group comprising rpm, torque, heat, humidity and power consumption; and the one or more linear actuator operation sensor(s) are selected from a group comprising forging force, length of stroke, velocity of stroke, heat, humidity, and power consumption. 3. An automated friction welding system in accordance with one or more environmental sensors selected from the group comprising ultrasonic transducers, cameras, proximity sensors, temperature sensors, depth sensors and metallurgical identification, the environmental sensors being in communication with the control module and capable of producing an environmental sensor output; and an input/output provision through which any additional data necessary to identify appropriate job instructions to be loaded into the control module; whereby the environmental conditions at the weld location are identified for controlling the weld operations and completed weld may be inspected and evaluated at the time of the weld. 4. An automated friction welding system in accordance with a remote server system; and a library of possible job instructions stored on the server. 5. An automated friction welding system in accordance with 6. An automated friction welding system in accordance with an external production system connectable for communication with the control module for both uploads and downloads, comprising:
welder device APIs through which the external production system can communicate with the portable friction welding tool; external welder application software; external welder process instructions engine; and external security API protecting the external production system; an internal production system, comprising:
internal production system welder application software; internal production system welder process instructions engine; internal production system security API; and provisions for a vetting process through which data uploaded from the control module of the friction welder to the external production system is qualified and uploaded to the internal production system and through which internal production system welder application software and internal production system welder process instructions engines are qualified and downloaded to the external production system for accessibility to the control module of the portable friction welding tool. 7. An automated friction welding system in accordance with 8. An automated friction welding system in accordance with 9. An automated friction welding system in accordance with 10. An automated friction welding system in accordance with 11. An automated friction welding system in accordance with 12. An automated friction welding system in accordance with 13. A modular automated friction welding system mountable in a host vehicle system for friction welding a fixture onto a substrate at an interface between the fixture and the substrate using an electric power system, said portable friction welding system comprising:
a portable friction welding tool operably connectable to the power system, said portable friction welding tool comprising:
a tool housing; a linear actuator received in an axially slidable relation to produce a defined stroke within the tool housing; a rotary motor disposed in the tool housing and engaged to said linear actuator to slide therewith; a collet configured to receive the fixture; a control system, comprising:
one or more motor operation sensor(s); one or more linear actuator operation sensor(s); a control vehicle PFW module, comprising:
a central processing unit; read only memory; a set of firmware instruction installed on the read only memory; read access memory that can receive job instructions; a sensor controller connected to receive input from the linear actuator operation sensor(s) and the motor operation sensor(s); a welder controller with outputs connected to the linear actuator and the rotary motor; whereby the vehicle PFW control module affords both active control of the linear actuator and rotary motor, individually to performance parameter instructions, and in coordination through phases of the weld process in response to linear actuator operation sensors and motor operation sensors; an intermediary relay station engagable for communication with the vehicle PFW control module; and a remote server engable for communication with the intermediary relay station. 14. A modular automated portable friction welding system in accordance with 15. A modular automated portable friction welding system in accordance with 16. A portable friction welding network for a fleet of portable friction welding tools, said network comprising:
a plurality of operator networks, each operator network employing one or more portable friction welding tools within the fleet; an external production system on a remote server, the external production system comprising:
a suite of external production system welder application software; a welder device API through which the external production system is connectable to the fleet of portable friction welding tools for loading the welder application software of general-purpose instructions onto the fleet; an external production system welder process instructions engine which serves as a library of friction job specific welding recipes; an external production system security API through which each of the operator networks can download an applicable welding recipe for a specific job. 17. A portable friction welding network in accordance with a partition of memory in the external production system loaded on the remote server whereby each operator network uploads the job experience of that operator network for its private reference and it is not available to other operator networks unless it is vetted to be incorporated in generally available external production system. 18. A portable friction welding network in accordance with an internal production system comprising:
a suite of internal production system welder application software; an internal production welder process instructions engine which serves as a library of friction job specific welding recipes; and an internal production system security API; and a vetting process managing access between the Internal production system and the external production system; whereby data received in the external production system from the operator networks work experience is analyzed for consideration for entrance into the internal production system and modifications to the internal production system welder application software and weld recipes are developed and vetted in the internal production system and, if of general interest, released to the external production system for distribution to the fleet and operator networks. 19. A method for supporting portable friction welding operations, comprising:
engaging a fleet of portable friction welding tools; establishing a plurality of operator networks; creating an external production system on a remote server, the external production system having an external production system welder device API, an external production system suite of welder application software, an external production system welder process instructions engine containing a library of job specific welding recipes; and an external production system security API; creating an internal production system on the remote server, the internal production system having an internal production system suite of welder application software, an internal production system welder process instructions engine containing a library of job specific welding recipes; and an internal production system security API;
establishing an vetting process connecting the external production system and the internal production system; downloading the external production system welder application software onto the fleet of portable friction welding tools; downloading onto the portable friction welding tool of the operator network a job specific weld recipe of weld parameters suitable of conditions that are thought to characterize a given job from a library in the external production system welder process instructions engine; periodically uploading data from job histories to the external production system; and analyzing the data for broader applicability in a vetting process and communicating the data with potential to the internal production system, evaluating developments within the internal production software for effectiveness and applicability and bringing desired developments into the external production system where it will be available to operator networks and to the fleet of portable friction welders. 20. A method for supporting portable friction welding operations in accordance with 21. A method for supporting portable friction welding operations in accordance with 22. A method for supporting portable friction welding operations in accordance with 23. A method for supporting portable friction welding operations in accordance with 24. A method for supporting portable friction welding operations in accordance with 25. An automated portable friction welding system for mounting on a host vehicle and supported by a docking station and a remote server, said portable friction welding system operable to friction weld a fixture onto a substrate at an interface between the fixture and the substrate using an electric power system, said system comprising:
a portable friction welding tool mounted on the host vehicle, said portable friction welding tool comprising:
a tool housing; a linear actuator received in an axially slidable relation to produce a defined stroke within the tool housing; a rotary motor disposed in the tool housing and engaged to said linear actuator to slide therewith; a collet configured to receive the fixture; a control system, comprising:
one or more motor operation sensor(s); one or more linear actuator operation sensor(s); a vehicle control module carried on the host vehicle, comprising:
a VCM communication provision electrically connected to the main bus; a central processing electrically connected to the main bus unit; read only memory electrically connected to the main bus; a set of VCM firmware instruction installed on the read only memory; a VCM power management system electrically connected to the VCM main bus and electrically connectable to the vehicle power provisions; a sensor controller connected to receive input from the linear actuator operation sensor(s) and the motor operation sensor(s); a welder controller with outputs connected to the linear actuator and the rotary motor; a docking station PFW control module, comprising;
a DSCM main bus; a first DSCM communication provision electrically connected to the main bus and operably connectable to the VCM communication provision to upload job instructions to the VCM download data from the VCM communication provision when the host vehicle is docked at the docking station; a second DSCM communication provision electrically connected to the main bus and operably connectable to upload data to and download job instructions from the remote server; a DSCM storage device electrically connected to the main bus; a DSCM central processing unit electrically connected to the bus; a DSCM read only memory electrically connect to the main bus; a DSCM power management system electrically connected to the main bus and to the docking station vehicle power provisions; and a set of DSCM firmware instructions installed on the DSCM read only memory; whereby the control module affords both active control of the linear actuator and rotary motor, individually and in coordination, using sensor input to manage performance parameters downloadable from remote server, through the first and second DSCM communication provisions and the VCM communication provisions to the VCM read access memory and whereby data from operations is uploadable to the remote server through the first and second DSCM communication provisions and the VCM communication provisions. 26. An automated portable friction welding system in accordance with 27. An automated portable friction welding system in accordance with 28. An automated portable friction welding system in accordance with 29. An automated portable friction welding system in accordance with 30. An automated portable friction welding system in accordance with 31. An automated portable friction welding system in accordance with 32. A method for friction stud welding in the field, said method comprising:
deploying a friction welding tool having a control module, a rotary motor, a forging force actuator and an array of operational sensors monitoring a predetermined set of variables regarding the operation of the motor and the forging force actuator; matching a weld plan defined by operational values in the predetermined set of variables to a combination of stud size, stud material, substrate material, and environmental conditions and uploading weld plan to the control module; conducting a friction stud welding cycle moderated through the control module using the weld plan and feedback from the array of operational sensors. 33. A method for friction stud welding in the field in accordance with 34. A method for friction stud welding in the field in accordance with 35. A method for friction stud welding in the field in accordance with matching a weld plan further comprises defining characteristics for an optimized weld; conducting the friction stud welding cycle further moderated with AI pursuing the optimized weld.
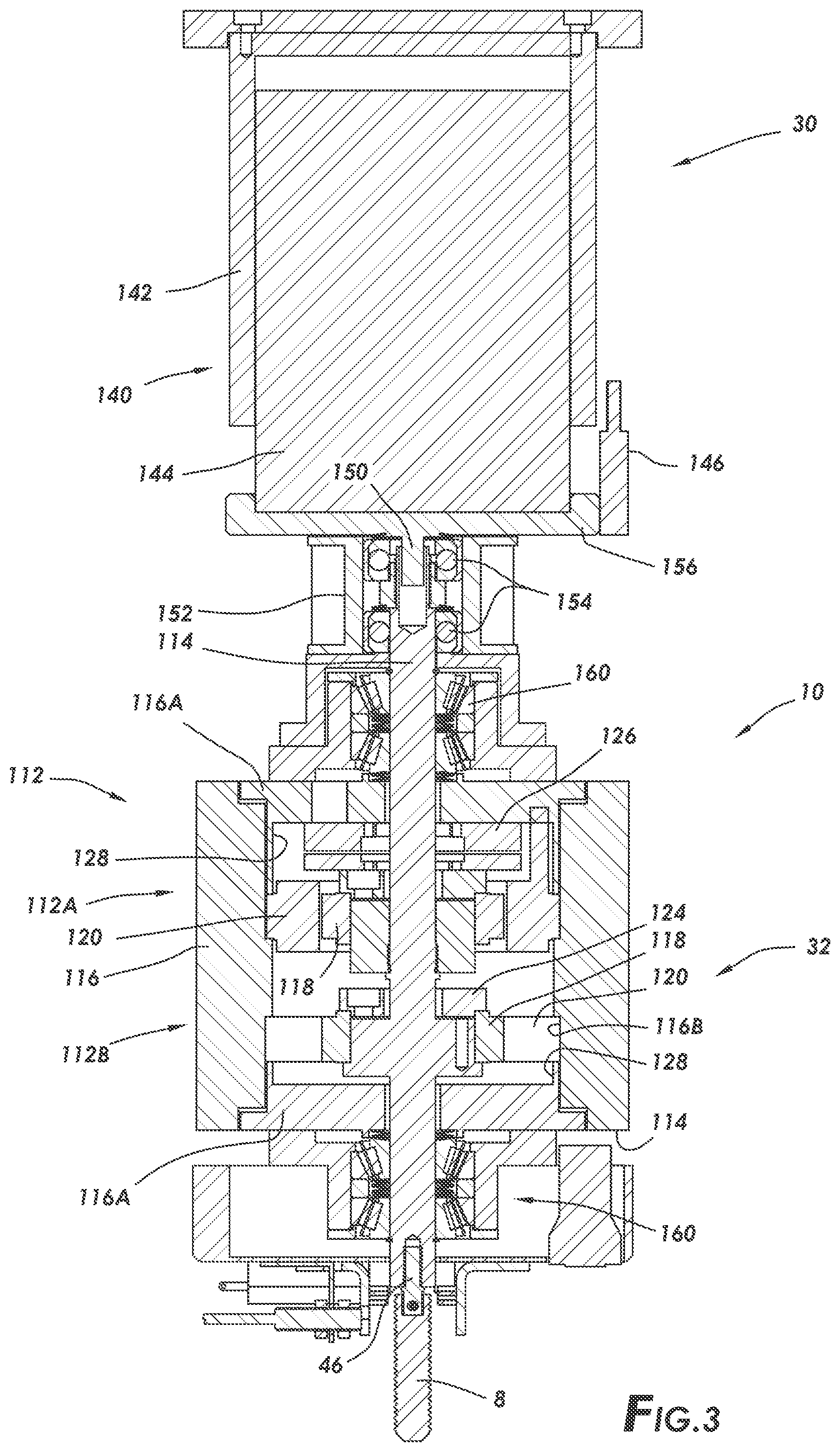
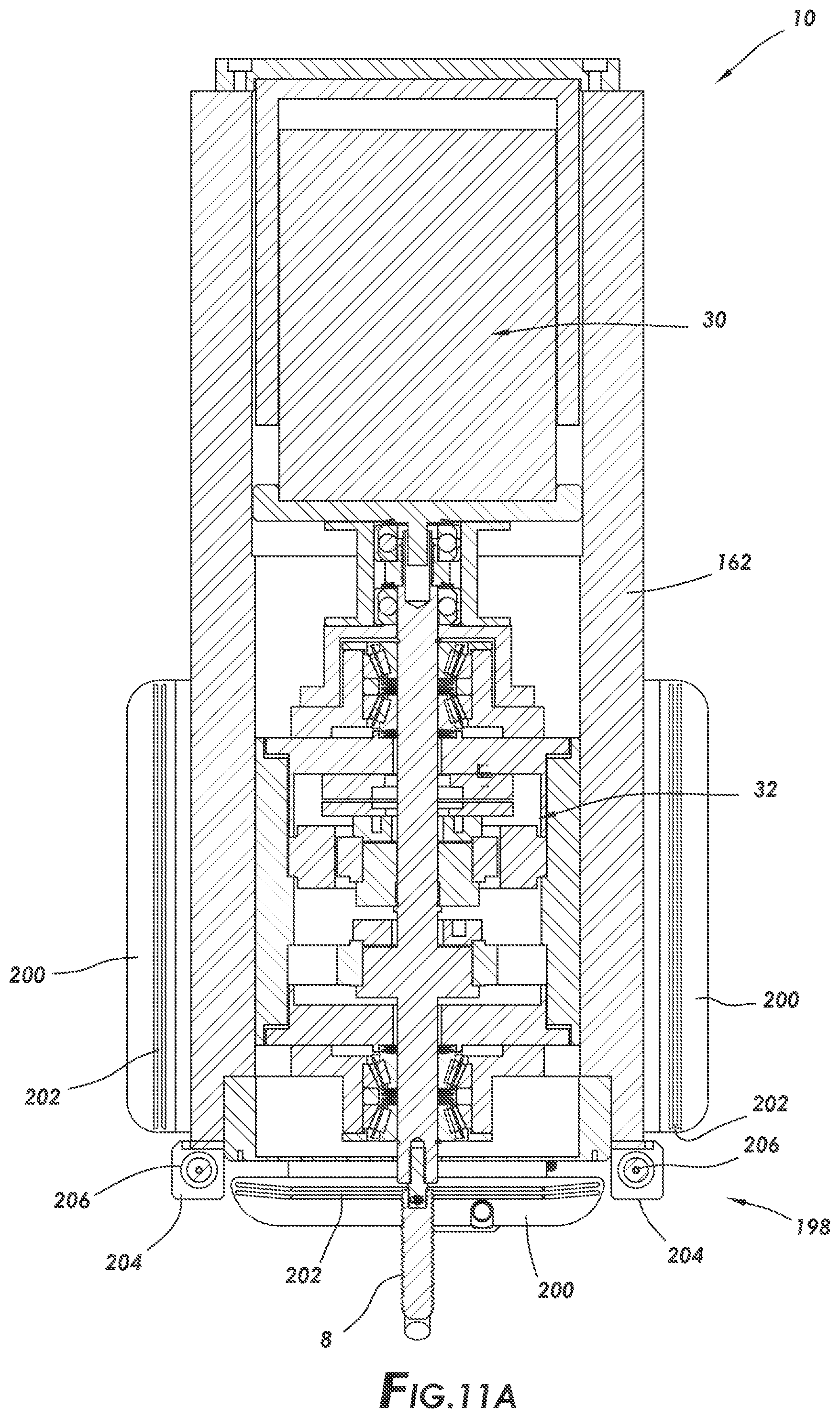
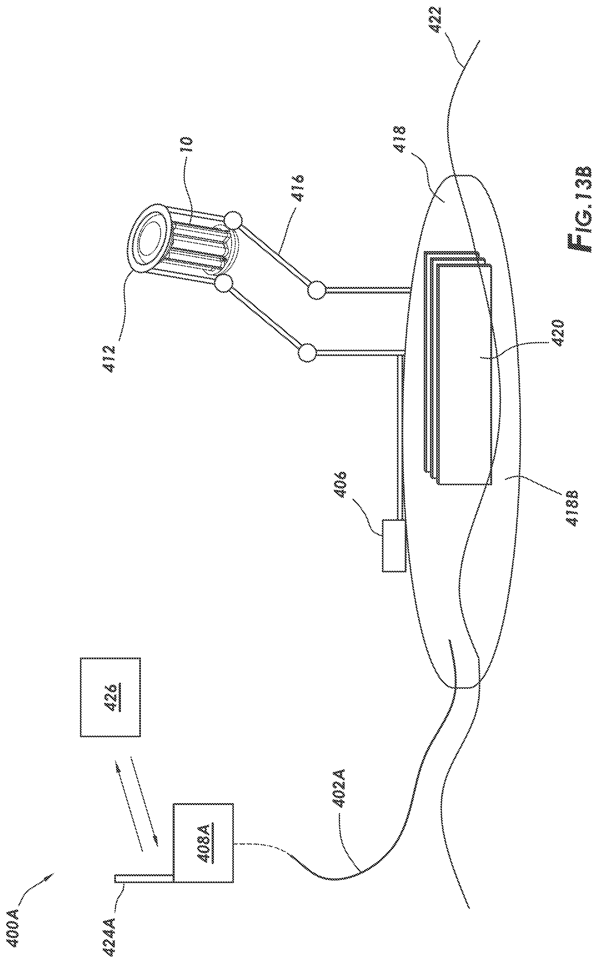
This application claims the benefits of the filing date of U.S. provisional application Ser. No. 63/126,507, filed by Griffin et al on Dec. 16, 2020 for An Electric Portable Friction Welding System and Enhanced Method of Operation. The present invention relates to a system, method and components for joining a workpiece to a substrate, and more particularly, to an electric portable or modular friction welding system, its components, and enhanced methods of operation and application. The present invention supports installation, fabrication and repair operations relying on the installation of fastening elements to a substrate. Such engineered fastening elements (also called workpieces, fittings or fixtures) include, for example, externally threaded studs, internally threaded bosses, bolts and other fittings. There are a number of drawbacks to installing such fixtures through conventional mechanical means. For instance, drilling and tapping takes time, and in many cases it is not possible to drill through a substrate and aligning pre-drilled holes may cause problems. And legacy/conventional welding applications use exposed flame, arc or electrical discharge which create an ignition hazard and may not be practical in areas where combustible gases are present due to the inherent danger of fire or explosion. In addition, the heat generated through such processes may lead to a loss of structural integrity in the bond or adjacent material and may compromise coatings and liners on both the face and back sides of the substrate. Further, material compatibility is another area of concern, e.g., in materials that are difficult themselves or in material combinations that are problematic. While some of these challenges can be tackled on occasion by those of highly specialized skill, much of this remains a difficult area frequently subject to inconsistent and unsatisfactory results at the hands of the common skill levels readily available in the general welding trade applying conventional tools and methods. Portable friction welding has proven potential for addressing these challenges and providing efficient, consistent, high quality welds installing fixtures to a substrate. Broadly, friction welding is a process for joining materials using a combination of pressure and movement to create friction at the interface of a fixture to be installed and a substrate. Friction induces very localized heating from rotating a fixture held against a substrate to which it is being joined. After the material at this intersection has plasticized, rotation stops and forging force holds the fixture against the substrate until the localized plasticized material solidifies and the weld is complete. Despite great potential, various challenges have limited the widespread adoption across industry. First, power requirements in high pressure pneumatic and/or hydraulics was inhibiting, though substantially alleviated with the development of all pneumatic portable friction welding tools capable of operating at pressures commonly available in a number of industrial settings. See U.S. Pat. No. 5,699,952, issued Dec. 23, 1997, for an Automated Fusion Bonding Apparatus. Further, the success of these tools was limited by excessive reliance on highly specialized skilled labor and improvements in automating the use of portable friction welding systems was required to bring the capability for efficient, consistent, high-quality welding to tradesmen requiring less, more modest, specialized training over that which defines ordinary skill in the welding arts. See the application of Fix et al, for An Improved Automated Portable Friction Welding System and Method of Operation, international application number PCT/US2020/019483, with an international filing date of Feb. 24, 2020, and now published as WO2020/176406. The specification of PCT/US2020/019483 and publication WO2020/176406 are hereby incorporated by reference. Solving these issues has brought a robust capability to many applications. However, yet broader adoption to other applications would be better served by a new generation of portable friction welding systems characterized by a modular, application agnostic, portable friction welding tools suitable for deployment in the field or other application where portability allows the welding tool to be brought to the substrate. This would facilitate easy installation into application specific hardware for delivery and operations, e.g., host vehicles such as remotely operated vehicles (ROVs) for terrestrial and underwater applications, autonomous vehicles for terrestrial application, underwater vehicles (AUVs), unmanned aerial vehicles (UAVs or drones), or vehicles for deployment in space, as well as other robotic applications or the like. Further, the convenience of using electricity, the flexibility of greater programmability, and the incorporation of cutting-edge dynamic control and optimization adaptable to the needs of any given application can further enhance smart embodiments of this next generation portable friction welding system. Therefore, there remains a substantial need for an improved portable welding system, tool and method to more broadly and successfully bring the full benefits of portable friction stud welding to industry. To achieve these and other advantages in accordance with the purposes of the present invention, as embodied and broadly described herein, the present invention relates, in part, to an automated electric portable friction welding system for friction welding a fixture onto a substrate. More specifically, the present invention relates to an automated portable friction welding system for friction welding a fixture onto a substrate at an interface between the fixture and the substrate using an electric power system, said system comprising a portable friction welding tool operably connectable to the electric power system and comprising a tool housing; a linear actuator received in an axially slidable relation to produce a defined stroke within the tool housing; a rotary motor disposed in the tool housing and engaged to said linear actuator to slide therewith; a collet configured to receive the fixture; and a control system. The control system comprises one or more motor operation sensor(s); and a control module. The control module comprises a welder controller with inputs from the motor operation sensor(s) and the linear actuator operational sensors(s) and with outputs connected to the linear actuator and the rotary motor; processing hardware capable of receiving and storing welding design models in the form of encoded instructions and receiving input from the motor operation sensor(s) and the linear actuator operation sensor(s) to control welding operations as a function of the sensor input and encoded instructions of a selected welding design model whereby the control module affords both active control of the linear actuator and rotary motor, individually, to performance parameter instructions specified in the welding sign model, and in coordination through phases of the weld process in response to linear actuator operation sensors and motor operation sensors. Another feature of some embodiments of the present invention is a portable friction welding network for a fleet of portable friction welding tools, said network having a plurality of operator networks, each operator network employing one or more portable friction welding tools within the fleet and an external production system on a remote server. The external production system has a suite of external production system welder application software, a welder device API through which the external production system is connectable to the fleet of portable friction welding tools for loading the welder application software of general-purpose instructions onto the fleet, an external production system welder process instructions engine which serves as a library of friction job specific welding recipes, and an external production system security API through which each of the operator networks can download an applicable welding recipe for a specific job. Yet other embodiments for practicing a portable friction welding operation addresses a method for supporting portable friction welding operations, comprising: engaging a fleet of portable friction welding tools; establishing a plurality of operator networks; and creating an external production system on a remote server, the external production system having an external production system welder device API, an external production system suite of welder application software, an external production system welder process instructions engine containing a library of job specific welding recipes; and an external production system security API. An internal production system is created on the remote server with an internal production system suite of welder application software, an internal production system welder process instructions engine containing a library of job specific welding recipes, and an internal production system security API. A vetting process is established connecting the external production system and the internal production system. The external production system welder application software is downloaded onto the fleet of portable friction welding tools and a job specific weld recipe of weld parameters suitable of conditions that are thought to characterize a given job is downloaded onto the portable friction welding tool of the operator network a from a library in the external production system welder process instructions engine. Data from job histories are periodically loaded to the external production system and the data is analyzed for broader applicability in a vetting process and communicating the data with potential to the internal production system. Developments within the internal production software is analyzed for effectiveness and applicability and bringing desired developments into the external production system where it will be available to operator networks and to the fleet of portable friction welders. And another embodiment addresses a method for friction stud welding in the field, said method comprising deploying a friction welding tool having a control module, a rotary motor, a forging force actuator and an array of operational sensors monitoring a predetermined set of variables regarding the operation of the motor and the forging force actuator. A well plan defined by operational values in the predetermined set of variables to a combination of stud size, stud material, substrate material, and environmental conditions is matched and the weld plan is uploaded to the control module. A friction stud welding cycle can then be conducted and moderated through the control module using the weld plan and feedback from the array of operational sensors. Additional features and advantages of the present invention will be set forth, in part, in the description that follows and, in part, will be apparent upon study of the description or can be learned by practice of the invention. The features and other advantages of the present invention will be realized by means of the elements and combinations particularly pointed out in the description and in the claims. It is to be understood that both the foregoing general description and the following detailed description are exemplary and explanatory only and are intended to provide a further explanation of the present invention, as claimed. The accompanying drawings, which are incorporated in and constitute a part of this application, illustrate features in various embodiments of the present invention and, together with the description, serve to explain the principles of the present invention. In different figures various features are often designated with identical reference numerals and related items are often designated with the same reference and with a letter suffix appended. It is to be understood that the apparatus and methods described herein may be implemented in various forms and those skilled at the art should appreciate that they can readily use the disclosed conception and specific illustrative embodiments as a basis for designing or modifying other structures for carrying out the same purposes of the present invention as defined by the patent claims. The detailed description describes several distinct embodiments, and it will be understood that not all of that detail, while exemplary, is essential to the claimed invention. Thus, other modifications, changes and substitutions are intended to the foregoing disclosure and, in some instances, some features of the invention will be employed without a corresponding use of other features. Accordingly, it is appropriate for the patent claims be construed broadly and, in a manner, consistent with the spirit and scope of the invention herein. Friction welding processes have been in use in factory settings for decades in extremely large, heavy bed lathe machines. More recently, portable friction welding devices have been developed to allow friction welding deployment in the field. Clamp 36 is a convenient place to mount a number of environmental sensors (“Se”) directed to what is external to housing 50, the environmental sensor suite is designated generally as 42B for parameters selected from a group comprising ultrasonic transducers, cameras, proximity sensors, temperature sensors, depth sensors and metallurgical identification and are in communication with the control module. It should be noted that some of the environmental parameters may serve multiple purposes. For instance, the ultrasonic transducer is used to determine whether substrate 14 has the structural integrity to receive a fixture; may determine the thickness of protective coating, rust or biofouling buildup that must be passed through to weld to the substrate; or may be used to evaluate the soundness of a weld just executed. In addition to sensor interrogation, the operator may use communication link 48 to input environmental data, e.g., metallurgy of the substrate and fixture into the data. It is also noted that a number of parameters may, depending upon context, act as both operational and environmental parameters. Any clamp operations parameters (“So”) applicable to the clamp, e.g., magnetic flux, pressure in the case of a vacuum clamp, strain indicative of reactive force being absorbed, and other sensors for operational parameters are generically designated here as sensor suite 42C. In this illustration, linear actuator 30 is a voice coil 30A deploying permanent magnetic field assembly 142 and coil assembly 144. Here, sensors 42A for operating parameters (“So”) associated with linear actuator 30 address parameters selected from a group comprising, voltage, amperage, forging force, distance of axial travel, speed of axial travel, temperature and humidity. Rotary motor 32 is connected to linear actuator 30 through coupling 44 to pass through the forging force and linear motion to collet 46 at the motor output and to fixture or stud 8 mounted in the collet. The rotation of the fixture or stud is denoted by arrow “r” in A housing 50 is illustrated surrounding forge force generator or linear actuator 30, rotary motor 32, and control and communications components here generally introduced as a control module 40 and a communications link 48. It should be appreciated that the actual hardware for housing 50 may comprise more than a single housing, e.g., providing bearing surfaces slidably engaging the forging force generator and the rotary motor while another seals out the elements and provides protection for additional components. Control module 40 receives the output of environmental sensor suite Se42B and operational sensor suites Sodesignated 42A, 42B, 42C, and 42D into processing hardware containing a selected weld design model of encoded instructions developed as a function of parameters of this sensor input. This facilitates allowing real time active control during welding processes that manages operation of linear actuator 30 and rotary motor 32 independently for each within the specified parameters of the encoded instructions for a given recipe. Further, this may allow coordination of the operation of the linear actuator and the rotary motor to what is happening in the weld, e.g., transition between phases of the welding process according or other parameters that become encoded instructions for the recipe and are monitored, directly or indirectly, by sensor input. The resulting active control instructions are communicated to linear actuator 30, rotary motor 32, and clamp 36. Control module 40 also sends and receives to a communications link 48. The communications link receives information such as the encoded instructions (job specific weld recipe) for the present job and may be as simple as a port to receive information through physical intervention such as by uploading via a thumb drive or from a temporary connection with a laptop through the ethernet port. However, much greater versatility and opportunities to optimize performance can be obtained when communications link 48 is connected to a remote server 52 for sending and receiving information, whether by tethering cable, Bluetooth, satellite, Wi-Fi or otherwise. In this embodiment, motor assembly 32 is supplied by double stator motor assembly 112 including a rotor/stator pairing first stator 112A and a second rotor/stator paring 112B ganged on shaft 114. The double ganged stator assembly of this embodiment can provide efficiency in a small package while delivering the required speed and power. However, those skilled in the art and armed with this disclosure could design single stator assemblies suitable to purpose. Each of the rotor/stator pairs of motor assembly 112 is placed within motor housing 116 and has rotor 118, rotor shaft clamp 124 securing the rotor to shaft 114, a stator 120, and a stator clamp 128 securing the stator to motor housing 116. The motor housing is provided with end walls 116A and in this illustrative example stator clamps 128 are formed by flanges extending from end walls 116A which serve to wedge the stators tightly against shoulders 116B on the inside of motor housing 116. The speed as revolutions per minute (RPM) is monitored by encoder 126, the encoder itself having a rotor and stator to measure relative movement therebetween. Refer also to Returning again to The forging force generated by voice coil 140 is communicated to rotary motor 30 through coupling 148. The coupling passes the forging force to the motor housing 116 through thrust block 152. A forging plate 156 is connected to the base of coil assembly 144 and includes a forging alignment pin 150 which is received in an open in the end of shaft 114 secure axial alignment of forging pin 150 within bushing 158 with this end of motor shaft. This fitting allows for a gap such that while axial alignment is secured, forging force is not presented directly from forging alignment pin 150 to the end of motor shaft 114. Ball bearing assembly or races 154 between the interior of thrust block 152 and the exterior of both forging alignment pin 150 and motor shaft 114 further secure this axial alignment. Accordingly, coil assembly 144 and motor assembly 32 move together in response to forging force. However, the forging force is ultimately applied to fixture 8 which is connected to motor shaft 114 through collet 46. Thrust bearings or similar arrangements are then necessary to allow transfer of the forging force to the fixture while preventing relative axial movement of motor shaft 114 within motor housing 116 and consequential misalignment of rotors 118 and stators 120. In this embodiment, tapered roller bearing assemblies 160 provide this load isolating function and engage motor shaft 114 and motor housing 116 where the motor shaft exits each end of the motor housing. The cross sections of However, an outer housing 164 including upper and lower outer housing end caps 166A and 166B, respectively, can provide additional protection and allow a clean exterior that facilitates inserting a modular, electric friction welder into other host vehicles for transport and application in the field. An example of two such host vehicles and applications are illustrated in Returning to The output of the sensors is communicated to control module 40 and can be relayed through communications link 48 to remote server 52. Refer to Returning to One illustrative weld sequence in accordance with an embodiment of the present invention is illustrated in the steps of Pre-op procedures to ready the portable frictions welder include spinning the motor to verify RPM as step 3 (designated 234), then returning the rotary motor 32 to a home position. Next, the linear actuator motor 30 is exercised and its function and range is verified, e.g., with encoder 146, (see step 5, designated 238) before returning to its home position as step 6 (designated 240). Similarly, proper working of shroud and gas purge system 180 is confirmed (step 8, designated 244) and the absence of water intrusion is verified with inquiry through an appropriate operational sensor Sosuch as a humidity sensor in step 9 which is designated 246 in With the friction welding unit prepared and ready to perform a job, the next stud is fed into position with automatic feed provisions 198 (see step 10, designated 248) and verified to be in position as step 11 (designated 250). The feed may be further confirmed by verifying that the next stud following is also in position (see step 12, designed 252). Advancing linear actuator 30 then drives fixture 8 to engage with collet 46. See step 13 designated 254 in Portable friction welding tool 10 is translated to final position for installing fixture 8 using main camera reticle positioning with camera 304A and proximity sensor 306. See, e.g., steps 14 and 15 designated 256 and 258 in the flow diagram of An important attribute facilitated by the present invention is the ability to execute the weld using a recipe of parameters unique to the particular job and defining the friction weld design model for an application. These instructions were previously uploaded to control module 40 are now executed in step 17 (designated 262) of this illustrative embodiment calling to apply the weld profile from the surface upload. Control module 40 sends instructions to independently and actively manage linear actuator 30 and rotary motor 32 to the uploaded performance criteria while coordinating transition through the weld phases interactively. After the conclusion of the dwell stage, weld integrity is tested, e.g., with ultrasonic inspection though transducer 300 or through a reverse motor spin test, see step 18 (designated 264) leading to the decision of step 19 (designated 270). If the weld is good, the clamp can be turned off and the system moved to a new location for installing the next fixture. In the event that the weld does not pass inspection, the reverse spin may be torqued up to remove the poorly installed fixture. A lack of resistance upon withdrawal of the linear actuator is used to confirm fixture 8 has separated from substrate 14. Camera inspection is then used to determine if it is possible to repeat this sequence at this site. Electronic control of electrical components that are actively and independently managed facilitates the simplicity of using a single power source and affords great flexibly to adjust performance to match the parameters of the recipe during the weld and to and optimize operations overall. Illustrative embodiments addressing this potential will be further developed in In this illustrative embodiment, articulated arms 416 include an electro-magnet fashioned as ring 412 which serves as a clamp to secure the portable friction welder to a substrate 14 (see In this example, recipes of job instructions are loadable into vehicle PFW control module 406 to execute in placing one or more fixtures. However underwater vehicle 418A routinely and periodically returns to a docking station 410 which is located at a position convenient to area job sites. Here batteries driving underwear vehicle 418A, robotic arms 416, clamp 412 and portable friction welder 10 can be recharged. Further, vehicle PFW control module 406 can upload information about the last welds undertaken and download new or revised instructions for subsequent welds to be undertaken through a docking station PFW control module 408 carried on docking station 410. This communication may be managed through Bluetooth or other short-range wireless communication 404. Alternatively, vehicle PFW control module 406 can communicate with docking station PFW control module 408 through a special pathway incorporated in hard connection 404A formed in docking vehicle 418A at docking station 410, or even a signal modulation carried over the charging circuit established with hard connection 404A. Docking station PFW control module 408 is, in turn, in communications with a remote server 426 through a communications link 402 here illustrated by antenna 424A on surface 422. Other circumstances might use other links. For instance, if the docking station is submerged, then communications link 402 might require an umbilical cable leading to a buoy supported antenna on the surface. And articulated arms 416 again include an electro-magnet fashioned as ring 412 serving as a clamp for securing the portable friction welder to a substrate 14 (see Here umbilical tether 402A provides underwater vehicle 418B with both power and communications and may, e.g., in a submerged application, lead all the way to the water's surface 422 or can lead to a docking station which is itself connected to the surface for electrical power and communications. Recipes of job instructions provide predefined parameters for producing effective welds using the present materials and under the present conditions and circumstances are loaded into vehicle PFW control module 406 to execute in placing one or more fixtures in real time, near real time, or between discrete jobs with vehicle PFW control module 406 communicating with remote server 426 either directly or through relay station PFW control module 408A as illustrated in Together Vehicle PFW control module (VCM) 406 also houses main bus 504. Hardware and associated systems connected to the main bus comprise a central processing unit or CPU 506, read access memory (RAM) 508, read only memory (ROM) 510 which includes firmware 512 and graphical processing unit (GPU) 514. Various communication provisions are also attached to main bus 504. Input/output provisions 516 communicate with systems external to VCM 406, such as USB drive port 518 and optional display 520. Communication provisions may further comprise cards for ethernet/WIFI 522 and for Bluetooth or other short-range wireless communications 524 connected to main bus 504. Specifics of the communication links to be included depend on the application. Solid state drive 526 may also be conveniently located external to VCM 406 yet in connection with main bus 504. In addition, there are functional subsystems connected to main bus 504 and in this illustrative example this comprise robotic arm controller (RAC) 528, welder controller 530, A/V encoder 532, sensor controller 534 and power management 536. Robotic arm 538 (see, e.g., Sensor controller 534 is connected to a suite of operational inputs 544 and environmental inputs 546. In this example, operational sensors comprise motion sensors 548, ultrasound sensors 550, humidity sensors 552 and a So554 which represents the potential for additional sensors including, but not limited to, others identified in this specification. Similarly, environmental inputs 546 of this illustrative example shows pressure sensors 556, temperature sensors 558 and Se560 which represents the potential for additional environmental sensors including, but not limited to, others identified in this specification. Communications provisions within DSCM 408 in this example present a card for input/output 516A, ethernet/WIFI 522A, broadband/satellite link 566 or connections to hardwired communication or through an antenna 424A, and Bluetooth 524A or other short-range wireless communications, connected to bus 504A. Power management subsystem 536A and solid state drive 526A are also connected to main bus 504A. Outside of DSCM 408, a USB drive port 518A and optional display 520A are connected to input/output provisions 516A within the DSCM and docking station vehicle power line 540A is connected to power management provision 536A. DSCM 408 in docking station 410 (see Cloud based storage may facilitate data collection, storage, and processing for improving and optimizing performance. An important feature of this illustrated software environment is the segregated internal and external production systems 610 and 612, respectively. The internal production system is a research and development environment, protected by its own security, e.g., security APIs 620A. Each of operators 606 pull one or more welder vehicles 604 from fleet 602. Each of the welder vehicles has been loaded with welder device APIs 614, welder application software 616, a current welder process instructions engine 618 and security APIs 620. As work progresses, information from each network 608 is uploaded to external production system 612 each time a welding vehicle docks. At this point, this information may be available to operators from that network 608 only. Data from the contributing operator of that specific network, collected during a specific job, at a specific job site, subject to specific conditions may prove useful for that operator in continuing work at that site even if all relevant conditions and parameters are not broadly applicable to other jobs or even fully catalogued. However, the data may have broader implications and environmental and operational data is uploaded from the external production system to the vetting system, e.g., system engineers and analyst 622, to determine whether the data is suitable to add to the archive and training set within the internal production system. For instance, it is useful to screen whether the data has sufficient environmental data associated with the operational sensor data to give it context. And the vetting may find reasons to suspect that data produced is skewed such that it is not generally useful, e.g., evidence of tool malfunctions, lack of maintenance, tool misuse or other faults. Useful data will be ported to the developmental environment of internal production system 610. Coding, new and improved algorithms and the products of AI training off the vetted data sets will be periodically reviewed by system engineers and analysts 622 and, as found appropriate, developmental welder application software 616A and recipes of developmental welder process instructions engines 618A will be published as revisions in the external production system 612, becoming the new standard for loading throughout fleet 602 where they are available to all operators for selection and application under similar circumstances. A different set of security APIs 620A protect and segregate internal production system 610. Step 1 is denoted as log in 650. Operator 606 is a user who, e.g., may be a manufacturer, service supplier, or customer employee and the operator logs in to cloud-based software analogous to Welder Application Software 616 on The operator proceeds in Step 3 to turn on VCM 654, turning on the vehicle PFW control module (VCM 406 of In step 6, “configuring DSCM communications” 660 in Thereafter, in step 7 which is denoted as “configuring the VCM communications” 662 in After a successful connection, registration (part 2) 666 of Step 8 completes registration. DSCM (subsystem 408 in After registration is complete, step 9 addresses generating a welding task, illustrated in Step 10 of this process as illustrated in In step 11 of the process is DSCM start 672 as illustrated in Step 13 of the process flies the vehicle to job 676 ( Step 15 of the process is denoted as “complete and return” 680 in Step 16, denoted as “VCM data to DSCM, uses the previously established BT or other short-range wireless connectivity, 524A to 524, VCM 406 uploads the collected welding task data, sensor reading history, and recorded audio/video data to DSCM 408. (See Step 18 of the process introduces instruction addition process 686. Based upon the received welding task data, Welder Application Software 616 generates new welding instructions to be used for training the welders for future tasks and sends the new welding instructions to systems engineers/analysts 622 for review and approval. See also The flow chart of The vetting process brings the new welding instructions before system engineers and analysts 622 and a decision branch 706 which may discard the instructions 704 or proceed with approval. The decision to discard may be based on, e.g., insufficient environmental data to evaluate proper context, independent risk assessment, or otherwise. If approved, the new welding instructions might be added to welder process instruction engine 618A for further research and developmental in internal production system 610 and/or welder process instruction engine 618 of external production system 612 and available throughout the community of users. Alternatively, system engineers and analysts 622 may first revise the proposed new welder process instruction engines before adding to the internal or external environments, as appropriate. Developments from internal production system 610 go through the same vetting process. PFW Welding Process will generally execute five types of instruction sets and One of these types of instruction sets are the System Monitoring Instructions or SMI which run iteratively and essentially continuously with a restart at a time interval determined by the System Analysts, preferably every minute. In order to protect the health of the equipment and prevent a damage, if any of the SMI fail to pass during monitoring, the VCM 406 halts the welding task and requests the vehicle 410 depart back to the docking station 408. See Illustrative examples of System Monitoring Instructions comprise:
If the SMIireview passes on a given run at decision 714 and the total iterations i do not exceed a maximum number n (decision 716), then 1 is added to the total number of iterations i and step 712 of running SMIiis repeated. However, if the number of iterations i exceeds predetermined number n, the next rerun of SMIiis delayed by x minutes, see step 718 for wait time and all events are logged (step 720) before returning to run another SMIiiteration at step 712. However, in the event that SMIirun 712 fails the decision criteria of step 714, then a remediation task run 722 is run. If remediation is successful, decision 724 returns to the run the SMIido loop at decision 716. But if it fails, it is tried again at step 726, in this example tried up to three more times. If still failing, there is an inquiry 728 about whether it is a critical task. If not, the event is logged and the task is skipped, see step 730, the SMIido loop is repeated according to the run set out in step 716. But if it is critical, then vehicle 410 is retrieved to the docking station 408, refer also to Regardless if vehicle 410 is parked at the docking station 408, traveling to job site, or actively executing welding task, all events are logged and system monitoring issues are reported to the operator 606 via welder application software 616 as soon as the VCM 406 is reconnected to DSCM 408 and the DSCM is reconnected to the welder application software. See step 732 in flow chart Other instructions set within the PFW welding process are introduced in A number k of task start Instructions (TSI) are initiated at step 746 in starting the welding task. These instructions, TSIi748 are run in an order determined by the operator immediately prior to the executing a welding task. If a particular instruction does not apply to the current welding task, that instruction is skipped by the operator. One illustrative example of task start instructions comprises:
As each task in TSIiis run in set 748, there is a determination 750 as to whether approved conditions are met. If so, the next iteration is undertaken until all k tasks have been run. See step 752. Should any TSIifail, the appropriate remediation R(TSIi) is run, step 754, retested in step 756 and returned to the TSIiloop if it passes. If not, it is returned through R(TSIi) 754 to try remediation again and retested in step 756 a predetermined number of times, e.g., up to three times, see step 758. If still unable to pass a trial TSIi, the criticality of the task is considered as assigned before the initiation of welding activities, See step 760. If critical, the task is halted and the vehicle recalled, see step 762. If it is not critical, that event is logged and the task skipped in step 764. Task Execution steps 742 can start only when all applicable Task Start Instructions 740 are successfully executed and passed or logged and passed over as non-critical. There are m task execution instructions (TEIi) and these instructions are run (step 748A) in an order determined by the Operator during execution of a welding task. If a particular instruction does not apply to the current welding task, the instruction shall be skipped by the operator. Illustrative examples of Task Execute Instructions (TEIi) comprise:
In this example, the logic and flow diagram of task execute instructions (TEI) 742 is the same for corresponding elements as that of welding task start instructions (TSI) 740, iterating through each of the tasks (running TEI 748A, testing 750A and counting iterations (step 752A), attempting remediation (step 754A), retesting (step 756A) and trying remediation again a predetermined number of times, e.g., up to three times (step 758A), then halting and recalling the vehicle (step 762A), if the task is critical (step 760A) or logging the event and skipping the task (step 764A) to return to the run TEI loop if not determined critical. Similarly, there are a number n of Task Inspection Instructions (TIIi) to be run in an order determined by the operator after execution of a welding task. If a particular instruction does not apply to the current welding task the instruction shall be skipped by the operator. Again, there is a flow and logic for the task inspection instructions (TIIi) 744 that directly corresponds to that of the welding task start instructions (TSI) 740 and the welding task execute instructions (TEI) 742. Welding task inspection instructions (TII) iterate through each of the tasks (running TII 748B, testing 750B and counting iterations 752B), attempting remediation (754B), retesting (756B) and trying remediation again up to three times (758B), then halting and recalling the vehicle (762B) if the task is critical (760B) or logging the event and skipping the task (764B) to return to the run TEI loop if determined non-critical. A welding task is considered successful only when all applicable task inspection Instructions (TIIi) are successfully executed and passed or logged and passed over as non-critical. All events are logged 766 and the task is complete, step 768. Remediation Instructions (RI) are the other category of instructions introduced above generally and in reference to steps 754, 754A and 754B with reference to An all-electric, portable friction welding system having automated control through multiple components being actively controlled to sensor monitored parameters during the welding process together with the instrumented monitoring of environmental conditions facilitates the collection of significant operational data. That data and the architecture and data handling discussed above facilitate the implementation of artificial intelligence through both supervised/un-supervised machine learning algorithms By acquiring real-time sensor data and by applying state-of-the-art machine learning algorithms, e.g., Viz. Random Forests, XG Boost, parameters can be modeled leading towards improved operations and a truly adaptive robotic portable friction welding system. Illustrative parameter and modeling opportunities include, but are not limited to:
Deep reinforcement learning approaches are also facilitated. For instance, the range of current AUVs is limited by the on-board energy storage capacity. To achieve persistent systems, AUVs will need to autonomously dock onto charging stations. The docking maneuver of an AUV contains two stages i.e., homing and final docking. The homing phase consists of AUV approaching the docking station, whereas final docking describes the actual connection process once the AUV enters the funnel. Reinforcement Learning is a decision-making framework in which an agent learns a desired behavior or policy from direct interactions with the environment. At each time step, the agent is in a state and takes and action. As a result, it lands in a new state while receiving a reward. A Markov decision process can be used to model the action selection depending on the value function which represents an estimate of the future reward. By interacting the environment for a long time, the agent learns an optimal policy, which maximizes the total expected reward. Reinforcement Learning based controllers are highly anticipated for their capability to enable adaptive autonomy in an optimal manner. Reinforcement Learning looks ahead to future events and focuses on long term performance, making it appealing to control problems. Underwater vehicle hydrodynamics are highly non-linear with uncertainties that are difficult to parameterize and in addition unknown disturbances are usually present as are typical of aquatic environments. Due to the uncertainty of underwater dynamics, we mainly focus on model-free class of Reinforcement Learning algorythems. High maneuverability is especially desirable in situations where there are strong disturbances, i.e., due to ocean currents, or where the AUV is attempting to dock onto a moving platform, i.e., for example for retrieval from a floating vessel. The most common underwater vehicle configurations have four, five and even six engines. This implies that the low-level control system must simultaneously manipulate the continuous output of up to six thrusters to achieve the stated dynamic references, i.e., the set-points for the linear and angular velocities. Thus, the control system can deal with a non-linear continuous problem in six degrees of freedom in an uncertain and variable environment. Implementing such reinforcement algorithm in real-time allowing the data to be slowly replaced with the data coming from the actual vehicle and the neural networks can be retrained off-line. Hence, a reinforcement learning (RL) approach can optimize control at a much lower computational cost at deployment. In addition, its model-free nature provides a general framework that can be easily adapted to the control of different systems, although it is necessary to tune the parameters for the task at hand for best results. Most of the existing applications of deep RL use video images to train the decision-making artificial agent but obtaining camera images only for an AUV control purpose could be costly in terms of energy consumption. Moreover, the rewards are not easily obtained directly from the video frames. By contrast, a deep reinforcement learning framework for adaptive control applications of AUVs based on an actor-critic goal-oriented deep RL architecture takes the available raw sensory information as input and outputs the continuous control actions as low-level commands for, e.g., the AUV's thrusters. Most of the deep learning control proposals have used image pixels to learn a control policy to solve complex control tasks and often have been tested using only simulation platforms. In contrast, an adaptive controller for low-level control of host vehicles, e.g., underwater mobile robots, using only the navigation measurements. Again, the illustrative examples discussed above are by way of example only. Those skilled in the art, given the benefit of this disclosure, may adapt electric portable friction welding to other marine applications, terrestrial robotic applications, drone applications and even applications in space, benefitting each of autonomous. remotely controlled, and manned operation, without departing from the scope of the present invention.RELATED APPLICATION
BACKGROUND OF THE INVENTION
BRIEF SUMMARY OF THE INVENTION
BRIEF DESCRIPTION OF THE DRAWINGS
DETAILED DESCRIPTION OF THE INVENTION