A bobbin wound coil for an electromagnetic coupling includes a bobbin having a cylindrical body disposed about a central axis, end flanges disposed at each axial end of the body and a terminal connector on an exterior side of one of the end flanges. The terminal connector includes a body defining a central cavity and a post extending from an exterior surface of the body of the terminal connector. A coil includes a beginning portion extending through the body of the terminal connector and the end flange on which the terminal connector is located, an end portion extending through the body of the terminal connector and the end flange, and a center portion extending between the beginning portion and the end portion and wound about the cylindrical body of the bobbin. One of the beginning portion and the end portion of the coil is wound about the post.
1. A bobbin wound coil for an electromagnetic coupling, comprising:
a bobbin including
a cylindrical body disposed about a central axis; a first end flange disposed at a first axial end of the cylindrical body and extending radially outwardly therefrom, the first end flange defining an interior side facing the cylindrical body and an exterior side facing away from the cylindrical body; a second end flange disposed at a second axial end of the cylindrical body and extending radially outwardly therefrom, the second end flange defining an interior side facing the cylindrical body and an exterior side facing away from the cylindrical body; and, a terminal connector on an exterior side of the first end flange, the terminal connector including
a body defining a central cavity; and, a first post extending from an exterior surface of the body of the terminal connector; and, a coil having a beginning portion extending through the body of the terminal connector and the first end flange, an end portion extending through the body of the terminal connector and the first end flange, and a center portion extending between the beginning portion and the end portion and wound about the cylindrical body of the bobbin
wherein one of the beginning portion and the end portion of the coil is wound about the first post. 2. The bobbin wound coil of 3. The bobbin wound coil of 4. The bobbin wound coil of 5. The bobbin wound coil of 6. The bobbin wound coil of 7. The bobbin wound coil of 8. The bobbin wound coil of 9. The bobbin wound coil of 10. The bobbin wound coil of 11. A method of forming a bobbin wound coil for an electromagnetic coupling, comprising:
providing a bobbin including
a cylindrical body disposed about a central axis; a first end flange disposed at a first axial end of the cylindrical body and extending radially outwardly therefrom, the first end flange defining an interior side facing the cylindrical body and an exterior side facing away from the cylindrical body; a second end flange disposed at a second axial end of the cylindrical body and extending radially outwardly therefrom, the second end flange defining an interior side facing the cylindrical body and an exterior side facing away from the cylindrical body; and, a terminal connector on the exterior side of the first end flange, the terminal connector including
a body defining a central cavity; and, a first post extending from an exterior surface of the body of the terminal connector; inserting the beginning portion of the coil through the terminal connector and the first end flange; winding the coil about the cylindrical body; inserting an end portion of the coil through the first end flange and the terminal connector; and, winding one of the beginning portion and the end portion of the coil about the first post. 12. The method of 13. The method of 14. The method of 15. The method of 16. The method of 17. The method of inserting the beginning portion of a coil through the first opening in the inner wall of the terminal connector; and, inserting the end portion of the coil through the second opening in the inner wall of the terminal connector
wherein one of the beginning portion and end portion of the coil extends through the first recess. 18. The method of 19. The method of 20. The method of
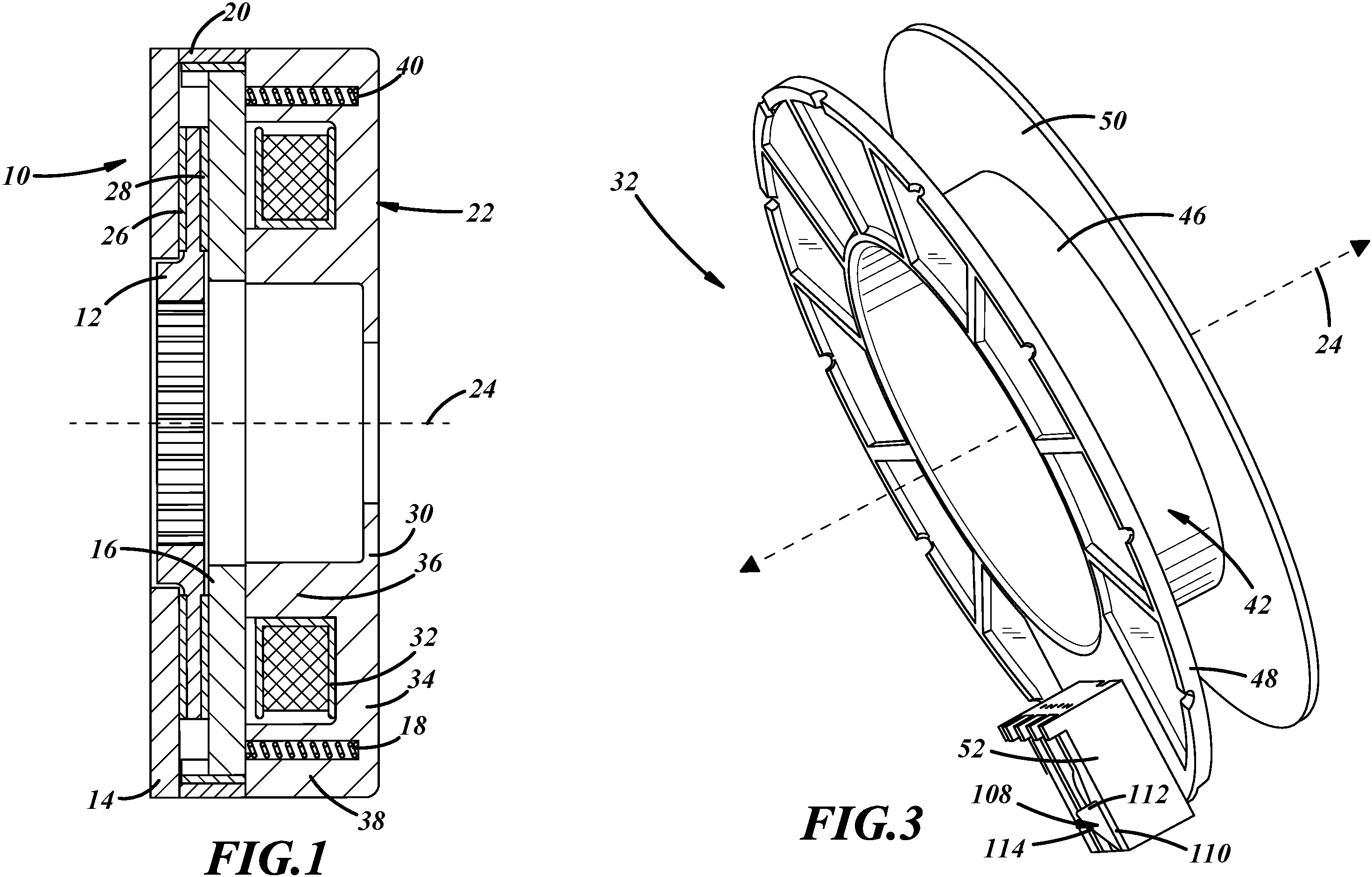
This patent application claims, under 35 U.S.C. § 119, the benefit and priority of U.S. Provisional Pat. Application No. 63/338,058 filed on May 4, 2022, the entire disclosure of which is incorporated by reference herein. This invention relates to electromagnetic couplings. In particular, the invention relates to an improved bobbin wound coil for an electromagnetic coupling. A conventional electromagnetic coupling includes an armature on which forces are applied to move the armature between positions of engagement with or disengagement from a rotor or friction disc in order to transfer of a rotational or braking torque between one body coupled to the armature and another body coupled to the rotor or friction disc. The armature is moved to at least one of the engagement and disengagement positions by electromagnetic forces generated when an electromagnet disposed on one side of the armature is energized to create an electromagnetic circuit between the electromagnet and armature and draw the armature towards the electromagnet and towards or away from the rotor or friction disc. The electromagnet includes a field shell made from materials having a relatively low magnetic reluctance and a conductor to which current is provided to energize the electromagnet and create the electromagnetic circuit by causing flux to flow within and between the field shell and armature. The conductor typically comprises a coil that is wound about a bobbin mounted on or within the field shell and connected to an external power source. Conventional bobbins wound coils have one or more disadvantages. A conventional bobbin includes a cylindrical body, flanges extending radially outwardly from each end of the body and defining interior sides facing the cylindrical body and exterior sides facing away from the cylindrical body and a terminal connector formed on the exterior side of one of the end flanges and proximate a radially outer edge of the end flange. When the coil is wound onto the bobbin, the beginning portion of coil typically passes through the terminal connector and end flange near the radially outer edge of the end flange and then moves radially inward along the end flange onto the cylindrical body of the bobbin. The coil is then repeatedly wound about the cylindrical body and, eventually, an end portion of the coil is again passed through end flange and the terminal connector near the radially outer edge of the end flange. As the coil is wound about the body of the bobbin, the coil must pass over the radially inwardly extending section of the beginning portion of the coil and an outwardly projecting bulge is often formed in the exterior side of one of the flanges to accommodate this winding pattern thereby creating manufacturing and packaging issues. Conventional bobbins also frequently lack adequate mechanisms and/or require additional mechanisms to adequately tension the beginning and end portions of the coil during winding of the coil and/or to secure the beginning and end portions of the coil within the terminal connector during winding. In some conventional bobbins, one or more of the flanges in the bobbin may also be formed with recesses on the exterior side of the flange to balance objectives in strengthening the end flanges while reducing weight and materials. Depending on the application and operating environment for the electromagnetic clutch, however, these recesses may collect fluids and debris. Finally, some conventional bobbins (and the coils mounted thereon) are also subject to rotation relative to the field shell on which the bobbins are mounted as a result of torque transfer during operation of the coupling. The inventors herein have recognized a need for a bobbin wound coil for an electromagnetic coupling that will minimize and/or eliminate one or more of the above-identified deficiencies. This invention relates to electromagnetic couplings. In particular, the invention relates to an improved bobbin wound coil for an electromagnetic coupling. A bobbin wound coil for an electromagnetic coupling in accordance with one embodiment includes a bobbin including a cylindrical body disposed about a central axis. The bobbin further includes a first end flange disposed at a first axial end of the cylindrical body and extending radially outwardly therefrom, the first end flange defining an interior side facing the cylindrical body and an exterior side facing away from the cylindrical body and a second end flange disposed at a second axial end of the cylindrical body and extending radially outwardly therefrom, the second end flange defining an interior side facing the cylindrical body and an exterior side facing away from the cylindrical body. The bobbin further includes a terminal connector on an exterior side of the first end flange. The terminal connector includes a body defining a central cavity and a post extending from an exterior surface of the body of the terminal connector. The bobbin further includes a coil having a beginning portion extending through the body of the terminal connector and the first end flange, an end portion extending through the body of the terminal connector and the first end flange, and a center portion extending between the beginning portion and the end portion and wound about the cylindrical body of the bobbin. One of the beginning portion and the end portion of the coil is wound about the post. A method for forming a bobbin wound coil for an electromagnetic coupling in accordance with one embodiment includes providing a bobbin including a cylindrical body disposed about a central axis, a first end flange disposed at a first axial end of the cylindrical body and extending radially outwardly therefrom, the first end flange defining an interior side facing the cylindrical body and an exterior side facing away from the cylindrical body, a second end flange disposed at a second axial end of the cylindrical body and extending radially outwardly therefrom, the second end flange defining an interior side facing the cylindrical body and an exterior side facing away from the cylindrical body, and a terminal connector on the exterior side of the first end flange. The terminal connector includes a body defining a central cavity and a first extending from an exterior surface of the body of the terminal connector. The method further includes inserting the beginning portion of the coil through the terminal connector and the first end flange, winding the coil about the cylindrical body and inserting an end portion of the coil through the first end flange and the terminal connector. The method further includes winding one of the beginning portion and the end portion of the coil about the post. A bobbin wound coil in accordance the teachings herein represent an improvement as compared to conventional bobbin wound coils used in electromagnet couplings. In particular, the bobbin wound coil is configured to facilitate tensioning of the beginning and/or end portions of the coil. The foregoing and other aspects, features, details, utilities, and advantages of the present invention will be apparent from reading the following description and claims, and from reviewing the accompanying drawings. Referring now to the drawings wherein like reference numerals are used to identify identical components in the various views, Rotor 12 is provided to transmit a braking torque to a shaft or other rotating body. Rotor 12 may be made from conventional metals or plastics and may be made by stamping, molding and/or machining. Rotor 12 may be annular in shape and disposed about, and centered about, a rotational axis 24. Rotor 12 is coupled to, and configured for rotation with, a shaft (not shown) about axis 24 and may be rotationally coupled to the shaft in a variety of ways that permit axial movement of rotor 12 relative to the shaft to enable proper operation of device 10 and account for wear, vibration, runout or thermal expansion. For example, the radially inner surface of rotor 12 and the radially outer surface of the shaft may have complementary, torque transmitting, shapes such as splines (as shown in the illustrated embodiment), a key and keyway, single or double D-shape or hexagonal shape. Rotor 12 includes friction surfaces on opposed sides 26, 28 configured to engage brake plate 14 and armature 16, respectively, during application or engagement of the brake. Brake plate 14 is configured to engage rotor 12 during application of the brake to transmit a braking torque to rotor 12. Brake plate 14 provides a reaction surface against which armature 16 presses rotor 12 during application of the brake. Brake plate 14 may be made from conventional metals or plastics and may be made from steel (including stainless steel) in some embodiments. Brake plate 14 is disposed on side 26 of rotor 12. Brake plate 14 may further be disposed about, and centered about, axis 24. Brake plate 14 is fixed against rotation and may be coupled to electromagnet 22 using a plurality of axially extending fasteners such as bolts, pins, screws or the like. Armature 16 is also configured to engage rotor 12 during application of the brake to transmit a braking torque to rotor 12. Armature 16 may be made from metals or metal alloys or other materials having relatively low magnetic reluctance such as iron or steel. Armature 16 is disposed on side 28 of rotor 12. Armature 16 may further be disposed about, and centered about, axis 24. Armature 16 is fixed against rotation, but is axially movable towards and away from rotor 12 and brake plate 14 to permit engagement and disengagement of the brake. Armature 16 may include a plurality of bores extending through armature 16 or a plurality of recesses in the radially outer surface of armature 16 configured to permit fasteners connecting brake plate 12 and electromagnet 22 to pass through armature 16. In this manner, the fasteners limit or prevent rotation of armature 16 about axis 24, but armature 16 is permitted to move along axis 24. Springs 18 provide a means for biasing armature 16 in one direction along axis 24 towards rotor 12 and brake plate 14 to engage the brake. Springs 18 may be disposed between electromagnet 22 and armature 16. It should be understood that coupling 10 may include either a single annular spring 18 or a plurality of springs 18 disposed in an annular array about axis 24. In the latter case, springs 18 may be spaced equally circumferentially spaced about axis 24. Spacer 20 is provided to position and orient brake plate 14 and electromagnet 22 relative to one another and to define, together with brake plate 14 and electromagnet 22, an enclosed space containing rotor 12 and armature 16. Spacer 22 may be made from conventional materials including metals, such as aluminum, or plastics that are non-magnetic or have a relatively high magnetic reluctance. Spacer 22 may include a plurality of equally circumferentially spaced, radially inwardly extending flanges that define fastener bores aligned with corresponding bores in brake plate 14 and electromagnet 22 and are configured to receive fasteners extending through brake plate 14, spacer 20 and electromagnet 22 in order to couple brake plate 14, spacer 20 and electromagnet 22 together. Upon assembly, spacer 20 is disposed radially outwardly of rotor 12 and armature 16 with one axial end of spacer 20 abutting brake plate 14 and an opposite axial end abutting electromagnet 22. Electromagnet 22 provides a means for urging armature 16 in the opposite direction along axis 24 away from rotor 12 and brake plate 14 to disengage the brake. Electromagnet 22 may include a field shell 30 and a conductor in the form of a bobbin wound coil 32. Field shell 30 houses bobbin wound coil 32 and may also provide structural support and orient other components of device 10 including brake plate 14 and springs 18. Field shell 30 may be annular in shape and disposed about, and centered about, axis 24 and may be disposed on a side of armature 16 opposite rotor 12. Field shell 30 may be made from materials having a relatively low magnetic reluctance such as ferromagnetic materials. Field shell 30 may define a radially extending end wall 34 and axially extending, radially aligned, inner and outer walls 36, 38 that extend axially from end wall 34 towards armature 16. Outer wall 38 may define one or more closed bores 40 configured to receive one end of each spring 18. Outer wall 38 may also define one or more closed bores (not shown) configured to receive fasteners coupling brake plate 14, spacer 20 and electromagnet 22. Bobbin wound coil 32 is configured to be received within field shell 30 between walls 36, 38. Current supplied to the coil creates an electromagnetic circuit that includes armature 16 and field shell 30. The electromagnetic circuit urges armature 16 towards field shell 30 and away from rotor 12 against the force of springs 18 to disengage the brake. Referring now to Referring again to Body 46 is cylindrical in shape and may be disposed about, and centered about, a central axis such as axis 24 in electromagnetic coupling 10. Body 46 defines a central aperture configured to receive a portion of field shell 30. Referring to Referring again to The shape and axial thickness of end flange 48 may vary. In particular, the shape and axial thickness of end flange 48 may vary to accommodate the passage of coil 44 from body 46 to terminal connector 52 and the placement of the beginning portion of coil 44. Referring now to Referring again Referring again to Referring again to Referring again to Referring again to Inner and outer walls 92, 94 of terminal connector 52 each includes a pair of openings 124, 126 and 128, 130, respectively, in the form of generally radially extending slots that are configured to receive beginning and end portions of coil 44 during winding of coil 44 onto bobbin 42. Openings 124, 126 and 128, 130 in walls 92 and 94, respectively, extend from a radially outer edge of each wall 92, 94 to a location proximate a radially inner edge of each wall 92, 94 and proximate radially inner side wall 100. Openings 124, 128 may be aligned with each other. Openings 126, 130 may likewise be aligned with each other. Openings 124, 126 and 128, 130 effectively divide each of inner wall 92 and outer wall 94 into three separate sections. In particular, openings 124, 126 divide wall 92 into a pair of circumferential end sections 132, 134 and a center section 136 disposed between circumferential end sections 132, 134 and separated from circumferential end sections 132, 134 by openings 124, 126. Likewise, openings 128, 130 divide wall 94 into a pair of circumferential end sections 138, 140 and a center section 142 disposed between circumferential end sections 138, 140 and separated from circumferential end sections 138, 140 by openings 118, 130. In accordance with another aspect of the teachings herein, a portion of one or more of sections 132, 134, 136 of inner wall 92 may be spaced from side wall 100 to define a recess 144 configured to receive a portion of coil 44. These recesses 144 facilitate proper placement and retention of the beginning and/or end portions of coil 44 within cavity 102 of terminal connector 52 and, in particular, proper placement and alignment of coil 44 withing upper and lower saddles for coil 44 formed in connector 52 on either side of terminal pins 104, 106 when a winding nozzle used to dispense coil 44 and wind coil 44 onto bobbin 42 exits connector 52 thereby insuring proper tension in coil 44 and, ultimately, proper connection between the terminals 104, 106 and the beginning and end portions of coil 44. In the illustrated embodiment, recess 144 is formed in a portion of section 136 of inner wall 92 adjacent opening 126 and receives an end portion of coil 44. It should be understood, however, that a similar recess could be formed in a portion of section 136 adjacent opening 124 to receive a beginning portion of coil 44 or in either of end sections 132, 134 adjacent openings 124, 126, respectively to receive the beginning or end portions of coil 44. Referring again to A bobbin wound coil 32 in accordance the teachings herein represent an improvement as compared to conventional bobbin wound coils used in electromagnet couplings. In particular, in one embodiment, the bobbin wound coil 32 is configured to eliminate any need for an outwardly projecting bulge on the exterior side of an end flange 48 to accommodate typical wiring patterns thereby improving manufacturability and packaging. In other embodiments, the bobbin wound coil 32 is configured to facilitate tensioning of the beginning and/or end portions 146, 152 of coil 44 and/or securing the beginning and/or end portions 146, 152 of the coil 44 within the terminal connector 52 of the bobbin 42 during winding of the coil 44. In another embodiment, the bobbin 42 is configured to prevent accumulation of liquids or debris in recesses 74 that are formed on the exterior side 64 of an end flange 48 in order to balance competing objectives in strengthening the end flange 48 while reducing weight and material costs. In other embodiments 54 or 84, the bobbin is further configured to prevent relative rotation of the bobbin and field shell 30 in the electromagnetic coupling 10. While the invention has been shown and described with reference to one or more particular embodiments thereof, it will be understood by those of skill in the art that various changes and modifications can be made without departing from the spirit and scope of the invention.CROSS-REFERENCE TO RELATED APPLICATIONS
BACKGROUND OF THE INVENTION
A. Field of the Invention
B. Background Art
BRIEF SUMMARY OF THE INVENTION
BRIEF DESCRIPTION OF THE DRAWINGS
DETAILED DESCRIPTION OF THE INVENTION