A control unit having a connection structure for connecting components of the control unit to a base plate which eliminates the need for separate fasteners. The control unit includes circuitry mounted to a PCB, and the PCB is pre-assembled to a base plate, to form a pre-assembly. During assembly, the PCB and the base plate are aligned when placed in a tooling device which clamps and holds the pre-assembly in place during the over molding process. The circuitry is over molded with an epoxy material, such that the epoxy material flows from a top side of the PCB to underneath the base plate, and the PCB is fixed to the base plate without the use of fasteners such as screws, or adhesive materials.
1. An apparatus, comprising:
a control unit, including: a base plate; a printed circuit board (PCB) connected to the base plate; and an encapsulation housing including an epoxy overmolded around portions of the base plate, portions of the circuitry, and portions of the PCB; wherein the base plate and the PCB are connected together by the encapsulation housing. 2. The apparatus of a first layer disposed on a side of the PCB; and a second layer disposed on a side of the base plate; wherein the first layer and the second layer are connected together and connect the PCB to the base plate. 3. The apparatus of at least one flow aperture integrally formed as part of the base plate; wherein at least a portion of the encapsulation housing is disposed in the at least one flow aperture, in between the first layer and the second layer. 4. The apparatus of at least one recess formed as part of the second layer of the encapsulation housing; wherein a portion of the base plate is adjacent the at least one recess. 5. The apparatus of a first plurality of assembly apertures integrally formed as part of the PCB; and a second plurality of assembly apertures integrally formed as part of the base plate; wherein each of the first plurality of assembly apertures is aligned with a corresponding one of the second plurality of assembly apertures, and a portion of the encapsulation housing extends through each of the first plurality of assembly apertures and the second plurality of assembly apertures. 6. The apparatus of 7. The apparatus of a connector shroud mounted to the PCB in an area of the PCB unoccupied by the encapsulation housing; and at least one circumferential flange being part of the connector shroud and in contact with the PCB; wherein the at least one circumferential flange is disposed between a portion of the encapsulation housing and the PCB, securing the connector shroud to the PCB. 8. The apparatus of a cover integrally formed as part of the base plate; and a cavity integrally formed as part of the cover; wherein a portion of the encapsulation housing is adjacent the cover, and the cover is adjacent the PCB in an area of the PCB unoccupied by the encapsulation housing. 9. The apparatus of a circumferential lip integrally formed as part of the base plate such that the circumferential lip circumscribes the cover; wherein a portion of the encapsulation housing is adjacent the circumferential lip. 10. The apparatus of at least one groove integrally formed as part of the encapsulation housing; wherein a portion of the base plate is disposed in the at least one groove, connecting the base plate and the encapsulation housing. 11. A method for making a control unit, comprising the steps of:
providing a base plate; and providing a printed circuit board (PCB); and providing circuitry mounted to the PCB; placing the PCB in contact with the base plate; overmolding an epoxy around portions of the base plate, portions of the circuitry, and portions of the PCB to form an encapsulation housing which connects the base plate to the PCB. 12. The method of 13. The method of providing at least one flow aperture integrally formed as part of the base plate; overmolding the epoxy around portions of the base plate and the PCB such that at least a portion of the encapsulation housing is disposed in the at least one flow aperture, in between the first layer and the second layer. 14. The method of 15. The method of providing a first plurality of assembly apertures integrally formed as part of the PCB; and providing a second plurality of assembly apertures integrally formed as part of the base plate; aligning each of the first plurality of assembly apertures with a corresponding one of the second plurality of assembly apertures as the PCB is placed in contact with the base plate, such that a portion of the encapsulation housing extends through each of the first plurality of assembly apertures and the second plurality of assembly apertures once the epoxy is overmoled around portions of the base plate and the PCB. 16. The method of providing a connector shroud; and providing at least one circumferential flange being part of the connector shroud; mounting the connector shroud to the PCB in an area unoccupied by the encapsulation housing such that the at least one circumferential flange is in contact with the PCB, and a portion of the circuitry is surrounded by the connector shroud; over molding the epoxy is around portions of the base plate and the PCB such that the at least one circumferential flange is disposed between a portion of the encapsulation housing and the PCB, securing the connector shroud to the PCB. 17. The method of providing a cover integrally formed as part of the base plate; and providing a cavity integrally formed as part of the cover, such that a portion of the encapsulation housing is adjacent the cover as the epoxy is overmolded around portions of the base plate and the PCB. 18. The method of providing at least one groove integrally formed as part of the encapsulation housing; overmolding the epoxy around portions of the base plate and the PCB to form the encapsulation housing such that a portion of the base plate is disposed in the at least one groove.
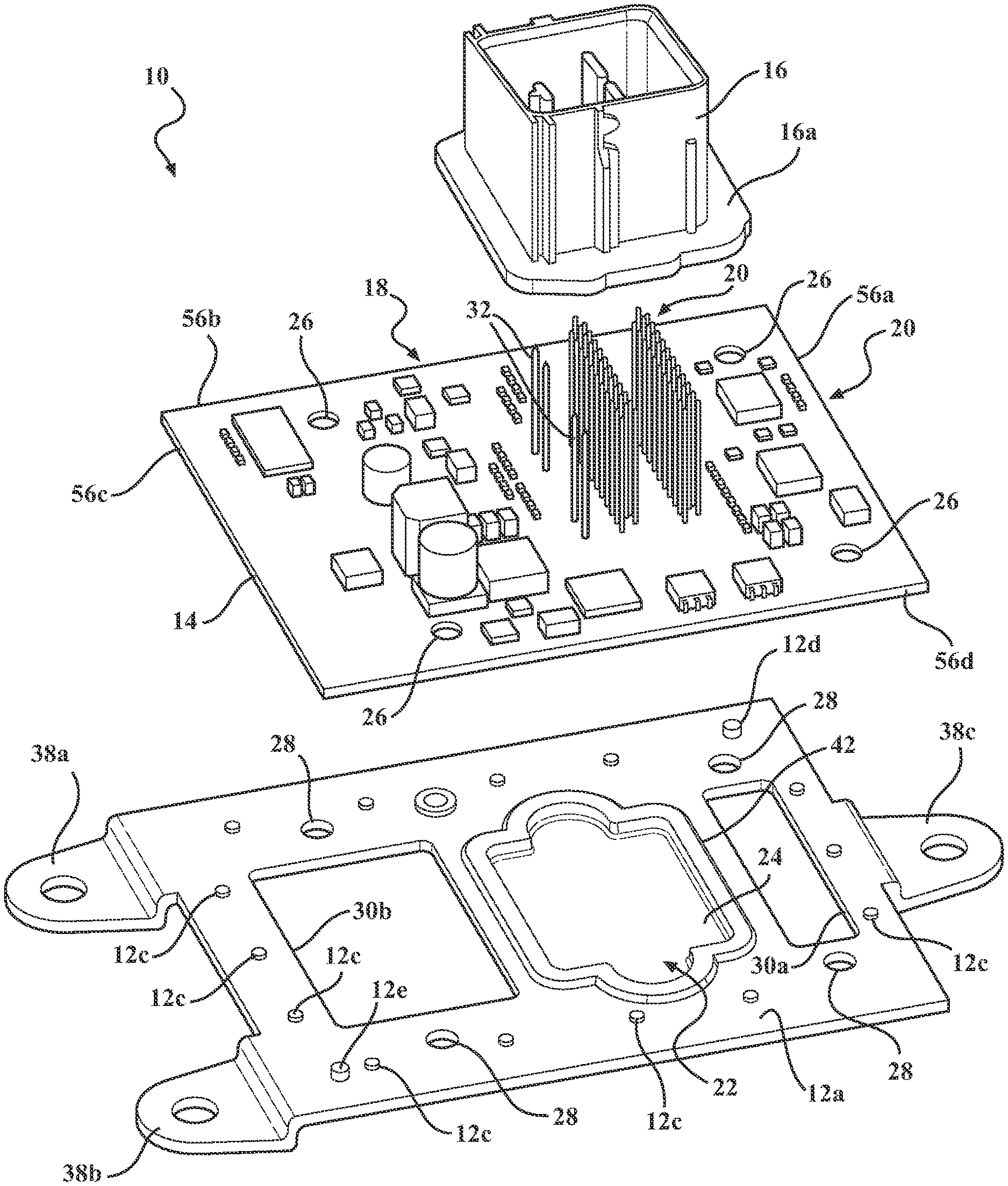
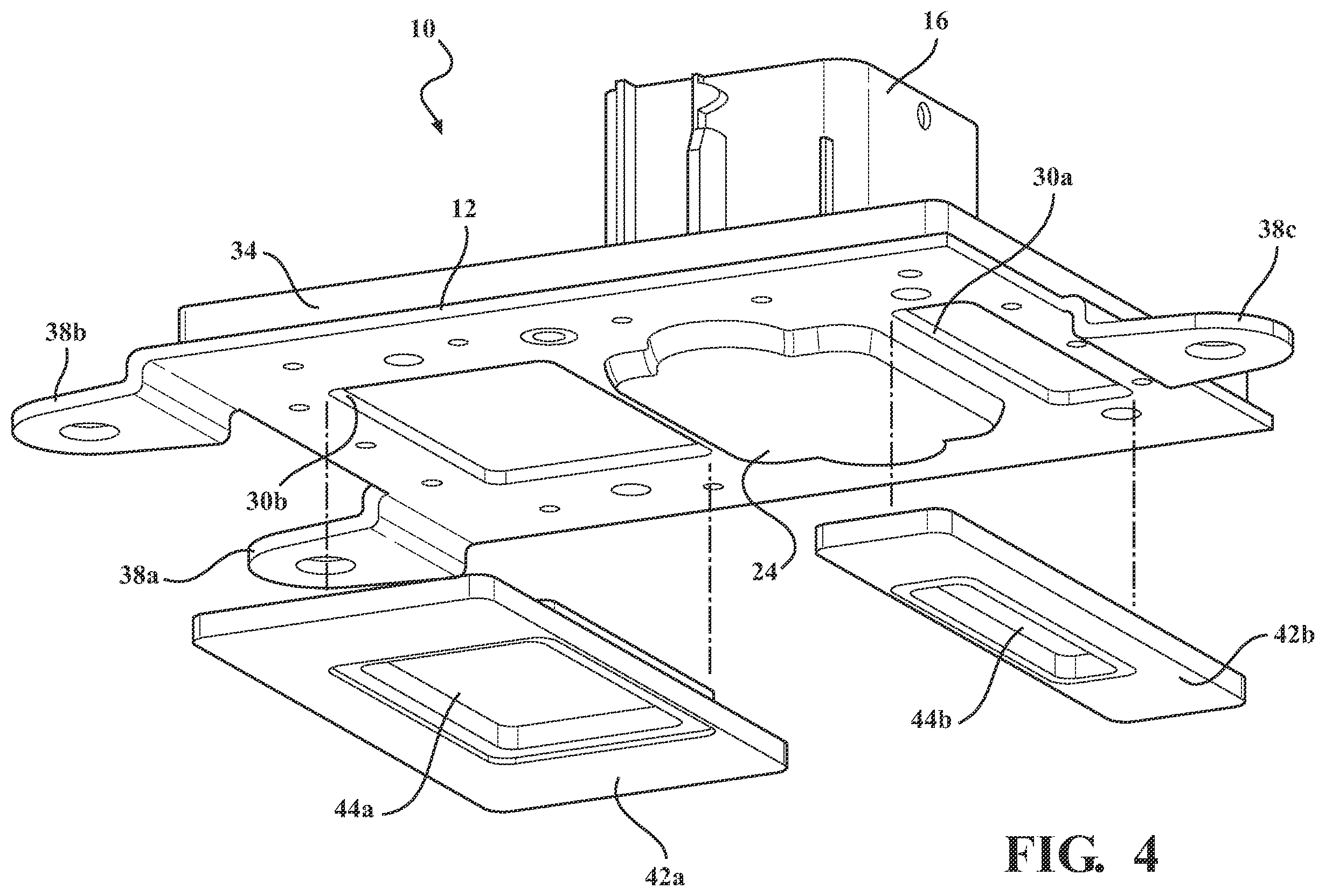
The invention relates generally to a control unit having a connection structure for connecting components of the control unit to a base plate using an overmolding process. Many applications use a control unit for controlling various components. Control units are used in various technology areas, such as automotive, medical, or computing devices. One type of control unit, such as a transmission control unit (TCU) is used to operate a transmission. TCUs typically include a printed circuit board (PCB) having various circuitry, and the PCB is mounted to a base plate. The PCB and base plate are then assembled into the cavity of a housing having various connectors which are in electrical communication with the PCB. The PCB is typically mounted to the baseplate using fasters or some type of adhesive, such as a thermally conductive adhesive. Current control unit designs have fasteners, such as screws, or adhesive to attach the PCB to the base plate, prior to the PCB and the base plate being assembled into the housing. This is costly and requires several manufacturing steps. Accordingly, there exists a need for a control unit which eliminates the need of separate fasteners used during assembly, and a separate housing. In an embodiment, the present invention is a control unit having a connection structure for connecting components of the control unit to a base plate which is cost effective, and eliminates the need for separate fasteners. In an embodiment, the control unit is a transmission control unit, but it is within the scope of the invention the control unit may be suitable for any application where a control unit is needed. In an embodiment, the control unit includes circuitry mounted to a PCB, and the PCB is mounted to a base plate. The circuitry is over molded with an epoxy material, such that the epoxy material flows from a top side of the PCB to underneath the base plate, such that the PCB is fixed to the base plate without the use of fasteners such as screws, or adhesive materials. In an embodiment, the PCB is pre-assembled to the base plate, and this pre-assembly is over molded with an epoxy material to secure the PCB and the base plate together. In an embodiment, the PCB and the base plate are aligned when placed in a tooling device by several half-punches, or alignment standoffs, formed as part of the base plate, or retractable pins in the tooling device. The tooling device clamps and holds the pre-assembly in place during the over molding process. In this embodiment, the epoxy is used for mounting the PCB to the base plate, instead of using additional materials, such as an adhesive or fasteners. In an embodiment, the PCB being mounted to the base plate using the over molding process results in no additional cost. In an embodiment, the assembled PCB and base plate are over molded with an epoxy material. The epoxy material covers and protects the electronics mounted to the PCB. Compared to designs of current housings, the epoxy provides higher robustness and smaller packaging, while also securing the PCB to the base plate, eliminating the need for fasters or adhesive materials. In an embodiment, there are four apertures in the PCB which are aligned with four apertures in the base plate when the PCB is placed in contact with the base plate to form the pre-assembly, where the epoxy flows through the apertures during the over mold process. The epoxy surrounds various parts of the PCB and the base plate, to connect the PCB and base plate together. In an embodiment, the present invention is a control unit, including a base plate, a printed circuit board (PCB) connected to the base plate, and an encapsulation housing. In an embodiment, the base plate and the PCB are connected together by the encapsulation housing. In an embodiment, the encapsulation housing includes a first layer disposed on a side of the PCB, a second layer disposed on a side of the base plate, and the first layer and the second layer are connected together and connect the PCB to the base plate. In an embodiment, the control unit includes at least one flow aperture integrally formed as part of the base plate, and at least a portion of the encapsulation housing is disposed in the flow aperture, in between the first layer and the second layer. In an embodiment, at least one recess is formed as part of the second layer of the encapsulation housing, and a portion of the base plate is adjacent the at least one recess. In an embodiment, the control unit includes a first plurality of assembly apertures integrally formed as part of the PCB, and a second plurality of assembly apertures integrally formed as part of the base plate. In an embodiment, each of the first plurality of assembly apertures is aligned with a corresponding one of the second plurality of assembly apertures, and a portion of the encapsulation housing extends through each of the first plurality of assembly apertures and the second plurality of assembly apertures. In an embodiment, the control unit includes circuitry mounted to the PCB, and at least a portion of the circuitry is covered by the encapsulation housing. In an embodiment, a connector shroud is mounted to the PCB in an area of the PCB unoccupied by the encapsulation housing. At least one circumferential flange is part of the connector shroud and is in contact with the PCB. The circumferential flange is disposed between a portion of the encapsulation housing and the PCB, securing the connector shroud to the PCB. In an embodiment, the control unit includes a cover integrally formed as part of the base plate, and a cavity integrally formed as part of the cover. A portion of the encapsulation housing is adjacent the cover, and the cover is adjacent the PCB in an area of the PCB unoccupied by the encapsulation housing. In an embodiment, a circumferential lip is integrally formed as part of the base plate such that the circumferential lip circumscribes the cover, and a portion of the encapsulation housing is adjacent the circumferential lip. In an embodiment, at least one groove is integrally formed as part of the encapsulation housing, and a portion of the base plate is disposed in the at least one groove, connecting the base plate and the encapsulation housing. Further areas of applicability of the present invention will become apparent from the detailed description provided hereinafter. It should be understood that the detailed description and specific examples, while indicating the preferred embodiment of the invention, are intended for purposes of illustration only and are not intended to limit the scope of the invention. The present invention will become more fully understood from the detailed description and the accompanying drawings, wherein: The following description of the preferred embodiment(s) is merely exemplary in nature and is in no way intended to limit the invention, its application, or uses. An embodiment of a control unit having a connection structure according to the present invention is shown in Connected to the first side 14 Integrally formed as part of the PCB 14 is a first plurality of assembly apertures 26, and integrally formed as part of the base plate 12 is a second plurality of assembly apertures 28. In this embodiment, there are a total of four assembly apertures 26 formed as part of the PCB 14, and four assembly apertures 28 formed as part of the base plate 12, but it is within the scope of the invention that more of less assembly apertures may be formed as part of the PCB 14 and the base plate 12, respectively. Also integrally formed as part of the base plate 12 are two flow apertures 30 In the present embodiment, the base plate 12 is made from aluminum, but it is within the scope of the invention that other materials may be used. The base plate 12 is formed using a stamping process, and during the stamping process, the base plate 12 is stamped from a metal blank, such that the standoffs 12 Referring to the Figures generally, during assembly, the connector shroud 16 is placed in contact with the first side 14 The desired positioning of the connector shroud 16, the PCB 14, and the base plate 12 forms a pre-assembly. The pre-assembly includes the connector shroud 16 being placed in contact with the first side 14 During the over molding process, the epoxy material is injected into the tooling device such that at least a portion of the material flows through the first plurality of assembly apertures 26 and the second plurality of assembly apertures 28, and portions of the epoxy material also flow through the flow apertures 30 Referring again to the Figures generally, in the embodiment shown, once the over molding process is complete, the first layer 34 The second layer 34 Once the over molding process is complete, there are several grooves formed as part of the encapsulation housing 34, and portions of the base plate 12 are located in the grooves. Referring to Once the overmold process is complete, the circumferential flange 16 The control unit 10 described may be suitable for any type of application where a control unit is required, such as, but not limited to, an engine control unit, a transmission control unit, or the like. The description of the invention is merely exemplary in nature and, thus, variations that do not depart from the gist of the invention are intended to be within the scope of the invention. Such variations are not to be regarded as a departure from the spirit and scope of the invention.FIELD OF THE INVENTION
BACKGROUND OF THE INVENTION
SUMMARY OF THE INVENTION
BRIEF DESCRIPTION OF THE DRAWINGS
DETAILED DESCRIPTION OF THE PREFERRED EMBODIMENTS