Aspects of the present disclosure describe optical phased array structures and devices in which hyperbolic phase envelopes are employed to create focusing and diverging emissions in one and two dimensions. Tuning the phase fronts moves focal point spot in depth and across the array. Grating emitters are also used to emit light upward (out of plane). Adjusting the period of the gratings along the light propagation direction results in focusing the light emitted from the gratings. Changes in the operating wavelengths employed moves the focal spot along the emitters.
1. A optical structure comprising:
an optical source that generates light; an array of grating emitters that emit the generated light; and an optical distribution network optically connecting the optical source to the array of grating emitters; wherein at least one of the grating emitters has a grating period that changes along its length, where the changing grating period is configured such that the emitted light has a phase front that exhibits a substantially focusing or diverging shape. 2. The optical structure of 3. The optical structure of 4. The optical structure of 5. The optical structure of 6. The optical structure of 7. The optical structure of 8. The optical structure of 9. The optical structure of 10. The optical structure of 11. The optical structure of 12. The optical structure of 13. The optical structure of 14. The optical structure of 15. A method of operating an optical structure, the optical structure comprising:
an optical source that generates light; an array of grating emitters that emit the generated light; and an optical distribution network optically connecting the optical source to the array of grating emitters; wherein at least one of the grating emitters has a grating period that changes along its length; the method comprising: operating the array of grating emitters such that the emitted light has a phase front that exhibits a substantially focusing or diverging shape. 16. The method of operating the array of grating emitters such that the travel time from the source to a single common focal point is substantially the same for all emitted light. 17. The method of operating the array of grating emitters in optical communication with the distribution network, such that the phase front is translated in a direction out of plane. 18. The method of configuring each of the grating emitters such that its grating period varies over its length. 19. The method of configuring at least one of the grating emitters such that its grating period is longest at a near end and shortest at a far end. 20. The method of
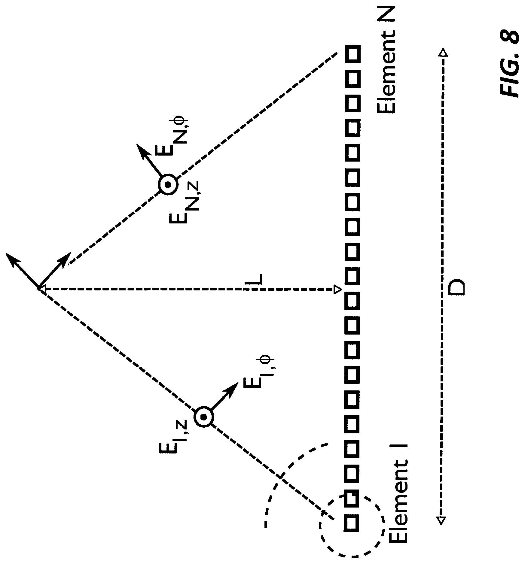
This application is a continuation of U.S. patent application Ser. No. 17/242,135, filed Apr. 27, 2021, which is a continuation of U.S. patent application Ser. No. 15/885,647, filed Jan. 31, 2018, which claims the benefit of U.S. Provisional Patent Application Ser. No. 62/452,838, filed 31 Jan. 2017, each of which is incorporated by reference herein. This application was made with government support under the following contract: Defense Department, Defense Advanced Research Projects Agency (DARPA) Contract No. W911NF-15-P-0029. The government has certain rights in the invention. This disclosure relates generally to the focusing and steering of electromagnetic radiation. More particularly, it relates to methods, systems, structures, and devices that include phased arrays and dynamically focus radiation beams to a desired focal spot depth and steer that focal spot in three dimensions without lenses or moving mechanical parts. As is known, the ability to precisely focus radiation beams at a desired focal spot is of considerable importance to many contemporary technologies including—but not limited to—imaging, ranging, sensing, measuring, detecting, and communications which—in turn—find widespread applicability in scientific and medical instruments and systems, vehicular safety and control, robotic navigation, and line of sight communications. Given the importance and widespread contemporary applicability, systems, methods, and structures that facilitate the precise focus of radiation beams at a desired focal spot—and while eliminating moving mechanical parts from such systems, methods, and structures—would represent a welcome addition to the art. An advance in the art is made according to aspects of the present disclosure directed to optical phased array structures and devices in which hyperbolic phase envelopes are employed to create focusing and diverging emissions in one and two dimensions. Tuning the phase fronts moves focal point spot in depth and across the array and grating emitters are also used to emit light upward (out of plane). Adjusting the period of the gratings along the light propagation direction results in focusing the light emitted from the gratings while changes in the operating wavelengths employed moves the focal spot along the emitters. Viewed from one aspect, optical structures according to the present disclosure include an optical source that generates light; an array of phase-controlled emitters that emit the generated light; and an optical distribution network optically connecting the optical source to the array of phase-controlled emitters; wherein such structures are operated by adjusting the array of phase-controlled emitters such that a hyperbolic delay function is imposed upon the array of phase-controlled emitters. Operationally, such structures may advantageously be adjusted such that the travel time from the source to a single common focal point is substantially the same for all emitted light. In sharp contrast to the prior art, optical structures according to the present disclosure advantageously provide optical phased arrays exhibiting the ability to generate dynamically adjustable, focused or diffused emission patters that may be further adjusted over three-dimensions. A more complete understanding of the present disclosure may be realized by reference to the accompanying drawing in which: The illustrative embodiments are described more fully by the Figures and detailed description. Embodiments according to this disclosure may, however, be embodied in various forms and are not limited to specific or illustrative embodiments described in the drawing and detailed description. The following merely illustrates the principles of the disclosure. It will thus be appreciated that those skilled in the art will be able to devise various arrangements which, although not explicitly described or shown herein, embody the principles of the disclosure and are included within its spirit and scope. Furthermore, all examples and conditional language recited herein are intended to be only for pedagogical purposes to aid the reader in understanding the principles of the disclosure and the concepts contributed by the inventor(s) to furthering the art and are to be construed as being without limitation to such specifically recited examples and conditions. Moreover, all statements herein reciting principles, aspects, and embodiments of the disclosure, as well as specific examples thereof, are intended to encompass both structural and functional equivalents thereof. Additionally, it is intended that such equivalents include both currently known equivalents as well as equivalents developed in the future, i.e., any elements developed that perform the same function, regardless of structure. Thus, for example, it will be appreciated by those skilled in the art that any block diagrams herein represent conceptual views of illustrative circuitry embodying the principles of the disclosure. Lastly, it is noted that while the specific discussion and examples provided throughout this disclosure are predominately optical in nature, the disclosure is not so limited. More specifically, the principles disclosed herein are applicable to other electromagnetic emissions and not just those in the optical range(s) of the electromagnetic spectrum. Unless otherwise explicitly specified herein, the FIGs comprising the drawing are not drawn to scale. By way of some further background we begin by noting that the ability to generate a diffraction limited focusing beam according to the present disclosure may advantageously eliminate the need for conventional focusing structures including moving mechanical parts and associated lenses. As is known and appreciated by those skilled in the art, conventional systems and structures for such important applications as medical imaging—among others—oftentimes employ large lenses, moving mirrors, and complex moving mechanical apparatus to steer electromagnetic radiation—and in particular, light—towards a tissue in three dimensions. Significantly, systems, methods and structures according to the present disclosure provide for the quick and easy change in focal length and location(s) of spots through the effect of electronic control without requiring moving mechanical parts and/or lenses as are conventionally required. Photonic phased arrays have recently attracted considerable attention due—in part—to their widespread applicability to a number of important applications as well as recent development and utilization of advanced lithography and etching techniques originally developed for complementary metal-oxide-semiconductor (CMOS) processes and structures. As will become apparent to those skilled in the art, systems, methods and structures according to aspects of the present disclosure may advantageously employ large scale phased arrays having thousands (or more) emitter elements in which the phase and/or amplitude of elements in one or two dimensions is selectively controlled to generate electromagnetic emissions that coherently interferes with itself thereby creating complex patterns (points) at chosen observation distance(s). Of further advantages, such points may be in a near-field (distance in the order of the wavelength), in the far-field (Fraunhofer diffraction), and in Fresnel diffraction range (mid-range). Turning now to As may be observed from that figure, an array of phased array antenna elements is shown emitting coherent electromagnetic radiation. As is known by those skilled in the art and as used herein, a phased array is an array of antennae grouped together to form a single antenna. A beam produced by the phased array antenna may be steered—without physically moving the antenna—by adjusting phase(s) of signals applied to the individual antennae. In the simple configurations illustrated in in which λ0is the wavelength of the wave in vacuum (λ0=c/f), and n is the refractive index of the propagation material. Accordingly, if one desires that a number of waves exhibiting the same frequency and emanating from several points in space are to meet at a focal point and add up (interfere constructively), the phase of each emitter (ψi) should be corrected by an amount defined by: in which riis the distance of the individual emitter to the focal point. Working backwards from the focal point at a fixed distance, the distance between each emitter and the observation point—its phase retardation changes according to the Pythagorean theorem. This is illustratively shown In a simple case of a one-dimensional array of emitters arranged on single line (y=0 for all) and the x axis is centered around the focal point, the phase compensation requirement for each emitting element located at xiis described by the following relationships: Therefore, the phase correction function may be defined by a hyperbolic function. These same principles apply to two dimensional (2D) arrays in which the emitters employ a 2D hyperbolic function for their phase correction. Turning now to As schematically illustrated in that figure, a hyperbolic delay function is imposed upon the waveguides through the effect of the phase shifters such that an effective travel time from the source to the focal point is equal for all the emitted light. We note that to generate such a focused beam according to aspects of the present disclosure, light (or any other electromagnetic wave) starts from a uniform phase distribution and a hyperbolic distribution of delays is imposed on the waveguides. The amount of the delay—that advantageously may be provided by physical change in the waveguide geometry, thermal phase shifters, electro-optic phase modulators, or liquid crystal tunable delays—among others, is designed such that the total path length the light wave(s) travel(s) from the source of the electromagnetic radiation (Laser or microwave oscillator) to the focal point is equivalent—considering the speed of the wave in different media. We now note that adjusting the curvature of the emitted phase front advantageously leads to different focal points (focal distances). Turning now to We note that as the size of the overall array (and its aperture size which determines the tightness of the focal spot) increases, the length of all waveguides should be increased to accommodate a larger hyperbola. Advantageously, and according to yet another aspect of the present disclosure, as the length of the phase shifting elements is limited by both the chip size and possibly optical loss of the phase shifters, the (hyperbolic) phase function can be wrapped by subtracting multiples of 2π from it to convert the true time delay system to a modulo-2π alternative. It should be noted at this point that a system so configured is limited in its high-speed operations and pulse shaping where the exact delay through all signal paths would affect time domain width of short pulses. On the other hand, in CW applications there is not a difference between 0 and 2π phases as is shown illustratively in As will be readily appreciated by those skilled in the art—and according to an aspect of the present disclosure—since phased array structures and systems constructed therefrom are capable of focusing emissions from the array to a focal point as a result of the application of a hyperbolic phase function, it is further advantageous and according to yet another aspect of the present disclosure to employ adjustable phase shifters such that the phased arrays may dynamically change focal depth and focal spot. Operationally, this is performed by dynamically adjusting the phases on the waveguides through the effect of a dynamically tunable shifter. Examples of suitable dynamically tunable phase shifters include—but are not limited to—liquid crystal phase shifter, thermally tunable delay (visible and infrared light), and electro-optical silicon phase shifters (infrared). Operationally, and with continued reference to A series of liquid crystal phase shifters (or alternatively thermal phase shifters or electro-optic modulators for IR applications) as part of a distribution network interconnecting the lasers to the phased array of emitters, create a desired phase distribution across the phased array. As can be appreciated, when a particular operating focal point distance is desired, the appropriate hyperbolic phase front of the phase array is determined for that focal distance and the phase shifters are adjusted to achieve that appropriate phase front. With electrooptic phase shifters this pattern can be modified with extremely high speeds moving the focal spot within a few picoseconds while the thermal and liquid crystal phase shifters operate with longer delay times. As may be understood, two fundamental properties of such a phased array structures are the overall size of the array (numerical aperture—NA) and the separation between emitting elements (pitch). Similar to a conventional lens, a larger array size (larger NA) leads to tighter, more well defined, focusing points. As may be observed from As may be observed by inspection of At this point of this discussion those skilled in the art will readily appreciate that with respect to optogenetic excitation, bioimaging, surgical applications or any nonlinear pulse operation one factor of utmost importance is depth of focus for emitting systems. More specifically, it is critically important that the focal depth for such applications/systems is as short as possible such that other tissues/materials in front or behind a targeted focal point spot do not experience the power threshold intended for that focal point. Similar to spot size, it is noted that depth of focus is also dependent on array numerical aperture (NA). Since depth of focus scales linearly with the f/L ratio where f is the focal length and L is the width of the overall phased array with the quadratic phase front. Accordingly, for a particular focal distance, both the spot size and the depth of focus may be improved by employing larger and larger arrays if the losses in the system and the number of addressable phase shifters allow it. In current demonstrations of contemporary optical phased arrays, the principal mechanisms of loss are due to poor fill factor and down emission of the grating emitters. In our focusing phased arrays the fill factor is addressed with a <1 μm spacing between the grating emitter elements. The problem of down emission is an equally important problem. In a traditional grating emitter design approximately 50% of the light is emitted in the upward direction and 50% is emitted downward. As is readily apparent to those skilled in the art, a mirror could be utilized to force the downward emitted light to be redirected upwards. However, the spacing of the mirror would have to be set at a well-defined spacing, namely: where m=1, 2, 3 . . . , with small values of m being more desirable due to reduced angular and wavelength dependence. One challenge is in finding a distance that meets this condition and fits within the process layer stack sufficiently far away from a waveguide layer so as not to induce absorption in the guided mode. For this reason, we have taken a different approach. Instead of using a metal layer to reflect the downward emission upwards, we have placed a second set of dipole radiators (or grating layer) that is shifted by π/2 in their temporal phase from the first layer and are additionally separated by a distance λ/4 from the upper emitter layer. This configuration is equivalent to a pair of dipole radiators separated by a distance λ/4 with a π/2 phase advance in the bottom dipole's excitation waveform. The result is that in the downward direction, emission from the dipoles is out of phase and in the upward direction, in phase, ensuring that only the upward directed wave is excited. Another important aspect of grating design that will be readily understood and appreciated by those skilled in the art is its focusing and steering functions. As was shown previously with respect to With simultaneous reference now to where θ is the angle with the vertical direction. As shown in the figure the κ of the grating may be shorter at the beginning of the array and must gradually be increased toward the end of the grating. This may be achieved by a gradual shortening of the grating unit cell. With reference to Assuming that we design an array to work with a red color laser, (as shown in As will be further appreciated by those skilled in the art, hyperbolic phase fronts required for focusing in a transverse direction requires individual phase control of all emitting elements. Of course, as the size of the array grows to thousands (or even millions) of elements, addressing all individual phase shifters will require increasingly more wiring, pads, wire-bonding, and routing schemes to interconnect them. Fortunately, such large arrays including millions of emitters may be directly controlled with 3D bonded CMOS circuitry positioned directly below or above an integrated photonics chip including the array(s) or the CMOS can control the photonics via an interposer providing the connection between the phase shifters and the controllers. Should arrays exhibiting such large sizes be unnecessary, simpler arrays including only hundreds of phase shifters may be controlled with wire bonding and simple electronics (as shown in With simultaneous reference now to those figures, it may be observed that Finally, Computer system 1900 includes processor 1910, memory 1920, storage device 1930, and input/output structure 1940. One or more input/output devices may include a display 1945. One or more busses 1950 typically interconnect the components, 1910, 1920, 1930, and 1940. Processor 1910 may be a single or multi core. Additionally, the system may include accelerators etc. further comprising the system on a chip. Processor 1910 executes instructions in which embodiments of the present disclosure may comprise operational steps described including the detection of phased array output, application of function(s) across phase shifters to vary any focus spot, adjusting grating pitch, and/or adjusting output wavelength from the source. Such instructions may be stored in memory 1920 or storage device 1930. Data and/or information may be received and output using one or more input/output devices. Memory 1920 may store data and may be a computer-readable medium, such as volatile or non-volatile memory. Storage device 1930 may provide storage for system 1900 including for example, the previously described operations. In various aspects, storage device 1930 may be a flash memory device, a disk drive, an optical disk device, or a tape device employing magnetic, optical, or other recording technologies. Input/output structures 1940 may provide input/output operations for system 1900 and provide structures and protocols via which computer system interacts with larger systems and components. Those skilled in the art will at this juncture appreciate that while we have shown and described our inventive operation as generating a focal point or spot, our disclosure and structures and methods are not so limited. More particularly, systems methods and structures according to the present disclosure may generate any shape, or an arbitratily shaped illumination pattern, so that any pattern on an arbitration plane could be one or two spots with maximum intensity and arbitrary phase for each one. Such patterns may even be square, or other rectangular shape. Note further that one can also adjust the amplitude as well as the phase such that the amplitude of the field emitting from each element may be nonuniform—for example—gaussian across the array. As shown illustratively in Finally, At this point, while we have presented this disclosure using some specific examples, those skilled in the art will recognize that our teachings are not so limited. Accordingly, this disclosure should be only limited by the scope of the claims attached hereto.CROSS REFERENCE TO RELATED APPLICATIONS
STATEMENT AS TO FEDERALLY SPONSORED RESEARCH
TECHNICAL FIELD
BACKGROUND
SUMMARY
BRIEF DESCRIPTION OF THE DRAWINGS
DETAILED DESCRIPTION
Δϕ=−(2π/λ0)×
ψi=(2ϕ/λ0)×
δ
Δϕ=−(2π