заявка
№ US 20230118946
МПК G01S19/08

GNSS FORECAST AND SPOOFING/JAMMING DETECTION

Авторы:
Jeremy Charles BENNINGTON Richard WEST Paul HANSEN
Все (5)
Правообладатель:
Номер заявки
17948176
Дата подачи заявки
19.09.2022
Опубликовано
20.04.2023
Страна
US
Как управлять
интеллектуальной собственностью
Реферат

[0000]

Disclosed is a method of detecting and rejecting a spoofing or jamming signal source by receiving at a first device a forecast of a visibility for each Global Navigation Satellite System (GNSS) satellite signal source in the forecast at a GNSS receiver coupled to the first device, calculating from at least an elevation and the received visibility of the satellite signal sources in the forecast a predicted Signal to Noise Ratio (SNR), comparing SNR acquired by the GNSS receiver of one or more of the satellite signal sources to the predicted SNR, detecting a spoofing signal source based on acquiring a higher SNR than predicted or a jamming signal source based on acquiring a lower SNR than predicted, and rejecting the spoofing or jamming signal source based on differences between the acquired and predicted SNR.

[00000]

Формула изобретения

1. A method of detecting and rejecting a spoofing signal source, the method comprising:

receiving at a first device a forecast of a visibility for each Global Navigation Satellite System (GNSS) satellite signal source in the forecast;

at a GNSS receiver coupled to the first device, calculating from at least an elevation and the received visibility of the satellite signal sources in the forecast a predicted Signal to Noise Ratio (SNR);

comparing SNR acquired by the GNSS receiver of one or more of the satellite signal sources to the predicted SNR;

detecting a spoofing signal source based on acquiring a higher SNR than predicted; and

rejecting the spoofing signal source based on differences between the acquired and predicted SNR.

2. The method of claim 1, further including receiving, in the forecast, elevation data for the satellite signal sources in the forecast.

3. The method of claim 1, wherein prediction of the SNR occurs at the first device.

4. The method of claim 1, wherein the predicted SNR is based on predicted LOS data and predicted NLOS data.

5. The method of claim 1, further including the receiving, the calculating, and the comparing, are repeated at a later time; and

the detecting action is based on:

an earlier result of the comparing; and

a later result of the repeated comparing.

6. A method of detecting and rejecting a jamming signal source, the method comprising:

receiving at a first device a forecast of a visibility for each Global Navigation Satellite System (GNSS) satellite signal source in the forecast;

at a GNSS receiver coupled to the first device, calculating from at least an elevation and the received visibility of the satellite signal sources in the forecast a predicted Signal to Noise Ratio (SNR);

comparing SNR acquired by the GNSS receiver of one or more of the satellite signal sources to the predicted SNR;

detecting a jamming signal source based on acquiring a lower SNR than predicted; and

rejecting the jamming signal source based on differences between the acquired and predicted SNR.

7. The method of claim 6, further including receiving, in the forecast, elevation data for the satellite signal sources in the forecast.

8. The method of claim 6, wherein prediction of the SNR occurs at the first device.

9. The method of claim 6, wherein the predicted SNR is based on predicted LOS data and predicted NLOS data.

10. The method of claim 6, further including the receiving, the calculating, and the comparing, are repeated at a later time; and

the detecting action is based on:

an earlier result of the comparing; and

a later result of the repeated comparing.

11. A non-transitory computer readable storage medium impressed with computer program instructions to detect and rejecting a spoofing signal source, the instructions, when executed on a processor, implement a method comprising:

receiving at a first device a forecast of a visibility for each Global Navigation Satellite System (GNSS) satellite signal source in the forecast;

at a GNSS receiver coupled to the first device, calculating from at least an elevation and the received visibility of the satellite signal sources in the forecast a predicted Signal to Noise Ratio (SNR);

comparing SNR acquired by the GNSS receiver of one or more of the satellite signal sources to the predicted SNR;

detecting a spoofing signal source based on acquiring a higher SNR than predicted; and

rejecting the spoofing signal source based on differences between the acquired and predicted SNR.

12. The non-transitory computer readable storage medium of claim 11, further including receiving, in the forecast, elevation data for the satellite signal sources in the forecast.

13. The non-transitory computer readable storage medium of claim 11, wherein prediction of the SNR occurs at the first device.

14. The non-transitory computer readable storage medium of claim 11, wherein the predicted SNR is based on predicted LOS data and predicted NLOS data.

15. The non-transitory computer readable storage medium of claim 11, further including the receiving, the calculating, and the comparing, are repeated at a later time; and

the detecting action is based on:

an earlier result of the comparing; and

a later result of the repeated comparing.

16. A system for detect and rejecting a spoofing signal source, the system including a processor, memory coupled to the processor, and computer instructions from the non-transitory computer readable storage media of claim 11 loaded into the memory.

17. A non-transitory computer readable storage medium impressed with computer program instructions to detect and rejecting a jamming signal source, the instructions, when executed on a processor, implement a method comprising:

receiving at a first device a forecast of a visibility for each Global Navigation Satellite System (GNSS) satellite signal source in the forecast;

at a GNSS receiver coupled to the first device, calculating from at least an elevation and the received visibility of the satellite signal sources in the forecast a predicted Signal to Noise Ratio (SNR);

comparing SNR acquired by the GNSS receiver of one or more of the satellite signal sources to the predicted SNR;

detecting a jamming signal source based on acquiring a lower SNR than predicted; and

rejecting the jamming signal source based on differences between the acquired and predicted SNR.

18. The non-transitory computer readable storage medium of claim 17, further including receiving, in the forecast, elevation data for the satellite signal sources in the forecast.

19. The non-transitory computer readable storage medium of claim 17, wherein prediction of the SNR occurs at the first device.

20. The non-transitory computer readable storage medium of claim 17, wherein the predicted SNR is based on predicted LOS data and predicted NLOS data.

21. The non-transitory computer readable storage medium of claim 17, further including the receiving, the calculating, and the comparing, are repeated at a later time; and

the detecting action is based on:

an earlier result of the comparing; and

a later result of the repeated comparing.

22. A system for detect and rejecting a jamming signal source, the system including a processor, memory coupled to the processor, and computer instructions from the non-transitory computer readable storage media of claim 17 loaded into the memory.

Описание

PRIORITY

[0001]

This application claims priority to and the benefit of U.S. 63/407,589 titled “Accuracy of a GNSS Receiver That Has a Non-Directional Antenna, filed 16 Sep. 2022 (Attorney Docket No. SPIR 1169-1).

[0002]

This application is also a continuation in part of U.S. application Ser. No. 17/706,421 titled “Enhancing RTK Position Resolution Using An RTK-Enabled GNSS Positioning Receiver,” filed 28 Mar. 2022 (Attorney Docket No. SPIR 1139-11) which is a continuation U.S. application Ser. No. 17/374,885 titled “Enhancing RTK Position Resolution Using An RTK-Enabled GNSS Positioning Receiver,” filed 13 Jul. 2021, now U.S. Pat. No. 11,287,531, issued 29 Mar. 2022. which claims priority to U. S. Provisional Patent Application Nos. 63/051,849 entitled “An Architecture for Providing Forecasts of GNSS Obscuration and Multipath,” (Attorney Docket No. SPIR 1139-1) filed 14 Jul. 2020 and 63/161,386 entitled “An Architecture for Providing Forecasts of GNSS Obscuration and Multipath,” (Attorney Docket No. SPIR 1139-3) filed 15 Mar. 2021. The priority applications incorporated by reference for all purposes.

RELATED CASES

[0003]

This application is related to the following contemporaneously filed applications:

[0004]

U.S. application Ser. No. 17/948,171 titled “GNSS Forecast Impacting Receiver Startup,” filed 19 Sep. 2022 (Attorney Docket No. SPIR 1169-2); and

[0005]

U.S. application Ser. No. 17/948,182 titled “GNSS Forecast and Background Obscuration Prediction,” filed 19 Sep. 2022 (Attorney Docket No. SPIR 1169-4); and

[0006]

U.S. application Ser. No. 17/948,171 titled “GNSS Forecast and Line of Sight Detection” filed 19 Sep. 2022 (Attorney Docket No. SPIR 1169-5); and

[0007]

U.S. application Ser. No. 17/948,182 titled “Utilizing GNSS Risk Analysis Data for Facilitating Safe Routing Of Autonomous Drones” filed 19 Sep. 2022 (Attorney Docket No. SPIR 1164-2); and

[0008]

U.S. application Ser. No. 17/948,218 titled “Generating and Distributing GNSS Risk Analysis Data for Facilitating Safe Routing Of Autonomous Drones” filed 19 Sep. 2022 (Attorney Docket No. SPIR 1164-3).

[0009]

The related applications are incorporated by reference for all purposes.

INCORPORATIONS

[0010]

The following materials are incorporated by reference for all purposes as if fully set forth herein:

[0011]

U.S. application Ser. No. 17/374,882 entitled “Accuracy Of A GNSS Receiver That Has a Non-Directional Antenna,” (Attorney Docket No. SPIR 1139-5) filed 13 Jul. 2021 and

[0012]

U.S. application Ser. No. 17/374,891, titled “Path Planning Using Forecasts Of Obscuration And Multipath” filed 13 Jul. 2021 (Atty Docket No, SPIR 1139-6); and

[0013]

Recommendation ITU-R P.681-11 (August 2019), Propagation data required for the design systems in the land mobile-satellite service; and

[0014]

Recommendation ITU-R P.681-11 (August 2019), Propagation data required for the design systems in the land mobile-satellite service; and

[0015]

Report ITU-R P.2145-2, (September 2017), Model parameters for the physical-statistical wideband model in Recommendation ITU-R P.681; and

[0016]

Recommendation ITU-R P.1407-7, (August 2019), Multipath propagation and parameterization of its characteristics; and

[0017]

GB Application No. 1111305.7, titled Recording, Storage and Playback of GNSS Signals, filed 4 Jul. 2011, now GB Patent No. 2492547, issued 7 Nov. 2018 (Atty Docket No. SPIR 1134-1 GB); and

[0018]

U.S. application Ser. No. 13/786,020, titled System and Method for Testing Real World A-GNSS Performance Of A Device, filed 5 Mar. 2013, now U.S. Pat. No. 9,519,063, issued 13 Dec. 2016 (Atty Docket No. SPIR 1071-1); and

[0019]

Federal Aviation Administration (FAA) Technical Standard Order (TSO)-C199 for Traffic Awareness Beacon System (TABS)

FIELD OF THE TECHNOLOGY DISCLOSED

[0020]

The technology disclosed relates to data processing, vehicles, navigation and relative location. The technology disclosed provides for electrical computers, digital data processing systems, and data processing processes for transferring data between a plurality of computers or processes wherein the computers or processes employ the data before or after transferring and the employing affects the transfer of data therebetween.

[0021]

In particular, the technology disclosed relates to improving the startup time and accuracy of GNSS receivers. The disclosed technology also includes recognizing and rejecting spoofed or jammed GNSS signals received by a GNSS receiver. The disclosed technology also includes different resolutions for near and distant locations. The disclosed technology also includes efficient resolutions for establishing masks for LOS.

BACKGROUND

[0022]

The subject matter discussed in this section should not be assumed to be prior art merely as a result of its mention in this section. Similarly, a problem mentioned in this section or associated with the subject matter provided as background should not be assumed to have been previously recognized in the prior art. The subject matter in this section merely represents different approaches, which in and of themselves may also correspond to implementations of the claimed technology.

[0023]

Connected Autonomous Vehicles (CAV) and vehicles with Advanced Driver-Assisted Systems (ADAS) require reliable GPS sensor information. In one example, an autonomous vehicle needs to have reliable positioning information for safety. The absence of good GPS signal coverage can cause malfunctions in the decision-making logic of an automated or self-driving car, causing it to navigate incorrectly and potentially collide with traffic. In another example, for an Unmanned Aerial System (UAS/drone) being used for package delivery or survey relies upon consistent highly accurate GPS positioning. The result of encountering an area of poor GPS coverage can be the failure of a package delivery, non-compliance with Remote Identification requirements, non-conformance to the approved operational airspace, or even increased risk of collision with other aircraft.

[0024]

Simulations can be performed before equipment is used in a live setting, in order to minimize risks involved in component or system failure. Testing for receiver equipment exists and is widely used in the industry. Simulation and testing in a design environment ensures that the system has a known performance given a range of signal qualities and types. Modeling and simulation of a signal environment specific to an area of operation is less prevalent.

[0025]

An opportunity arises for providing dilution of precision (DOP) forecasts for GNSS navigation for routing of vehicles or alerting humans in vehicles, distributing forecasts with more information than a device can estimate from its sensing of the environment that it is in. Moreover, the forecast is done in advance of a vehicle being in the environment and hence can be used for planning and improving integrity. The disclosed technology can improve both real time and route planning for both terrestrial and airborne vehicles, providing improved information about the reliability of the signals being processed by GNSS receivers, and providing the predictions over an Internet cloud architecture to millions of users.

SUMMARY

[0026]

The technology disclosed addresses improving accuracy of a GNSS receiver that has a non-directional antenna including sending a request for predictive data for an area that includes the receiver to a CDN. Responsive to the query, the technology includes receiving data indicating predicted line-of-sight visibility from the receiver to individual satellites and extracting from the data a prediction for a present or future location of the receiver and using the extracted data for satellite selection, for choosing some and ignoring other individual satellites.

[0027]

Particular aspects of the technology disclosed are described in the claims, specification and drawings.

BRIEF DESCRIPTION OF THE DRAWINGS

[0028]

The included drawings are for illustrative purposes and serve only to provide examples of possible structures and process operations for one or more implementations of this disclosure. These drawings in no way limit any changes in form and detail that may be made by one skilled in the art without departing from the spirit and scope of this disclosure. A more complete understanding of the subject matter may be derived by referring to the detailed description and claims when considered in conjunction with the following figures, wherein like reference numbers refer to similar elements throughout the figures.

[0029]

The patent or application file contains at least one drawing executed in color. Copies of this patent or patent application publication with color drawing(s) will be provided by the Office upon request and payment of the necessary fee. The color drawings also may be available in PAIR via the Supplemental Content tab.

[0030]

FIG. 1 shows example architecture for improving accuracy of a GNSS receiver that has a non-directional antenna, according to one embodiment of the disclosed technology.

[0031]

FIG. 2 shows an alternate implementation in which GNSS Forecasts are stored directly from the forecast engine to the CDN.

[0032]

FIG. 3A shows a detailed block diagram of system architecture for improving accuracy of a GNSS receiver that has a non-directional antenna.

[0033]

FIG. 3B shows a message flow for interactions of forecast worker service (FWS) 356 with other services.

[0034]

FIG. 3C shows an example bounding box, usable to facilitate the selection of Forecast Batch data that correspond to a particular user point/trajectory/area.

[0035]

FIG. 3D shows a sketch of a stack of shaded tiles and an example 1 Km2output buffer of FES.

[0036]

FIG. 3E illustrates an Amazon Web Services (AWS) Cloud implementation of the disclosed architecture, showing a detailed block diagram of the components and protocols of system architecture.

[0037]

FIG. 3F describes an example forecast file for a given area (tile) over a time period.

[0038]

FIG. 4A illustrates a 2D map orbit with GNSS satellites, and an example error calculation for a 2D point.

[0039]

FIG. 4B illustrates an example 1-pass analysis for finding satellite visibility at a Valid Observable Point (VOP).

[0040]

FIG. 4C illustrates the 1st pass of an example 2-pass analysis for finding satellite visibility at a Valid Observable Point (VOP).

[0041]

FIG. 4D illustrates the 2nd pass of an example 2-pass analysis for finding satellite visibility at a Valid Observable Point (VOP).

[0042]

FIG. 5 shows message flow for session authentication between the user/customer 348, content delivery network (CDN) and GNSS Forecast engine service (FES) that provides forecasts to the CDN.

[0043]

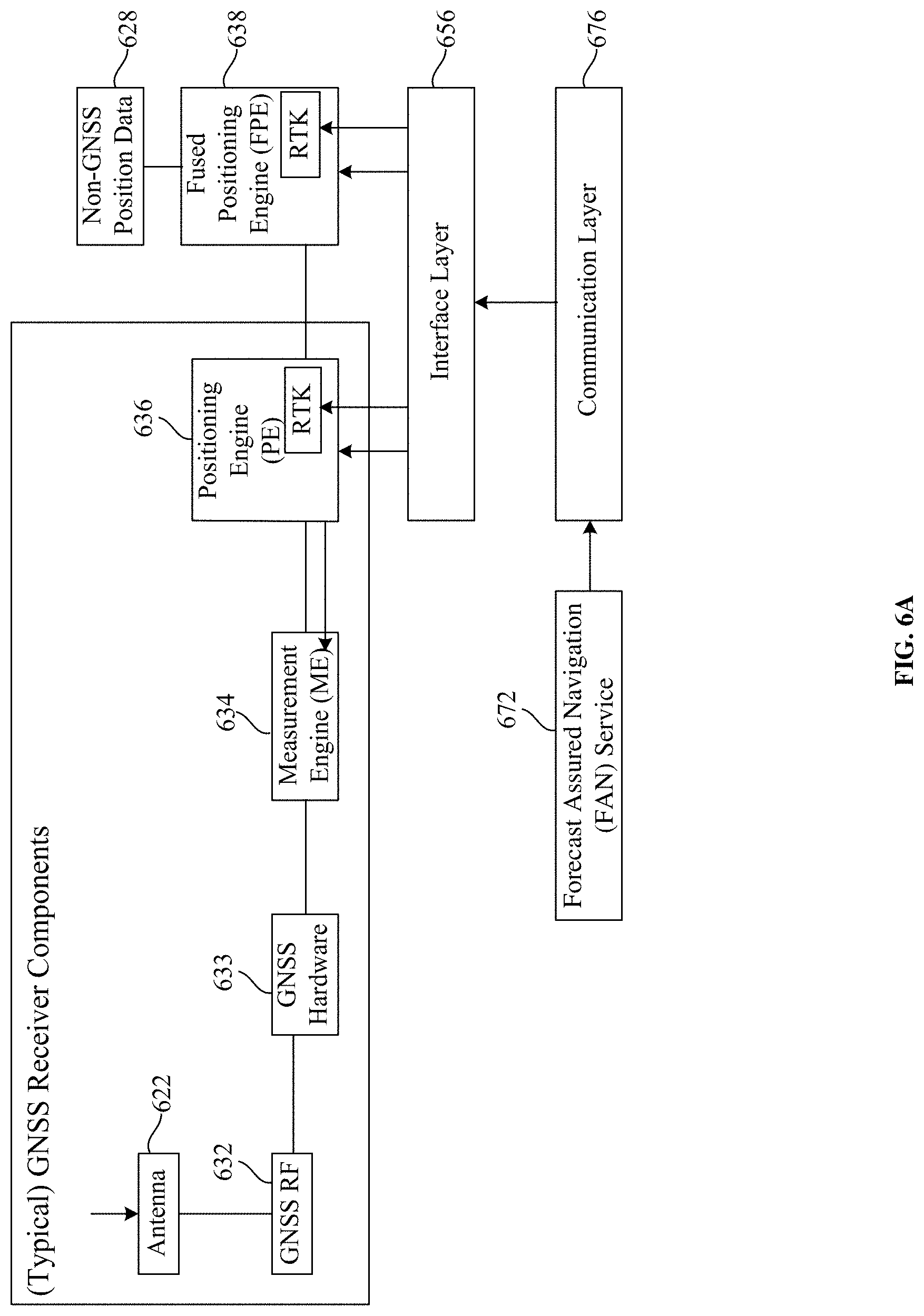
FIG. 6A shows the block diagram for a receiver, with the flow of data from the Forecast Assured Navigation (FAN) system to elements in the GNSS receiver.

[0044]

FIG. 6B illustrates an example result of utilizing the disclosed GNSS Forecast with RTK to improve performance.

[0045]

FIG. 6C illustrates SNR of GPS signals at corresponding elevations on an open field, using real world data.

[0046]

FIG. 6D illustrates a scenario in which a large obstruction is distant from nearby grid of points and is still accounted for by the forecast system.

[0047]

FIG. 7A illustrates one example of the disclosed Forecast Assured Navigation (FAN) user interface.

[0048]

FIG. 7B illustrates the relationship between accuracy and precision for target satellite locations, for evaluating and visualizing navigation corridors.

[0049]

FIG. 8A illustrates the effect of turning a geometric corner in an urban environment on the number of LOS satellites within a target area.

[0050]

FIG. 8B shows an example urban roadway for utilizing FAN Forecasts for a smart intersection, illustrating the need for accurate GNSS Forecasts, pictorially.

[0051]

FIG. 8C illustrates the environment of fast convergence for low initial uncertainty, illustrated in an urban environment, and a first approach to efficient startup convergence.

[0052]

FIG. 8D illustrates a second approach to convergence by correlating satellite visibility data with signal strength by the receiver.

[0053]

FIG. 9A shows the entry of a proposed route via the route button or by importing of a KML file for expressing geographic annotation and visualization, by selecting the “create a route” feature.

[0054]

FIG. 9B shows the completed route before the user selects finish to display route information. The solid line illustrates the intended path/trajectory.

[0055]

FIG. 9C shows the route length and the enabled DOP layer displays the GNSS forecast heat map and subsequent too-wide flight corridor, due to position accuracy requirements.

[0056]

FIG. 9D shows the visualization interface with the DOP layer feature on, in 2D side view.

[0057]

FIG. 9E shows the route map as it is entered, and the flight corridor is calculated and displayed alongside the route, in both top view and side view.

[0058]

FIG. 9F shows the visualization UI with a completed route with the GNSS forecast data informing the route via the displayed heat map in which different DOP ranges are displayed in different shadings, to avoid degraded performance and ensure the tightest possible flight corridor.

[0059]

FIG. 9G shows a UI view of the visualization interface that allows users to plan a route by clicking on the map while the heat map is visible.

[0060]

FIG. 10A shows a 3D visualization of the forecast interface displaying the GNSS Forecast DOP in measure mode for a location selected by the user.

[0061]

FIG. 10B shows the 3D visualization UI with rays enabled for viewing individual lines of sight from reticule to satellites in orbit.

[0062]

FIG. 11 displays the GNSS Forecast at 20:23:00 GPS at ground level.

[0063]

FIG. 12 displays the GNSS Forecast at 20:47:18 GPS at ground level.

[0064]

FIG. 13 displays the GNSS Forecast at 20:47:18 GPS at 30 meters above ground level.

[0065]

FIG. 14, FIG. 15 and FIG. 16 illustrate GNSS Forecast visualizations at three sequential times, separated by 12 minutes each.

[0066]

FIG. 14 depicts a route along West Ohio Street in the urban center of Indianapolis that shows where the receiver thinks it is, at 12 minutes before the mid-point time of the drive, encoded with PDOP value bands.

[0067]

FIG. 15 depicts 3D GNSS Forecast visualization heat map results for West Ohio Street, Indianapolis, at four different altitude planes.

[0068]

FIG. 16 depicts floating planes of signal strength for visualizing signal coverage over time, showing a lateral view of 3D GNSS Forecast visualization results for West Ohio Street, Indianapolis, at four different altitude planes.

[0069]

FIG. 17 illustrates an example of a customer request, with a four-point polygon and min/max heights.

DETAILED DESCRIPTION

[0070]

The following detailed description is made with reference to the figures. Sample implementations are described to illustrate the technology disclosed, not to limit its scope, which is defined by the claims. Those of ordinary skill in the art will recognize a variety of equivalent variations on the description that follows.

[0071]

Autonomous or assisted navigation often depends on positioning information from satellite constellations, from GPS, in the United States, and GNSS, more generically. There are many known problems with GNSS positioning, related to obscured signals and multi-pathing. Estimates of the reliability GNSS positioning are important to autonomous vehicles, both ground vehicles and flying vehicles.

[0072]

Urban and suburban areas present one class of problems. Tall buildings both obscure signals, blocking the line of sight to satellites, and cause multi-pathing. A GNSS receiver in an urban canyon can see only a narrow slice of the sky. It still receives signals from many satellites, reflected off buildings and flat surfaces. However, the distance traveled changes when signals are reflected, as opposed to signals received on a line of sight. GNSS receivers strive for accuracy within 3 feet. This accuracy is difficult to obtain for a reflected signal that travels 100 feet further than a line-of-sight signal would.

[0073]

Even rural areas are subject to obscure signals and multi-pathing. Trees, for instance, partially obscure satellite signals. Hilly or mountainous countryside surfaces can induce multi-pathing. These effects are less dramatic in rural areas than in urban canyons.

[0074]

Conditions between the satellite and receiver can partially obscure and disrupt signals. These conditions include both weather in the atmosphere and energizing of the ionosphere by solar disturbances.

[0075]

One approach to signal reliability has been crowd sourcing of receiver estimates of locations from actual vehicles. The problem is that receivers sometimes are biased towards being overly confident about their position estimate. Moreover, the satellites are constantly orbiting around the earth and while a receiver may experience a good signal at one location and time, it may not in the future.

[0076]

In one example, Uber uses a client-server architecture that utilizes 3D maps and performs sophisticated probabilistic computations on GPS data. Statistical modeling in a probabilistic framework, for checking whether the ray joining the location to the satellite is blocked for a possible location for the receiver, can utilize crowd-sourced 3D maps. The probability distribution model of the SNR under LOS and shadowed condition is usable for determining the likelihood of the SNR measured for the satellite, and this can be duplicated over a grid of possible locations to obtain a likelihood surface—or heat map—of possible receiver locations, based on satellite signal strengths, for probabilistic shadow matching. The heat map from probabilistic shadow matching has very many local maxima and the GNSS fix can have large outliers, driving the use of filters to approximate arbitrary distributions, at the expense of high complexity. The accuracy is also limited by the quality of the crowd-sourced 3D maps.

[0077]

Limitations introduced by the use of statistical models motivate the disclosed technology for forecast assured navigation (FAN) for providing dilution of precision (DOP) forecasts and/or degree of confidence forecasts for GNSS navigation for routing of vehicles or alerting humans in vehicles, using simulation for generating prediction of GPS/GNSS signals based on time, position, environmental data and maps. The disclosed GNSS Forecast heat maps are usable to determine integrity and performance along a route and for nearby areas.

Acronyms

[0078]

Acronyms used in this disclosure are identified the first time that they are used. These acronyms are terms of art, often used in standards documents. Except where the terms are used in a clear and distinctly different sense than they are used in the art, we adopt the meanings found in testing standards. For the reader's convenience, many of them are listed here:

[0000]

ADASAdvanced Driver-Assisted System
AGLAbove Ground Level
APIApplication Programming Interface
ASILAutomotive Safety Integrity Level
AWSAmazon Web Services
BVLOSBeyond Visual Line of Sight
CAVConnected Autonomous Vehicles - self-driving cars and autonomous drones
CMSContent Management System
CDNContent Delivery Network
CDNGCDN Gateway
DAVDetect and Avoid
DCMDigital City Map
DEMDigital Elevation Model
DSMDigital Surface Model - earth's surface and objects on it
DOPDilution of Precision
DTMDigital Terrain Model
ERPEnterprise Resource Planning
eVTOLElectric Vertical Takeoff and Landing
F2CDNSForecast to CDN Service
FANForecast Assured Navigation
FBXAutodesk FilmBox Format (3D Data Interchange)
FCaaSFlight Check as a Service
FCForecast Controller
FCBSForecast Call-back Service
FESForecast Engine Service
FOForecast Orchestrator
FPSForecast Processing Store
FWSForecast Worker Service
GISGeographical Information System
GNSSGlobal Navigation Satellite System
GPSGlobal Positioning System
GPUGraphics Processing Unit
gRPCOpen-source Remote Procedure Call
HAVHybrid Air Vehicles
IaaSIntegrity as a Service
JSONJavaScript Object Notation
LESLogging and Event Service
LOSLine of Sight
MCSMap Curation Service
MPPMap Processing Pipeline
NLOSNon-Line of Sight
NTPNetwork Time Protocol
ODDOperational Design Domain
OPROrbit Prediction Runner
OPSOrbit Prediction Service
OSRObservation Space Representation
P2CDNSPublic to CDN Service
PDOPPosition Dilution of Precision
PEPositioning Engine
PNTPosition, Navigation and Time
POCProof of Concept
PosAppPositioning Application - Proprietary Spirent software application for multi-
channel satellite navigation (GNSS) simulation systems
PPPPrecise Point Positioning
RAIMReceiver Autonomous Integrity Monitoring
RDVSRINEX Downloader & Validator Service
RESTRepresentational State Transfer
RINEXReceiver Independent Exchange Format
RMRoad Map
RNAVArea Navigation
RNPRequired Navigation Performance
RPCRemote Procedure Call
RTKReal-Time Kinematic
SCSSchedule Curation Service
SDSPSupplemental Data Service Provider
SHPShape File - commercial standard for representing geospatial vector data
SimGENMode of PosApp: full scenario environment development capability;
extended data input/output options, user actions and commands; advanced
remote control
SLAService Level Agreement
SNRSignal to Noise Ratio
SQLStructured Query Language
SSScheduler Service
SSRState Space Representation
TDOATime Difference of Arrival - multilateralization for geolocation of RF
emitters
TRANSSECTransmission Security
TSETotal System Error
TTATime to Alarm
UAUnmanned Aircraft
UAAAUrban Advance Air Mobility
UASUnmanned Aerial System
UAVUnmanned Aerial Vehicles
USSUnmanned Service Supplier
UTMUniversal Transverse Mercator coordinate system
UTMPUnmanned Traffic Management Program
VMPSVendor Map Processing Service
VOPValid Observable Points
WAASWide Area Augmentation System
WGS84U.S. DoD global reference system for geospatial information for GPS

[0079]

The Forecast Assured Navigation (FAN) technology disclosed herein addresses the need of GNSS receivers, measurement engines, positioning engines, consumer devices, telecommunication equipment, navigation systems, avionics, and vehicles' “clients” that use GNSS as a source of position, navigation and timing to know where and when GNSS signals will be available, impaired, or not available. Clients can exist in a laboratory environment for test and validation, in a planning system before operation of a system, or in a live environment where the client is in an operational vehicle. Existing integrity and augmentation techniques consider many variables, such as the atmosphere, satellite errors and orbits, to improve the performance and reliability of the client. The local environment, such as buildings, are not known to the client and are one of the primary unaddressed sources of errors due to loss of the signal due to obscuration or interference of the signal due to partial obscuration of the signal and multipath. When the client is given a prediction of GNSS obscurations and multipath, the client can either plan to avoid areas or use the prediction to improve performance of the client.

[0080]

Autonomous vehicles can benefit from improved information about the reliability of the signals being processed by GNSS receivers. This information is useful both in real time and for route planning. The process of generating a prediction of GPS/GNSS signals based on time, position, environmental data, and maps uses various methods to determine satellite obscurations based on position, time, environmental data, and maps. Moreover, the process uses various methods to determine satellite signal degradation due to multipath and other interference based on position, time, environmental data and maps.

[0081]

The disclosed technology for Forecast Assured Navigation (FAN) uses environmental data (maps containing building locations, terrain, vegetation, and other obstacles) to determine GNSS satellite obscurations (line-of-sight, non-line-of-sight, out-of-view) at some time in the past, present, or future and for specific locations, also referred to as a GNSS obscuration forecast.

[0082]

The disclosed technology also uses environmental data (maps containing building locations, terrain, vegetation, and other obstacles) to determine GNSS satellite multipath at some time in the future and for specific locations, referred to as a GNSS multipath forecast.

[0083]

The disclosed technology applies statistical multipath models to 3D maps that represent a real environment. Existing models detailed in ITU-R P681-11, P.2145-2, and P.1407-7 are designed to model multipath for satellite communications, not GNSS. The disclosed technology can extend these and other models for use in GNSS despite the fact that they do not use as many satellites or the same exact frequencies. Moreover, existing models use self-generated maps that are synthetically created to represent different types of environments such as urban, suburban, rural and other types of environments. The disclosed technology uses the same algorithms, but instead of self-generated maps uses 3D maps that represent a real environment to generate a prediction of GNSS satellite multipath signals.

[0084]

The disclosed Forecast Assured Navigation (FAN) technology features an obscuration forecast and a multipath forecast, that enable determining in advance where and when GNSS is reliable. FAN is a cloud-based service which provides additional forecast information about the expected GNSS visibility for specific regions around the world, as requested by the end user. This service differs from existing solutions as it also considers the terrain and the built-up environment instead of assuming open sky. SaaS supports receivers, positioning engines and navigation systems to provide better situational awareness of the GNSS signals they are receiving. The additional information is computed by applicant using present satellite orbits, GNSS simulators and high-definition 3D maps to look into the future and provide the intended solution with a much more precise expected satellite signal visibility than would be available otherwise. This technology supports features for autonomous ground-based vehicles for real-time planning and operation, including automated lane control with or without a known path, and for mission planning for future routes.

[0085]

A system architecture for improving accuracy of a GNSS receiver that has a non-directional antenna is described next.

System Architecture

[0086]

FIG. 1 shows example system architecture 100 for improving accuracy of a GNSS receiver that has a non-directional antenna. The architecture includes the design and interfaces for gathering satellite data, environmental data, maps and algorithms, and for storing data via data management, distributing on a cloud architecture and interfacing with users. Because FIG. 1 is an architectural diagram, certain details are intentionally omitted to improve clarity of the description. The discussion of FIG. 1 is organized as follows. First, the elements of the figure will be described, followed by their interconnections. Then, the use of the elements in the system will be described in greater detail.

[0087]

System architecture 100 includes applicant's cloud 155 with GNSS Forecast engine service (FES) 125, map engine and service 128, GNSS CDN service 158, visualization block 152 and end user/customer positioning engine 195. GNSS Forecast engine service (FES) 125 interfaces with the environmental data module and simulation/algorithm module and calculates predictions of GNSS signals for geographically defined areas. The predictions from the GNSS Forecast engine service (FES) 125 are stored and then published to the cloud architecture. Applicant's cloud 155 includes GNSS Forecast engine service (FES) 125 that utilizes data from forecast models 102 in conjunction with satellite information 116 provided by correction service 106. Forecast models 102 include 3D RF models 112 and satellite atmosphere models POSApp and SimGEN 122. GNSS Forecast engine service (FES) 125 receives map info fusion/GNSS 135 via map engine and service 128, and stores and retrieves GNSS Forecasts in Spirent's cloud database 144 as part of data management 132, which also includes historical data 142. Data sync engine 146 provides GNSS Forecasts to cloud database 168 in GNSS CDN service 158, as part of data management 132. Map engine and service 128 also includes 3D maps 138 and base maps 148 among others maps. GNSS CDN service 158 includes query handling 176 via API 177 to customer app 186 in end user/customer positioning engine 195, which also handles real time data 196 from customer positioning engine 195. GNSS CDN service 158 also handles GNSS Forecast subscriptions via subscription management 178 controlled by CMS/ERP 169. Additionally visualization block 152 interfaces with customer positioning engine 195 via web interface 182 via local visualization engine 164, cloud service visualization 166 and GIS layer 162. Local visualization engine 164 displays forecasts stored in applicant cloud database 144 by GNSS Forecast engine service (FES) 125 in one implementation of the system.

[0088]

The disclosed cloud architecture provides a globally distributed, low latency, high-availability system for clients to request GNSS Forecasts. Clients can request the GNSS predictions for several applications including, but not limited to GNSS receivers, measurement engines, positioning engines, consumer devices, telecommunication equipment, navigation systems, avionics, and vehicles for planning, operation, or validation. The disclosed Forecast Engine Service (FES) inputs a map and satellite orbits, and outputs a forecast of LOS/NLOS plus PDOP for each 1 m2point within the map, in one implementation.

[0089]

FIG. 2 shows the block diagram for a system implementation in which GNSS Forecasts are stored directly from the forecast engine to the CDN, an alternative to redundant data management described relative to FIG. 1. The block diagram of GNSS Forecast architecture 205 utilizes multiple modules. User upload 218 provides inputs to map processing pipeline 215 as digital surface model (DSM) of the earth's surface and objects on it, and shapefile (SHP) that represents shapes as geospatial vector data. Map processing pipeline 215 completes the initial map processing and outputs 3D map data in FBX 3D data interchange format (FilmBox), along with at least one metadata file that describes the map data. The FBX is a 3D model mesh suitable for loading into a GPU and the metadata file contains geographic information about the FBX such as where the FBX “tile” is located on the earth's surface and a list of valid observable points (VOPs). FBX tiles can be different sizes. Processing to 1 Km2utilizes VOPs in a grid of cuboids at 1 m intervals, in one implementation. When creating VOPs, the building footprints are typically masked to not include VOPs inside of buildings. An automated daily upload 228 provides to orbit prediction service 225 the GPS almanac data set that every GPS satellite transmits, which includes information about the state of the GPS satellite constellation, as well as coarse data on every satellite in orbit. The orbital position of each satellite is known as the ephemeris data. Automated daily upload 228 provides the raw satellite navigation system data in Receiver Independent Exchange Format (RINEX). Orbit prediction service 225 handles the initial orbit prediction service and sends the orbit prediction data needed by forecast orchestration 252, in the format specified via API 224.

[0090]

Continuing the description of GNSS Forecast architecture 205, GNSS Forecast engine service (FES) 125 generates GNSS Forecast data, via GPU ray casting on FBX data with metadata, and provides the forecast data to GNSS Forecast orchestration 252 as specified via forecast API 244 via forecast service call back (FSCB). Management of GNSS Forecasts from administrator and customer side can be done over Internet browser services. A mobile interface could be utilized in another implementation. GNSS Forecast engine service (FES) 125 generates GNSS Forecast data for defined cuboids. Each cuboid has unique ID (GUID). Cuboids get uploaded to GNSS Forecast CDN 255 using forecast input API 254 via PostGIS software program that adds support for geographic objects to the PostgreSQL object-relational database, in one implementation. CDN 255 provides the 3D forecast visualization from GNSS Forecast orchestration 252 for display with browser visualization 258, via customer API 256. Forecast API 244 enables GNSS Forecast CDN 255 to communicate, to GNSS Forecast engine service (FES) 125, on-demand requests or other requests for data that CDN 255 was not able to provide to the device, in some embodiments. In summary, GNSS Forecast architecture 205 delivers GNSS Forecasts via content delivery network 255 to a user/customer of the forecasts. When a user makes a request for data, if CDN 255 does not have a specific cuboid in the CDN database, it creates a new entity. If a cuboid with the defined ID is available, the system can add a new time forecast or update an existing one. Cuboids are provided from GNSS Forecast engine service (FES) 125. In case of collision, the previous cuboid, in time, will be replaced. A cuboid can be sliced and modified by GNSS Forecast data processor, if needed. The forecast data can be processed prior to sending to the customer in some implementations.

[0091]

The disclosed GNSS Forecast engine service (FES) 125 inputs a map and satellite orbits and outputs a forecast of line-of-sight, non-line-of-sight (LOS/NLOS) plus PDOP for each 1 m2. FES provides the ability to determine probability, ranking, and scoring of LOS/NLOS, out-of-view GNSS satellites in a GNSS obscuration forecast, using satellite orbit and atmospheric models from Spirent SimGEN/POSApp and treating each satellite as a transmission point in the sky. The disclosed technology uses a surveyed global 3D map with shape files and digital city maps (DCM) which show the dimensions of buildings, terrain, vegetation, and other obstacles to ray-trace between selected points on the map, to determine if each satellite is blocked/obscured by objects in the 3D map that is based on the real world. The disclosed technology uses surveyed maps. Part of the challenge in that is the accuracy/variability of the maps makes this type of calculation more complex. It becomes a probability based on the accuracy of the map, geometries, and point on the map from which you are calculating and then extrapolating to a cuboid of area/space.

[0092]

FIG. 3A shows a detailed block diagram of system architecture for improving accuracy of a GNSS receiver that has a non-directional antenna. The system can be implemented in the cloud or using on-premises capabilities. A cloud implementation can utilize Google Cloud Platform (GCP), Amazon Web Services (AWS), or another platform that provides equivalent capabilities. FIG. 3A shows Google remote procedure calls (gRPC) in the example block diagram. In addition to the gRPC request-response model, services could use a message broker for their asynchronous exchanges. The hosted Amazon MQ for ActiveMQ service, which is compatible with Apache ActiveMQ, so can be deployed in on-premises infrastructure, is utilized in one implementation.

[0093]

Map curation service (MCS) 384 sends requests for digital terrain model (DTM) and shape files to vendor map processing service (VMPS) 388 via PNT-A-FAAS/VMPS message queue 386. An example MCS 384 service call is listed next.

[0000]

service MapCuration {
 rpc getFBXPath(TileID) returns (FilePath) { }
 rpc getMetadataPath(TileID) returns (FilePath) { }
 rpc getVOPBatchesPath(TileID) returns (FilePaths) { }
...

[0094]

MCS 384 allows upload of new vendor maps and initiates VMPS 388 to convert them to FBX and associated metadata and store them in FBX meta store 376 for retrieval by forecast engine services (FES) 358. An example FES 358 for running a forecast is listed next.

[0000]

syntax = “proto3”;
package spirent.pnta;
import “ForecastBatch.proto”;
import “google/protobuf/timestamp.proto”;
/* FES service to run a forecast. */
service ForecastEngine {
 rpc Forecast(ForecastRequest)
  returns (ForecastResponse) { }
}
message ForecastRequest {
 uint64 job_id = 1;
 string orbit_path = 2;
 string mesh_path = 3;
 string metadata_path = 4;
 string vop_batch_path = 5;
 string output_path = 6;
}
message ForecastResponse {
 google.protobuf.Timestamp processing_time = 1;
}

[0095]

MCS 384 can allow access to the maps that have been uploaded to it through gRPC interface, and allow for upload of vendor data pushed through VMPS 388. VMPS 388 accepts messages from VMPS message queue 386, a pipeline that can process incoming vendor map data and produce FBX tiles along with the tiles' corresponding metadata, including VOP data. An example PNT-A-FAAS/VMPS message is listed next, as an ActiveMQ JSON message as published by the MCS 384 to the VMPS 388.

[0000]

{
“job_id”: 1,
“dataset_s”: “Blacksburg_test”,
“src_dtm”: “Blacksburg_sample_1m_Z17N_0_dtm.tif”,
“src_bld_shp”:
“Blacksburg_sample_17N_0_3d_buildings_automated.shp”,
“tile_x_m”: 1000,
“tile_y_m”: 1000,
“tile_buf_m”: 200,
“dtm_trans_i”: −9999,
“bld_vop_buf_m_f”: 0.1,
“fbx_dec_ratio_f”: 0.1,
“vop_level_list”: “1,2,3,4,5,10,20,30”,
“publish_all”: False
}

[0096]

An example PNT-A-FAAS/CDNG message is listed next, as an ActiveMQ JSON message as published by the FWS 356 to the CDNG 367. The FES 356 will write the forecast for each timestep to a binary protocol buffers file. These files will reside in the shared Forecast Processor Store 346.

[0000]

{
“job_id”: 1,
“path”: “forecast_batch0.bin”
}

[0097]

Continuing the description of the block diagram, scheduler curation service 364 can allow the user to curate which forecasts to run at which time. The curation can reside in schedule DB 352 which can be used by scheduler service 354 to push new forecast jobs upon forecast message queue PNT-A-FAAS/FWS 355.

[0098]

An example PNT-A-FAAS/FWS message is listed next, as an ActiveMQ JSON message as published by the SS 354 to the FWS 356.

[0000]

{
“job_id”: 1,
“tile_id”: 1,
“start”: 1272844800,
“end”: 1272844820,
“time_resolution_s”: 1,
“level”: 1,
“elevation_cutoff_d”: 0,
“forecasts”: {
 “los”: 1,
 “azel”: 1,
  “pdop”: [
“all”,
“gps”,
“gps+glonass”
],
}
}

[0099]

Scheduler service 354 can also schedule the running of orbit prediction runner 322 to cache a new 24-hour orbit in advance via PNT-A-FAAS/RINEX 302. An example PNT-A-FAAS/RINEX message is listed next, as an ActiveMQ JSON message as published by the SS 354 to the RDVS 316.

[0000]

{
“job_id”: 1,
“day_of_year”: 255,
“igs_list”: [“BREW”, “BRUX”]
}

[0100]

RINEX downloader and validator service 316 receives RINEX automatically downloaded from NASA HTTPS server 318. The downloaded RINEX data is the daily full constellation published data for the GPS, GLONASS, Galileo and BeiDou constellations. Downloaded RINEX files can be stored in RINEX 314 so that they are accessible by orbit prediction service (OPS) 324. A verification process can be required after download. If the file fails to be verified another IGS station's RINEX data could be download and verified in its place. However, if none of the IGS files validate then the previous good RINEX file can be used in its place, and this can be noted through logging and event service (LES). Note that IGS stations provide continuous tracking using high accuracy receivers and have data transmission facilities allowing for rapid data transmission to the data centers.

[0101]

Logging and event service (LES) 372 is a repository that can record the state and history of the forecast system. LES can accept, record and report on both service logging data and real time events. Each service can be automatically collected and pushed into LogStash, with a timestamp, which requires that each service be synchronized through NTP. An ELK stack can be utilized for LES, in one implementation.

[0102]

Orbit processor 312 includes orbit prediction service (OPS) 324 which predicts forward locations of satellites and caches data in Redis cache 326 and orbit prediction runner (OPR) 322 for caching a new 24-hour orbit in advance. Orbit Prediction Service 324 predicts the orbits for all the satellites within each constellation that has been enabled within the scenario run by PosApp. The supported constellations are outlined in the ‘Constellation’ Enum within the ForecastBatch.proto. Scheduler service 354 can request orbit predictions via PNT-A-FAAS/OPR 332. An example PNT-A-FAAS/OPR message 332 is listed next, as an ActiveMQ JSON message as published by the SS 354 to the OPR 322.

[0000]

{
“job_id”: 1,
“start”: 1272844800,
“end”: 1272844820,
“time_resolution_s”: 1
}

[0103]

The orbit predictions are serialized to orbits store 336, a shared file store, and the path of the orbit prediction file is returned as part of the gRPC message. A full 24-hour prediction for al constellations can be approximately 300 MB of protocol buffer data and take approximately twelve minutes to compute. The cache only stores the file path and hence is not large. OPR 322 is a small ActiveMQ subscriber that listens for new jobs and then calls the gRPC interface to initiate an orbit prediction, in one implementation of the disclosed technology. OPS 324 gRPC/Protobuf format is listed below.

[0104]

Further continuing the description of the block diagram shown in FIG. 3A, forecast worker service (FWS) 356 accepts a message from FWS message queue 355 and initiates a forecast and then waits for the success or error response from forecast engine service (FES) 358. Listed next is a high level example implementation of FWS 356 to run a forecast, interacting with the FES 358, OPS 324 and MCS 384.

[0000]

syntax = “proto3”;
package spirent.pnta;
import “ForecastBatch.proto”;
service ForecastWorker {
 rpc Forecast(ForecastWorkerRequest) returns (stream
 ForecastWorkerResult) { }
}
message ForecastWorkerRequest {
 uint64 job_id = 1;
 uint64 tile_id = 2;
 GPSTime start = 3;
 GPSTime end = 4;
 uint32 time_resolution_s = 5;
}
message ForecastWorkerResult {
 string forecast_path = 1;
}

[0105]

Once the FES forecast is complete, FWS 356 can check FWS message queue 355 and if messages are queued, FWS 356 can initiate another forecast with the new message data. FWS 356 has a one-to-one mapping to FES 358, gathering the data required by FES 358 and interacting with the system, allowing FES 358 to be run locally the same way as it would run within a cloud environment. Computing all satellites within a constellation for every second over a 24-hour period only needs to be completed once a day as the resulting earth-centered, earth-fixed (ECEF) positions can be cached and served to any service requesting the data, with normal CDN latency and delivery time. FES 358 can allow for a simple elevation cut-off since many of the satellites will be NLOS due to the earth but will now be available to FES 358.

[0106]

GNSS Forecast engine service (FES) 358 is operable in multiple modes. In on-demand mode, the data requested by the user has not been forecasted within the Spirent Cloud and therefore is not in the CDN 369. This mode is referred to as a CDN cache miss. The request prompts creation of a real-time forecast and the data gets sent from GNSS Forecast engine service (FES) 358 to the CDN 369, and the CDN 369 routes the data directly to the user. This type of request has no upfront storage requirement in the CDN, and has a higher latency than other modes described herein. The data generated by an on-demand request gets stored in the CDN 369 and in the applicant's cloud for future requests and is available until the data's useful life expires.

[0107]

One way to achieve on-demand forecasting is to add a gRPC call to the CDNG 367, that would be called from the CDN 369 with the on-demand customer request. The CDN 369 can first check that the area requested is not currently covered by the stored data and if not covered, then push the request to CDNG 367. On receipt of the request the CDNG 367 could query the MCS 384 for the tiles that the request covers. If the area does not yet have coverage then a “no-coverage” response is returned to the CDN 369. If there is coverage for the requested area then an “OK” is returned to the CDN 369 and the tiles, from, to datetimes are placed on a second “On-Demand” Forecast Message Queue. In turn a Forecast Processor 344 can be spun up or be waiting in a “stand-by” mode to process the request. Once processed, the data can be transferred to the CDN 369 via the CDNG 367 either through the method described above or via a separate priority gRPC CDN call.

[0108]

In hybrid mode, the data requested by the user has been forecasted already in the Spirent cloud and is available in the Spirent cloud database, but the forecast data is not available in the CDN 369. This mode is referred to as CDN cache miss and applicant cloud cache hit. In hybrid mode, the data will be sent from the Spirent cloud to the CDN 369 and the CDN 369 routes the data directly to the user 348. This type of request has no upfront storage requirement in the CDN 369, does have a storage requirement in the applicant's cloud, and will have moderate latency relative to other modes described herein. The data generated by this request gets stored in the CDN 369, and is available until the data's useful life expires.

[0109]

In cached mode, the data requested by the user is available in the CDN 369 and is immediately sent to the user; this mode is referred to as a CDN cache hit. This cached mode has the highest storage requirement and the lowest latency relative to the modes described herein. In cached mode, the data gets pushed from the Spirent cloud to the CDN 369. The service area and valid time periods are selected by applicant in advance, based on user demand, SLAs, and cost models. The data is stored on the CDN 369 and is available until the data's useful life expires.

[0110]

Frequency of data requests, complexity of the requests, forecast time, and latency of the requests are considered for determining what data to cache and which data to provide on demand. Use cases that demand low latency are forecasted on demand. Customer density and time of day of requests affect the frequency of requests. Requested forecast resolution and level of complexity of areas affect the complexity of requests.

[0111]

CDN service 368 includes CDN gateway (CDNG) 367 and an interface for communication with devices, users and visualization systems 348. CDNG 367 receives messages from the CDNG message queue 366. Each message represents a file to upload to CDN 369. CDNG 367 can read the protocol buffer file from forecast processor service (FPS) 344 and then call the CDN gRPC function to accept the file stream.

[0112]

Continuing the description of the block diagram shown in FIG. 3A, console window 372 provides a window into the forecasting system. The operator's view of the system can be through a browser-based UI that is driven by the data retrieved from the scheduler curation service 364, map curation service (MCS) 384 and logging and event service (LES) 372. Descriptions of operator console use case examples follow. (1) Upload of vendor map data to MCS 384 to be converted to FBX/VOPs, with notification when conversion is complete. (2) View the full set of 1 Km2tiles that have been converted, via a query to MCS 384 and then visualize the tiles as overlays on Open Street Maps, or an equivalent rendering interface. This allows for differentiating between the tiles that are already part of the forecast schedule and those that are not, and allows the user to select the tiles they wish to add into the forecast scheduler. (3) Change the forecast schedule kick off time, RINEX download time or orbit prediction time, and view the times relative to each other. (4) Watch the system as it dynamically schedules a forecast. When the system dynamically schedules a forecast, the scheduler queues a 1 Km2message on the forecast queue which auto-scales out the forecast processors to pop a message off the queue and to run the forecast for the specified tile. As the forecast runs, metrics are flowed back via LES 372. Each time step of forecast is held within forecast processor store (FPS) 346, to then be retrieved by the CDNG 367 to be uploaded to CDN 369. Knowing how full FPS 346 is and, what, and how much data has been transferred to CDN 369 can help administrators keep a cap on costs, and ensure the system is functioning as expected. (5) Notifications of stalled or errored processes, such as logging/event and notification tracing by tile ID. For example, a customer reports a problem with an area which the user of the system can look up and trace back to a particular tile and then search the logs for that tile ID and time etc. for diagnostics. (6) Processing of statistics of time, memory, space that each service is taking up, to allow for better utilization and optimization.

[0113]

Upon receipt of a query, CDN 369 determines what tiles are needed for the area, and creates a manifest list with the representation file IDs from the included tiles, and sends the manifest list to client, which determines what resolution is needed, and makes file requests for data to CDN file storage. In one example, for 1 km2area with tile size of 50×50×1 meters, 400 tiles represent the specified query response. The manifest list response is a single JSON (or similar file format) with 400 tiles of metadata and file IDs. In the low spatial/low data selection, the file request and file response is 400 files, with 40,000 points. For high spatial/low data selection the file request and response is for 1600 files, with 1M points. For the high spatial/high data option, the request and response are for 1600 files, with 1M points. In a second example, for a 1 km route with 50 m width, with tile size of 50×50×1 meters, 20 tiles represent the specified query response. The manifest list response is a single JSON (or similar file format) with 20 tiles of metadata and file IDs. In the low spatial/low data selection, the file request and file response is 20 files, with 1,000 points. For high spatial/low data selection the file request and response is for 80 files, with 50 k points. For the high spatial/high data option, the request and response are for 80 files, with 50 k points. In conclusion, GIS DB and CDN file storage architecture yields fast DB search and initial API response to client, and keeps DB small and if tiles are not changing can be indexed once. The client determines what resolutions to request, and may not need to ask twice when going from area to path search. New representations can be added in another embodiment, without changing the DB. Also client can stream files. Data files can be created and stored directly from FES 358 in the GPU, for some implementations. Computation/aliasing of different resolutions get computed efficiently in the GPU.

[0114]

FIG. 3F, along with the listing below, describe an example forecast file for a given area (tile) over a time expressed in GPS time i.e. seconds since 1980-01-06T00:00:00+00:00 for a particular type, with ForecastBatch 305 describing metadata, ForecastMetadata 321 specifying the forecast parameters, message ForecastAzEl 351 describing azimuth and elevation, ForecastLOS setting line of site details, ForecastDOP 371 for dilution of precision, PointForecastLOS 381 for the point forecast line of sight, and PointForecastDOP 391 for the point forecast line of sight. The forecast file further describes SatelliteAzElForecast 358, SatelliteLOSForecast 387 and DOPResult 398, along with the details described in the list below.

[0000]

message DOPForecast {
 GPSTime valid_from = 1;
 DOPResult dop = 2;
}
enum ForecastType {
 LOS = 0;
 AZ_EL = 1;
 PDOP_ALL = 2;
}
enum Constellation {
 GPS = 0;
 GALILEO = 1;
 GLONASS = 2;
 BEIDOU = 3;
 WAAS = 4;
 EGNOS = 5;
 MSAS = 6;
 QZSS = 7;
 GAGAN = 8;
 SDCM = 9;
}
message Satellite {
 Constellation = 1;
 uint32 svid = 2; // Mostly PRN but slot ID for GLONASS
}
message AzimuthElevation {
 float azimuth_deg = 1;
 float elevation_deg = 2;
}
message Point3DWGS84 {
 Point2D position = 1;
 double height_m = 2;
}
message Point2D {
 double latitude_deg = 1;
 double longitude_deg = 2;
}
message Quad2D {
 Point2D nw_corner = 1;
 Point2D ne_corner = 2;
 Point2D se_corner = 3;
 Point2D sw_corner = 4;
}
message HeightRange {
 double min_m = 1;
 double max_m = 2;
}
message SatelliteAzEl {
 GPSTime valid_from = 1;
 AzimuthElevation coordinate = 2;
}
message LOSForecast {
 GPSTimeRange los_period = 1; // From/To time when signal is LOS
}
message GPSTimeRange {
 GPSTime from = 1;
 GPSTime to = 2;
}
message GPSTime {
 uint64 seconds = 1;
}

[0115]

Forecast engine service (FES) 358 can compute line of sight (LOS), azimuth and elevation and position dilution of precision (PDOP). LOS will be recorded for every satellite at every VOP. PDOP can be recorded for every VOP when the there is a change in LOS or every two minutes. Azimuth and elevation can be recorded on a forecast basis for every satellite when their values change. The term “temporal compression” describes this approach. To make it easier for a client to request data, the height element in their request is assumed to be zero for local ground level and then meters above that. The height used by FES 358 is with reference to the WGS84 ellipsoid. Since local ground can vary from meter to meter a concept of “level” is required for grouping. The zero level is considered as ground and hence FES 358 is required to indicate the level for which the current dataset is being generated.

[0116]

Dataflow for forecast engine service 358 can be described in six steps. In step one, vendor map is uploaded to map curation service 384, and conversion to FBX metadata starts. At step two, map administrator selects 1 Km2tiles to add to the forecast scheduler database. At step three, forecast schedule, RINEX download and orbit prediction times are schedule to execute. At step four, forecast service auto-scales processor engines to perform GNSS prediction computes. At step five, computed forecast data is moved from cache to CDN, ready for availability to customers. At step six, system analytics and processing events are monitored to trace customer feedback and optimize the forecast engine services platform.

[0117]

FIG. 3B shows a message flow for interactions of forecast worker service (FWS) 356 with other services. To initiate a forecast, scheduler 354 pushes messages 301 to forecast message queue 355. FWS 356 pops one message 303 and retrieves orbit prediction 313 from OPS 324 as prediction 323, and stores the orbit prediction in FPS 346. Then FWS 356 retrieves FBX 335 from MCS 384 as FBX 345, and stores the FBX 347 in FPS 346. Then FWS 356 retrieves VOPs 353 from MCS 384 as VOPs 363, and stores them in FPS 346. Then FWS 356 initiates forecast 377 from FES 358. FPS 346 reads orbits 378, FBX 387 and VOPs 389 into FES 358. Then FES 358 runs a forecast for each epoch 397 and stores the forecast at each epoch 395 in FPS 346. FES 358 also returns the result of each epoch 391 to FWS 356 that pushes the results via CDNG message queue for each epoch 399. Once the FES forecast is complete, FWS 356 can check FWS message queue 355 and if messages are queued, FWS 356 can initiate another forecast with the new message data.

[0118]

Since all satellites, not just those in view according to PosApp, are passed to FES 358 for processing, FES 358 can cull satellites below a given elevation cut off point. A default of zero degrees is utilized in one implementation. Orbit Prediction Service (OPS) 324 predicts the orbits for all the satellites within each constellation that has been enabled within the scenario run by PosApp. The supported constellations are outlined in the ‘Constellation’ Enum within the ForecastBatch.proto, which is described in the Forecast Assured Navigation (FAN) APIs section below. Times are in GPS time i.e. seconds since 1980-01-6T00:00:00+00:00. OPS 324 gRPC/Protobuf format is listed next.

[0000]

syntax = “proto3”;
package spirent.pnta;
import “ForecastBatch.proto”;
service OrbitPredictionService {
 rpc Predict(OrbitPredictionRequest)
  returns (OrbitPredictionResult) { }
}
message OrbitPredictionRequest {
 uint64 job_id = 1; // Job ID trace
 GPSTime start = 2;
 GPSTime end = 3;
 uint32 resolution_s = 4; // If not defined then assumed to be 1 second
}
message OrbitPredictionResult {
 uint64 job_id = 1; // Job ID trace
 string path = 2; // Path to prediction file, relative to mount
}
message OrbitPrediction {
 GPSTime valid_from = 1;
 GPSTime valid_to = 2;
 uint32 time_resolution_s = 3;
 repeated TimedSatellitePosition series = 4;
}
message TimedSatellitePosition {
 GPSTime timestamp = 1; // Time of applicability of position
 repeated SatellitePosition satellite = 2;
}
message ECEFPosition {
 double x = 1; // Metres
 double y = 2; // Metres
 double z = 3; // Metres
}
message SatellitePosition {
 Satellite = 1; // Constellation and SVID
 ECEFPosition position = 2;
}

[0119]

Scheduler curation service 364 allows a user to set up jobs to run every day and allows those jobs to accept templated message parameters, so that the services are call with the correct arguments. Forecasts are tile based and are required to run for a given prediction duration from a start date-time. At least once daily, scheduler curation service 364 runs for a given duration from a start date-time. OPR 322 subscriber listens for new jobs and then calls the gRPC interface to initiate an orbit prediction. Orbit prediction service (OPS) 324 accesses downloaded RINEX files stored in RINEX 314. If the requested forecast is not in the orbit cache, then OPS 324 retrieves the closest RINEX files for the given date, and predicts orbits, and send the orbit prediction to OPR 322. OPS 324 also sends the prediction to orbit cache for retrieval by other services, in one implementation.

APIs for Forecast Assured Navigation (FAN)

[0120]

APIs for requesting and retrieving forecast points and forecast areas are disclosed for retrieving a forecast for a set of points at ground level, for 2D, and at any height relative to the ground for 3D, via the WGS84 standard U.S. DoD global reference system for geospatial information. GNSS Forecast arrays include DOP for the satellites.

[0121]

Forecast ingress API defines the interface protocol between CDNG 367 and CDN 369. The ForecastBatch.proto defines the data format of the ForecastBatch datafiles which are uploaded from FES 358 to CDN 369 via CDNG 367. The proto protocol buffer utilizes a language-neutral, platform-neutral, extensible mechanism for serializing the structured data. The customer facing API endpoints will be served by CDN 369. Communication between CDN 369 and CDNG 367 is based on the gRPC framework, in one implementation with CDN providing a gRPC response to the user/device 348. A user/device 348 may opt to formulate data requests to CDN 369 using HTTP requests, in a different embodiment. A ForecastBatch.proto datafile is a single block of output by FES 358. In one example, this represents an area of 100×100 m2. Map tiles correspond to a 1.2×1.2 km2 area, in one implementation. The size dimensions can be different in different implementations. ForecastBatch.proto parameters are described next.

[0000]

ForecastBatch(Overarching message)The ForecastBatch
message is the highest-level
message that encapsulates all
the subsequent messages.
ForecastBatch.forecastbatch_metadataMetadataThe Metadata message
contains other messages
explained in this section and
applies to the specific forecast
batch.
ForecastBatch.per_pointForecastPerPointThis is the container message
for the forecast parameters
(DOP and LOS only) applying
to each observation point.
ForecastBatch.per_batchForecastPerBatchThis is the container message
for the azimuth/elevation
forecast parameters applying to
the whole ForecastBatch
corresponding area (100 m ×
100 m in one use case).
Metadata.forecast_validity_periodGPSTimeRangeStart and End of validity
period of forecast batch in GPS
time.
Metadata.areaQuad2DThis area comprises four
points that define the
horizontal (Lat/Lon)
coordinates of the lower and
upper faces of the bounding
box.
Metadata.height_agldoublemetersThe AGL height of the forecast
batch is the height above
ground level. Note that ground
level is always AGL = 0 m.
AGL can be a positive or
negative number.
Metadata.height_agl_rangeHeightAGLRangeSee explanation for
HeightAGLRange message.
Metadata.height_wgs84_rangeHeightWGS84RangeSee explanation for
HeightWGS84Range
message.
Metadata.point_grid_resolutiondoublemetersThe grid resolution is a
positive number, stating the
distance between adjacent
prediction points. Default
value is 1 m.
Metadata.forecast_typeForecastTypeSee explanation for
ForecastType message.
ForecastPerPoint.point_forecastPointForecastSee explanation for
PointForecast message.
ForecastPerBatch.satellite_az_el_forecastSatelliteAzElForecastSee explanation for
SatelliteAzElForecast
message.
PointForecast.pointPoint3DWGS84The 3D coordinates of the
observation point in WGS84.
PointForecast.losSatelliteLOSForecastThe container for LOS forecast
information for this
observation point, see
explanation of
SatelliteLOSForecast
message for more details.
PointForecast.dopDOPForecastThe container for PDOP
forecast information for this
observation point, see
explanation of DOPForecast
enumeration list for more
details. Only PDOP using all
available satellites and
constellations is provided
currently, future releases may
include other DOP types, e.g.
GDOP, or different
constellation combinations e.g.
GPS + GLONASS only.
SatelliteAzElForecast.satelliteSatelliteThis parameter contains all the
essential information to
identify a satellite in the
forecast (i.e., SVID, see svid
explanation below) and
constellation).
SatelliteAzElForecast.coordinatesSatelliteAzElThis contains the
azimuth/elevation (rounded to
the nearest degree) for each
satellite in the forecast batch,
noting that the Az/El do not
change between observation
points within the forecast
batch, as the size of the
corresponding area (100 m ×
100 m) has a negligible effect
on the satellite azimuth and
elevation observed by
individual forecast points.
GPSTimeRange.fromGPSTimeGPSTimeRange provides a
GPSTimeRange.toGPSTimerange of time values in GPS
time. It can be used to define
data validity periods, or the
applicable period of a user's
request and the corresponding
manifest file response by the
CDN.
It should be noted that GPS
Time is different to UTC time
by the number of leap seconds
since the start of GPS Time
(midnight of Jan. 6th,
1980). At the time of writing,
UTC Time lags 18 seconds
relative to GPS Time.
Quad2D.nw_cornerPoint2DThese four points define the
Quad2D.ne_cornerPoint2Dhorizontal coordinates of the of
Quad2D.sw_cornerPoint2Dthe lower and upper surfaces of
Quad2D.sw_cornerPoint2Dthe cuboid.
HeightAGLRange.min_height_agldoublemetersThis is the minimum AGL
height of the bounding box.
HeightAGLRange.max_height_agldoublemetersThis is the maximum AGL
height of the bounding box.
HeightWGS84Range.min_height_wgs84doublemetersThis is the minimum WGS84
height of the bounding box.
HeightWGS84Range.max_height_wgs84doublemetersThis is the maximum WGS84
height of the bounding box.
ForecastTypeenumunitlessEnumeration of values:
“DOP”, “LOS”, “AZ_EL”.
This element is also provided
to future-proof the
ForecastBatch proto file. This
is the type of the Forecast data
provided in each
ForecastBatch “DOP” provides
information for “LOS” and
“AZ_EL” too, in some
implementations..
Point3DWGS84.positionPoint2DPoint3DWGS84 provides the
Point3DWGS84.height_wgs84doublemeters3D coordinates of a single
Forecast observation point in
WGS84.
SatelliteLOSForecast.satelliteSatelliteThe
SatelliteLOSForecast.measurementLOSForecastSatelliteLOSForecast
message provides information
about when a satellite is LOS
as a series of repeated periods
(whose start and end are in
GPS time). It follows that a
given satellite is NLOS in-
between those periods.
DOPForecast.valid_fromGPSTimeThis is the GPS time that the
PDOP forecast is valid from.
Note that the PDOP has no
expiry time, but it is revoked
instead by a new PDOP
forecast.
DOPForecast.dop_resultDOPResultSee explanation for
DOPResult message.
Satellite.constellationConstellationSee explanation for
Constellation
enumeration list.
Satellite.sviduint32unitlessPRN for all constellations
except for GLONASS where it
represents the satellite's slot
number.
SatelliteAzEl.valid_fromGPSTimeThe start of validity of the
satellite azimuth/elevation of
the forecast batch in GPS time.
SatelliteAzEl.coordinateAzimuthElevationThe satellite azimuth/elevation
of the forecast batch in GPS
time.
LOSForecast.los_forecast_validityGPSTimeRangeThis is a single GPS time
range that shows when a
satellite is visible.
GPSTime.secondsuint64secondsGPS Time is the number of
seconds since the start of GPS
Time (Jan. 6th, 1980).
Example: a value of
1,857,945,600 corresponds to
midnight of Sunday, 21 Nov.
2038.
Point2D.latitudedoubledegreesLatitude in decimal degrees
relative to WGS84.
Point2D.longitudedoubledegreesLongitude in decimal degrees
relative to WGS84.
ConstellationenumEnumeration of GNSS/SBAS
constellations: “GPS”;
“GALILEO”; “GLONASS”;
“BEIDOU”; “WAAS”;
“EGNOS”; “MSAS”; “QZSS”;
“GAGAN”; and “SDCM”.
DOPResultenumEnumeration of PDOP value
classes: “IDEAL” [0-1);
“EXCELLENT” [1-2);
“GOOD” [2-5);
“MODERATE” [5-10);
“FAIR” [10-20); “POOR”
[20+); “NO_DOP”, e.g.,
“IDEAL” corresponds to a
PDOP from 0 to 1 (not
inclusive). A “NO_DOP”
value means that less than four
satellites were available at the
time of PDOP calculation.
Note that at the time of
writing, PDOP is calculated
when there is a change in the
set of LOS satellites, due
satellite(s) rising/setting, or
two minutes after the last
PDOP calculation, even if
there have been no changes in
the LOS set of satellites since
the last PDOP calculation.
AzimuthElevation.azimuthfloatdegreesAzimuth of a satellite w.r.t.
ForecastBatch centroid local
horizon (North at 0° and
positive anti-clockwise).
Range from 0° (inclusive) to
360° (exclusive), rounded to
the nearest 1°.
AzimuthElevation.elevationfloatdegreesElevation of a satellite w.r.t.
ForecastBatch centroid local
horizon. Range from −90°
(inclusive) to +90° (inclusive),
rounded to the nearest 1°,
noting that at the time of
writing the FES will exclude
from the calculations any
satellites with negative
elevation.

[0122]

Device API defines the interface protocol between a user/device visualization app and CDN 369. The device API is realized by the device API file which defines the serialized binary format of the user/device requests to CDN 369, and the subsequent CDN gRPC response. The DeviceAPI.proto file definitions are wrapped into a navmatix.gnss_forecast.device_api package. Device API is listed next.

[0000]

service Device {
 rpc GetManifestBy3DAGLPolygon(GetManifestBy3DAGLPolygonRequest) returns
(Manifest) { }
 rpc GetManifestBy3DWGS84Polygon(GetManifestBy3DWGS84PolygonRequest) returns
(Manifest) { }
 rpc GetManifestBy3DAGLPath(GetManifestBy3DAGLPathRequest) returns (Manifest) { }
 rpc GetManifestBy3DWGS84Path(GetManifestBy3DWGS84PathRequest) returns
(Manifest) { }
}
service Auth {
 rpc Auth(AuthRequest) returns (AuthResponse) { }
}
message GetManifestBy3DAGLPolygonRequest {
 spirent.pnta.GPSTimeRange request_time_range = 1; // Start and End time of request in
GPS time
 double min_height_agl = 2;
 double max_height_agl = 3;
 repeated Point2D points = 4;
 repeated spirent.pnta.ForecastType types = 5; // Types of forecast requested
}
message GetManifestBy3DWGS84PolygonRequest {
 spirent.pnta.GPSTimeRange request_time_range = 1; // Start and End time of request in
GPS time
 double min_height_wgs84 = 2;
 double max_height_wgs84 = 3;
 repeated Point2D points = 4;
 repeated spirent.pnta.ForecastType types = 5; // Types of forecast requested
}
message GetManifestBy3DAGLPathRequest {
 spirent.pnta.GPSTimeRange request_time_range = 1; // Start and End time of request in
GPS time
 repeated Point3DAGL points = 2;
 repeated spirent.pnta.ForecastType types = 3; // Types of forecast requested
}
message GetManifestBy3DWGS84PathRequest {
 spirent.pnta.GPSTimeRange request_time_range = 1; // Start and End time of request in
GPS time
 repeated spirent.pnta.Point3DWGS84 points = 2;
 repeated spirent.pnta.ForecastType types = 3; // Types of forecast requested
}
message Manifest {
 repeated ManifestItem items = 1;
}
message ManifestItem {
 string url = 1;
 spirent.pnta.ForecastMetadata manifest_item_metadata = 2;
 Compression = 3;
 int64 file_size = 4; // In bytes
 string file_hash = 5; // SHA-256 as hex
}
message Point2D {
 double latitude = 1;
 double longitude = 2;
}
message Point3DAGL {
 Point2D position = 1;
 double height_agl = 2;
}
message AuthRequest {
 string api_key = 1;
}
message AuthResponse {
 string auth_token = 1;
}
enum Compression {
 NONE = 0; // No compression
}

[0123]

DeviceAPI.proto imports the message definitions from the ForecastBatch.proto to avoid duplicate messages/datatypes declarations and to facilitate consistency and maintenance of these files, so a customer needs to be provided both DeviceAPI.proto and ForecastBatch.proto files. DeviceAPI.proto file parameters are described next.

[0000]

Device(service)The service encapsulates a number of RPC
methods to accommodate customer path/
polygon and WGS84/AGL height requests as
explained in this table.
GetManifestBy3DAGLPolygon(method)Input argument:
GetManifestBy3DAGLPolygonRequest
Response:
Manifest
GetManifestBy3DWGS84Polygon(method)Input argument:
GetManifestBy3DWGS84PolygonRequestet
Response:
Manifest
GetManifestBy3DAGLPath(method)Input argument:
GetManifestBy3DAGLPathRequest
Response:
Manifest
GetManifestBy3DWGS84Path(method)Input argument:
GetManifestBy3DWGS84PathRequest
Response:
Manifest
Auth(service)Input argument: AuthRequest
Response: AuthResponse
This is the authorisation process request - a
user sends an API key (provided by Spirent) to
the CDN, and if successful, the CDN returns an
authorisation token with expiry date.
GetManifestBy3DAGLPolygonRe-spirent.pnta.GPSTimeRangeStart and end time of user request
quest.request_time_range(quadrilateral polygon with AGL height) in
GPS time.
GetManifestBy3DAGLPolygonRequest.min_height_aglmetersMinimum AGL height of user-requested
quadrilateral polygon.
GetManifestBy3DAGLPolygonRequest.max_height_aglmetersMaximum AGL height of user-requested
quadrilateral polygon.
GetManifestBy3DAGLPolygonRequest.pointsPoint2DA set of at least four 2D points (Lat/Lon) of
user-requested polygon in WGS84. A closed
polygon is expected (i.e., by repeating the
first entered point).
GetManifestBy3DWGS84PolygonRe-spirent.pnta.GPSTimeRangeStart and end time of user request
quest.request_time_range(quadrilateral polygon with WGS84 height) in
GPS time.
GetManifestBy3DWGS84PolygonRe-metersMinimum WGS84 height of user-requested
quest.min_height_aglquadrilateral polygon.
GetManifestBy3DWGS84PolygonRe-metersMaximum WGS84 height of user-requested
quest.max_height_aglquadrilateral polygon.
GetManifestBy3DWGS84PolygonRequest.pointsPoint2DA set of at least four 2D points (Lat/Lon) of
user-requested polygon in WGS84. A closed
polygon is expected (i.e., by repeating the
first entered point).
GetManifestBy3DAGLPathRequest.request_time_rangespirent.pnta.GPSTimeRangeStart and end time of user request (path with
AGL height) in GPS time.
GetManifestBy3DAGLPathRequest.pointsPoint3DAGLSet of repeated 3D points (Lat/Lon in WGS84,
height in AGL) of user-requested path. At least
one point is expected in the user request.
GetManifestBy3DWGS84PathRequest.request_time_rangespirent.pnta.GPSTimeRangeStart and end time of user request (path with
WGS84 height) in GPS time.
GetManifestBy3DWGS84PathRequest.pointsspirent.pnta.Point3DWGS84Set of repeated 2D points (Lat/Lon) of user-
requested path in WGS84. At least one points
is expected in the user request.
Manifest.itemsManifestItemSee explanation for ManifestItem datatype.
ManifestItem.urlstringThe URL link containing the manifest item
(Forecast Batch) underlying data stored in
the CDN.
ManifestItem.manifest_item_metadataspirent.pnta.Metadata
ManifestItem.compressionCompressionSee explanation for Compression enumeration
list.
ManifestItem.file_sizeint64bytesManifest item file size (accessed via
provided ManifestItem.url link)
ManifestItem.file_hashstringThe ForecastBatch datafile hash, SHA-256 as
hex.
Point2D.latitudedoubledegreesLatitude in decimal degrees relative to WGS84.
Point2D.longitudedoubledegreesLongitude in decimal degrees relative to WGS84.
Point3DAGL.positionPoint2DPosition in Lat/Lon in WGS84 of a user-requested
path. See explanations for Point2D and
GetManifestBy3DAGLPathRequest messages.
Point3DAGL.height_agldoublemetersAGL height of a user-requested path. See
explanation for
GetManifestBy3DAGLPathRequest message.
AuthRequest.api_keystringThe authorisation user request API key, provided
to the user by Spirent, or generated automatically
by the user for a set of devices.
AuthResponse.auth_tokenstringThe returned authorisation token to the user by
the CDN to enable (time-limited) access.
Compressionenumontains compression formats for the underlying
manifest items, so the user knows which
decompression method to select.

[0124]

FIG. 3C shows an example bounding box. To facilitate the selection of Forecast Batch data that correspond to a particular user point/trajectory/area, each ForecastBatch.proto contains metadata information about the coordinates of the bounding box corner points. Each bounding box encapsulates the forecast observation points along with their respective validity volumes, and can be used to design spatial 3D queries to identify which ForecastBatch.proto data need to be returned to a user/device 348. The parameters in the ForecastBatch.proto for the definition of the eight corner points of a bounding box are the following: (a) Quad2D, (b) HeightAGLRange, for height representation in AGL, comprising a minimum and maximum AGL height in meters; and (c) HeightWGS84Range, for height representation in WGS84, comprising a minimum and maximum WGS84 height in meters. The top face 333 and the bottom face 343 of the bounding box have the same horizontal latitude and longitude coordinates, defined by Quad2D, and different AGL or WGS84 heights. The bounding box corner points' heights are provided in both AGL and WGS84, as different users may wish to request forecast data by entering heights relative to AGL or WGS84, depending on their specific application requirements. The bounding box corner points coordinates (both in AGL height or WGS84 height), using ForecastBatch.proto file parameters, are listed below.

[0000]

AQuad2D.sw_cornerHeightAGLRange.min_height_aglHeightWGS84Range.min_height_wgs84
BQuad2D.se_cornerHeightAGLRange.min_height_aglHeightWGS84Range.min_height_wgs84
CQuad2D.ne_cornerHeightAGLRange.min_height_aglHeightWGS84Range.min_height_wgs84
DQuad2D.nw_cornerHeightAGLRange.min_height_aglHeightWGS84Range.min_height_wgs84
A1Quad2D.sw_cornerHeightAGLRange.max_height_aglHeightWGS84Range.max_height_wgs84
B1Quad2D.se_cornerHeightAGLRange.max_height_aglHeightWGS84Range.max_height_wgs84
C1Quad2D.ne_cornerHeightAGLRange.max_height_aglHeightWGS84Range.max_height_wgs84
D1Quad2D.nw_cornerHeightAGLRange.max_height_aglHeightWGS84Range.max_height_wgs84

[0125]

A customer can request a forecast with a single point or a path, in one use case. User/device 348 can request forecast data for a single point or path over a given time period in GPS time, via GetManifestBy3DAGLPathRequest and GetManifestBy3DWGS84PathRequest gRPC calls. The customer can request the forecast data by inputting the path 3D coordinates using WGS84 latitude and longitude, with the height relative to WGS84 or AGL. DeviceAPI.proto includes two path request methods to accommodate both height specification options.

[0126]

A customer can request a polygon, in another use case. User/device 348 can request forecast data within the volume of a parallelepiped for a given time-period, in GPS time via GetManifestBy3DAGLPolygonRequest and GetManifestBy3DWGS84PolygonRequest gRPC calls. DeviceAPI.proto includes two path request methods to accommodate both WGS84 and AGL height specification options for requesting a polygon. The user enters the horizontal latitude and longitude coordinates in WGS84 to define a polygon, and the min/max height, either in AGL or WGS84, for the requested forecast data. The API expects a closed polygon, so the user/device repeats the first entered point in the request. A user enters the horizontal coordinates of four points along with min/max heights, then the system combines this information to define the volume of an eight-point parallelepiped and return the forecast data within this volume. The upper corner points (A1, B1, C1, D1) represent the user polygon at the user-entered maximum height, and the lower corner points (A, B, C, D) represent the user polygon at the user-entered minimum height.

[0127]

Due to the large data sizes for GNSS Forecasts, multiple resolutions are utilized. Three dimensions of data resolution are spatial for cuboid size, temporal for forecast period, and data detail/depth for DOP, SV LOS/NLOS, SV geometry, and number of constellations. In the disclosed GIS database, each DB entry contains metadata about the file, including coordinates, valid period and representation file IDs. Each representation file contains N number of forecasted cuboids/points with the data at high or low resolution. Representation files are stored directly from the GPU to CDN. In one example, for tile size of 50×50×1 meters, representation files include the following representations. (1). For informational representation, each file contains 50×50×1 meter. Cuboid is 50×50×1 with some info about the variability in the tile. (2) For low spatial resolution & low data resolution, each file contains 50×50×1 meter. Cuboid size 5×5×1 (aliased by GPU). DOP/SV info only. (3) For high spatial & low data resolution, each file contains 25×25×1 meter. Cuboid size 1×1×1. DOP/SV info only. (4) For high spatial & high data resolution, each file contains 25×25×1 meter. Cuboid size 1×1×1. DOP/SV/Geometry info. Additional representations can include multipath resolution level, and separating GPS from GNSS constellations, in other implementations.

[0128]

The CDN stores collections of cuboids within tiles. The metadata of the tile can be stored in the DB while the data can be stored in one or more representation files containing multiple versions of the data for that area and time. Upon a user/device request for an area and time the CDN can search for the appropriate tiles in the database. A manifest file can be created and sent containing metadata for the area and time and the representation file(s) location(s)s for all of the appropriate tile(s). The device/user can then read the manifest file and download some or all representation data files from the CDN cache. Files may be compressed and may be decompressed for processing by the CDN or device/user.

[0129]

Visualizations of GNSS Forecasts can be represented in tiles, with different shadings representing areas with clear sailing, partially impacted areas, and areas with blockages, respectively, in one example implementation. Tiles can be stacked in multiple layers to include height and time. Users can query an area, and receive manifest files that include tile pointers with information about the variability in the tile.

[0130]

FIG. 3D shows a sketch of a stack of shaded tiles, and shows an example 1 Km2output buffer of FES 358, with the Azimuth/Elevation 357, LOS 377 and PDOP 379 data for each 100×100 m area. Each FES output file can contain a tiles worth of data for a 24-hour period, in one implementation with each LOS file estimated to be in the range of 50-60 MB in size. For a 1 Km2area at 1 m resolution for 24 hours the size is approximately 5 GB. For an example, scaled up to 6000 Km2the size is approximately 30 TB for a given 24 hour period and over 7 days, with 37 levels, the data size is approximately 7.8 PB. The size of forecast data files motivates the need for compression.

[0131]

Compression of GNSS Forecast data can be segmented into three types of compression: spatial, temporal and mathematic compression. Disclosed compression-related parameters are described for the DeviceAPI.proto files above.

[0132]

Spatial compression analyzes each cuboid or point in the GNSS point cloud based on location. Spatial compression analyzes the similarities and differences of the data of one cuboid to the cuboids around it, in a way that is similar to the way a video pixel is compressed based on the pixels around it (left, right, above, below, etc.). If the data in the adjacent or nearby cuboids is the same or similar, compression can be applied. A lossless compression searches for identical cuboids, encodes one fully with all the data, and then cuboids with the same data point to the reference cuboid with the full information. A lossy compression method applies a threshold to look for cuboids that have small differences relative to the reference cuboid, determines that the difference is not inconsequential to the user and points those cuboids to the reference cuboid. Another compression method changes the size of the cuboid to cover a larger area instead of using pointers. As an example, if a 1 meter cubed cuboid (1 m×1 m×1 m) has the same or similar data as three adjacent cuboids, the system can change the size of the cuboid to cover the total area with one data set. That is, the size of the cuboid would be changed to 3 m×1 m×1 m).

[0133]

Temporal compression analyzes each cuboid or point in the GNSS point cloud based on location and time. Temporal compression analyzes the similarities and differences of the data of one (or more) cuboid(s) over time. If the data of one or more cuboids are the same or similar over multiple time periods, compression can be applied. Either lossless or lossy compression can be used. A lossless compression, for instance based on run length encoding, looks for cuboids that do not change over multiple time periods, encodes one fully with all the data and then cuboids with the same data point to the reference cuboid with the full information. A lossy compression method, with banding or quantization, applies a threshold to look for cuboids that have small differences to the reference cuboid, determines that the difference is not inconsequential to the user and point those cuboids to the reference cuboid's time period and data. Another compression method changes the valid time period of a cuboid to cover a longer time instead of using pointers. As an example, if a 1 meter cubed cuboid (1 m×1 m×1 m) valid for one second has the same or similar data to the same cuboids over the next 29 seconds, a single cuboid and data can be stored with a 29 second valid period instead of 1 second valid period.

[0134]

Spatial and temporal compressions can be combined to compress based on the similarities and differences of cuboids over the forecasted area and time. For example, a cuboid in one location and time can be the same as another cuboid in a different location and time. These cuboids can be compressed as a reference to an original cuboid and how it moves over time, in a way similar to methods used in video compression.

[0135]

Mathematic compression looks at patterns in the data with or without reference to temporal or spatial information. Similar patterns are mathematically compressed. Hashes compress similar data mathematically. For instance if there is a common combination of data such as satellite positions, visibility, DOP values, etc., these get hashed and compressed.

[0136]

GNSS Forecast data flows from a cloud-based engine to GNSS CDN to a wireless carrier in one scenario. The data flows from GNSS CDN to USS/AV service in another scenario. In one example for data size analysis, GNSS Forecast engine service (FES) 358 generates approximately 4.1 PB raw data and transfers via Serial AT Attachment (SATA) at 400 Gbps to forecast storage approximately 1 PB primary data, transferrable to GNSS CDN 369, resulting in approximately 100 TB compressed data in a week. For a day's worth of data, at 400 Gbps that is 44.4 minutes. At 10 Gbps that is 29.6 hours. GNSS CDN 369 transfers data to wireless carrier at approximately 1 MB per KM, with bursts along the route. Similarly, GNSS CDN 369 transfers data to USS/AV service at approximately 10 MB compressed data per request. At one Gbps, transmission time per request is approximately one second.

API Use Cases

[0137]

For various use cases, forecast engine service APIs cover multiple scenarios described next. In one scenario, a user does not know their route and they are not moving. In this situation, a large area gets searched. For aviation, the area may be 1 KM to 10 KM, at one or more altitudes, in one example. For vehicles, the area may be 5 KM to 30 KM, at a single altitude, and can be larger. A timeframe gets considered, such as 0 h-48 h into the future, a single start time, or a 2-hour time period. Forecast predictions include DOP and #sat (LOS, NLOS, NA) for determining the “good” areas. In some designs, the ability to zoom in and out is included as a service via the user interface. The goal is to determine an improved route based on navigation performance, leading to its use in a second scenario.

[0138]

In a second scenario, the user knows their route and wants to know with high-fidelity, whether the route is assured, for route planning. For aviation, the user additionally needs to learn the positioning error of a UAS flight path/volume for planning or surveillance. Once the route is identified, the customer can download the complete route or can stream the route, for the identified time period. DOP and #sat (LOS, NLOS, NA) can be utilized to determine whether the route is good, for a navigation system, planning, and for USS. If the route is deemed to be not “good enough”, the forecast engine can return to the approach described earlier for scenario one.

[0139]

In a third scenario, the user does not know their route and they are moving. In this scenario, Forecast Engine Service 358 searches a small area ahead, in which the customer may navigate. In one example, less than 500 m, high fidelity, with no zoom in or out. The distance ahead to be considered describes the refresh rate, as does the frequency of the API request. For vehicles, the current road ahead and any roads that could be selected are also taken into account, in one example. For aviation, the user additionally needs a bubble around the UAS, and the use of DOP and #sat (LOS, NLOS, NA) to determine where the user can go and maintain their ODD, no-go areas, and fail-safe.

[0140]

FIG. 3E illustrates an Amazon Web Services (AWS) Cloud implementation of the architecture, with hosted message broker service Amazon (AWS) MQ for ActiveMQ service deployed. FIG. 3E shows a detailed block diagram of the components and protocols of system architecture 300, chosen for the AWS cloud to reflect the architecture choices described relative to FIG. 3A. By default, the services are deployed in Fargate mode (AWS serverless compute engine), except for services dependent on GPU resources deployed on instance containers of type EC2/GPU.

[0141]

The service APIs are described in the interface design language (IDL) Protocol Buffer Definition Language, and therefore communication is performed by the RPC gRPC protocol using the HTPP/2 transport. In addition to gRPC's request-response model, services will use a message broker for their asynchronous exchanges. The solution chosen is the hosted Amazon MQ for ActiveMQ service, which is compatible with Apache ActiveMQ, which can be deployed in on-premises infrastructure. Incoming requests in HTTP/2 are translated to HTTP/1.1 and therefore cannot reach gRPC endpoints, because support for gRPC is limited in AWS services. In one example, AWS Application Load Balancers do not fully support HTTP/2, but this limitation does not exist for inter-service calls inside the virtual private cloud (VPC). Cluster level and load balancer level gRPC health checks are supported.

[0142]

Map curation service (MCS) 3084 sends requests for digital terrain model (DTM) and shape files to vendor map processing service (VMPS) 3088 via AWS MQ 3086. MCS 3084 allows upload of new vendor maps and initiates VMPS 3088 to convert them to FBX and associated metadata and store them in FBX meta store 3076 for retrieval by forecast engine services (FES) 3058. MCS 3084 can allow access to the maps that have been uploaded to it through gRPC interface, and allow for upload of vendor data pushed through VMPS 3088. VMPS 3088 accepts messages from VMPS message queue 3086, a pipeline that can process incoming vendor map data and produce FBX tiles along with the tiles' corresponding metadata, including VOP data.

[0143]

Continuing the description of the block diagram, scheduler curation service 3064 can allow the user to curate which forecasts to run at which time. The curation can reside in PostgreSQL scheduler DB 3052 which can be used by scheduler service (SS) 3054 to push new forecast jobs via AWS MQ forecast request 3055.

[0144]

An example ActiveMQ JSON message as published by the SS 3054 to FWS 3056 is listed next.

[0000]

{
“job_id”: 1,
“tile_id”: 1,
“start”: 1272844800,
“end”: 1272844820,
“time_resolution_s”: 1,
“level”: 1,
“elevation_cutoff_d”: 0,
“forecasts”: {
 “los”: 1,
 “azel”: 1,
  “pdop”: [
“all”,
“gps”,
“gps+glonass”
],
}
}

[0145]

Scheduler service 3054 can also schedule the running of orbit prediction runner 3022 to cache a new 24-hour orbit in advance via AWS MQ 3032.

[0146]

RINEX download validator service 3016 receives RINEX automatically downloaded from NASA website 3018. The downloaded RINEX data is the daily full constellation published data for the GPS, GLONASS, Galileo and BeiDou constellations. Downloaded RINEX files can be stored in EFS volume RINEX data 3014 so that they are accessible by orbit prediction service (OPS) 3024. A verification process can be required after download. If the file fails to be verified another IGS station's RINEX data could be download and verified in its place. Note that IGS stations provide continuous tracking using high accuracy receivers and have data transmission facilities allowing for rapid data transmission to the data centers. OPS 3024 and CDNG service 3067 utilize in-memory caches. The AWS Cloud implementation can use either Memcached or Redis, which are both available as managed services in AWS.

[0147]

Orbit prediction service (OPS) 3024 predicts forward locations of satellites and caches data in Redis orbit data cache 3026 and orbit prediction runner (OPR) 3022 caches a new 24-hour orbit in advance. Scheduler service 3054 can request orbit predictions via AWS MQ 3032. An example OPR message 3032 is listed next, as an ActiveMQ JSON message as published by the SS 3054 to the OPR 3022.

[0000]

{
“job_id”: 1,
“start”: 1272844800,
“end”: 1272844820,
“time_resolution_s”: 1
}

[0148]

A full 24-hour prediction for all constellations can be approximately 300 MB of protocol buffer data and take approximately twelve minutes to compute. OPR 3022 is a small ActiveMQ subscriber that listens for new jobs and then calls the gRPC interface to initiate an orbit prediction, in one implementation of the disclosed technology. OPS 3024 gRPC/protobufs format is listed below.

[0149]

Further continuing the description of the AWS cloud implementation shown in FIG. 3E, forecast worker service (FWS) 3056 accepts a message from AWS MQ forecast request message queue 3055, initiates a forecast and then waits for the success or error response from forecast engine service (FES) 3058. Once the FES forecast is complete, FWS 3056 can check FWS message queue 3055 and if messages are queued, FWS 3056 can initiate another forecast with the new message data. FWS 3056 has a one-to-one mapping to FES 3058, gathering the data required by FES 3058 and interacting with the system.

[0150]

Apache ActiveMQ supports large messages with type Blob, which contains metadata, including the message's location; large messages will be accessible via the EFS file system. CDN gateway (CDNG) 3067 receives messages via AWS MQ forecast blob data from forecast processor 3044. Each message represents a file to upload to CDN 369. CDNG 3067 can read the protocol buffer file from forecast processor service (FPS) 3044 and then call the CDN gRPC function to accept the file stream. AWS CloudWatch provides numerous metrics via Amazon MQ which is well integrated. The implementation of FES 3058 and FWS 3056 autoscaling groups is based on those metrics, such as a queue or topic size.

[0151]

Forecast engine service (FES) 3058 can compute line of sight (LOS), azimuth and elevation and position dilution of precision (PDOP). LOS will be recorded for every satellite at every VOP. PDOP can be recorded for every VOP when the there is a change in LOS or every two minutes. Azimuth and elevation can be recorded on a forecast basis for every satellite when their values change. The term “temporal compression” describes this approach. To make it easier for a client to request data, the height element in their request is assumed to be zero for local ground level and then meters above that. The height used by FES 3058 is with reference to the WGS84 ellipsoid. Since local ground can vary from meter to meter a concept of “level” is required for grouping. The zero level is considered as ground and hence FES 3058 is required to indicate the level for which the current dataset is being generated.

[0152]

AWS EFS storage service provides the storage volumes used by FES 3058, MCS 3084, Forecast Processor 3044, CDN Gateway service 3067 and the RINEX Download service 3016. AW EFS storage service allows file systems to be mounted in multiple regions, accessible to multiple instances at a time, with high IOPS and low latency. This approach to storage provides a common mechanism for the AWS cloud and on-premises infrastructures.

[0153]

To monitor PNT-A services, the infrastructure will use the ELK stack, which refers to three open-source projects: Elasticsearch, Logstash, and Kibana. Often referred to as Elasticsearch, the ELK stack aggregates service logs, investigates logs, and creates dashboards and alerts for service and infrastructure monitoring. The AWS platform provides ELK stack through the AWS Elasticsearch Managed Service.

[0154]

For metrics and custom service metrics aggregation and monitoring, the infrastructure uses the open-source Prometheus project. AWS provides Prometheus Metrics as a managed service. Prometheus collects the service containers' metrics in its time-series database and makes them available to the Grafana visualization application, with Prometheus and Grafana currently in use for Jenkins CI reporting.

[0155]

FIG. 4A illustrates a 2D map orbit with GNSS satellites, and an example error calculation for a 2D point. In a typical situation in an urban area, the reception of each satellite signal depends on the position of the receiver and the satellite with respect to each other. Satellites S2444 and S3446 are in line of sight (LOS) with 2D point 465. Satellite S4458 is blocked and satellite S1452 has non-line-of-sight (NLOS); that is, S1452 utilizes multipath signals that reach the receiving antenna by two or more paths. Causes of multipath include atmospheric ducting, ionospheric reflection and refraction, and reflection from water bodies and terrestrial objects such as mountains and buildings. Positioning and navigation can be degraded in urban environments by multipath, and the error can increase considerably if not properly compensated. In situations where the line-of-sight (LOS) is obscured by surrounding buildings, the receiver may still be able to navigate by using the non-line-of-sight (NLOS) signal, which originates from single or multiple reflections/diffractions of the GNSS signal. The use of 3D models has been one of the preferred solutions to recreate the multipath environment as seen by a GNSS device. This solution brings the capability to generate a multipath signature that is representative of the position of the antenna in a specific time and space. For the given 2D point 365, a +/−3-meter error in the map data yields an error of 7.85 minutes in the determination of a GPS satellite being line-of-sight or not line of sight. Over a forecast period of 180 minutes this would provide a confidence interval of 96%.

[0156]

Next, examples of two modes of analyzing satellite visibility (a 1-pass example, and a 2-pass example) are disclosed.

1-Pass/2-Pass Analysis of Visibility

[0157]

The following two examples of satellite visibility analysis use two assumptions for simplicity. The first assumption is that the satellite has a speed of 3.9 kilometers per second and a nominal sidereal time of 11 hours 58 minutes and 2 seconds (in other words, 43,082 seconds). In practice, other satellite speeds may be used, not just these for GPS. The second assumption is that there are pi radians (180 degrees) where the satellite is not obstructed by the Earth itself. In practice, the number and angle of rays sampled are based on factors such as curvature of the Earth, terrain features, and satellite elevation/azimuth.

[0158]

Both examples rely on ray tracing or casting over a Digital Surface Model to determine whether or not the ray is obstructed.

[0159]

FIG. 4B illustrates an example 1-pass analysis for finding satellite visibility at a Valid Observable Point (VOP). Diagram 400b includes orbital segment 418, VOP 435, rays 430b-1, 430b-74, 430b-75, 430b-21,541, and obstructions 440a, b. Diagram 400b provides a quick overview of the 1-pass process to aid understanding of the 2-pass process.

[0160]

Orbital segment 418 is the part of an orbit of a GNSS satellite (not shown here) that is guaranteed not to intersect the Earth based on curvature of the Earth, elevation/azimuth. Thus orbital segment 418 represents satellite positions that should be analyzed for potential visibility from VOP 435.

[0161]

VOP 435 designates a location for which satellite visibility with respect to orbital segment 418 is being determined.

[0162]

Rays 430b-1, 430b-74, 430b-75, 430b-21,541 designate several of the rays corresponding to each position of the satellite that is analyzed for visibility. The number of rays is determined by the number of samples being taken along orbital segment 418. In this example, the analysis is made for the change in satellite position every second, and thus a ray for every second (21,541 in total) is required. That corresponds to 0.000135 radians (or 0.0077 degrees) per second.

[0163]

Obstructions 440a, b are visually depicted as buildings. In practice, obstructions 440a, b are not limited to buildings, but may be any form of static or dynamic artificial obstruction (e.g. walls, trucks) or natural obstruction (e.g. distant mountains, nearby sheer cliffs, vegetation).

[0164]

Each ray is analyzed to see if the ray would reach the satellite thus establishing Line of Sight (LOS), or whether the ray would be obstructed by obstructions 440a, b and thus has no Line of Sight (NLOS). The status of each ray is stored.

[0165]

A characteristic of the 1-pass analysis is that the analysis provides fine detail of obstructions. On the other hand, some of that analysis is redundant. For example, rays 430-1 through 430-74 are obstructed, and most obstructions would not permit visibility from the ground up to 430-74. By contrast, ray 430-75 has LOS because the ray extends to orbital segment 418 without intersecting obstruction 440a, and that lasts through ray 430b-21541.

[0166]

Thus, it may be more efficient to first sample orbital segment 418 using coarser angular intervals between rays. After finding the rays that transition between LOS and NLOS at a coarse resolution, performing a pass of analysis only around a coarse ray close to the point of transition using finer angular resolution.

[0167]

The next two figures describe an example of a 2-pass analysis. The first pass, using coarse angles between rays, is described in more detail in the next figure.

[0168]

FIG. 4C illustrates the 1st pass of an example 2-pass analysis for finding satellite visibility at a Valid Observable Point (VOP). Diagram 400c includes orbital segment 418, VOP 435, coarse rays 430c-3, 430c-4, 430c-1046, 430c-1047, and obstructions 440a, b.

[0169]

The description of orbital segment 418, VOP 435, and obstructions 440a, b are similar to those of FIG. 4B, above, and the reader is referred to those sections for more detail.

[0170]

Coarse rays, such as 430c-3, 430c-4, and 430c-1046, 430c-1047 are also traced or cast, but at much larger angle intervals. The analysis defines coarse ray angle interval such that the coarse rays can detect a 3 m building (slightly less than 1 story, which is approximately 3.3 m) that is 1 km away, as illustrated by obstruction 440b. With the initial assumptions provided for these examples, the analysis requires 1048 rays with an approximately 0.003 radians (0.1719 degrees) change.

[0171]

The first pass performs a sweep that is similar to the 1-pass analysis, but using the coarse ray angular intervals between each of 1048 coarse rays. The samples taken by the coarse ray sweep are analyzed to find pairs of successive coarse rays where the pairs transition from LOS to NLOS, or vice versa. Here in FIG. 4C, the status transitions between the pairs of coarse rays <430c-3, 430c-4> and <430c-1046, 430c-1047>. Where a pair of successive coarse rays transition, the pair is noted for further analysis in the next pass.

[0172]

Details of the second pass, with finer angles between rays, are shown in the next figure.

[0173]

FIG. 4D illustrates the 2nd pass of an example 2-pass analysis for finding satellite visibility at a Valid Observable Point (VOP).

[0174]

Diagram 400d includes orbital segment 418, VOP 435, fine rays 430d-74, 430d-75, 430d-21499 and 430d-21500, and obstructions 440a, b.

[0175]

Again, the descriptions of orbital segment 418, VOP 435, and obstructions 440a, b are the same as described in FIG. 4B, and the reader is referred to that section.

[0176]

Fine rays, such as 430d-74, 430d-75, 430d-21499, and 430d-21500, are traced or cast during the second pass such that the fine rays corresponding to one of the pairs of successive coarse rays noted during the first pass.

[0177]

For each pair of coarse rays that were noted to transition status, one of the coarse rays (here, the NLOS ray), is designated. The fine rays are cast or traced at angles relative to the designated coarse ray. Fine ray angle intervals are set to provide the same accuracy as in the 1-pass example. For ease of comparison between the 1-pass example and the 2-pass example, the fine ray angular interval is the same ray angular interval as the 1-pass example: 0.000134 radians (0.0077 degrees, or 1 second of movement). Other implementations that follow the given example may set other fine ray angular intervals. In general, the fine rays angle interval is less than the coarse ray angle interval.

[0178]

Briefly referring back to FIG. 4C, since <430c-3, 430c-4> are a designated pair of successive coarse rays, fine rays are cast between coarse rays 430c-3 and 430c-4. Similarly, fine rays are cast between 430c-1039 and 430c-1040. Returning now to FIG. 4D, fine rays, such as 430d-74 and 430d-75, are cast between coarse rays 430c-3 and 430c-4. Likewise, fine rays such as 430d-21499 and 430d-21500 are cast between coarse rays 430c-1046 and 430d-1047.

[0179]

Transitions of status of fine rays in 2nd pass are used to determine the dimensions of obstructions 440a, b. Here, for the 3 m obstruction, fine ray 430c-21499 has visibility and fine ray 430c-21500 is occluded. The 3 m height of obstruction 440b can be approximated from that information. The forecast system saves an indication of the time in which visibility transitions between LOS and NLOS.

[0180]

In some implementations, fine rays are incrementally cast or traced relative the NLOS coarse ray of the designated pair of successive coarse rays (in other implementations, relative to the LOS coarse ray) on either side of the coarse ray until a stopping condition occurs. One potential stopping condition is that the corresponding successive coarse ray (or the endpoint of orbital segment) is met or exceeded. Another potential stopping condition for casting or tracing may be that a status transition is detected at a fine ray.

[0181]

The efficiency advantage of the 2-pass approach over the 1-pass should be apparent. The number of coarse rays used in 2-pass analysis to sample the satellite orbit can be a magnitude smaller than the number used in the 1-pass. From the coarse analysis, the last “hit” will then be processed further to fill in the gaps and find the exact second the satellite transitioned between LOS and NLOS. This permits fewer overall rays to be cast while maintaining a high level of accuracy.

[0182]

Using the example, the coarse rays are spaced every 0.003 radians and the second pass will process a fine ray for every 0.0077 degrees (every second). In the described implementation, fine rays are cast or traced on either side of the coarse-ray hit, so, up to an additional 22 fine rays on either side (44 additional fine rays in total) of the coarse ray for each detected object. The sum of fine rays and coarse rays that are cast or traced in both the 1stand 2ndpass of the 2-pass approach is still far less than the brute force scan of 21,541 rays in the 1-pass approach.

[0183]

Although the example of the 2-pass analysis discusses coarse ray angular intervals with a key performance indicator (KPI) of detecting 3 meter high features 1 km away, in some implementations, other KPIs may be used to a set coarse ray angular interval where necessary or more suitable than the given 3 m/1 km KPI.

[0184]

Besides casting or tracing of fine rays at successive angular intervals, another approach may be divide and conquer (in some implementations with rays at the determined angular intervals, but in others, may be at variable angles). Where parallel processing of rays is possible, fine rays may be cast or traced at respective angles in a batches of one or more rays.

[0185]

FIG. 5 shows message flow for session authentication between the user/customer 348, content delivery network (CDN) 369 and GNSS Forecast engine service (FES) 348 that provides forecasts to CDN 369. Devices use an auth API key for authentication and a set of API methods (device API) to download GNSS Forecast data for a particular space and time. Device API is utilized to process the request, selecting a set of cuboids from Spatial DB and providing links where these cuboids could be downloaded from CDN 369. Front end 512 delivers the user experience UX. User handling 514 handles requests for authorization for users. Once a session is open between customer 348 and CDN 369, DB and file cache 516 responds to API requests.

[0186]

GNSS Forecast CDN 369 processes uploaded data in a queue in GNSS Forecast data processor, updates the metadata spatial database and replicates GNSS Forecast data based on cuboid position to appropriate CDN origin. After this occurs, the forecast data is available to devices for download. If a certain cuboid will be required, this will be delivered through the CDN Edge and cached there for later re-use.

Improving Receiver Performance

[0187]

FIG. 6A illustrates the block diagram for a receiver, showing the flow of data from Forecast Assured Navigation (FAN) to elements in the GNSS receiver. A typical GNSS receiver consists of a number of hardware and software components involved in reception, demodulation and decoding of satellite signals; and then the use of these to generate a positioning solution. Position, velocity and time, and additional items may be produced. Upon receipt of a GNSS Forecast, GNSS receiver searches for the IDs of visible satellite, acquires code delay and Doppler estimates, with rough alignment of code and carried, refines code and carrier alignment and completes pseudorange and data demodulation measurements. Typical GNSS receiver components for the disclosed technology include antenna 622, GNSS RF 632 and GNSS hardware 633 for receiving, acquiring and measuring GNSS signals. The direction of this is typically under control of the Measurement Engine (ME) 634 software. Positioning Engine (PE) 636 uses the data produced from ME 634 to compute the position of the device. Fused Positioning Engine (FPE) 638 may also use the measurement data from the ME 634, with non-GNSS position data 628 from other positioning services, to compute the position of the device, also referred to as a positioning solution. Antenna 622 captures GNSS signals and feeds them to GNSS RF 632, for use by GNSS hardware 633 for finding satellite signals and determining the satellite name and decoding the position of the satellite.

[0188]

FAN service 672 passes the forecast from the FAN service via the communication layer 676, through the interface layer 656, directly to positioning engine (PE) 636 with RTK and fused positioning engine (FPE) 638 with RTK, in one implementation. The forecast includes the positions and augmentation services, enabling the determination of a precise position fix. The flow of the disclosed forecast data can be implemented differently way in a different embodiment. RTK systems use a ground-based reference station at a fixed, known location to process and transmit the error-corrected signal to a receiver in a moving vehicle. It is generally accurate to the centimeter level, and works in real time, but each reference station only has a range of 10-20 km.

[0189]

In some cases, the disclosed GNSS Forecasts can be applied to improve GNSS positioning engine (PE) 636 performance. The PE 636 is the function that computes the position of the device. It receives GNSS signal measurements and satellite orbit data and may also receive other information, including the data generated by the prediction methods described in this document, and combines these to determine position. This procedure includes use of data and quality information provided by a Measurement Engine (ME) 634, as well as internally generated quality information, to determine how best to use and combine the available information, including satellite measurements. A GNSS PE 636 or receiver can use a GNSS Forecast to improve its performance, including integrity and reliability of the position solution, time to fix, positioning precision and also accuracy.

[0190]

GNSS positioning engines and receivers are regularly determining what satellites to track and use as a part of their position and time calculations. With predicted information of the localized environmental impacts from buildings, vegetation, terrain and other sources of obstructions and multipath, the GNSS receiver can know in advance what GNSS satellites are better to use and hence improve the integrity and reliability of the position solution calculations. The GNSS Forecast data provides information on which satellites are visible—line of sight (LOS)—and which are not. Line of sight visibility is a good indicator of measurements that are likely to be less affected by signal multipath, or other errors and hence can be used in the PE 636 or FPE 638 with a greater weight than other satellites which are not line of sight.

[0191]

For example, the GNSS PE 636 or FPE 638 may use the GNSS Forecast data as described next. The GNSS Forecast data is provided to the GNSS receiver PE 636 or FPE 638. Note that the FPE may be a different software entity outside the GNSS receiver, in which case the GNSS Forecast data may be provided to either, or both of the PE 636 and/or FPE 638. The GNSS Forecast data contains information on which satellites are line of sight and which are not line of sight, for a specified position and a specified time. At this point, the PE 636 and/or FPE 638 may determine to use this information to increase the confidence with which it uses the line of sight data, by comparison with the non-line of sight (NLOS) data. A typical method for this would be to adjust the relative weighting on the LOS versus NLOS measurements. This may be done by adjusting the individual satellite's estimated—a priori—standard deviation, or variance to reflect the difference between LOS and NLOS measurements. One method for this would be to increase (make larger) the standard deviation, or variance, of the NLOS measurements, and leave the standard deviation, or variance, of the LOS measurements at the value which had previously been determined by the GNSS PE 636 and/or FPE 638. It is also possible to perform the reverse—i.e. to decrease, or reduce the standard deviation, or variance, of the LOS measurements, but this has a potential to result in a position which may become heavily biased to the LOS measurements, which is not desirable.

[0192]

The GNSS Forecast data may be provided for all satellites, based upon the environment in which the GNSS receiver is operating; or as information on individual satellite signals; or both. The use of GNSS Forecast will enable the receiver to apply “environmental multipliers” to measurement variances with increased confidence based upon the environment in which the GNSS receiver is operating; or as information on individual satellite signals; or both and provide a higher level of integrity in this aspect of the positioning process.

[0193]

For example, the GNSS PE 636 and/or FPE 638 may use the GNSS Forecast data to adjust the standard deviation, or variance values of each satellite that is being measured, as described above. It may further use information in the GNSS Forecast for providing information on the local signal environment, or use the data provided to determine an estimate of the local signal environment, and apply a common effect to the standard deviation, or variance of all satellites. For example, the GNSS receiver may be operating in a dense urban environment, where the typical expectation is for worse GNSS signal reception, in which case the PE 636 or FPE 638 may apply a multiplier to all of the a priori standard deviations, or variances, to increase them all (make larger) by a factor which would reflect the worse signal environment, using the GNSS Forecast data to determine this. In a similar fashion, if the signal environment had been supplied as Rural, then it would be possible to use the multiplier to reduce (make smaller) the standard deviation, or variance values.

[0194]

The GNSS Forecast will help the GNSS positioning engine 636 to improve its signal quality monitoring algorithms by providing information on which measurements are contaminated and how badly contaminated each measurement is. As described above, the environmental multiplier may be applied uniformly as a value to increase, or decrease the standard deviation, or variance on all satellites. The GNSS Forecast data is provided on a per satellite basis. It is therefore also possible to apply a multiplier on a per satellite basis, dependent upon data provided about this satellite signal at a specific location and a specified time. The multiplier may be a uniform one related to the set of LOS, versus the set of NLOS satellite observations, or it may differ on a per satellite basis, depending upon the level of signal contamination that is predicted for each satellite by the GNSS Forecast.

[0195]

This information can then be used by the PE 636, for example to choose the most appropriate positioning algorithm to use; to de-weight or exclude measurements from the computation of the position solution to minimize the impact of multipath-induced errors in the position solution; and to improve the recovery from lead and lag events normally seen during dense urban driving. As described above, this can be performed by using the GNSS Forecast data to adjust the a priori signal standard deviation, or variance values. This adjustment to the relative weighting will then alter the position determination calculation, which can then improve the precision and accuracy of the resulting position, and hence improve performance in GNSS signal environments. The use of GNSS Forecast can also be used to improve the position solution integrity and reliability, by providing externally generated data to support decisions and calculations made by the GNSS receiver's PE 636.

[0196]

In another case, the disclosed GNSS Forecasts can be applied to improve GNSS Measurement Engine (ME) 634 performance. A ME 634 is the function that interfaces with the GNSS receiver hardware 633 and performs a number of functions including: the search for, and acquisition of, satellite signals; the decoding of data transmitted by the satellites; tracking of multiple GNSS satellites and the generation of measurements from this data, including pseudorange (the estimated distance from the receiver to the satellite), Doppler frequency and carrier phase measurements and associated quality information such as signal level, or continuity of signal tracking. These data are supplied to the PE 636 and/or FPE 638, which use them in the position calculation. A GNSS ME 634 or receiver can use a GNSS Forecast to improve the performance (integrity and reliability of the position solution time to fix, positioning accuracy, etc.) as described above. GNSS ME 634 in a GNSS receiver is regularly determining what satellites to acquire, track and use as a part of their position and time calculations. With predicted impacts of the localized environmental (from buildings, vegetation, terrain and other sources of obstructions and multipath) the GNSS receiver's ME 634 will know in advance what GNSS satellites to use, how the satellite visibility will change depending upon the receiver's location and hence how to adjust their signal acquisition and tracking algorithms to make use of this information. Details of how this may be done are described next.

[0197]

The GNSS Forecast data would help the GNSS ME 634 to improve its search strategy algorithm, its channel allocation and management algorithms to quickly acquire signals as they become visible or dismiss signals once they become obscured. The GNSS Forecast data provides information on each satellite's LOS, or NLOS status for a specific location and a specific time. This data may also be provided for another location and/or time, as requested by the GNSS receiver. Hence the GNSS ME can be provided with the GNSS Forecast information that will allow it to know where and when an individual satellite will be LOS, or NLOS. This information allows the ME 634 to do the following. (1) Reduce the time and frequency uncertainty on the LOS signals—or conversely increase the time and frequency uncertainty on the NLOS signals. This will allow the ME 634 to direct the GNSS receiver hardware on which satellites are available, and when, and the amount of resource to expend in acquiring them. (2) Adjust the amount of signal integration that is needed for an individual satellite—for example if the satellite is confirmed as NLOS, then it is likely that this is a lower signal strength and hence the signal integration time may be increased. (3) Note that, as the GNSS receiver PE 636 and/or FPE 638 may also know the route that the GNSS receiver is travelling, they can use the GNSS Forecast data to know in advance how to adjust the signal integration time to maintain signal reception—if the satellite signal transitions from LOS to NLOS, the signal integration time can be increased, whilst if the satellite signal transitions from NLOS to LOS, then the signal integration time can be reduced. This may also be required to avoid the potential for the signal to saturate, depending upon the magnitude of the change in signal level. This would improve the accuracy of the position solution especially in dense urban environments. The GNSS Forecast data would also be used to improve the robustness of the multipath indication algorithm by providing information on (a) which measurements are contaminated, and (b) how contaminated each measurement is. This can also be used to improve the position solution integrity and reliability, by providing externally generated data to support decisions and calculations made by the GNSS receiver's ME 634. The use of this data is described above.

[0198]

In yet another case, the disclosed GNSS forecasts can be applied to improve GNSS Real-Time Kinematic (RTK) performance. RTK systems use a ground-based reference station at a fixed, known location to process and transmit the error-corrected signal to a receiver in a moving vehicle. The provision of GNSS forecast data can be used to improve the efficiency and reliability of ambiguity resolution, which is required to generate the highest precision GNSS carrier phase measurement-based positioning solution. With predicted impacts of the localized environmental (from buildings, vegetation, terrain, and other sources of obstructions and multipath) the RTK solution can know in advance what GNSS satellites to use and how the satellite visibility will change depending upon the receiver's location. This information can be used to aid in (1) detection of cycle slips, and (2) determine which satellite measurements are the most reliable, both for position calculation and also in the ambiguity resolution process, for example which should be used as primary satellites in an ambiguity resolution process. This can be used to improve the time to fix, accuracy, stability and integrity of the RTK positioning solution. For example, satellites which are forecast to be line of sight would be used in the first attempts to resolve integer ambiguities in an RTK solution—or to reduce the integer domain ambiguity search space, through application of techniques detailed above, related to the uncertainty of the observations, but now applied to the integer ambiguity, or phase measurement domain.

[0199]

The disclosed GNSS Forecasts are also usable in a lab testing environment, also using the methods described above.

[0200]

FIG. 6B illustrates an example result of utilizing the disclosed GNSS Forecast with RTK to improve performance. The improved route is shown using a dotted line 662 as a more reliable path compared to the route shown using the solid lines 664.

[0201]

A similar approach to that described above for PE position calculation, or RTK ambiguity resolution may also be applied to aid in Precise Point Positioning (PPP) time to converge the position solution.

Precise Time Synchronization of Distance-Separated Locations

[0202]

The disclosed technology for GNSS Forecasts can improve time synchronization of distance-separated locations. One use of GNSS is to provide timing and synchronization to systems such as telecommunications networks. Unlike vehicles and consumer devices, these systems are typically at a fixed location and do not move. This makes it more straightforward for these systems to know where GNSS satellites are and the typical behavior, since the environment is mostly unchanging/static. However, when deploying a new system, a GNSS Forecast can aid in determining the best antenna placement. For existing installations, a GNSS Forecast can provide updates to changes in the environment like new buildings, signs, and other obstructions, which can be orders of magnitude larger, in terms of a comparison of the magnitude of the impact of these errors. It can also predict where multipath, and a resulting timing delay. may be present if the calculated position of the static object shifts unexpectedly due to a lack of sufficient line-of-sight satellites during a certain time of day or time period within a day.

[0203]

The disclosed Forecast Assured Navigation (FAN) technology includes the methodology of testing multiple receivers and antennas as a function of location, altitude, and flight envelope. While testing of GNSS receivers/antennas in a simulated or lab environment has advanced greatly, when a component is being used in a life critical environment, such as flights carrying passengers or flights over people, it is advantageous to test the actual performance in a real-world scenario. A receiver that is being used on an Unmanned Aircraft (UA) faces unique challenges in that it is subject to altitude changes as well as acceleration, deceleration, velocity changes, turns, climbs, descents, rotations and vibration. The disclosed methodology allows a receiver under test to be evaluated under these real-world conditions. In one implementation, the disclosed technology includes the methodology of carrying multiple receivers on a purpose-built drone and being able to compare their performance to ground truth. This enables one to assure that the receiver/antenna will perform as expected when relied on for position, navigation and timing.

[0204]

In yet another use case, the disclosed technology for GNSS Forecasts can be applied to GNSS receiver development. GNSS receiver developers can use GNSS Forecast to find locations that are challenging to GNSS operation. GNSS receiver developers could then test their receiver based on the real world or synthetic 3D environment of these locations. The use of the GNSS forecast data detailed above can be used to improve the GNSS performance by enabling adjustments to be made to the GNSS receiver ME 634, PE 636 and FPE 638 algorithms, for example the changes to the relative weighting, based upon changes to the individual satellites' standard deviation, or variance values.

Improving Sensor Function & Cellular Station Location and Antenna Placement

[0205]

In yet another case, GNSS Forecasts can be applied to improve sensor function. In Automotive applications, the GNSS sensor is often assigned the lowest priority within the positioning engine and primarily used to sanity-check the solution for absolute position. This is true for both lane level positioning applications and navigation applications. Due to the effects of multipath acting on an unknown number of the GNSS signals received, its position accuracy and integrity can be negatively affected. GNSS Forecasts can aid the GNSS engine in predicting which GNSS signals are line of sight and which are affected by multipath, therefore allowing to receiver to lessen its error bounds and increase its integrity. As a result, the positioning engine (PE) 638 can know when it can assign GNSS a higher priority to improve overall absolute positioning accuracy.

[0206]

Another use case example includes applying the disclosed GNSS Forecast technology to determine cellular base station locations and configurations. One of the most critical parts of wireless communication networks is the time and synchronization of the network and devices to ensure proper transmission and handoff between base stations. One of the most common methods of achieving synchronization and timing is the use of GPS/GNSS at the cellular base station. Hence choosing the best location for a cellular base station and configuration includes ensuring good GPS/GNSS coverage and antenna placement. The disclosed GNSS Forecast can be used to help choose the cellular base station location and antenna placement.

Jamming or Spoofing of GNSS Signals

[0207]

Disclosed GNSS Forecasts can be applied to identify spoofing attempts, to determine jamming or spoofing of GNSS signals, to improve GNSS integrity and to improve anti spoofing. A comparison of measurements against predicted signal availability, often for multiple satellites and constellations, can improve interference and spoofing detection and mitigation. An obscured satellite, even if received via multiple order multipath, will typically have a lower signal strength. A satellite signal received at normal or just below expected strength, when the satellite is known to be obscured, is an indicator of spoofing. The assumption is that the spoof checking is an integral real-time constant check, instead of a one-off activity. Note, that if the receiver is already in a spoofed position, and the spoofer happens to also use the disclosed Forecast Assured Navigation service or has a similar mechanism to provide only line of sight satellite signals, this can aid the spoofer. Starting from a known trusted (correct) location, the receiver constantly corrects its navigation position using additional aids, and enhanced with the disclosed GNSS Forecast, to assure that spoofing is not happening.

[0208]

In one implementation, a disclosed method of determining jamming or spoofing of GNSS signals includes receiving a GNSS Forecast and covering a time and location of present operation of a vehicle, including a reliability measure for respective GNSS signals received from a plurality of satellites at the location. The disclosed method also includes comparing received GNSS signals received from the plurality of satellites to the GNSS Forecast, and rejecting outliers detected by the comparing and rejecting the GNSS signals from the satellites as jammed or spoofed. In one example, a received signal with a strength level significantly higher than expected may indicate that the signal is from a satellite source that is likely to be a spoofing source. Additionally, a signal may be rejected because the satellite is known to be obscured from the GNSS receiver and therefore must be a false signal.

[0209]

In another implementation, a disclosed enhancement includes determining the expected vs measured Signal to Noise Ratio (SNR) or Received Signal Strength (RSS). Where SNR is weaker than predicted, the receiver may be jammed. Where the SNR is stronger than predicted, the receiver may be receiving spoofed signals.

[0210]

The SNR/RSS for a GNSS satellite may be predicted, in part, based on elevation angle. Examples of prediction is shown in FIG. 6C.

[0211]

FIG. 6C illustrates SNR of GPS signals at corresponding elevations on an open field, using real world data.

[0212]

As shown in the figure, a satellite that is close to directly above a receiver will tend to provide a tighter and higher range of SNRs than one that is at a lower angle.

[0213]

Other factors that play a role, that are not directly labeled in FIG. 6C include antenna quality and obscuration.

[0214]

An expected SNR may also vary based on the quality of antenna. For example, an expected SNR for a theoretical signal of 130 dBm may be 42-44 dB. For a high end receiver with a good antenna, this can rise to 50 dB. Most handheld phones do not have a very high end receiver with good antenna. An expected SNR for the handheld device might peak at 35 or 40 dB.

[0215]

An expected SNR/RSS of GNSS satellites may also vary based on whether a visible GNSS satellite is has line-of-sight (LOS) or non-line-of-sight (NLOS) visibility. With other factors being equal, a GNSS satellite with LOS is expected to have a better signal than a GNSS satellite that is obscured and thus has NLOS. The LOS satellite will have a higher SNR/RSS.

[0216]

A device attached to the receiver will receive signals from various satellites. The device will also receive, the elevation/azimuth of the satellites and obscuration, as part of GNSS forecast data. Based on the LOS/NLOS status of the satellite, the device can predict an expected SNR/RSS.

[0217]

The predicted SNR/RSS of each satellite is then compared with the acquired SNR/RSS to detect if spoofing or jamming has occurred. For satellites with a predicted SNR/RSS that is high relative to acquired SNR/RSS, those satellites may be jammed. Where acquired SNR/RSS is higher than predicted SNR/RSS, then the satellites may be spoofed. Note the above description of a comparison encompasses does not constrain the comparison action to an analysis of a single satellite. While the comparison could be for a single satellite, but could also encompass a sequential comparison of single satellites, or a comparison of a batch of satellites, or the aggregate characteristics of a group of satellites. The comparison action may occur with some or all of the satellites visible from a point.

[0218]

Although the actions of receiving a forecast, calculating a predicted SNR, comparing the predicted SNR to an acquired SNR are described above as sequential steps, those steps may occur at multiple points over time. The detection may also be based in part on analysis of the earlier results of the comparing action and the later results of the comparing action.

[0219]

When detection of spoofing or jamming has occurred, attached devices may react in one or more manners. Devices may rely on positioning systems other than GNSS-based systems. Devices may also report the indication of spoofing or jamming for analysis and potential reporting to other devices with regards to the potential attack.

[0220]

Thus, if a receiver, prepared with GNSS forecast data, knows that it should only receive a SNR of 20 dB at most based on the handheld phone location and the satellite location, but the measured SNR is closer to 45 dB, then it is likely that the signal is spoofed. Likewise, if the expected SNR is 20 dB but the detected SNR is closer to 10 dB, then it is likely that the signal is jammed.

[0221]

The values of different SNR used in the examples may differ in different circumstances or for different implementations.

[0000]

Far Away Features with Significant Obstruction

[0222]

FIG. 6D illustrates a scenario in which a large obstruction is distant from nearby grid of points and is still accounted for by the forecast system.

[0223]

Map 600 includes the elements of satellite 602, skyscraper 612, vehicle 632, background 623, and foreground 633.

[0224]

In this scenario, a signal from GNSS satellite 602 is occluded by skyscraper 612 from having line of sight (LOS) with a receiver in vehicle 632. Skyscraper 612 is 500 meters (m) distant from vehicle 632. That distance is beyond the normal range of adjacent areas provided to the onboard receiver of vehicle 632, and so would not be included in a GNSS forecast that focuses on only areas in foreground 633. If skyscraper 612 is not accounted for as an obstruction, then GNSS forecast data may erroneously indicate or state that satellite 602 has line-of-sight (LOS), when in practice, satellite 602 has no line-of-sight (NLOS).

[0225]

To account for monumental obstructions that are distant to vehicle 632, a forecast system will provide data about obstructions from distant background locations such as background 623. Unlike obstructions from a grid of points in foreground 633, it is often sufficient to provide coarse resolutions. For example, a 50 m difference in a mountain that is 5 kilometers (km) away is unlikely to significantly alter the results of whether a satellite has LOS or NLOS visibility. Similarly, a 10 m difference in skyscraper 612 that is 500 m away from vehicle 632 is also unlikely to significantly alter the results of whether a satellite has LOS or NLOS visibility. This presents an opportunity to reduce the size of forecast data being transmitted, and the amount of forecast data to be processed at the receiver size, while still increasing accuracy by accounting for distant obstructions.

[0226]

Obscuration can be correctly modeled for large objects in distant background 623 to vehicle 632 by using a coarser resolution than fine resolutions used to model objects in close foreground 633. Here, while a 3D model for foreground 633 will continue to use a fine resolution (such as 5 cm to 1 m cuboids in the volume under consideration, but foreground cuboid resolutions may range from 2 cm to 5 m without departing from the spirit of the disclosure), 3D models for background 623 may instead be represented by cuboids with a coarser resolution of 25 m-30 m cuboids (while in some implementations, a broader range of 10 m through 50 m cuboids in the volume under consideration may be used). In some implementations, different ranges resolutions for foreground 633 and background 623 may be used.

[0227]

Once the 3D models from foreground 633 and background 623, a correct visibility of satellite 602 from the grid of points is determined and returned responsive to a corresponding query. A correct finding of NLOS visibility will be returned rather than the incorrect LOS visibility.

[0228]

Although the above uses skyscraper 632 as the monumental object, in practice, other kinds of very large objects may also be accounted for. Other manmade monumental objects such as sports stadiums or amphitheaters, natural terrain features such as hills, mountains, and even vegetation (such as giant sequoia and redwood trees) are examples of objects that may obscure GNSS signals from a far distance, and can be accounted for by the technique described above.

[0229]

Although the distance between foreground 633 and background 623 is provided in the example as 500 m, the distance between foreground and background may be different. In some implementations, the distance may fall in a range between 400 m and 5 km.

Autonomous Ground-Based Vehicles

[0230]

The disclosed technology for Forecast Assured Navigation (FAN) generate GNSS Forecasts for navigation. GNSS Forecasts provide a predicted GNSS availability and performance for an area and time, which is usable in advance or in real-time for any vehicle or system using GNSS. As set up, the positioning requirement for the drive can be selected. Before a planned journey and/or in real time, a vehicle sends its location and intended routing request to the cloud service. The service provides a GNSS heat map, also referred to as a Point Cloud, which is then used to determine the quality of GNSS coverage along the route and nearby areas. For example, a vehicle may need a specific level of GNSS performance to have safe automated lane control. The vehicle may use a GNSS Forecast to determine if the vehicle will have adequate GNSS signals on the road ahead. If so, the vehicle will be able to continue operation and lane level control. Alternatively, if GNSS is forecasted to not be adequate, the vehicle may change its automation mode, rely on other sensors, return control to the driver or trigger return of control to the human.

[0231]

Level 2 to Level 5 Autonomous Vehicle Operation requires knowledge of the vehicle's Precise Position. In Lane Level Accurate Positioning, the accuracy requirement is commonly defined as 0.3 Meters Horizontal Position and having 99.99% certainty in that Position. It is Mission Critical that the vehicle's Positioning Engine retains that level of accuracy throughout its journey. In one example, if a DOP is 2.0 is required for lane level accuracy of 0.5 m, FAN can predict where and when the required DOP will be available to safely utilize the desired autonomous driving (AD) features.

[0232]

In one example use case, an autonomous ground-based vehicle is traveling and wants to know the expected GNSS signals on its route of travel. The vehicle connects to a cloud service to request the GNSS signal predictions along its route. The cloud service processes the request from its distributed architecture to get the appropriate forecast information for the vehicle and transmits it to the vehicle. The cloud architecture interfaces with a GNSS Forecast engine service that gathers satellite data, environmental data, and maps to process with various algorithms to provide a prediction and then publishes the prediction on a cloud architecture.

[0233]

The disclosed GNSS Forecast can also be used to improve fleet management. Fleet management commonly uses GNSS as the primary sensor for location tracking. In an urban environment, real-time metrics, and guidance such as estimated arrival time and taking the most fuel-efficient route are adversely affected if the vehicle is placed in the incorrect lane or side of the intersection. GNSS Forecasts can allow the tracking algorithm to prioritize high confidence GNSS locations and reject low confidence results to improve overall vehicle tracking accuracy, and can also use this information to alert the driver to double check their guidance and follow local road signs if a low confidence area is ahead. Similarly, asset tracking for shipping containers, construction equipment, rail cars, and other expensive assets that are large enough to justify GNSS tracking rather than just RFID. GPS is used to track assets in transit. Reliability of the signals through use of the disclosed GNSS Forecasts can enable the identification of areas of concern, due to poor GPS performance, such as knowing where cargo containers need to be placed in a cargo port.

Path Planning

[0234]

The disclosed technology for GNSS Forecasts can be applied to path planning for ground-based vehicles, in another use case. Autonomous and automated vehicles use a variety of sensors to determine the relative position of the vehicle to its surroundings, sometimes called localization. GNSS is typically the primary method of determining absolute position and time with respect to the surface of the earth, or geodesic reference, and time (Universal Coordinated Time (UTC)). The reliance of the vehicle on GNSS makes it very important or critical to the operation of the vehicle. GNSS Receiver performance can be enhanced using RTK (RTK, PPP, & RTK+PPP), WAAS, SBAS, GBAS, and RAIM technologies and services. While these techniques improve the performance of GNSS, none of them provide geospatial awareness information about the localized environmental impacts on the GNSS signals from buildings, vegetation, terrain, and other sources of obstructions and multipath.

[0235]

Using a GNSS Forecast, a vehicle can plan its path/route to ensure that it has the best GNSS signals available and know where and when its performance will be impacted. The system can make trade-offs between GNSS performance and other sensors and system that can augment or bridge gaps in GNSS coverage. The system can make trade-offs between driving modes; for example, the system can use a GNSS Forecast to determine a path that has the highest utilization of autonomous or automated vehicle operation versus fastest route, shortest route, or economic route. This is not limited to on-road vehicles like cars and trucks. This can be used in mining to determine where best to operate machinery based on GNSS Forecast and the time of day. In one example, mining on one part of the mine where signals are good at 9 am versus another part of the mine at 10 pm. The GNSS Forecast can also be used to determine the impact of the change in the environment due to blasting/mining.

[0236]

GNSS environments for any vehicle at ground level or low altitudes are highly dynamic. Traversing complex GNSS environments only minutes ahead or behind the planned time of travel can have a major impact on the GNSS performance. A vehicle traversing through an intersection in a dense urban environment ten minutes earlier can result in ‘okay’ or safe GNSS signals rather than poor signals.

Aviation Use Cases

[0237]

In one aviation use case, a drone flying needs to know the expected GNSS signals on its route of travel, or area of operation, for safe navigation. This is especially important for Beyond Line of Sight of the pilot (BLOS), including package delivery or inspection. In order to determine if safe navigation using GNSS is possible, a prediction of the signal strength can be used to determine the best flight path (including altitudes), take-off and landing areas, areas to hover or loiter, risk-ratio of the flight, if areas of poor GNSS can be traversed using mitigation techniques and for how long. In some cases a drone may use certified avionics, like those certified using Federal Aviation Administration (FAA) Technical Standard Order (TSO)-C199 for Traffic Awareness Beacon System (TABS). The certification requires the system to achieve specific levels of positioning performance, like section A1.2.6.3 requires 30 meters horizontal position error with a HDOP of 2.5 or less. The disclosed GNSS Forecast solution can be used to determine if the flight path or area in which a drone is going to be flown in the future will have the required DOP, resulting position accuracy, and compliance in operation. Similar positioning requirements exist within FAA remote identification rules.

[0238]

In order to access a GNSS prediction or forecast, the drone, flight planning software, ground control software, Unmanned Service Supplier (USS), or Unmanned Traffic Management (UTM) system connects to a cloud service to request the GNSS signal predictions along the intended route, area or operation, or an area where a route needs to be determined. The cloud service processes the request from its distributed architecture to get the appropriate forecast information for the drone and supporting systems, and transmits it to the drone and supporting systems. The cloud architecture interfaces with a GNSS Forecast Engine that gathers satellite data, environmental data, and maps to process with various algorithms to provide a prediction and then publishes the prediction on a cloud architecture. The drone is then able to determine the GNSS signal quality along its route and determine if the route can be flown safely.

[0239]

In another aviation use case, GNSS Forecasts can be applied to flight planning and operation. GNSS is typically the primary or only way for aircraft to determine their global position. In order for the aircraft to navigate, an aircraft may use GNSS to comply to performance-based navigation requirements, report its position using Remote ID or ADS-B, communicate position as a part of air traffic control or unmanned traffic management, detect and avoid other aircraft, avoid obstacles, take-off, land, and even have stable flight. Therefore, it is critical for aircraft to predict the performance of GNSS when planning for a flight and use the same information in flight when making real-time decisions. For manned aircraft, Wide Area Augmentation System (WAAS) and RAIM (Receiver Autonomous Integrity Monitoring) can be used for many of these needs, but that assumes the GNSS receiver has an unobstructed view of the sky with no impacts of single obscuration or multipath. Moreover, these techniques may not meet the accuracy needed for an Unmanned Aerial System (UAS) or Urban Advanced Air Mobility (AAM) system or be geographically specific enough. Moreover, while these techniques improve the performance of GNSS, none of them provide information about the localized environmental impacts on the GNSS signals from buildings, vegetation, terrain, and other sources of obstructions and multipath.

[0240]

Unmanned Traffic Management (UTM), including the Unmanned Service Supplier, can use the disclosed GNSS Forecast as a part of determining a route, the drone's total system error, performance monitoring of flights, how it allocates airspace, route authentication and route surveillance. UTM can also use the forecast in real-time to monitor the performance of its navigation system and use the forecast for any real-time changes in flight paths. For example, if a change of flight path is made, the UTM could ensure it does not fly into an area that would degrade its ability to fly.

[0241]

The disclosed GNSS Forecast can also be provided as a Supplemental Data Service Provider (SDSP) as a part of an UTM.

[0242]

The disclosed GNSS Forecast can also be used to determine the navigation capabilities and requirements of the airspace. For example, a GNSS Forecast can be used to dynamically create geofenced areas and ensure their enforceability. A GNSS Forecast can be determined to determine what type of RNAV/RNP requirements are applicable for a flight. A GNSS Forecast can be used to create static or dynamic flight corridors.

[0243]

The disclosed GNSS Forecast can be used to select locations for, flight paths to/from, and certify vertiports for electric vertical takeoff and landing (eVTOL) and Advanced Air Mobility aircraft/services.

[0244]

The disclosed GNSS Forecast can be used to determine areas of consistently high or low risk over long time periods. For example, a GNSS Forecast could be done over a month-long period to determine areas where GNSS signals are available 99.9999% of the time. These areas could be classified as low risk for flights. Whereas areas that do not meet those criteria could be classified as dynamic, high risk, and therefore either flights are not allowed in those areas, or a discreet forecast is needed for the exact time and location of the flight to determine GNSS performance.

[0245]

The disclosed Forecast Assured Navigation (FAN) technology also includes the methodology of collecting and recording for playback network connectivity as a function of location, altitude and flight envelope, via a GNSS signal record and playback system such as Spirent GSS6400 product. Network Connectivity is the primary or only way for Unmanned Aircraft (UA) or Unmanned Aircraft System (UAS) to report their global position. In order for the UA to navigate, comply to performance-based navigation requirements, report its position (using Remote ID or ADS-B), communicating position as a part of air traffic control or unmanned traffic management, correctly gather data, deliver packages, avoid other aircraft, avoid obstacles, take-off, land, and even have stable flight. An aircraft may use Network Connectivity to communicate to USS (UAS Service Supplier), UTM (UAS Traffic Management), and Operator and also be used for command and control (C2) especially when operated BVLOS (Beyond Visual Line of Sight). Therefore, it is critical for aircraft to know in advance the performance of Network Connectivity when planning for a flight. For terrestrial vehicles, the cell tower antennas are designed to ensure adequate ground coverage. This is not the case as a UAS gains altitude and may be operating off of a side lobe, resulting in over-propagation and having many more interference effects.

[0246]

An aircraft mission/flight planning system can use a Network Connectivity Record and Playback application to ensure that adequate connectivity is available for a flight, type of operation, type of airspace, and type of aircraft. Moreover, an UAS Traffic Management (UTM) system can use a Network Connectivity Record and Playback as a part of determining total system error and performance monitoring of flights and how it allocates routes and airspace. When a flight path is made the UAS could ensure it does not fly into an area that would degrade its ability to fly, perform, or meet the requirements of the airspace. Network Connectivity Record and Playback can also be used to dynamically create geofenced areas and ensure their enforceability.

[0247]

In one case, technology for record and playback network connectivity can be used for part 135 certification. Another use case includes the application of record and playback network connectivity for UA route approval. A third case includes the application of record and playback network connectivity for UA type certification. Another case utilizes the application of record and playback network connectivity for vertiport certification. Yet another case includes the application of record and playback network connectivity for remote ID certification. Also included are the disclosed application of record and playback network connectivity for receiver/antenna selection, and the application of record and playback network connectivity for forecasting model validation.

Broadband Service Coverage Over Time

[0248]

For visualizing broadband service coverage over time, one implementation of a disclosed method includes providing for display an interface that accepts input, and receiving the input specifying a point location for a broadband service antenna and visualization parameters, including a time range to depict. The method also includes accessing a 3D map of an area in an urban environment surrounding the location, including structure solids that obscure lines of sight from the location, and computing requested visualization over time, including ray casting or tracing between point location and satellites over the time range. Also included is initializing a 3D map visualization, overlaying the point location on the 3D map for a selected time and overlaying first and second rays from the point location towards at least some satellites overhead at the selected time, visually encoding the first rays with a first code to indicate a clear line of sight and overlay the encoded first rays on the 3D map, and visually encoding the second rays with a second code to indicate a blocked line of sight, showing at least a segment from the point location to a face of a blocking solid that blocks a line of sight. The disclosed method further includes combining the 3D map visualization with a playback animation control for the time range, including a current time represented by the overlaid first and second rays and third segments, overlaying the playback animation control with an indication of line of sight visibility at the point location over the time range, and providing for display the 3D map visualization combined with the playback animation control, including the overlaid first and second rays and third segments and the overlaid indication of line of sight visibility. The received input specifies satellite constellation(s) to depict. The method includes ray casting or tracing between additional locations, along a surface of a structure on which the broadband service antenna is mounted, and overlaying third segments along the surface of the structure and visually encoding the third segments with a third code to indicate lines of sight availability along the additional locations on the third segments. The method can include showing the segment extending a second ray skyward from a far side of the blocking solid. In some cases, the method also includes ray casting or tracing between additional locations, on at least part of a face of a structure on which the broadband service antenna is mounted, and overlaying visual encoding of the face of the structure with a third code to indicate lines of sight availability along the additional locations on the face.

[0249]

Visualizations that illustrate route planning and evaluation examples that utilize DOP forecasts for GNSS navigation are described next.

Visualizations

[0250]

As an alternative to distributing forecast data to and via the content delivery network (CDN) service 158, the data can be used to render disclosed visualizations of the forecast. GNSS signals change in urban environments, as is viewable via a map, by altitude and over time. Users can search for a route with “good” GNSS coverage, using the disclosed GNSS Forecasts described herein. Users can visualize GNSS performance around a known route and adjust if needed.

[0251]

FIG. 7A illustrates one example of the disclosed Forecast Assured Navigation (FAN) user interface (UI). A browser-based UI operator's view of the system is driven by the FAN data retrieved from the scheduler curation service 364, map curation service (MCS) 384 and logging and event service (LES) 372. FAN UI 702 shows a snapshot in time that illustrates where buildings occlude line of sight, via the lines that shift from an alternating dot and dash pattern that shows LOS to long dashed lines that show NLOS, with PDOP 3.7 at the receiver 755. LOS satellite signals are depicted with an alternating dot and dash pattern 752 and NLOS satellite signals are depicted using long dashes 732. A signal coming from a satellite in the sky is depicted as LOS before the signal encounters a building that blocks the signal. The UI displays the shift to NLOS long dashes pattern between the building and the receiver 755, as shown in FIG. 7A. The disclosed FAN user interface 702 also depicts a count of satellites that are visible over time. Satellite count 772 is graphed over time with the alternating dot and dash pattern for higher counts of satellites visible, and with the long dash pattern to illustrate fewer visible satellites at other times along the timeline. FAN user interface 702 further depicts a graph of DOP changes over time 782 for the receiver, via the disclosed timeline visualization shown near the bottom of the UI. A point in time can also be selected to view the PDOP, visibility and obscuration 786. Higher PDOP values are depicted with an alternating dot and dash pattern and lower PDOP values are depicted using long dashes, in this example implementation. The disclosed FAN UI can utilize a variety of graphs and patterns in another implementation. For example, forecast maps 704 and forecast subscriptions 708 can be accessed via UI 702.

[0252]

Users can access the forecast data via a visualization in a UX, and can change perspective, using rotate, pan and zoom features. A PDOP 2D layer displays the heatmap at a given altitude as a heatmap slice and users can utilize a slider on the UX to move the layer up and down in altitude. Additionally disclosed, users can view the data in 3D space using a PDOP 3D heat cloud that shows the heatmap in 3D, and the timeline can display the PDOP changing over time and illustrate how time impacts the heatmap.

[0253]

In addition to PDOP, geometrical DOP, horizontal DOP, vertical DOP and time DOP can be computed and displayed in the forecast data, via the FAN UI. These values can be computed for a combination of satellite navigation systems, i.e., as a “multi-GNSS DOP”, which refers to the combination of more than one satellite system. The values can alternatively be provided for each individual constellation, including GPS, GLONASS, Galileo and BeiDou, for example. In addition to DOP, other items which can be calculated and displayed include the number of visible LOS satellites and the number of not visible NLOS satellites. The level of multipath in an area can be estimated or mathematically analyzed, including general level of multipath in an area, level of multipath on a multi-GNSS constellation basis, level of multipath on a per GNSS constellation basis, and level of multipath on a per satellite basis. Predicted position errors and relative predicted position errors can also be calculated and displayed. As well as computing the values, the display of these can also be altered. For example, each value, or type of value can use its own, individual color palette and way of display. This can be automated, or manually chosen. The display elements can be context sensitive, depending upon the type of question that is being asked in the request. The displayed items can be focused to respond to particular issues, such as worst area, best area, relative performance spatially in 2D, vertically in 3D, and temporally to show changes over time.

[0254]

FIG. 7B illustrates the relationship between accuracy and precision for target satellite locations, for visualizing and evaluating navigation corridors. When a satellite location is accurate and the precision is high, as shown in (a) 742, there is less uncertainty in the location of the vehicle. Alternatively, when the accuracy is low and the precision is low as shown in (d) 748, a forecast trajectory would be less reliable, which can be indicated by showing a wide corridor.

[0255]

GNSS Forecast can be utilized to predict where and when satellite navigation meets the technical requirements for a specific use case. In one example, real-time integrity improvement of a navigation sub-system is achieved via real-time use of the GNSS Forecast to look approximately 1 KM ahead of the vehicle to determine what GNSS is available, what precision is possible, if mitigation is sufficient, and what level of autonomy can be maintained. Then, if needed, the system can change autonomous mode or provide additional time for disengagement to the driver.

[0256]

FIG. 8A illustrates the effect of turning a geometric corner in an urban environment on the number of LOS satellites within a target area. Turning the corner can immediately change GNSS coverage quality. For example, for a receiver traveling West to East, with buildings depicted as shaded areas in the drawing, six satellites are LOS 824, as depicted by +s in the white target area of the path. After the receiver turns the corner to travel North to South, only three satellites are LOS 866 in the white target area of the path in the urban environment shown. The disclosed FAN enables the receiver to know in advance to expect to use different satellites after turning the corner in an urban canyon. As an example of the effects illustrated in FIG. 8A, a GNSS Forecast can predict the LOS satellites. However, a specific receiver and antenna may not track all of the satellites due to their design and performance. In one example, an implementation may filter out satellites with a specific signal to noise ratio. Characterizing the way each receiver chooses to track satellites compared to the predicted satellites enables a performance prediction for specific receivers.

[0257]

The disclosed Forecast Assured Navigation (FAN) Forecasts can also be applied to improve vehicle-to-vehicle communication (V2X). Critical roadway infrastructure such as smart intersections are often tasked with advanced traffic flow management to optimize timing of traffic lights and decrease congestion. Lane level accurate vehicle position is therefore provided by the vehicle to the traffic management system infrastructure (V2X). The FAN Forecast can improve the integrity of the vehicle's position, such as in a turn lane, and therefore improve the system's performance.

[0258]

FIG. 8B shows an example urban roadway for utilizing FAN Forecasts for a smart intersection, illustrating the need for accurate GNSS Forecasts, pictorially. Vehicle 844 can use the disclosed real-time GNSS Forecast that considers the number of LOS satellites, to improve measurement and positioning estimation.

[0259]

GNSS forecasts can also be applied for city infrastructure planning. The ability of GNSS Forecast to predict GNSS signals' integrity could be used to plan city infrastructure. For the city in situ with all infrastructure in place, GNSS Forecast can be used to work out areas where GNSS signals suffer from impairments. This information can then be used to identify the locations for installing relevant sensors in order to mitigate these adverse effects. If the user has the ability to update the 3D map used in a GNSS Forecast, it can be used for city infrastructure planning during re-development. GNSS Forecast can be used to predict the effects of the new infrastructure on GNSS signals integrity and design the infrastructure for optimum GNSS signals integrity in the scenarios listed next: (a) Design potential GNSS interference sources to be interoperable with GNSS capabilities; (b) Design infrastructure to have a lower number of disturbances to areas which are relying on GNSS signals to function; (c) Design the infrastructure for vehicles to travel in optimum GNSS integrity; (d) Find locations at which to install relevant sensors, for situations in which GNSS signal degradations due to infrastructure are unavoidable.

Starting Location

[0260]

Two further approaches not only employ satellite visibility in the block for a given estimated starting position, but also the adjacent blocks, to more obtain the starting position. The further approaches are illustrated in FIGS. 8C, D.

[0261]

FIG. 8C illustrates the environment of fast convergence for low initial uncertainty, illustrated in an urban environment, and a first approach to efficient startup convergence.

[0262]

Diagram 800a illustrates an east-west street, with blocked satellite 804 and visible satellites 807, 818, obstructions 813, 816, 833, location 821 with a vehicle carrying a receiver, and adjacent location(s) 825.

[0263]

Blocked satellite 804 has a signal that is blocked in at least one of location 821 or adjacent location(s) 825 (here, the forecast data predicts that it is visible to the receiver at location 821 because the angle permits the signal to travel over obstruction 813, but will not be at adjacent location 825 because the angle is blocked by obstruction 816.)

[0264]

The visible satellites have a signal that can reach location 821 and adjacent location(s) 825. Specifically, visible satellite 807 is at an angle to have non-LOS (NLOS) visibility at location 821 because it crosses atop obstruction 816 and the signal is reflected off of obstruction 833 before reaching location 821, and LOS visibility at 825. Visible satellite 818 has LOS with the vehicle at location 821 and adjacent location 825 because it is not blocked by any obstruction at either location.

[0265]

Analyzing the GNSS forecast data provides lists satellites that are visible in the locations. The analysis is collated to find satellites that are common to all of the locations 821 and 825, including both those with LOS and with NLOS. Here, visible satellites 807, 818 are visible in both location 821 and adjacent location 825. Blocked satellite 804 is precluded from the final result because it is blocked from visibility at adjacent location 825, despite its visibility at location 821.

[0266]

By taking the list of satellites visible to the receiver, and comparing that with the lists of satellites that are visible in the adjacent locations, one can determine which location corresponds to the receiver's location. In urban environments, this may around 20-30 seconds. In suburban or rural areas, convergence may occur more quickly. Two approaches to using this information follows.

[0267]

Diagram 800b illustrates the first approach to initial startup convergence by buttressing an initial convergence with GNSS forecast data. Diagram 800b shows an intersection of streets and position uncertainties regions 842, 844, and 846 at respective times t0through t2, and satellite group 1841, group 2832, and group 3843.

[0268]

Uncertainty regions 842, 844, 846 are depicted as a circle, but in some implementations, may instead be an ellipse. The depicted uncertainty regions 842, 844, and 846 may have a confidence level at or above 95%, but in practice, the initial confidence interval may range to extremely low values, such as 50%.

[0269]

The various satellite groups are only shown at t0to reduce diagram clutter; they are present at all times in the following discussion.

[0270]

Satellite group 1841 represents the group of satellites that have LOS to all valid observable points in uncertainty region 842. Those regions that fall within the middle of terrain or a building in 842 are not considered for membership into satellite group 1841.

[0271]

Satellite group 2832 represents the group of satellites that have LOS to the valid observable points along the north-south path.

[0272]

Satellite group 3843 represents the group of satellites that have LOS to the valid observable points along the east-west path.

[0273]

At to, with an imprecise initial starting position, the various visible satellites in satellite group 1841, satellite group 2832, and satellite group 3843 were used to determine uncertainty region 842. Although the centroid of the initial startup position is in the middle of the intersection, the location could be anywhere within the circle so could be on the north-south street or east-west street outside of the intersecting area. In the example, uncertainty region 842 could express potential locations within 50 meters of the circle's center. The receiver could be on the north-south path, or the east-west path, or both (i.e. the receiver could be in the middle of the intersection).

[0274]

Blocks of predictive data of not only the imprecise initial starting location, but also of locations that adjoin the initial starting location, such as locations that fall in uncertainty region 842, are obtained from a forecast data source such as Content Delivery Network (CDN).

[0275]

To obtain a first convergence of locations, satellites that are known to have LOS visibility to all locations in uncertainty region 842 are weighted higher than those without, and thus the accuracy for a first converged starting position should be higher than the imprecise initial starting location. In the example, when refining the assessment of the starting position to obtain a first starting position, satellites in satellite group 1841 are weighted comparatively higher to those satellites in satellite group 2832 and satellite group 3843. In some implementations, satellites that are not commonly available are ignored.

[0276]

The position has converged at t1to a first staring position, reflected by uncertainty region 844. In some implementations, the process may stop here, either because the process is being used as a parallel sanity check on initial starting location process, or because the first convergence provides a sufficiently accurate position. However, in many implementations, the first convergence will not suffice, and one or more additional iterations can be used to obtain even further precision.

[0277]

Uncertainty region 844, obtained by weighting the contribution of satellite group 1841 over those of satellite group 2832 and satellite group 3843, is smaller than uncertainty region 842 and uncertainty region 844 falls on the north-south path rather than the east-west path. There are more commonly visible satellite with LOS to all VOPs in uncertain region 844 than there were in uncertain region 842.

[0278]

In the example, not only do the satellites in satellite group 1841 have LOS visibility to all locations in uncertainty region 844, the satellites in satellite group 2832 also have LOS visibility to all locations in uncertainty region 844. Thus, to perform a further second convergence to result in a second staring position, satellites from both satellite group 1841 and satellite group 2832 are weighted higher than those of satellite group 3843.

[0279]

At t2, weighting satellites know to have LOS visibility over those that may have NLOS visibility (namely, those in satellite group 1841 and satellite group 2832) results in even better accuracy of positioning, reflected by the even smaller uncertainty region 846. If the second starting position is sufficiently precise, the process may stop at this point. Otherwise, the process may continue with further iterations to tn.

[0280]

In conditions of where the receiver is clear of most obstructions, final convergence may occur in under 20 or 30 seconds.

[0281]

FIG. 8D illustrates a second approach to convergence by correlating satellite visibility data with signal strength by the receiver. Diagram 800c includes candidate locations 812, 831, and 841, and visible satellites 802, 803.

[0282]

Candidate locations 812, 831, 841 are Valid Observable Points (VOPs) that represented starting locations that could be the initial starting location. These VOPs fall within an uncertainty region having of 95% confidence. Darker candidates are candidate locations above a threshold. Visible satellites 802, 803 are satellites that are predicted to be visible to candidate locations 812, 831, 841.

[0283]

The second approach is based on SNR pattern matching. Since the receiver has the GNSS forecast data for nearby VOPs, the receiver can derive, for each VOP, a projected SNR profile for the visible satellites. An SNR profile for the GNSS satellite signals detected as the receiver is also created as a detected SNR profile. This profile is correlated to candidate points to find the candidate

[0284]

In perfect conditions, with detected SNR profile and the plurality of projected SNR profiles in hand, a single candidate with a projected SNR profile would stand out has having far and away the best likelihood to match the detected SNR profile. That candidate position could immediately be reported as the initial staring location.

[0285]

However, it is rare to have perfect conditions. Firstly, it is likely that several of the candidates have a high degree of correlation to the detected signal profile. Diagram 800c shows candidates 812, 831, 841 as darkened to reflect a high likelihood of the actual starting location. Secondly, at any point in time, real world satellite signals may be differ from the prediction based on transient factors that are not reflected in the GNSS forecast data (e.g. atmospheric or weather effects, large moving trucks or low flying birds temporarily interrupting a signal, and other sources of uncertainty as understood by a skilled practitioner.)

[0286]

To adjust for uncertainty, the technology employs a Kalman filter that reflects a received signal strength (RSS) from each satellite as a state matrix, and that reflects the uncertainty of the satellite signals and the correlation of signals between each pair of satellites (based on the predictive SNR profile generated from the GNSS forecast data) as a process covariance matrix. Visible satellites (both LOS and NLOS) are used to create these matrices.

[0287]

Both the state and process covariance matrices are used, with GNSS forecast data, to predict signal strengths of each individual satellite and uncertainty at a later time. The later time may be within a few seconds, or fractions of seconds.

[0288]

At the later time, receiver observes the signals from each satellite and determines measurement noise. The receiver compares the prediction of with measurement, and obtains a weight matrix (aka the Kalman gain). This weight matrix is then used with the differences between the predicted state and the measured state to update the state matrix.

[0289]

Once updated, the state matrix is used to update the probabilities related to the candidate locations.

[0290]

Returning to the example in FIG. 8D, when comparing candidates 812 and 841 as counter-examples to candidate 831, it can be seen that candidate 831 corresponds to a VOP such that satellites aligned with LOS along the east-west street should have LOS. If the receiver's SNR profile is consistent with only north-south satellites having LOS and east-west satellites only have NLOS visibility, the detected SNR profile suggests that the probability of the initial starting location should be adjusted in favor of candidates 812 and 841.

[0291]

If, after the probabilities are updated, if a threshold requirement is met that, based on the Kalman filter output and the plurality of predicted SNR profiles, that one candidate location is likely to be initial staring location, then that candidate location is considered to be the initial starting location and the startup processing to determine the initial location ends.

[0292]

On the other hand, if the threshold requirement is not met, then convergence process continues. The process covariance matrix is updated using the weight matrix. Once the process covariance matrix is updated, the cycle repeats. In other words, state matrix and the process covariance matrix are used to predict new states at a later time, satellite measurements are sampled at that later time, etc.

[0293]

Although the process is not guaranteed to converge to an initial starting location, in most situations, the process converges within seconds.

[0294]

The determinations required by either the first or second approach may involve at least some calculation at the receiver. In some implementations, the calculations may be performed entirely by the receiver. The two approaches may be used severally or in parallel.

[0295]

FIG. 9A through FIG. 9F illustrate use of the disclosed visualization UX that enables route planning and evaluation by users. In one use case, the customer is searching for a route that has sufficient GNSS performance for safe navigation when operating within the receiver's design domain, using GNSS Forecast data. The customer starts with the 3D/2D map with the PDOP layer enabled, to view locations with good/bad GNSS coverage on the map. The customer can then drop pins to define a route that meets their requirements for GNSS performance. In the example illustrated in FIG. 9A through FIG. 9F, a user enters a route to check what the GNSS performance for the route is, and to adjust the route, if needed, using the GNSS Forecast data displayed as a heat map.

[0296]

FIG. 9A illustrates the “create a route” feature with entry of a route by selecting the route button or by importing of a Keyhole Markup Language (KML) file, an XML notation for expressing geographic annotation and visualization. The interface accepts and receives input specifying an urban area for route planning and visualization parameters, including a time range and optionally an elevation range and satellite constellation(s) to depict.

[0297]

FIG. 9B shows the completed route 926, before the user selects the finish feature to display route information. The solid line illustrates the intended path/trajectory. The individual points are where the vehicle/receiver is located, and the window is the expected error allowance. The wider the window, the more uncertainty. If the uncertainty gets large then the “bubble” will be big and will intersect with buildings, making that path unfeasible.

[0298]

FIG. 9C displays the enabled PDOP layer with the GNSS forecast heat map. The route length is displayed as 1.73 km 944. Shading visually encodes line of sight visibility or dilution of precision at the point location over times and combines the 2D map visualization with a scrubbing slider 974 to control a time represented by the overlaid first and second rays and third segments, optionally overlaying the scrubbing slider control 974 with an aggregate indication of line-of-sight visibility or dilution of precision in the urban area for route planning, over times in a range spanned by the scrubbing slider.

[0299]

FIG. 9D shows the visualization interface with the DOP layer feature on, in 2D side view 932, overlaying shading on the 2D map for a selected time. FIG. 9E shows the route map 936 as it is entered, and the flight corridor is calculated and displayed alongside the route, in both top view 938 and side view 948.

[0300]

FIG. 9F shows the completed route 964 with the GNSS forecast data informing the route via the displayed heat map in which different DOP ranges are displayed in different shadings. Consideration of DOP ranges helps to avoid degraded performance and ensure the tightest possible flight corridor.

[0301]

FIG. 9G shows another view of the visualization interface that enables users to plan a route by clicking on the map while the heat map is visible. The thin dotted line around the route shows the estimated flight corridor. The “bubble” around the corridor implies that the receiver will be anywhere in that position even though the path is illustrated in the dead center. That is, a wider corridor implies less accuracy, and therefore more uncertainty, and a narrow corridor signifies more accuracy, and therefore less uncertainty. For aviation, the customer can look at a top/side split view to adjust the altitudes of each segment of the flight, accessing a 3D map of the urban area, including structure solids that obscure lines of sight between cuboids in the area, and optionally for drones in the specified elevation range, and satellites overhead.

[0302]

FIG. 10A shows a 3D visualization of the forecast interface displaying the GNSS Forecast DOP in measure mode, for a location selected by the user. The DOP values can also change over time on the timeline displayed at the bottom of the 3D UI display when the reticule 1024 is moved around on the map by a user.

[0303]

FIG. 10B shows rays enabled 1066 for viewing individual lines of sight from reticule to satellites in orbit. Scrubbing slider 1086 can control a time represented by the overlaid first and second rays and third segments, optionally overlaying the scrubbing slider control 1086 with an aggregate indication of line-of-sight visibility or dilution of precision in the urban area for route planning, over times in a range spanned by the scrubbing slider. The timeline 1084 can be scrubbed to view the predicted PDOP at a particular time.

[0304]

FIG. 11, FIG. 12 and FIG. 13 illustrate a GNSS Forecast visualization for multiple instances of a 1 km×1 km grid selected to cover the center of the city of Indianapolis, at different sample times, and at multiple elevations. Six shadings encode six different DOP value bands in the visualizations.

[0305]

FIG. 11 displays the GNSS Forecast at 20:23:00 GPS at ground level. Note that navigation in the city center 1156 is impacted, as illustrated by the high DOP values.

[0306]

FIG. 12 displays the GNSS Forecast at 20:47:18 GPS at ground level. Note that navigation in the city center is less impacted only 24 minutes later, as illustrated by the lower DOP values shown in the visualization in the city center 1256.

[0307]

FIG. 13 displays the GNSS Forecast at 20:47:18 GPS at 30 meters above ground level. Note that the graph of DOP value bands shows low DOP values in the downtown area 1356, which is accessible at the height of 30 meters above ground level.

[0308]

GNSS Forecast maps show GNSS receiver calculation position compared to GNSS actual position. For multi-constellation receiver and forecast (with RTK) tests performed with the disclosed GPU-based system using commercial 3D mapping, initial performance results show 94-98 percent correlation with real world measurements. GNSS performance bands show distinctions between ideal, excellent, ok, moderate, poor and bad environments. Forecast predictions match real world performance, with poor and bad predictions corresponding to poor and bad positioning accuracy. The Forecast Assured Navigation (FAN) Forecast can be utilized for accurate prediction of GNSS-degraded environments.

[0309]

FIG. 14, FIG. 15A, FIG. 5B and FIG. 16 illustrate GNSS Forecast visualizations at three sequential times, separated by 12 minutes each. FIG. 14 depicts a route along West Ohio Street in the urban center of Indianapolis that shows where the receiver thinks it is, at 12 minutes before the mid-point time of the drive 1424, encoded with PDOP value bands. A second depiction shows the route at the mid-point time of the drive 1434, and a third depiction shows the PDOP along same route 12 minutes later in time for the mid-point of the drive 1454 along West Ohio Street. Path 1438 is the route that the receiver actually travelled, straight from left to right along the route. The three circled areas 1414, 1444, 1464 of FIG. 14 illustrate the correlation between the prediction via PDOP values and the receiver's performance. The PDOP values predict the degradation of the receiver's signals. The receiver's performance recovers when the PDOP value bands return to lower values 1448 during the mid-point of the drive 1454 along West Ohio Street. Disclosed FAN forecast predictions enable avoidance of pitfalls, by planning a different route, time, or altitude. The best route in/out of the area can be evaluated. Route issues can be mitigated, using the predictions to determine whether the user can operate without GNSS and for what time period.

[0310]

FIG. 15 depicts 3D GNSS Forecast visualization results for West Ohio Street, Indianapolis, at four different altitude planes. The heat maps for ground level 1552, +10 m 1542, +20 m 1532 and +30 m 1522 show the relative PDOP graphs for those four altitudes. The area with high PDOP value band is larger at ground level, and gets smaller as the altitude increases. This supports the expectation of a lower DOP and a resulting higher accuracy of signal when the altitude rises above the level of the buildings in the urban landscape.

[0311]

FIG. 16 depicts floating planes of signal strength for visualizing signal coverage over time. FIG. 16 shows a lateral view of 3D GNSS Forecast visualization results for West Ohio Street, Indianapolis, at four different altitude planes, with the four paths stacked at the same altitudes as those shown in FIGS. 15A and 15B. The rotation of perspective shows the effect of buildings in the urban corridor on PDOP values and the resulting receiver performance. At higher altitudes, the areas of degraded performance become smaller but do not disappear. FIG. 16 offers a sense of where the planes for the route are located relative to the height of the buildings.

[0312]

In one implementation, with floating planes of signal strength, a disclosed method of visualizing GNSS coverage over time for route planning, includes providing for display an interface that accepts input, receiving the input specifying at least one corridor through an urban area being traversed and visualization parameters, including elevation slices and a time range, and in some cases a flight plan through the corridor and satellite constellation(s), to depict. The method also includes accessing a 3D map of the urban area, including structure solids that block lines of sight between cuboids on the elevation slices along the corridor and satellites overhead, wherein the elevation slices are bounded planes in space between the structure solids and are parallel to a surface of the 3D map, and computing a requested visualization over time, including ray casting or tracing between the cuboids and satellites over time to calculate line of sight visibility or dilution of precision at the point location over the time range. The method further includes initializing a 3D map visualization, overlaying the elevation slices on an orthogonal projection from a viewpoint above a lowest elevation slice and below a highest elevation slice, wherein each elevation slice translucently encodes the line-of-sight visibility or dilution of precision for the cuboids on the elevation slice. In some implementations, the method includes overlaying flight plan segments through the corridor on the orthogonal projection and visually encoding the segments to indicate the line-of-sight visibility or dilution of precision along the route segments. The method also includes combining the 3D map visualization with a scrubbing slider to control a departure or arrival time depicted, and in some cases overlaying the scrubbing slider control with an indication of line-of-sight visibility or dilution of precision over the flight plan through the corridor at times in a range spanned by the scrubbing slider. The method further includes providing for display the 3D map visualization combined with the scrubbing slider control, including the overlaid elevation slices.

[0313]

For visualizing signal strength via translucent clouds, in one implementation a disclosed method of visualizing GNSS coverage over time for flight planning includes providing for display an interface that accepts input, and receiving the input specifying at least one corridor through an urban area being traversed and visualization parameters, including an elevation range and a time range and in some cases a flight plan through the corridor and satellite constellation(s) to depict. The disclosed method also includes accessing a 3D map of the urban area, including structure solids that block lines of sight between cuboids in the elevation range along the corridor and satellites overhead, wherein the corridor and elevation range occupy space between the structure solids of the 3D map, and computing a requested visualization over time, including ray casting or tracing between the cuboids and satellites over time to calculate line of sight visibility or dilution of precision at the point location over the time range. The method further includes initializing a 3D map visualization overlaying a translucent cloud of values of points, of equal value surfaces on an orthogonal projection, wherein the values encode the line of sight visibility or dilution of precision for the cuboids in the translucent cloud. In some implementations, the method also includes overlaying flight plan segments on the orthogonal projection and visually encoding the segments to indicate the line of sight visibility or dilution of precision along the flight plan segments. The disclosed method also includes combining the 3D map visualization with a scrubbing slider to control a departure or arrival time depicted, and can include overlaying the scrubbing slider control with an indication of line of sight visibility or dilution of precision over a route through the translucent cloud at times in a range spanned by the scrubbing slider. The method further includes providing for display the 3D map visualization combined with the scrubbing slider control, including the overlaid elevation slices.

[0314]

FIG. 17 illustrates an example customer request with a four-point polygon 1756, 1766 and min/max heights. The pinned planes show the area covered by a map tile split into cuboids. A customer can pass through the area and request and receive back the set of GNSS Forecast cuboids for that area.

[0315]

In an additional use case, an API view enables users to visualize GNSS Forecast data requested and received using the APIs. The developer can move the reticule around and view a dynamically updated display of the results of example API calls. Developers can also adjust API time window values via controls on the timeline, and can view a live response from the APIs to help debug calls to the APIs.

Simulation-Based Implementation

[0316]

An implementation of a GNSS positioning assurance application has been developed for predicting and visualizing the influence of satellite geometry on the GNSS position error across a series of points in a given geospatial region. “Appendix A: Simulation-Based Trial Implementation” which is included in full herein for reference, provides a full description of the Simulation Implementation, with user interface, architectural overview, simulation orchestrator threading and simulation orchestrator. Appendix A also includes the UI and User Manual for Simulation-Based Implementation. The development of this simulation application was driven by the requirements for assured mission-planning for the autonomous vehicle industry. The disclosed application includes parallel execution of simulations allowing the simultaneous testing of multiple points, the ability for area and route assessments to be provided, and a high level of scalability, resulting in a more comprehensive test than existing mission-planning solutions. The completed application leverages up-to-date APIs and ray-casting to approximate signal obscuration caused by nearby structures and can also be used to highlight potential problem areas in mission routes. The application has been developed as a solution that can provide assurance to manufacturers, that the viability of areas and routes can be predicted before a journey is made. The application focuses on GPS signals and can inform users of the coverage quality of a given test scenario ahead of time. The applicant's proprietary software, SimGEN, usable to simulate the predicted orbits of GPS satellites, is used for receiver testing. The disclosed application harnesses multiple simulations to perform area tests for highlighting potential problem areas for CAV missions and routes.

[0317]

The preceding description is presented to enable the making and use of the technology disclosed. Various modifications to the disclosed implementations will be apparent, and the general principles defined herein may be applied to other implementations and applications without departing from the spirit and scope of the technology disclosed. Thus, the technology disclosed is not intended to be limited to the implementations shown but is to be accorded the widest scope consistent with the principles and features disclosed herein. The scope of the technology disclosed is defined by the appended claims.

Some Particular Implementations

[0318]

We describe some particular implementations and features usable for providing dilution of precision (DOP) forecasts and/or degree of confidence forecasts for GNSS navigation next.

[0319]

We describe some particular implementations related to the use of GNSS forecasts.

Clause Set 1

[0320]

One implementation of a disclosed method of reducing starting time for a Global Navigation Satellite System (GNSS) receiver that has an imprecise initial starting location includes requesting starting assistance, by the GNSS receiver, from a Content Delivery Network (CDN) that caches predictive data including first data indicated predicted LOS visibility from the receiver to individual satellites, wherein the request includes the imprecise initial staring location. The method further includes receiving, from the CDN, data that includes a first block of the predictive data for the imprecise initial staring location and further adjoining second blocks of predictive data for areas surrounding the imprecise staring location. The method also further includes a first iteration, where the iteration determines, by the GNSS receiver, commonly available satellites that have visibility from locations in both the first block and the second block, and calculates a first starting position using weighted values for the satellites, the commonly available satellites having higher weighted value than satellites without visibility in both locations, whereby position uncertainty of the first starting position is reduced from the imprecise initial starting location.

[0321]

This method and other implementations of the technology disclosed can include one or more of the following features and/or features described in connection with additional methods disclosed. In the interest of conciseness, the combinations of features disclosed in this application are not individually enumerated and are not repeated with each base set of features. The reader will understand how features identified in this section can readily be combined with sets of base features identified as implementations.

[0322]

For some implementations, the method further includes a second iteration, where the second iteration determines, by the GNSS receiver, additional commonly available satellites that have visibility from both locations in the first block and locations in the second block and calculates a second starting position using updated weighted values for the satellites, the commonly available satellites and additional commonly available satellites having higher weighted value than satellites without visibility in both locations, whereby position uncertainty of the second starting position is reduced from the first starting position. Some of those iterations may include additional iterations including third, fourth, and more.

[0323]

For some implementations, the method further includes the imprecise staring location and the areas surrounding the starting location having no common satellites, waiting for a next position fix, and repeating the steps of receiving, determining, and choosing.

[0324]

For some implementations, the method further includes determining satellites that are not commonly available in the first block and the further adjoining blocks, and ignoring satellites that are not commonly available.

[0325]

For some implementations, the method further includes the adjoining blocks are based on an initial uncertainty of the initial position. In some implementations, the initial uncertainty of the initial position is an error ellipse.

[0326]

For some implementations, the determining occurs by collating the adjoining blocks.

[0327]

For some implementations, the predictive data includes second data indicating predicted NLOS visibility from the receiver to the individual satellites.

[0328]

One method of providing a fast and accurate convergence during startup includes beginning at an initial location with an initial location estimate, whereby the initial location estimate is inaccurate. The method also includes requesting GNSS forecast data about cuboids in a geographic volume including the initial location estimate. The method also includes receiving the GNSS forecast data for the geographic volume and extracting predicted satellite visibility from the GNSS forecast data for candidate locations proximate to the initial location estimate. The method also includes ascertaining, for each candidate location, a predicted signal to noise ratio (“predicted SNR”) based on the predicted satellite visibility. The method also includes receiving GNSS satellite signals and, based on the received GNSS satellite signals, ascertaining a detected signal to noise ratio (“detected SNR”). The method also includes comparing the predicted SNRs with the detected SNR. The method also includes determining, based on the comparing, a probability that the receiver is at the respective candidate location.

[0329]

This method and other implementations of the technology disclosed can include one or more of the following features and/or features described in connection with additional methods disclosed. In the interest of conciseness, the combinations of features disclosed in this application are not individually enumerated and are not repeated with each base set of features. The reader will understand how features identified in this section can readily be combined with sets of base features identified as implementations.

[0330]

In some implementations, the comparing step includes a Kalman filter. The method further includes generating a Kalman filter by substeps in including creating an input vector based on the detected SNR, creating a state matrix based on predicted SNR of each satellite and predicted relation between each pair of satellites wherein the predicted inaccuracy and predicted relation between pairs are derived from the GNSS forecast data, creating a prediction state matrix based on the input vector and the state matrix, obtaining a first sample of satellite data and first measurement error, and updating the state matrix using the predicted state matrix and the first sample of satellite data.

[0331]

In some implementations, the geographic volume does not exceed the height of a tile.

Clause Set 2

[0332]

One implementation of a disclosed method of detecting and rejecting a spoofing signal source includes receiving at a first device a forecast of a visibility for each Global Navigation Satellite System (GNSS) satellite signal source in the forecast. The method also includes calculating, at a GNSS receiver coupled to the first device, from at least an elevation and the received visibility of the satellite signal sources in the forecast a predicted Signal to Noise Ratio (“SNR”). The method also includes comparing SNR acquired by the GNSS receiver of one or more of the purported satellite signal sources to the predicted SNR. The method also includes detecting a spoofing signal source based on acquiring a higher SNR than predicted. The method also includes rejecting the spoofing signal source based on differences between the acquired and predicted SNR.

[0333]

This method and other implementations of the technology disclosed can include one or more of the following features and/or features described in connection with additional methods disclosed. In the interest of conciseness, the combinations of features disclosed in this application are not individually enumerated and are not repeated with each base set of features. The reader will understand how features identified in this section can readily be combined with sets of base features identified as implementations.

[0334]

In some implementations, the method further including receiving, in the forecast, the elevation data for the satellite signal sources in the forecast. In some implementations, the method further includes receiving, in the forecast, azimuth data for the satellite signal sources in the forecast and using the azimuth data in the calculating.

[0335]

In some implementations, the prediction of the SNR/RSS occurs at the first device.

[0336]

In some implementations, the prediction further includes reporting the detected spoofing, whereby other devices coupled to other receivers are informed of the detected spoofing. In some of those implementations, the report is sent to a central authority.

[0337]

In some implementations, the predicted SNR/RSS is based on predicted LOS data and predicted NLOS data.

[0338]

In some implementations, the method includes repeating, at a later time, the actions of receiving, calculating, and comparing. Additionally, the detecting action is based on an earlier result of the comparing action, and a later result of the repeated comparing action.

[0339]

One implementation of a disclosed method of detecting and rejecting a spoofing signal source includes receiving at a first device a forecast of a visibility for each Global Navigation Satellite System (GNSS) satellite signal source in the forecast. The method also includes calculating, at a GNSS receiver coupled to the first device, from at least an elevation and the received visibility of the satellite signal sources in the forecast a predicted Signal to Noise Ratio (“SNR”). The method also includes comparing SNR acquired by the GNSS receiver of one or more of the purported satellite signal sources to the predicted SNR. The method also includes detecting a spoofing signal source based on acquiring a higher SNR than predicted. The method also includes rejecting the spoofing signal source based on differences between the acquired and predicted SNR.

[0340]

One implementation of a disclosed a method of detecting and rejecting a jamming signal source includes receiving at a first device a forecast of a visibility for each Global Navigation Satellite System (GNSS) satellite signal source in the forecast. The method also includes calculating, at a GNSS receiver coupled to the first device, from at least an elevation and the received visibility of the satellite signal sources in the forecast a predicted Signal to Noise Ratio (“SNR”). The method also includes comparing SNR acquired by the GNSS receiver of one or more of the purported satellite signal sources to the predicted SNR. The method also includes detecting a jamming signal source based on acquiring a lower SNR/RSS than predicted. The method also includes rejecting the jamming signal source based on differences between the acquired and predicted SNR/RSS.

[0341]

This method and other implementations of the technology disclosed can include one or more of the following features and/or features described in connection with additional methods disclosed. In the interest of conciseness, the combinations of features disclosed in this application are not individually enumerated and are not repeated with each base set of features. The reader will understand how features identified in this section can readily be combined with sets of base features identified as implementations.

[0342]

In some implementations, the method further including receiving, in the forecast, the elevation data for the satellite signal sources in the forecast. In some implementations, the method further includes receiving, in the forecast, azimuth data for the satellite signal sources in the forecast and using the azimuth data in the calculating.

[0343]

In some implementations, the prediction of the SNR/RSS occurs at the first device.

[0344]

In some implementations, the method includes reporting the detected jamming, whereby other devices coupled to other receivers are informed of the detected jamming. In some implementations, the report is sent to a central authority.

[0345]

In some implementations, the predicted SNR/RSS is based on predicted LOS data and predicted NLOS data.

[0346]

In some implementations, the method includes repeating, at a later time, the actions of receiving, calculating, and comparing. Additionally, the detecting action is based on an earlier result of the comparing action, and a later result of the repeated comparing action.

Clause Set 3

[0347]

One implementation of a method of representing distant objects for analysis of satellite line-of-sight visibility from a grid of points includes constructing a first 3D model of foreground objects that obscure line-of-sight visibility of satellites from a grid of points, wherein the first 3D model is at a first resolution, where spacing of grid points denotes obstruction edges. The method also includes constructing a second 3D model of background objects that are more than a threshold distance away and that object obscure line-of-sight visibility of satellites from the grid of points, wherein the second 3D model is at a second resolution that is different from and coarser than the first resolution. The method also includes calculating a line-of-sight visibility of the satellites from the grid of points using a combination of the first and second 3D models. The method also includes responding to a query for an area by providing the calculated line-of-sight visibility of the satellites for points of the grid within the area.

[0348]

This method and other implementations of the technology disclosed can include one or more of the following features and/or features described in connection with additional methods disclosed. In the interest of conciseness, the combinations of features disclosed in this application are not individually enumerated and are not repeated with each base set of features. The reader will understand how features identified in this section can readily be combined with sets of base features identified as implementations.

[0349]

In some implementations, at least some obstruction edges model building edges.

[0350]

In some implementations, at least some obstruction edges model terrain features.

[0351]

In some implementations, at least some obstruction edges model vegetation features.

[0352]

In some implementations, the first resolution is in a range of 2 centimeters (cm) to 5 meters (m). In some implementations, the first resolution is in a range of 5 cm to 1 m.

[0353]

In some implementations, the threshold distance is in a range of 400 m to 5 kilometers (km).

[0354]

In some implementations, the second resolution is in the range of 10 m through 50 m.

Clause Set 4

[0355]

One implementation of a method of efficiently determining visible GNSS satellite positions in a satellite orbit includes possessing an orbital segment representing the transit of a satellite in orbit over time. The method further includes possessing a coarse ray angle interval. The method further includes possessing a fine ray angle interval. The method further includes possessing a Digital Surface Model (DSM). The method further includes performing a first pass, for each coarse ray angle interval in the orbital segment, by: propagating a coarse ray between a Valid Observable Point (VOP) and points on the orbital segment at a respective coarse ray angle to determine whether the coarse ray is obstructed by features of the DSM, and recording a status of the coarse ray with LOS visibility or NLOS visibility based on whether the coarse ray was obstructed. The method further includes, for each pair of successive coarse rays in the first pass, if the successive coarse rays have different status, then designating the coarse ray with NLOS visibility for further analysis. The method further includes performing a second pass, for each designated coarse rays, by: propagating, between the designated pair, fine rays between the VOP and points on the orbital segment at fine ray angle intervals, and saving results from the second pass, including an indication of a time at which the LOS to the satellite becomes obstructed.

[0356]

This method and other implementations of the technology disclosed can include one or more of the following features and/or features described in connection with additional methods disclosed. In the interest of conciseness, the combinations of features disclosed in this application are not individually enumerated and are not repeated with each base set of features. The reader will understand how features identified in this section can readily be combined with sets of base features identified as implementations.

[0357]

For some implementations, the orbital segment was determined based on factors of curvature of the Earth, terrain, satellite elevation/azimuth.

[0358]

For some implementations, the coarse ray angle interval permits detection of a 3.3 m high obstruction located 1 km distant from the VOP. For some implementations, the coarse ray angle interval permits detection of a 3 m high obstruction located 1 km distance from the VOP.

[0359]

For some implementations, the fine ray angle interval is based on the change in satellite position per temporal second.

[0360]

For some implementations, the status of a coarse ray is saved if it has LOS and the successive ray transitions to NLOS.

[0361]

For some implementations, the status of a coarse ray is saved if it has NLOS and the successive ray transitions to LOS.

[0362]

For some implementations, for each of the designated coarse rays, the fine rays are incrementally traced or cast, starting from the coarse ray of successive coarse rays that is NLOS, at increments of the fine ray angular interval until either a LOS fine ray is determined or until the sum of fine ray angles exceeds the coarse ray angular increment.

[0363]

For some implementations, as part of the second pass, fine rays are propagated on both sides of the coarse ray with NLOS.

[0364]

A non-transitory computer readable storage medium impressed with program instructions which, when loaded on a GNSS receiver, configure the GNSS receiver to perform the methods described herein.

[0365]

This system implementation and other systems disclosed optionally include one or more of the following features. System can also include features described in connection with methods disclosed. In the interest of conciseness, alternative combinations of system features are not individually enumerated. Features applicable to systems, methods, and articles of manufacture are not repeated for each statutory class set of base features. The reader will understand how features identified in this section can readily be combined with base features in other statutory classes.

[0366]

The technology disclosed can be practiced as a system, method, or article of manufacture. One or more features of an implementation can be combined with the base implementation. Implementations that are not mutually exclusive are taught to be combinable. One or more features of an implementation can be combined with other implementations. This disclosure periodically reminds the user of these options.

[0367]

While the technology disclosed is disclosed by reference to the preferred embodiments and examples detailed above, it is to be understood that these examples are intended in an illustrative rather than in a limiting sense. It is contemplated that modifications and combinations will readily occur to those skilled in the art, which modifications and combinations will be within the spirit of the innovation and the scope of the following claims.

[0368]

We claim as follows:

Как компенсировать расходы
на инновационную разработку
Похожие патенты