заявка
№ US 20230003495
МПК F42B12/40

PAINTBALL LAND MINE AND METHODS OF MAKING AND USING SAME

Авторы:
Paul R. Coates
Номер заявки
17367377
Дата подачи заявки
04.07.2021
Опубликовано
05.01.2023
Страна
US
Как управлять
интеллектуальной собственностью
Чертежи 
6
Реферат

[0000]

The present invention is related to paintball land mines, which can fire multiple paintballs simultaneously. Also, the paintball land mine utilizes a firearm blank or nail gun cartridge for its propellant. Furthermore, the paintball land mine includes reed valves associated with the ejection of the paintballs so that after the initial blast of the propellant to eject each paintball, the reed valve associated with the ejected paintball is closed, thereby preventing the rapid escape of unused propellant. Finally, the paintball land mine can be either detonated by a trip wire or detonated electronically through the use a remote-control device.

[00000]

Формула изобретения

1. A paintball land mine, wherein the paintball land mine comprises:

a paintball land mine assembly further comprising,

a barrel assembly,

a plurality of barrel restrictors located along a first side of the barrel assembly, p2 a plurality of openings such that each of the plurality of openings is located adjacent to one end of the plurality of barrel restrictors,

a plurality of reed valve assemblies, such that each reed valve assembly is located adjacent to another end of the barrel restrictors,

a plurality of paintballs such that each of the plurality of paintballs is located adjacent to each of the plurality of reed valve assemblies,

a combustion chamber located adjacent to the plurality of reed valve assemblies, wherein the combustion chamber is in fluid communication with the plurality of reed valve assemblies; and

a manual trigger assembly operatively connected to the paintball land mine assembly, wherein the manual trigger assembly further includes a pre-assembled, blank firearm ammunition cartridge.

2. The paintball land mine, according to claim 1, wherein each of the plurality of reed valve assemblies further comprises:

an annular wall operatively connected to the barrel assembly;

a flexible reed valve operatively connected to the annular wall; and

a reed valve standoff operatively connected to the flexible reed valve.

3. The paintball land mine, according to claim 1, wherein the paintball land mine is further comprised of:

an expansion chamber located adjacent to the plurality of reed valve assemblies and in fluid communication with the plurality of reed valve assemblies and wherein the expansion chamber is located adjacent to the combustion chamber;

a combustion chamber exhaust port located on the combustion chamber; and

a diverter section located adjacent to the combustion chamber.

4. The paintball land mine, according to claim 3, wherein the paintball land mine is further comprised of:

a heat shield operatively connected to the barrel assembly such that the heat shield is located adjacent to the combustion chamber exhaust port.

5. The paintball land mine, according to claim 1, wherein the manual trigger assembly is further comprised of:

a hammer hinge bolt;

a torsion spring located on the hammer hinge bolt;

a hammer located adjacent to the torsion spring and operatively attached to the hammer hinge bolt;

a trip pin located adjacent to the hammer, wherein the trip pin retains the hammer in a first position;

a breach block located adjacent to the hammer hinge bolt; and

a breach located adjacent to the breach block, wherein the pre-assembled, blank firearm ammunition cartridge is retained within the breach.

6. The paintball land mine, according to claim 1, wherein the paintball land mine is further comprised of:

an electronic trigger assembly operatively connected to the manual trigger assembly.

7. The paintball land mine, according to claim 5, wherein the electronic trigger assembly is further comprised of:

a battery;

a receiver, wherein the receiver is electrically connected to the battery;

a solenoid, wherein the solenoid is electrically connected to the battery and wherein the solenoid is in electrical communication with the receiver; and

an extension located on the solenoid and located adjacent to the trip pin.

8. A paintball land mine, wherein the paintball land mine comprises:

a paintball land mine assembly further comprising,

a barrel assembly,

a plurality of barrel restrictors located along a first side of the barrel assembly,

a plurality of openings such that each of the plurality of openings is located adjacent to one end of the plurality of barrel restrictors,

a plurality of reed valve assemblies, such that each reed valve assembly is located adjacent to another end of the barrel restrictors,

a plurality of paintballs such that each of the plurality of paintballs is located adjacent to each of the plurality of reed valve assemblies,

a combustion chamber located adjacent to the plurality of reed valve assemblies, wherein the combustion chamber is in fluid communication with the plurality of reed valve assemblies;

a manual trigger assembly operatively connected to the paintball land mine assembly, wherein the manual trigger assembly further includes a pre-assembled, blank firearm ammunition cartridge; and

an electronic trigger assembly operatively connected to the manual trigger assembly.

9. The paintball land mine, according to claim 8, wherein each of the plurality of reed valve assemblies further comprises:

an annular wall operatively connected to the barrel assembly;

a flexible reed valve operatively connected to the annular wall; and

a reed valve standoff operatively connected to the flexible reed valve.

10. The paintball land mine, according to claim 8, wherein the paintball land mine is further comprised of:

an expansion chamber located adjacent to the plurality of reed valve assemblies and in fluid communication with the plurality of reed valve assemblies, and wherein the expansion chamber is located adjacent to the combustion chamber;

a combustion chamber exhaust port located on the combustion chamber; and

a diverter section located adjacent to the combustion chamber.

11. The paintball land mine, according to claim 10, wherein the paintball land mine is further comprised of:

a heat shield operatively connected to the barrel assembly such that the heat shield is located adjacent to the combustion chamber exhaust port.

12. The paintball land mine, according to claim 8, wherein the manual trigger assembly is further comprised of:

a hammer hinge bolt;

a torsion spring located on the hammer hinge bolt;

a hammer located adjacent to the torsion spring and operatively attached to the hammer hinge bolt;

a trip pin located adjacent to the hammer, wherein the trip pin retains the hammer in a first position;

a breach block located adjacent to the hammer hinge bolt; and

a breach located adjacent to the breach block, wherein the pre-assembled, blank firearm ammunition cartridge is retained within the breach.

13. The paintball land mine, according to claim 12, wherein the electronic trigger assembly is further comprised of:

a battery;

a receiver, wherein the receiver is electrically connected to the battery;

a solenoid, wherein the solenoid is electrically connected to the battery, and wherein the solenoid is in electrical communication with the receiver; and

an extension located on the solenoid and located adjacent to the trip pin.

14. A method of constructing a paintball land mine, wherein the method comprises:

providing a paintball land mine assembly further comprising,

providing a barrel assembly,

providing a plurality of barrel restrictors along a first side of the barrel assembly,

providing a plurality of openings such that each of the plurality of openings is located adjacent to one end of the plurality of barrel restrictors,

attaching a plurality of reed valve assemblies to the barrel assembly, such that each reed valve assembly is located adjacent to another end of the barrel restrictors,

inserting a plurality of paintballs such that each of the plurality of paintballs is located adjacent to each of the plurality of reed valve assemblies,

attaching a combustion chamber adjacent to the plurality of reed valve assemblies, wherein the combustion chamber is in fluid communication with the plurality of reed valve assemblies; and

attaching a manual trigger assembly to the paintball land mine assembly, wherein the manual trigger assembly further includes a pre-assembled, blank firearm ammunition cartridge.

15. The method, according to claim 14, wherein each of the plurality of reed valve assemblies further comprises:

providing an annular wall on the barrel assembly;

attaching a flexible reed valve to the annular wall; and

locating a reed valve standoff adjacent to the flexible reed valve.

16. The method, according to claim 14, wherein the paintball land mine is further comprised of:

attaching an expansion chamber adjacent to the plurality of reed valve assemblies such that the expansion chamber is in fluid communication with the plurality of reed valve assemblies, and wherein the expansion chamber is located adjacent to the combustion chamber;

providing a combustion chamber exhaust port on the combustion chamber; and

providing a diverter section that is located adjacent to the combustion chamber.

17. The method, according to claim 16, wherein the paintball land mine is further comprised of:

attaching a heat shield to the barrel assembly such that the heat shield is located adjacent to the combustion chamber exhaust port.

18. The method, according to claim 14, wherein the manual trigger assembly is further comprised of:

providing a hammer hinge bolt;

placing a torsion spring on the hammer hinge bolt;

attaching a first end of a hammer on the hammer hinge bolt;

locating a trip pin adjacent to the hammer, wherein the trip pin retains the hammer in a first position;

providing a breach block such that the breach block is located adjacent to the hammer hinge bolt; and

providing a breach such that the breach is located adjacent to the breach block, and wherein the pre-assembled, blank firearm ammunition cartridge is retained within the breach.

19. The method, according to claim 14, wherein the paintball land mine is further comprised of:

attaching an electronic trigger assembly to the paintball land mine assembly, wherein the electronic trigger assembly such that the electronic trigger assembly is located adjacent to the manual trigger assembly.

20. The method, according to claim 19, wherein the electronic trigger assembly is further comprised of:

providing a battery;

electrically connecting a receiver to the battery;

electrically connecting a solenoid to the battery and wherein the solenoid is in electrical communication with the receiver; and

providing an extension on the solenoid such that the extension is located adjacent to the trip pin.

Описание

FIELD OF THE INVENTION

[0001]

The present invention is generally related to paint ball firing devices. More specifically, the present invention is related to paintball land mines, which can fire multiple paintballs simultaneously and methods of making and using same.

BACKGROUND OF THE INVENTION

[0002]

Prior to the present invention, as set forth in general terms above and more specifically below, it is known, that in the game of paintball, each player has a gun that fires small balls of paint at opposing players. When a player is struck, the paintball ruptures, thereby marking the player that was struck by the paintball. Depending upon the rules of play, the marked player is either permanently put out of play, or the marked player can retreat to a replenishment area where, after a set amount of time, the marked player can rejoin the game. In the first example of play, the elimination of teams or all but a single player is the intent. However, in the second example, the conquering and holding of objectives is the purpose. Regardless of the manner of play, it is often the wish of a player or a team of players to have a device that can be set on the field of play and fire multiple paintballs with a high percentage for eliminating a player or players, or to guard an objective.

[0003]

Furthermore, prior to the present invention, as set forth in general terms above and more specifically below, it is known, to employ various types of paintball firing devices. See for example, U.S. Pat. No. 5,207,579 by Campagnuolo, U.S. Pat. No. 5,590,886 by Lush, U.S. Pat. No. 5,877,448 by Denton et al., U.S. Pat. No. 5,996,503 by Woodall et al., U.S. Pat. No. 6,289,819 by Dolderer, U.S. Pat. No. 6,453,819 by Coates, U.S. Pat. No. 6,688,234 by Huber et al., and U.S. Pat. No. 8,978,561 by Illston. While these various paintball firing devices may have been generally satisfactory, there is nevertheless a need for a new and improved paintball land mine, which can fire multiple paintballs simultaneously.

[0004]

It is a goal of the present invention to provide a paintball land mine which can fire multiple paintballs simultaneously.

[0005]

It is another goal of the present invention to provide a paintball land mine that utilizes a firearm blank or nail gun cartridge for its propellant.

[0006]

It is still a further goal of the present invention to provide a paintball land mine which includes reed valves associated with the ejection of the paintballs so that after the initial blast of the propellant to eject each paintball, the reed valve associated with the ejected paintball is closed, thereby preventing the rapid escape of unused propellant.

[0007]

It is an even further goal of the present invention to provide a paintball land mine that is either detonated by a trip wire or detonated electronically through the use a remote-control device.

[0008]

The preferred paintball land mine, according to various embodiments of the present invention, offers the following advantages: ease of use; lightness in weight; durability; reusability; the ability to fire multiple paintballs simultaneously; the ability to utilize a firearm blank or nail gun cartridge for its propellant; the use of reed valves associated with the ejection of the paintballs; the ability to substantially prevent the rapid escape of unused propellant; the ability to detonate the land mine using a trip wire; and the ability to detonate the land mine using a remote-control device. In fact, in many of the preferred embodiments, these advantages are optimized to an extent that is considerably higher than heretofore achieved in prior, known paintball firing devices.

[0009]

It is a purpose of this invention to fulfill these and other needs in the paintball firing devices art in a manner more apparent to the skilled artisan once given the following disclosure.

BRIEF DESCRIPTION OF THE DRAWINGS

[0010]

The above-mentioned features and steps of the invention and the manner of attaining them will become apparent, and the invention itself will be best understood by reference to the following description of the embodiments of the invention in conjunction with the accompanying drawings, wherein like characters represent like parts throughout the several views and in which:

[0011]

FIG. 1 is a schematic, isometric illustration of a paintball land mine, constructed according the present invention;

[0012]

FIG. 2 is a schematic, top view of the paintball land mine, constructed according the present invention;

[0013]

FIG. 3 is a schematic, top view of the paintball land mine, showing the electronic trigger assembly attached, constructed according the present invention;

[0014]

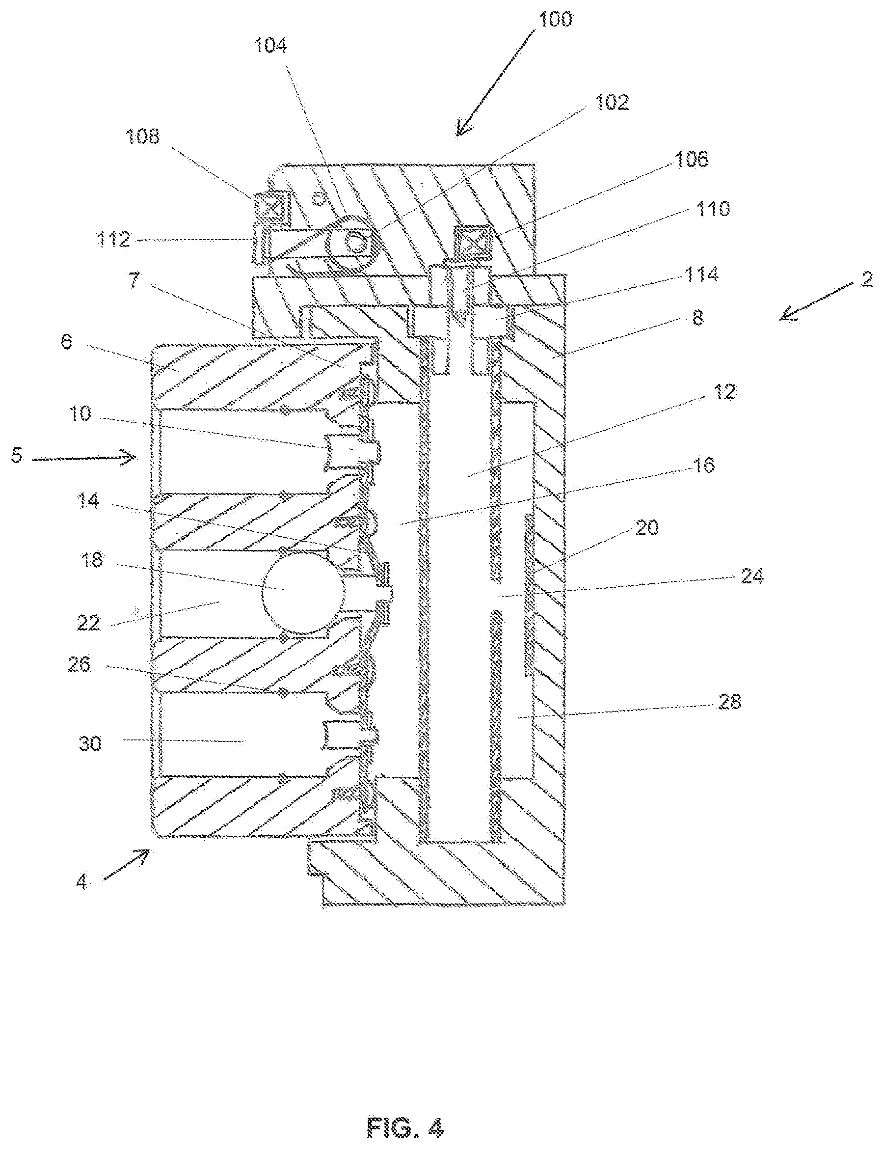
FIG. 4 is a schematic, side view of the paintball land mine, taken along lines 4-4 of FIG. 1, constructed according the present invention;

[0015]

FIG. 5 is a schematic, top view of the paintball land mine, taken along lines 5-5 of FIG. 1, constructed according the present invention;

[0016]

FIG. 6 is a schematic, top view of the paintball land mine, taken along lines 6-6 of FIG. 1 with the manual trigger assembly in a pre-detonation mode, constructed according the present invention; and

[0017]

FIG. 7 is a schematic, top view of the paintball land mine with the manual trigger assembly in a post-detonation mode, constructed according the present invention.

DETAILED DESCRIPTION OF THE PREFERRED EMBODIMENTS OF THE INVENTION

[0018]

It is a common misconception that gun powder is an explosive. In fact, it is a propellant. Therefore, certain conditions must be met for it to burn, namely heat and pressure. In a conventional fire arm, this is achieved by the projectile being crimped into the cartridge during manufacturing, and the tight fit between the projectile and the barrel.

[0019]

Once the primer on the firearm cartridge is struck, the short, hot burst of gases that are produced are trapped along with the propellant, thereby causing some of the nitrocellous (commonly known as gun powder) to ignite. Furthermore, still trapped inside the cartridge, the small amount of burning propellant ignites more propellant and a rapid expansion of pressure and heat begins until the limit of adhesion between the projectile and the cartridge are overcome, and the projectile is forced out of the cartridge and into the barrel. Frictional forces between the projectile and barrel require the highest pressures resulting in a complete propellant burn, thousands of pounds of pressure, and heat. It is to be understood that in the case of a blank cartridge, the projectile is replaced with a metallic, paper, or plastic case that encloses the gun powder and the primer.

[0020]

In order to address the shortcomings of the prior, known paintball firing devices, it would be desirable to utilize a novel, paintball land mine, which can fire multiple paint balls simultaneously. It would be further desirable to provide a paintball land mine that utilizes a firearm blank or nail gun cartridge for its propellant. It would be even further desired to provide a paintball land mine which includes reed valves associated with the ejection of the paintballs so that after the initial blast of the propellant to eject each paintball, the reed valve associated with the ejected paintball is closed, thereby preventing the rapid escape of unused propellant. Finally, it would be still further desired to provide a paintball land mine that is either detonated by a trip wire or detonated electronically through the use a remote-control device.

[0021]

Reference is made now to FIGS. 1 and 2, where there is illustrated a paintball land mine 2, wherein the paintball land mine 2 includes, in part, paintball land mine assembly 4 and manual trigger assembly 100. As shown in FIGS. 1 and 2, paintball land mine assembly 4 includes, in part, openings 5 located on the front of paintball land mine assembly 4.

[0022]

With respect to FIG. 3, FIG. 3 illustrates electronic trigger assembly 200 being attached to the top of paintball land mine 2 such that electronic trigger assembly 200 is located adjacent to manual trigger assembly 100. Preferably, electronic trigger assembly 200 is constructed of electronic trigger 202, conventional battery 204, conventional receiver 206, and conventional solenoid 208 having a movable extension 210 such that movable extension 210 is capable of interacting with trip pin 108 on manual trigger assembly 100 in order to activate paintball land mine 2, as will be discussed in greater detail later. Battery 202 should be constructed such that battery 202 is capable of providing the required power to electronic trigger assembly 200. Also, receiver 206 should be constructed such that receiver 206 is capable of receiving electronic signals from a conventional remote-control device 212. In this manner, remote-control device 212 can be conventionally used to send an electronic signal to receiver 206 in order to cause solenoid 208 and extension 210 to interact with trip pin 108 in order to activate paintball land mine 2. Finally, solenoid 208 should be capable of receiving a signal from receiver 206 that will cause solenoid 208 to move extension 210 such that movable extension 210 is capable of interacting with trip pin 108 in order to activate paintball land mine 2.

[0023]

A unique aspect of the present invention is the use of electronic trigger assembly 200. Electronic trigger assembly 200 allows for the remote-control activation of paintball land mine 2. In particular, remote-control device 212 can be conventionally used to send an electronic signal to receiver 206 in order to cause electronic trigger assembly 200 to interact with trip pin 108 in order to activate paintball land mine 2. In this manner, the paintball land mine 2 can be set on the field of play and fire multiple paintballs 18 (FIG. 4) with a high percentage for eliminating a player or players, or to guard an objective without the user having to be in close proximity to the paintball land mine 2.

[0024]

It is to be understood that while the use of an electronic trigger assembly 200 has been discussed, a conventional trip wire (not shown) can also be attached to the trip pin 108. In this manner, the paintball land mine 2 can still be set on the field of play and fire multiple paintballs 18 with a high percentage for eliminating a player or players, or to guard an objective without the user having to be in close proximity to the paintball land mine 2.

[0025]

Also shown in FIG. 3, is a portion of manual trigger assembly 100. In particular, manual trigger assembly 100 includes, in part, hammer hinge bolt 102, breach block 106, trip pin 108, cartridge 110, hammer 112, and breach 114 which will be discussed in greater detail later.

[0026]

With respect to FIGS. 4 and 5, there is illustrated in greater detail paintball land mine assembly 4 and manual trigger assembly 100. As shown in FIGS. 4 and 5, paintball land mine assembly 4 includes, in part, opening 5, barrel assembly 6, annular wall 7, main body 8, reed valve standoff 10, combustion chamber 12, reed valve 14, main body/barrel assembly expansion chamber 16, paintball 18, heat shield 20, barrel pre-detonation 22, combustion chamber exhaust port 24, barrel restrictor 26, expansion/diverter section 28, and barrel post detonation 30. Preferably, barrel assembly 6, main body 8, reed valve standoff 10, reed valve 14, and heat shield 20 are constructed of any suitable high strength, durable, heat resistant, high pressure resistant, UV resistant material.

[0027]

It is to be understood that reed valve standoff 10 and reed valve 14 operate in substantially the same manner as discussed in U.S. Pat. No. 6,453,819 to Coates and titled “Paint Ball Grenade”. In particular, a plurality of barrel restrictors 26 are radially located to an outer surface of paintball land mine assembly 4 in alignment with openings 5. A flexible reed valve 14 of rubber, plastic, metal or other suitable material has one end mounted to the inner surface of annular wall 7 in a covering relation to each opening 5. Reed valve 14 can be constructed to be normally pre-biased to a position to close the respective opening 5, although this is not required by the present invention. As shown in FIG. 4, each reed valve 14 can be moved in a radially inward direction by inserting paintball 18 into barrel restrictor 26 so as to provide fluid communication between the respective opening 5 and main body/barrel assembly expansion chamber 16. Although reed valves 14 are shown attached at only one end, reed valves 14 can be attached at opposite ends on opposite sides of openings 5 so that only the middle portion of each reed valve 14 moves in a radially inward direction. A reed valve standoff 10 is secured to the radially directed outer surface of each reed valve 14 and extends through the respective opening 5 and partially within the barrel restrictor 26.

[0028]

Another unique aspect of the present invention is the use of reed valve standoff 10 and reed valve 14. In particular, initially, the propellant exits very fast through openings 5 to push out and fire paint balls 18 from barrel restrictor 26. However, after the first paint ball 18 is fired, the resistance provided by that paint ball 18 against reed valve standoff 10 and reed valve 14 no longer exists so that the propellant would quickly exit out of the barrel restrictor 26 from which the first paint ball 18 was fired, since this is the path of least resistance. However, after each paint ball 18 is fired, the respective reed valve standoffs 10 are no longer restrained, so that the propellant then forces the respective reed valves 14 to the closed position of FIG. 4, thus sealing the respective openings 5. In this manner, the remaining propellant is still used to fire the other paint balls 18.

[0029]

With respect to manual trigger assembly 100, as shown in FIG. 4, manual trigger assembly 100 includes in part, hammer hinge bolt 102, torsion spring 104, breach block 106, trip pin 108, nail gun/blank firearm cartridge 110, hammer 112, and breach 114. Preferably, hammer hinge bolt 102, torsion spring 104, breach block 106, trip pin 108, hammer 112, and breach 114 are constructed of any suitable high strength, durable, heat resistant, high pressure resistant, UV resistant material. It is to be understood that nail gun/blank firearm cartridge 110 is any conventional nail gun or blank firearm cartridge or a round is a type of pre-assembled, blank firearm ammunition packaging a propellant substance (usually either smokeless powder or gun powder) and an ignition device (primer) within a metallic, paper, or plastic case. It is to be further understood that nail gun/blank firearm cartridge 110 should be made to fit within the breach 114. It is to be understood that hammer 112 is conventionally attached to hammer hinge bolt 102 by conventional fastening techniques such as welding, soldering, adhesives or the like.

[0030]

With respect to FIG. 6, there is illustrated manual trigger assembly 100, prior to activation (pre-detonation) of manual trigger assembly 100. As discussed above, manual trigger assembly includes, in part, hammer hinge bolt 102, torsion spring 104, breach block 106, trip pin 108, cartridge 110, hammer 112, and breach 114. As shown in FIG. 6, hammer 112 is rotated into a locked position adjacent to the trip pin 108 such that trip pin 108 retains hammer 112 in place by locating trip pin 108 within groove 109. It is to be understood that the rotation of hammer 112 creates torsion on torsion spring 104. In this manner, once the trip pin 108 is removed away from groove 109 and hammer 112, the force on torsion spring 104 will cause hammer 112 to rotate quicky towards cartridge 110.

[0031]

With respect to FIG. 7, there is illustrated manual trigger assembly 100, after activation (post-detonation) of manual trigger assembly 100. As shown in FIG. 7, trip pin 108 has been removed from groove 109 so that trip pin 108 no longer retains hammer 112 in place. As discussed above, since the rotation of hammer 112 creates torsion on torsion spring 104, once the trip pin 108 has been removed from groove 109, the torsional force from torsion spring 108 will cause hammer 112 to rotate quickly on hammer hinge bolt 102 towards cartridge 110 so that hammer 112 contacts cartridge 110 to cause the conventional firing of cartridge 110. Once the cartridge 110 has been fired (or activated), the propellant created from the firing of the gun powder in cartridge 110 will enter into combustion chamber 12, as will be described in greater detail later.

[0032]

Method of Using the Paintball Land Mine

[0033]

With respect to the method of using paintball land mine 2 and with reference to FIGS. 1-7, as discussed above, it is a common misconception that gun powder is an explosive. In fact, it is a propellant. Therefore, certain conditions must be met for it to burn, namely heat and pressure. In a conventional fire arm, this is achieved by the projectile being crimped into the cartridge during manufacturing, and the tight fit between the projectile and the barrel. It is to be understood that the projectile in the cartridge has been removed. Instead, as discussed above, the cartridge 110 is any conventional nail gun or blank firearm cartridge 110 or a round that is a type of pre-assembled, blank firearm ammunition packaging a propellant substance (usually either smokeless powder or gun powder) and an ignition device (primer) within a metallic, paper, or plastic case.

[0034]

During the operation of paintball land mine 2, assume that remote-control device 212 can be conventionally used to send an electronic signal to receiver 206 in order to cause electronic trigger assembly 200 to interact with trip pin 108 in order to activate paintballs landmine 2. It is to be understood that a conventional trip wire (not shown) or other similar detonation device can also be used to activate or otherwise detonate paintball land mine 2.

[0035]

As discussed earlier, the user places the paintball land mine 2 on the field of play so that the paintball land mine 2 will be able to fire multiple paintballs 18 with a high percentage for eliminating a player or players, or to guard an objective.

[0036]

Once the paintball land mine 2 has been placed at it desired location, the user then conventionally connects the electronic trigger assembly 200 to the manual trigger assembly 100. In particular, the receiver 206 should be constructed such that receiver 206 is capable of receiving electronic signals from a conventional remote- control device 212. In this manner, remote-control device 212 can be conventionally used to send an electronic signal to receiver 206 in order to cause electronic trigger assembly 200 to interact with trip pin 108 in order to activate landmine assembly 2. More particularly, solenoid 208 should be capable of receiving a signal from receiver 206 that will cause solenoid 208 to move extension 210 such that movable extension 210 is capable of interacting with trip pin 108 in order to activate paintball land mine 2 by causing trip pin 108 to become dislodged from groove 109 in order to allow hammer 112 to rotate and contact cartridge 110.

[0037]

After hammer 112 becomes dislodged from being retained by trip pin 108, as discussed above, the force on torsion spring 104 will cause hammer 112 to rotate quicky towards cartridge 110.

[0038]

The force of the torsion spring 104 will then cause the hammer 112 to contact cartridge 110. As discussed earlier, the interaction of the hammer 112 on cartridge 110 will cause the ignition of the gun powder in cartridge 110. Once the cartridge 110 has been fired (or activated), the propellant created from the firing of the gun powder in cartridge 110 will enter in breach 114.

[0039]

Once the primer is struck, the short, hot pulse of gases that are produced are trapped along with the propellant, thereby causing some of the gun powder to ignite. Furthermore, still trapped inside the cartridge, the small amount of burning propellant ignites more propellant and a rapid expansion of pressure and heat begins until the limit of adhesion of the cartridge case are overcome, and the propellant is forced out of the cartridge 110 and into the combustion chamber 12.

[0040]

The propellant consisting of a short pulse of hot, high speed gases then proceeds down along combustion chamber 12. It is to be understood that the rearward facing combustion chamber exhaust port 24 directs the hot, high speed gases against the heat shield 20, thereby causing the hot, high speed gases to spread out, slow down, and cool down. Furthermore, while the combustion chamber 12 serves as a divider to split the hot, high speed gases, further progression of the hot, high speed gases causes the hot, high speed gases to enter into the main body/barrel assembly expansion chamber 16. Once in the in the main body/barrel assembly expansion chamber 16, the hot, high speed gases then reconverge around the combustion chamber 12. This collision along with the further expansion of the hot, high speed gases creates a loss of heat which results in an environment that is compatible with the reed valves 14. The hot, high speed gases have now been altered (or massaged) so that the massaged hot, high speed gases now head down the remainder of the main body/barrel assembly expansion chamber 16.

[0041]

Regarding reed valve standoffs 10 and reed valves 14, as discussed earlier, a plurality of barrel restrictors 26 are radially located to an outer surface of paintball land mine assembly 4 in alignment with openings 5. A flexible reed valve 14 of rubber, plastic, metal or other suitable material has one end mounted to the inner surface of annular wall 7 in covering relation to each opening 5. Reed valve 14 can be constructed to be normally pre-biased to a position to close the respective opening 5, although this is not required by the present invention. As shown in FIG. 4, each reed valve 14 can be moved in a radially inward direction by inserting paintball 18 into barrel restrictor 26 so as to provide fluid communication between the respective opening 5 and main body/barrel assembly expansion chamber 16. Although reed valves 14 are shown attached at only one end, reed valves 14 can be attached at opposite ends on opposite sides of openings 5 so that only the middle portion of each reed valve 14 moves in a radially inward direction. A reed valve standoff 10 is secured to the radially directed outer surface of each reed valve 14 and extends through the respective opening 5 and partially within the barrel restrictor 26.

[0042]

Another unique aspect of the present invention is the use of reed valve standoff 10 and reed valve 14. In particular, initially, the propellant exits very fast through openings 5 to push out and fire paint balls 18 from barrel restrictor 26. However, after the first paint ball 18 is fired, the resistance provided by that paint ball 18 against reed valve standoff 10 and reed valve 14 no longer exists so that the propellant would quickly exit out of the barrel restrictor 26 from which the first paint ball 18 was fired, since this is the path of least resistance. However, after each paint ball 18 is fired, the respective reed valve standoffs 10 are no longer restrained, so that the propellant then forces the respective reed valves 14 to the closed position of FIG. 4, thus sealing the respective openings 5. In this manner, the remaining propellant is still used to fire the other paint balls 18.

[0043]

A still another unique aspect of the present invention is the ability to be able to aim or otherwise direct the exhaust from the firing of the cartridge 110. It is to be understood that if the hot, high speed gases were allowed to escape in all directions, the result would be the destruction of the delicate reed valves 14. In particular, in the present invention, a rearward facing combustion chamber exhaust port 24 directs the hot, high speed gases against the heat shield 20, thereby causing the hot, high speed gases to spread out, slow down, and cool down. While the combustion chamber 12 serves as a divider to split the hot, high speed gases, further progression of the hot, high speed gases causes the hot, high speed gases to enter into the main body/barrel assembly expansion chamber 16. Once in the in the main body/barrel assembly expansion chamber 16, the hot, high speed gases then reconverge around the combustion chamber 12. This collision along with the further expansion of the hot, high speed gases creates a loss of heat which results in an environment that is compatible with the reed valves 14. The hot, high speed gases have now been altered (or massaged) so that the massaged hot, high speed gases now head down the remainder of the main body/barrel assembly expansion chamber 16.

[0044]

It is to be understood that once the primer is struck, the short, hot burst of gases that are produced are trapped along with the propellant, thereby causing some of the gun powder to ignite. Furthermore, still trapped inside the cartridge, the small amount of burning propellant ignites more propellant and a rapid expansion of pressure and heat begins until the limit of adhesion of the cartridge case is overcome, and the short burst of hot, high speed gases is forced out of the cartridge and into the breach 114. Forces within the combustion chamber 12 require the highest pressures thereby, resulting in a complete propellant burn, hundreds of pounds of pressure, and heat.

[0045]

Given the above, in terms of the present invention, if one were to remove the combustion chamber 12 (FIGS. 4 and 5) and strike the cartridge 110, detonation of the primer (not shown) within the cartridge would have enough force to open the cartridge 110 and eject propellant into the body/barrel assembly expansion chamber 16. However, the small amount of burning propellant ignited by the primer lacks a confined space to ignite any further propellant, thereby resulting in a very low, incomplete burn of the propellant.

[0046]

Another unique aspect of the present invention is that by using a combustion chamber 12, one will see that there is a now confined space that creates a high heat, high pressure environment for the unignited propellant which results in a more complete burn of the propellant.

[0047]

A still another unique aspect of the present invention is the ability to be able to aim or otherwise direct the exhaust from the firing of the cartridge 110. It is to be understood that if the hot, high speed gases were allowed to escape in all directions, the result would be the destruction of the delicate reed valves 14. In particular, in the present invention, a rearward facing combustion chamber exhaust port 24 directs the hot, high speed gases against the heat shield 20, thereby causing the hot, high speed gases to spread out, slow down, and cool down. While the combustion chamber 12 serves as a divider to split the hot, high speed gases, further progression of the hot, high speed gases causes the hot, high speed gases to enter into the main body/barrel assembly expansion chamber 16. Once in the in the main body/barrel assembly expansion chamber 16, the hot, high speed gases then reconverge around the combustion chamber 12. This collision along with the further expansion of the hot, high speed gases creates a loss of heat which results in an environment that is compatible with the reed valves 14. The hot, high speed gases have now been altered (or massaged) so that the massaged hot, high speed gases now head down the remainder of the main body/barrel assembly expansion chamber 16.

[0048]

The preceding merely illustrates the principles of the invention. It will thus be appreciated that those skilled in the art will be able to devise various arrangements which, although not explicitly described or shown herein, embody the principles of the invention and are included within its spirit and scope. Furthermore, all examples and conditional language recited herein are principally intended expressly to be only for pedagogical purposes and to aid the reader in understanding the principles of the invention and the concepts contributed by the inventors to furthering the art and are to be construed as being without limitation to such specifically recited examples and conditions. Moreover, all statements herein reciting principles, aspects, and embodiments of the invention, as well as specific examples thereof, are intended to encompass both structural and functional equivalents thereof. Additionally, it is intended that such equivalents include both currently known equivalents and equivalents developed in the future, i.e., any elements developed that perform the same function, regardless of structure.

[0049]

This description of the exemplary embodiments is intended to be read in connection with the figures of the accompanying drawing, which are to be considered part of the entire written description. In the description, relative terms such as “lower,” “upper,” “horizontal,” “vertical,” “above,” “below,” “up,” “down,” “top” and “bottom” as well as derivatives thereof (e.g., “horizontally,” “downwardly,” “upwardly,” etc.) should be construed to refer to the orientation as then described or as shown in the drawing under discussion. These relative terms are for convenience of description and do not require that the apparatus be constructed or operated in a particular orientation. Terms concerning attachments, coupling and the like, such as “connected” and “interconnected,” refer to a relationship wherein structures are secured or attached to one another either directly or indirectly through intervening structures, as well as both movable or rigid attachments or relationships, unless expressly described otherwise.

[0050]

All patents, publications, scientific articles, web sites, and other documents and materials referenced or mentioned herein are indicative of the levels of skill of those skilled in the art to which the invention pertains, and each such referenced document and material is hereby incorporated by reference to the same extent as if it had been incorporated by reference in its entirety individually or set forth herein in its entirety.

[0051]

The applicant reserves the right to physically incorporate into this specification any and all materials and information from any such patents, publications, scientific articles, web sites, electronically available information, and other referenced materials or documents to the extent such incorporated materials and information are not inconsistent with the description herein.

[0052]

All of the features disclosed in this specification may be combined in any combination. Thus, unless expressly stated otherwise, each feature disclosed is only an example of a generic series of equivalent or similar features.

[0053]

The specific methods and compositions described herein are representative of preferred embodiments and are exemplary and not intended as limitations on the scope of the invention. Other objects, aspects, and embodiments will occur to those skilled in the art upon consideration of this specification and are encompassed within the spirit of the invention. It will be readily apparent to one skilled in the art that varying substitutions and modifications may be made to the invention disclosed herein without departing from the scope and spirit of the invention. The invention illustratively described herein suitably may be practiced in the absence of any element or elements, or limitation or limitations, which is not specifically disclosed herein as essential. Thus, for example, in each instance herein, in embodiments or examples of the present invention, the terms “comprising”, “including”, “containing”, etc. are to be read expansively and without limitation. The methods and processes illustratively described herein suitably may be practiced in differing orders of steps, and that they are not necessarily restricted to the orders of steps indicated herein.

[0054]

The terms and expressions that have been employed are used as terms of description and not of limitation, and there is no intent in the use of such terms and expressions to exclude any equivalent of the features shown and described or portions thereof, but it is recognized that various modifications are possible within the scope of the invention. Thus, it will be understood that although the present invention has been specifically disclosed by various embodiments and/or preferred embodiments and optional features, any and all modifications and variations of the concepts herein disclosed that may be resorted to by those skilled in the art are considered to be within the scope of this invention.

[0055]

The invention has been described broadly and generically herein. Each of the narrower species and sub-generic groupings falling within the generic disclosure also form part of the invention. This includes the generic description of the invention with a proviso or negative limitation removing any subject matter from the genus, regardless of whether or not the excised material is specifically recited herein.

[0056]

Other modifications and implementations will occur to those skilled in the art without departing from the spirit and the scope of the invention. Accordingly, the description hereinabove is not intended to limit the invention.

[0057]

Therefore, provided herein is a new and improved paintball land mine, which according to various embodiments of the present invention, offers the following advantages: ease of use; lightness in weight; durability; reusability; the ability to fire multiple paintballs simultaneously; the ability to utilize a firearm blank or nail gun cartridge for its propellant; the use of reed valves associated with the ejection of the paintballs; the ability to substantially prevent the rapid escape of unused propellant; the ability to detonate the land mine using a trip wire; and the ability to detonate the land mine using a remote-control device.

[0058]

In fact, in many of the preferred embodiments, these advantages of ease of use, lightness in weight, durability, reusability, the ability to fire multiple paintballs simultaneously, the ability to utilize a firearm blank or nail gun cartridge for its propellant, the use of reed valves associated with the ejection of the paintballs, the ability to substantially prevent the rapid escape of unused propellant, the ability to detonate the land mine using a trip wire, and the ability to detonate the land mine using a remote-control device are optimized to an extent that is considerably higher than heretofore achieved in prior, known paintball firing devices.

Как компенсировать расходы
на инновационную разработку
Похожие патенты