A method for providing real-time three-dimensional facial animation from video is provided. The method includes collecting images of a subject, and forming a three-dimensional mesh for the subject based on a facial expression factor and a head pose of the subject extracted from the images of the subject. The method also includes forming a texture transformation based on an illumination parameter associated with an illumination configuration for the images from the subject, forming a three-dimensional model for the subject based on the three-dimensional mesh and the texture transformation, determining a loss factor based on selected points in a test image from the subject and a rendition of the test image by the three-dimensional model, and updating the three-dimensional model according to the loss factor. A system and a non-transitory, computer-readable medium storing instructions to perform the above method are also provided.
1. A computer-implemented method, comprising:
collecting multiple images of a subject, the images from the subject comprising one or more simultaneous views from different profiles of the subject; forming a three-dimensional mesh for the subject based on a facial expression factor and a head pose of the subject extracted from the images of the subject; forming a texture transformation based on an illumination parameter associated with an illumination configuration for the images from the subject; forming a three-dimensional model for the subject based on the three-dimensional mesh and the texture transformation; determining a loss factor based on selected points in a test image from the subject and a rendition of the test image by the three-dimensional model; and updating the three-dimensional model according to the loss factor. 2. The computer-implemented method of collecting a binocular image from the subject; obtaining a three-dimensional representation of the subject by applying the three-dimensional model to the binocular image from the subject; and embedding the three-dimensional representation of the subject in a virtual reality environment in real-time. 3. The computer-implemented method of 4. The computer-implemented method of 5. The computer-implemented method of 6. The computer-implemented method of 7. The computer-implemented method of 8. The computer-implemented method of 9. The computer-implemented method of 10. The computer-implemented method of 11. A system, comprising:
a memory storing multiple instructions; and one or more processors configured to execute the instructions to cause the system to:
collect multiple images of a subject, the images from the subject comprising one or more simultaneous views from different profiles of the subject; form a three-dimensional mesh for the subject based on a facial expression factor and a head pose of the subject extracted from the images of the subject; form a texture transformation based on an illumination parameter associated with an illumination configuration for the images from the subject; form a three-dimensional model for the subject based on the three-dimensional mesh and the texture transformation; determine a loss factor based on selected points in a test image from the subject and a rendition of the test image by the three-dimensional model; and update the three-dimensional model according to the loss factor. 12. The system of 13. The system of 14. The system of 15. The system of obtain a three-dimensional representation of the subject by applying the three-dimensional model to the binocular image from the subject, and embed the three-dimensional representation of the subject in a virtual reality environment in real-time. 16. The system of 17. The system of 18. A computer-implemented method, comprising:
collecting a binocular image from a subject; determining a facial expression factor and a head pose factor of the subject from the binocular image from the subject; determining an illumination parameter from an illumination condition for a scene in the binocular image from the subject; determining a texture and a color to a face of the subject based on the illumination parameter; generating a three-dimensional representation of the subject based on the facial expression factor, the head pose factor, and the texture and color of the face of the subject; and embedding the three-dimensional representation of the subject in a virtual reality environment, in real-time. 19. The computer-implemented method of 20. The computer-implemented method of determining a loss factor based on selected points in the binocular image from the subject and the three-dimensional representation for the subject; and updating a three-dimensional model according to the loss factor, the three-dimensional model comprising the facial expression factor, the head pose factor, and the illumination parameter.
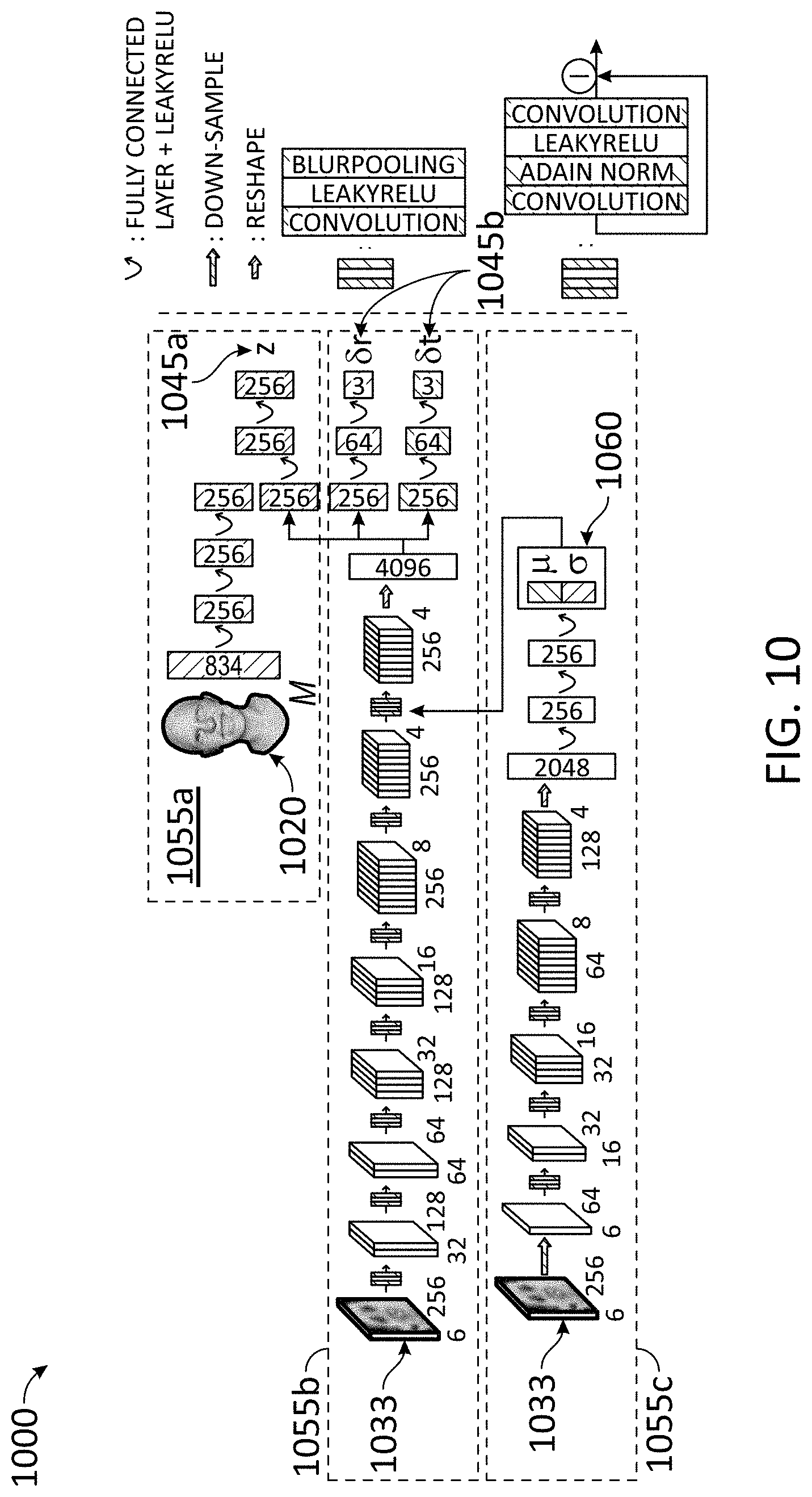
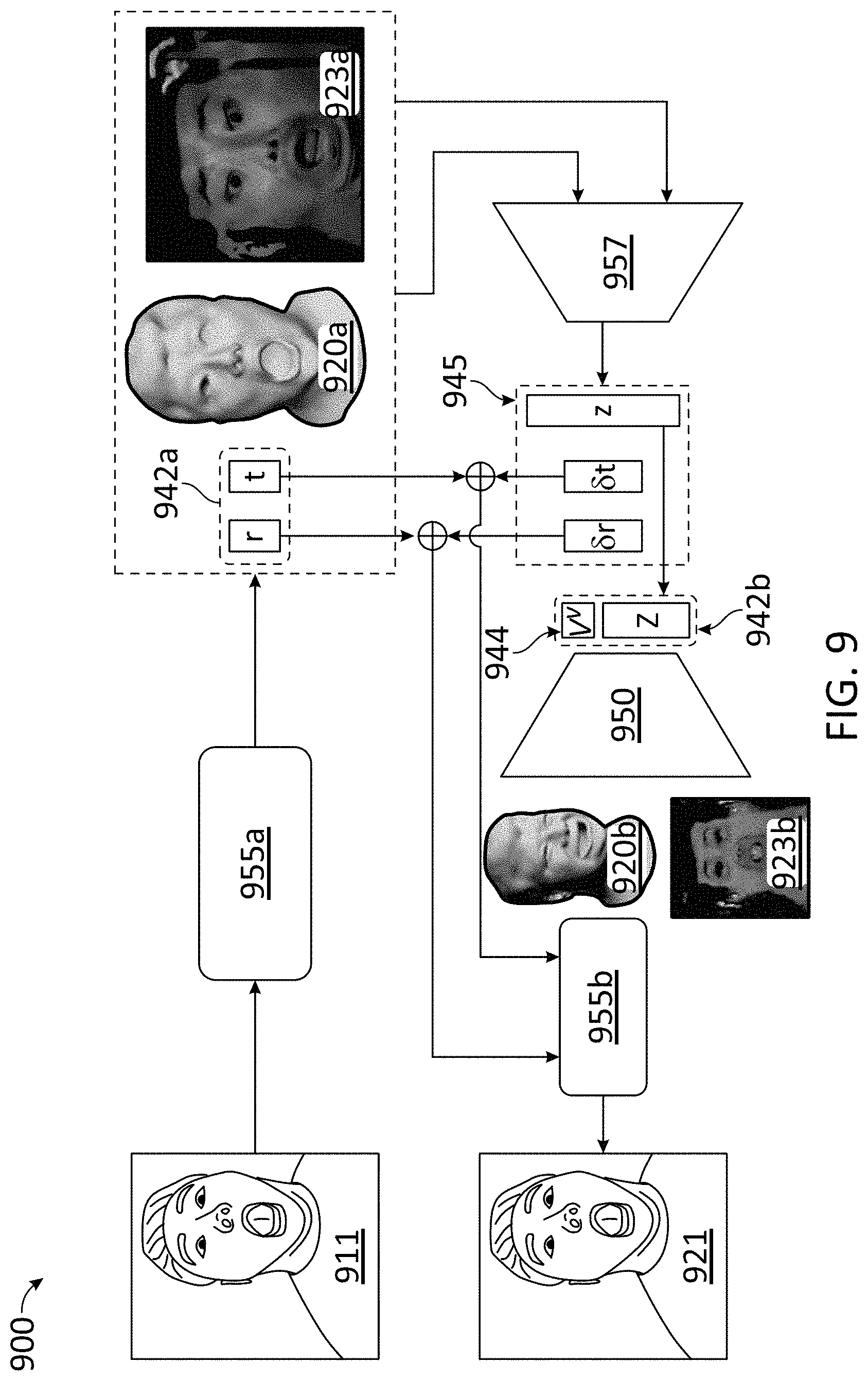
The present disclosure is related and claims priority under 35 U.S.C. § 119(e) to U.S. Prov. Pat. Appln. No. 63/179,087, entitled REAL-TIME 3D NEURAL FACIAL ANIMATION FROM BINOCULAR VIDEO, to Chen Cao, et al. filed on Apr. 23, 2021, the contents of which are hereby incorporated by reference in their entirety, for all purposes. The present disclosure generally relates to the field of computer graphics and animation. More specifically, the present disclosure relates to models to generate real-time, high fidelity three-dimensional avatars under multiple environmental conditions for virtual reality (VR) and augmented reality (AR) applications. Current techniques for three-dimensional simulation of a human head are too sophisticated for real-time implementation, or are too coarse for a convincing real-time embedding in a virtual environment. Furthermore, highly trained, sophisticated models tend to overshoot and create over educated models that may become highly inaccurate when environmental conditions are changed. This tends to be the case over different illumination conditions encountered during a simulation event (e.g., a user that transitions from a bright outdoors scene into a darker indoor environment). In one embodiment of the present disclosure, a computer-implemented method is described for training a face animation model to create real-time facial animation from binocular video is disclosed. The computer-implemented method includes collecting multiple images of a subject, the images from the subject comprising one or more simultaneous views from different profiles of the subject, and forming a three-dimensional mesh for the subject based on a facial expression factor and a head pose of the subject extracted from the images of the subject. The computer-implemented method also includes forming a texture transformation based on an illumination parameter associated with an illumination configuration for the images from the subject, forming a three-dimensional model for the subject based on the three-dimensional mesh and the texture transformation, determining a loss factor based on selected points in a test image from the subject and a rendition of the test image by the three-dimensional model, and updating the three-dimensional model according to the loss factor. According to one embodiment, a system is described that includes one or more processors and a memory coupled to the one or more processors, the memory including instructions that, when executed by the one or more processors, cause the one or more processors to collect multiple images of a subject, the images from the subject comprising one or more simultaneous views from different profiles of the subject, to form a three-dimensional mesh for the subject based on a facial expression factor and a head pose of the subject extracted from the images of the subject, to form a texture transformation based on an illumination parameter associated with an illumination configuration for the images from the subject, to form a three-dimensional model for the subject based on the three-dimensional mesh and the texture transformation, to determine a loss factor based on selected points in a test image from the subject and a rendition of the test image by the three-dimensional model, and to update the three-dimensional model according to the loss factor. According to one embodiment, a non-transitory, machine-readable medium is described that includes instructions, which when executed by one or more processors, cause a computer to perform a method, including collecting multiple images of a subject, the images from the subject comprising one or more simultaneous views from different profiles of the subject, forming a three-dimensional mesh for the subject based on a facial expression factor and a head pose of the subject extracted from the images of the subject, and forming a texture transformation based on an illumination parameter associated with an illumination configuration for the images from the subject. The method also includes forming a three-dimensional model for the subject based on the three-dimensional mesh and the texture transformation, determining a loss factor based on selected points in a test image from the subject and a rendition of the test image by the three-dimensional model, and updating the three-dimensional model according to the loss factor. In yet another embodiment, a system is described that includes a means for storing commands and a means for executing the commands causing the system to perform a method that includes collecting a binocular image from a subject, determining a facial expression factor and a head pose factor of the subject from the binocular image from the subject, and determining an illumination parameter from an illumination condition for a scene in the binocular image from the subject. The method also includes determining a texture and a color to a face of the subject based on the illumination parameter, generating a three-dimensional representation of the subject based on the facial expression factor, the head pose factor, and the texture and color of the face of the subject, and embedding the three-dimensional representation of the subject in a virtual reality environment, in real-time. It is understood that other configurations of the subject technology will become readily apparent to those skilled in the art from the following detailed description, wherein various configurations of the subject technology are shown and described by way of illustration. As will be realized, the subject technology is capable of other and different configurations and its several details are capable of modification in various other respects, all without departing from the scope of the subject technology. Accordingly, the drawings and detailed description are to be regarded as illustrative in nature and not as restrictive. The accompanying drawings, which are included to provide further understanding and are incorporated in and constitute a part of this specification, illustrate disclosed embodiments and together with the description serve to explain the principles of the disclosed embodiments. In the drawings: In the figures, elements and steps denoted by the same or similar reference numerals are associated with the same or similar elements and steps, unless indicated otherwise. In the following detailed description, numerous specific details are set forth to provide a full understanding of the present disclosure. It will be apparent, however, to one ordinarily skilled in the art, that the embodiments of the present disclosure may be practiced without some of these specific details. In other instances, well-known structures and techniques have not been shown in detail so as not to obscure the disclosure. A real-time system for high-fidelity facial animation from binocular video is provided. The system can track subtle expressions in uncontrolled environments (e.g., varying lighting conditions). The system includes a neural network model to compensate from the domain mismatch between the face model and in-the-wild image under varying illumination conditions. In some embodiments, better visual minima in the model training are found with a coarse-to-fine strategy. A more efficient few-shot learning method enables fine-tuning the pre-trained regression to new environment in an unsupervised manner. Marker-less facial motion capture has been a long standing problem in computer graphics and computer vision. The human visual system has a remarkable ability to recognize human expressions. Driving avatars from video with a high-degree of photorealism and being able to transfer subtle expressions (e.g., perfect eye contact, lip-chewing, tongue movement, blinking) is desirable in many applications, such as animating characters in movies or systems to promote a sense of social presence in AR/VR. In these scenarios, a challenge of facial expression transfer algorithms is to be able to accurately track facial expressions in real-time and under varying lighting conditions. It is also desirable to correctly decouple rigid (e.g., 3D head pose) and non-rigid motion (e.g., facial expression) and to render the user's appearance in the avatar. In some embodiments, a precise facial tracking/alignment mechanism that achieves sub-pixel accuracy decouples the rigid/non-rigid motion of the face. Precise and dense facial feature tracking is challenging in natural scenarios due to sensor noise and variability in lighting. Lighting changes tend to dominate and obscure marginal information such as detailed facial features. Traditional attempts to decouple the illumination from the image usually destroy information useful for determining subtle facial motion. To render user's appearance in the avatar, traditional approaches used a variety of face tracking methods including shape models for facial animation. However, these methods fail to recover important facial details such as interior of the mouth, or blinking of the eyes. Alternatively, parametric face models such as Active Appearance Models, Morphable Models, or Deep Appearance Models jointly model the two-dimensional (2D) and three-dimensional (3D) shape and appearance allowing a more precise registration/alignment between the image and the model. In addition, these methods perform tracking by reconstruction with the additional benefit of having a latent code for reconstructing the appearance, providing an elegant solution to rendering the appearance of the subject. Parameterized face models can be learned across users leading to generic models, or within a subject creating a person-specific (PS) model. Generic models typically achieve robustness to lighting or user variability. However, generic models do not provide accurate reconstruction for new subjects, resulting in unacceptable loss of facial expression detail. On the other hand, PS models are able to achieve a desired accuracy in tracking and reconstruction (e.g., finding use in the movie industry). However, PS models are typically run offline and they do not perform well in untrained situations (e.g., different lighting). Embodiments as disclosed herein resolve the above problems arising in the technical field of computer animation by providing a lightweight process for training a personalized face model to new environments that enables accurate real-time face tracking. Some embodiments include a robust and efficient recovery of rigid and non-rigid motion from sequences with challenging illumination conditions, using binocular video. To achieve this, some embodiments include a person-specific deep appearance model (PS-DAM), which is learned in a multi-camera capture stage (offline) with fixed illumination. Embodiments as disclosed herein generate high fidelity face renderings in real-time, accurately estimating its parameters in unconstrained settings by incorporating, estimating, and predicting differences in illumination conditions and facial changes (e.g., facial hair, makeup, glasses). Finally, the entire system, including inference and rendering, works in real-time to support interactive applications such as telepresence. Embodiments as disclosed herein include learning (e.g., ‘offline’ estimation) and fine-tuning steps. Offline face estimation records several videos of a user and registers their face using analysis-by-synthesis. In order to compensate for illumination changes and other factors, some embodiments include a parameterized illumination model and employ a “coarse-to-fine” fitting strategy to simultaneously estimate its parameters along with those of the face model. This strategy effectively avoids converging to poor local minima. The resulting pairs of images and parameters are used in a real-time direct regression model. Some embodiments apply the real-time direct regression model to estimate a 3D shape and texture for a new environment (e.g., different illumination conditions). To compensate for differences between the new environment and those used in training, some embodiments fine-tune the regression model with a few unsupervised images. This approach enables the driving of hyper-realistic 3D face models in unconstrained scenarios. Servers 130 may include any device having an appropriate processor, memory, and communications capability for hosting the model training engine including multiple tools associated with it. The model training engine may be accessible by various clients 110 over network 150. Clients 110 can be, for example, desktop computers, mobile computers, tablet computers (e.g., including e-book readers), mobile devices (e.g., a smartphone or PDA), or any other device having appropriate processor, memory, and communications capabilities for accessing the model training engine on one or more of servers 130. Network 150 can include, for example, any one or more of a local area tool (LAN), a wide area tool (WAN), the Internet, and the like. Further, network 150 can include, but is not limited to, any one or more of the following tool topologies, including a bus network, a star network, a ring network, a mesh network, a star-bus network, tree or hierarchical network, and the like. Server 130 includes a memory 220-2, a processor 212-2, and communications module 218-2. Hereinafter, processors 212-1 and 212-2, and memories 220-1 and 220-2, will be collectively referred to, respectively, as “processors 212” and “memories 220.” Processors 212 are configured to execute instructions stored in memories 220. In some embodiments, memory 220-2 includes a model training engine 232. Model training engine 232 may share or provide features and resources to GUI 222, including multiple tools associated with managing a creative project. The user may access model training engine 232 through GUI 222 installed in a memory 220-1 of client device 110. Accordingly, GUI 222 may be installed by server 130 and perform scripts and other routines provided by server 130 through any one of multiple tools. Execution of GUI 222 may be controlled by processor 212-1. In that regard, model training engine 232 may be configured to create, store, update and maintain a facial animation model 240, as disclosed herein. Facial animation model 240 may include encoders, decoders, and tools such as a facial expression encoder 242, a head pose encoder 244, a lighting tool 246, and a texture encoder 248. In some embodiments, model training engine 232 may access one or more machine learning models stored in a training database 252. Training database 252 includes training archives and other data files that may be used by model training engine 232 in the training of a machine learning model, according to the input of the user through GUI 222. Moreover, in some embodiments, at least one or more training archives or machine learning models may be stored in either one of memories 220, and the user may have access to them through GUI 222. Facial expression encoder 242 determines facial expression parameters (z) based on input images, based on a classification scheme that is learned by training. Head pose encoder 244 determines a rotation (e.g., a matrix, r) and a translation (e.g., a vector, t) of the head of a person in the input images. In some embodiments, head pose encoder 244 may also determine a camera viewpoint vector (vv). Lighting tool 246 includes a lighting model Gϕ that may be used to relight a 3D representation of an input image according to learned lighting sources, shades, or other elements captured from the input image. Texture encoder 248 provides a brilliance, color, reflectance, and other optical properties of a 3D representation of an input image based on the learned lighting sources and shades. In some embodiments, the machine learning model may include a neural network (NN), a convolutional neural network (CNN), a generative adversarial neural network (GAN), a deep reinforcement learning (DRL) algorithm, a deep recurrent neural network (DRNN), a classic machine learning algorithm such as random forest, k-nearest neighbor (KNN) algorithm, k-means clustering algorithms, or any combination thereof. More generally, the machine learning model may include any machine learning model involving a training step and an optimization step. In some embodiments, training database 252 may include a training archive to modify coefficients according to a desired outcome of the machine learning model. Accordingly, in some embodiments, model training engine 232 is configured to access training database 252 to retrieve documents and archives as inputs for the machine learning model. In some embodiments, model training engine 232, the tools contained therein, and at least part of training database 252 may be hosted in a different server that is accessible by server 130. In some embodiments, each participant 301 is captured by video cameras 311 performing multiple gestures (e.g., one, two, six times, or more), using multiple lighting configurations within a variety of backgrounds 305. Each video capture may last a few seconds or up to several minutes (e.g., 8 or 10 minutes), during which participant 301 would show a variety of facial expressions and read aloud several sentences. In some embodiments, participant 301 simply rotates one of video cameras 311 in selected increments (e.g., 90 degrees), and modifies the lighting configuration by turning illumination sources 321 ‘on’ or ‘off’ on either side of their face, for different captures. Any configuration for illumination sources 321 may be used as desired. At each frame, video system 300 collects two or more images, {I0, I1}, wherein each image is collected by a different video camera 311, at a different angle or perspective. In some embodiments, camera 411 includes f/2.0 lenses to provide a wide field of view (FOV). In some embodiments, the FOV may include a horizontal-FOV (HFOV) of about 35° and vertical-FOV (VFOV) of about 43°. The lenses in camera 411 may be focused to a common desktop-mount distance for user 401 (e.g., approximately 0.5 m). Camera 411 may include a custom camera controller to simultaneously capture images from the two cameras at 60 frames-per-second (FPS) and send them to computer 410 over a fast connection (e.g., USB 3.0). The images may include large files, such as 2 mega-pixel (MP, 1300×1600 pixel grid). Custom software on computer 410 is used to perform debayer of the RGB pixels, e.g., to convert a color filter array image into a regular RGB color image. In some embodiments, an IR channel may be used to provide depth information, and the like. The debayered images may be suitably encoded into a video in computer 410. Camera 411 may also be configured to capture audio, and in some embodiments, a single channel audio may be recorded separately using a smart phone or some other device. A facial animation model as disclosed herein may be running in computer 410, and process the binocular image of user 401 captured by camera 411 to provide an image in a display 416 of 3D avatar 421. Accordingly, 3D avatar 421 may reflect one or more expressions of user 401 immersed in a virtual reality environment created by computer 410. The image in display 416 may be provided to a VR or AR headset to a remote user, synchronously with user 401, or asynchronously. Encoder 500 may apply an offline analysis-by-synthesis method on each frame in raw images 511 including facial expression code 542, and a viewing vector 544 to estimate accurate rigid and non-rigid face parameters in novel lighting environments. The pairs of images and face parameters are used as training data to train an encoder for real-time inference. A decoder 550 includes executable code to generate a view-dependent 3D avatar 521 and a face texture 523. 3D avatar 521 is a solid model including depth information and relative positioning for the anatomic features of subject 501. Face texture 523 includes color, hue, and brilliance of the anatomic features of subject 501 (e.g., skin, hair, eyes, and the like). Facial expression 542, head pose 644, and viewing vector 544 are provided as inputs to decoder 550, which generates 3D avatar 621. By selecting viewing vector 544 appropriately, encoder 600 may provide any one of multiple views 622 Input image 711 may include an image pair, {Iv}, corresponding to a binocular camera view (e.g., camera 411). Animation model 700 estimates the full state of the face, comprising the rigid head pose 644 and facial expression 542. In some embodiments, animation model 700 includes a Deep Appearance Model (DAM), as described below. The DAM generates mesh 720 and view-dependent texture map 733 Here, M∈Rn×3 is the face mesh 720 including n-vertices and TvR3× where, Gv∈R3× where ϕ are the network parameters, and r∈R3, t∈R3are the head rotation and the translation respectively. Eq. 3 assumes that the illumination conditions and the camera are fixed during a capture session. In some embodiments, lighting tool 755 is learned from scratch for every new environment from a small collection of calibration frames. This is performed jointly with the registration process to infer face parameters 642 and camera vector 544. In some embodiments, lighting model 755 compensates for miss-registration due to overfitting of the neural network by restricting the resolution of the network outputs. Accordingly, in some embodiments, a coarse mesh 720 as input, instead of the full expression code, largely avoids overfitting when sufficiently good initialization is provided, as described next. Given the rigid head pose 644 ([r, t]), the generated mesh 720 (M), and transformed (e.g., relighted) texture 733 where PΠv is the projection operator based on the camera intrinsic matrix Πv, where p=[r, t, z] corresponds to the vector of face parameters (e.g., head pose 644, viewpoint vector 544), Δ is the image Laplacian operator and λlapis the weight of image Laplacian loss. In some embodiments, a weight value may include λlap=0.2, or similar values. In some embodiments, Eq. 5 defines a non-linear optimization problem that may include local minima. To provide a good initialization for the optimization, for each input image Iv, in some embodiments, facial animation model 700 detects ninety six (96) two-dimensional (2D) face landmarks {Lvk}, that correspond to face features such as mouth corner, nose tip, and/or face contour. For each landmark, k, facial animation model 700 finds the corresponding vertex index on the face mesh denoted as lk, and calculates the L2distance between 2D face landmark and its corresponding mesh vertex projection: where Mvis the projected face mesh in screen space calculated by Eq. 4. At each step during the optimization, given the current estimated face parameters pc and a lighting model Gϕ, we can render the relighted avatar 723 (Îcv), using Eq. 4. Facial animation model 700 then calculates the dense optical flow between relighted avatar 723 (Îcv) and input image 711 (Iv), and maps the dense optical flow to the projected mesh vertices Mvcin screen space through bilinear interpolation, annotated by Dv={dvi}. Facial animation model 700 formulates the optical flow loss as the L2distance between the current projection of the face mesh Mvand the flow-predicted location Mvc+Dv: With the losses formulated in Eqs. 5-7, facial animation model 700 can optimize face parameters 544 and 644 of some, most, or all frames by solving the following equation: where pt is the face parameter vector at frame t. λlandand λfloware used to control the weights of landmark loss and optical flow loss and may have any suitable value, such as λland=1.0 and λflow=3.0. These optimized face parameters are regarded as the ground truth parameters in training an encoder as disclosed herein (e.g., encoders 242, 500, or 600), and are denoted as p★=[r★, t★, z★]. Block 1: minimizing the landmark loss (cf Eq. 6) to obtain the face parameters 842 of each frame. Block 2: fixing face parameters 842, optimize lighting model parameters ϕlto minimize Lim(cf. Eq. 5). In some embodiments, coarse-to-fine network architecture 800 avoids overfitting by first optimizing a low-resolution version of the lighting model parameters ϕl(cf. low-resolution architecture 855 Block 3: with the optimized face parameters 842 ( Block 4: jointly optimize ϕland face parameters 842 ( Block 5: fix the low-resolution lighting model's parameters ϕl, and jointly optimize face parameters 842 ( A coarse mesh tracking 955 In some embodiments, a real-time, coarse mesh tracking 955 In some embodiments, coarse mesh tracking 955 Some embodiments train encoder 957 for each input image pair {Iv}, with coarse mesh 920 where ψ are the network parameters of the encoder. Incremented facial parameters 945 are applied to the estimated head pose from coarse mesh tracking 955 where λr, λt, and λzare weights to balance the units of rotation, translation, and expression code, and we choose λr=1e3, λt=1e−2 and λz=10 in some embodiments. Additionally, with the regressed face parameters 942 Mesh branch 1055 Embedder branch 1055 Step 1202 includes collecting multiple images of a subject, the images from the subject comprising one or more simultaneous views from different profiles of the subject. In some embodiments, step 1202 may include collecting a binocular image from the subject, obtaining a three-dimensional representation of the subject by applying the three-dimensional model to the binocular image from the subject, and embedding the three-dimensional representation of the subject in a virtual reality environment in real-time. In some embodiments, step 1202 includes providing the images from the subject under multiple illumination configurations to a low-resolution multilayered network and to a high-resolution multilayered network, and combining an output from the low-resolution multilayered network with an output of the high-resolution multilayered network. Step 1204 includes forming a three-dimensional mesh for the subject based on a facial expression factor and a head pose of the subject extracted from the images of the subject. In some embodiments, step 1204 includes identifying a facial expression of the subject in the images, and associating a facial expression factor with the facial expression of the subject. In some embodiments, step 1204 includes identifying a head pose of the subject, the head pose including a rotation of a head of the subject and a translation of the head of the subject. Step 1206 includes forming a texture transformation based on an illumination parameter associated with an illumination configuration for the images from the subject. In some embodiments, step 1206 includes using a bias matrix and a gain matrix including the facial expression factor, the head pose, and the illumination parameter. In some embodiments, step 1206 includes determining an illumination parameter based on an illumination configuration for the images from the subject. Step 1208 includes forming a three-dimensional model for the subject based on the three-dimensional mesh and the texture transformation. Step 1210 includes determining a loss factor based on selected points in a test image from the subject and a rendition of the test image by the three-dimensional model. In some embodiments, step 1210 includes projecting a three-dimensional representation of the subject onto a two-dimensional image and comparing a selected point in the two-dimensional image with a corresponding point in the test image. Step 1212 includes updating the three-dimensional model according to the loss factor. In some embodiments, step 1212 includes evaluating the loss factor for an incremental change to the head pose over an incremental period of time. In some embodiments, step 1212 includes embedding a statistical value for the illumination parameter in the texture transformation, the statistical value derived from a multilayered network comprising the images of the subject under multiple illumination configurations. Step 1214 includes providing an image of the three-dimensional model for display in a graphic user interface of a client device. Step 1302 includes collecting a binocular image from a subject. Step 1304 includes determining a facial expression factor and a head pose factor of the subject from the binocular image from the subject. Step 1306 includes determining an illumination parameter from an illumination condition for a scene in the binocular image from the subject. Step 1308 includes determining a texture and a color to a face of the subject based on the illumination parameter. Step 1310 includes generating a three-dimensional representation of the subject based on the facial expression factor, the head pose factor, and the texture and color of the face of the subject. Step 1312 includes embedding the three-dimensional representation of the subject in a virtual reality environment, in real-time. In some embodiments, step 1312 includes identifying the illumination parameter based on a selected illumination condition for a virtual scene in the virtual reality environment and a head pose for the subject in the virtual scene. In some embodiments, step 1312 includes determining a loss factor based on selected points in the binocular image from the subject and the three-dimensional representation for the subject, and updating a three-dimensional model according to the loss factor, the three-dimensional model comprising the facial expression factor, the head pose factor, and the illumination parameter. Step 1314 includes providing an image of the virtual reality environment for display in a graphic user interface of a client device. Computer system 1400 (e.g., client 110 and server 130) includes a bus 1408 or other communication mechanism for communicating information, and a processor 1402 (e.g., processors 212) coupled with bus 1408 for processing information. By way of example, the computer system 1400 may be implemented with one or more processors 1402. Processor 1402 may be a general-purpose microprocessor, a microcontroller, a Digital Signal Processor (DSP), an Application Specific Integrated Circuit (ASIC), a Field Programmable Gate Array (FPGA), a Programmable Logic Device (PLD), a controller, a state machine, gated logic, discrete hardware components, or any other suitable entity that can perform calculations or other manipulations of information. Computer system 1400 can include, in addition to hardware, code that creates an execution environment for the computer program in question, e.g., code that constitutes processor firmware, a protocol stack, a database management system, an operating system, or a combination of one or more of them stored in an included memory 1404 (e.g., memories 220), such as a Random Access Memory (RAM), a flash memory, a Read-Only Memory (ROM), a Programmable Read-Only Memory (PROM), an Erasable PROM (EPROM), registers, a hard disk, a removable disk, a CD-ROM, a DVD, or any other suitable storage device, coupled to bus 1408 for storing information and instructions to be executed by processor 1402. The processor 1402 and the memory 1404 can be supplemented by, or incorporated in, special purpose logic circuitry. The instructions may be stored in the memory 1404 and implemented in one or more computer program products, e.g., one or more modules of computer program instructions encoded on a computer-readable medium for execution by, or to control the operation of, the computer system 1400, and according to any method well-known to those of skill in the art, including, but not limited to, computer languages such as data-oriented languages (e.g., SQL, dBase), system languages (e.g., C, Objective-C, C++, Assembly), architectural languages (e.g., Java, .NET), and application languages (e.g., PHP, Ruby, Perl, Python). Instructions may also be implemented in computer languages such as array languages, aspect-oriented languages, assembly languages, authoring languages, command line interface languages, compiled languages, concurrent languages, curly-bracket languages, dataflow languages, data-structured languages, declarative languages, esoteric languages, extension languages, fourth-generation languages, functional languages, interactive mode languages, interpreted languages, iterative languages, list-based languages, little languages, logic-based languages, machine languages, macro languages, metaprogramming languages, multiparadigm languages, numerical analysis, non-English-based languages, object-oriented class-based languages, object-oriented prototype-based languages, off-side rule languages, procedural languages, reflective languages, rule-based languages, scripting languages, stack-based languages, synchronous languages, syntax handling languages, visual languages, wirth languages, and xml-based languages. Memory 1404 may also be used for storing temporary variable or other intermediate information during execution of instructions to be executed by processor 1402. A computer program as discussed herein does not necessarily correspond to a file in a file system. A program can be stored in a portion of a file that holds other programs or data (e.g., one or more scripts stored in a markup language document), in a single file dedicated to the program in question, or in multiple coordinated files (e.g., files that store one or more modules, subprograms, or portions of code). A computer program can be deployed to be executed on one computer or on multiple computers that are located at one site or distributed across multiple sites and interconnected by a communication network. The processes and logic flows described in this specification can be performed by one or more programmable processors executing one or more computer programs to perform functions by operating on input data and generating output. Computer system 1400 further includes a data storage device 1406 such as a magnetic disk or optical disk, coupled to bus 1408 for storing information and instructions. Computer system 1400 may be coupled via input/output module 1410 to various devices. Input/output module 1410 can be any input/output module. Exemplary input/output modules 1410 include data ports such as USB ports. The input/output module 1410 is configured to connect to a communications module 1412. Exemplary communications modules 1412 (e.g., communications modules 218) include networking interface cards, such as Ethernet cards and modems. In certain aspects, input/output module 1410 is configured to connect to a plurality of devices, such as an input device 1414 (e.g., input device 214) and/or an output device 1416 (e.g., output device 216). Exemplary input devices 1414 include a keyboard and a pointing device, e.g., a mouse or a trackball, by which a user can provide input to the computer system 1400. Other kinds of input devices 1414 can be used to provide for interaction with a user as well, such as a tactile input device, visual input device, audio input device, or brain-computer interface device. For example, feedback provided to the user can be any form of sensory feedback, e.g., visual feedback, auditory feedback, or tactile feedback; and input from the user can be received in any form, including acoustic, speech, tactile, or brain wave input. Exemplary output devices 1416 include display devices, such as an LCD (liquid crystal display) monitor, for displaying information to the user. According to one aspect of the present disclosure, the client 110 and server 130 can be implemented using a computer system 1400 in response to processor 1402 executing one or more sequences of one or more instructions contained in memory 1404. Such instructions may be read into memory 1404 from another machine-readable medium, such as data storage device 1406. Execution of the sequences of instructions contained in main memory 1404 causes processor 1402 to perform the process steps described herein. One or more processors in a multi-processing arrangement may also be employed to execute the sequences of instructions contained in memory 1404. In alternative aspects, hard-wired circuitry may be used in place of or in combination with software instructions to implement various aspects of the present disclosure. Thus, aspects of the present disclosure are not limited to any specific combination of hardware circuitry and software. Various aspects of the subject matter described in this specification can be implemented in a computing system that includes a back-end component, e.g., a data server, or that includes a middleware component, e.g., an application server, or that includes a front-end component, e.g., a client computer having a graphical user interface or a Web browser through which a user can interact with an implementation of the subject matter described in this specification, or any combination of one or more such back-end, middleware, or front-end components. The components of the system can be interconnected by any form or medium of digital data communication, e.g., a communication network. The communication network (e.g., network 150) can include, for example, any one or more of a LAN, a WAN, the Internet, and the like. Further, the communication network can include, but is not limited to, for example, any one or more of the following tool topologies, including a bus network, a star network, a ring network, a mesh network, a star-bus network, tree or hierarchical network, or the like. The communications modules can be, for example, modems or Ethernet cards. Computer system 1400 can include clients and servers. A client and server are generally remote from each other and typically interact through a communication network. The relationship of client and server arises by virtue of computer programs running on the respective computers and having a client-server relationship to each other. Computer system 1400 can be, for example, and without limitation, a desktop computer, laptop computer, or tablet computer. Computer system 1400 can also be embedded in another device, for example, and without limitation, a mobile telephone, a PDA, a mobile audio player, a Global Positioning System (GPS) receiver, a video game console, and/or a television set top box. The term “machine-readable storage medium” or “computer-readable medium” as used herein refers to any medium or media that participates in providing instructions to processor 1402 for execution. Such a medium may take many forms, including, but not limited to, non-volatile media, volatile media, and transmission media. Non-volatile media include, for example, optical or magnetic disks, such as data storage device 1406. Volatile media include dynamic memory, such as memory 1404. Transmission media include coaxial cables, copper wire, and fiber optics, including the wires forming bus 1408. Common forms of machine-readable media include, for example, floppy disk, a flexible disk, hard disk, magnetic tape, any other magnetic medium, a CD-ROM, DVD, any other optical medium, punch cards, paper tape, any other physical medium with patterns of holes, a RAM, a PROM, an EPROM, a FLASH EPROM, any other memory chip or cartridge, or any other medium from which a computer can read. The machine-readable storage medium can be a machine-readable storage device, a machine-readable storage substrate, a memory device, a composition of matter affecting a machine-readable propagated signal, or a combination of one or more of them. To illustrate the interchangeability of hardware and software, items such as the various illustrative blocks, modules, components, methods, operations, instructions, and algorithms have been described generally in terms of their functionality. Whether such functionality is implemented as hardware, software, or a combination of hardware and software depends upon the particular application and design constraints imposed on the overall system. Skilled artisans may implement the described functionality in varying ways for each particular application. As used herein, the phrase “at least one of” preceding a series of items, with the terms “and” or “or” to separate any of the items, modifies the list as a whole, rather than each member of the list (i.e., each item). The phrase “at least one of” does not require selection of at least one item; rather, the phrase allows a meaning that includes at least one of any one of the items, and/or at least one of any combination of the items, and/or at least one of each of the items. By way of example, the phrases “at least one of A, B, and C” or “at least one of A, B, or C” each refer to only A, only B, or only C; any combination of A, B, and C; and/or at least one of each of A, B, and C. To the extent that the term “include,” “have,” or the like is used in the description or the claims, such term is intended to be inclusive in a manner similar to the term “comprise” as “comprise” is interpreted when employed as a transitional word in a claim. The word “exemplary” is used herein to mean “serving as an example, instance, or illustration.” Any embodiment described herein as “exemplary” is not necessarily to be construed as preferred or advantageous over other embodiments. A reference to an element in the singular is not intended to mean “one and only one” unless specifically stated, but rather “one or more.” All structural and functional equivalents to the elements of the various configurations described throughout this disclosure that are known or later come to be known to those of ordinary skill in the art are expressly incorporated herein by reference and intended to be encompassed by the subject technology. Moreover, nothing disclosed herein is intended to be dedicated to the public regardless of whether such disclosure is explicitly recited in the above description. No clause element is to be construed under the provisions of 35 U.S.C. § 112, sixth paragraph, unless the element is expressly recited using the phrase “means for” or, in the case of a method clause, the element is recited using the phrase “step for.” While this specification contains many specifics, these should not be construed as limitations on the scope of what may be claimed, but rather as descriptions of particular implementations of the subject matter. Certain features that are described in this specification in the context of separate embodiments can also be implemented in combination in a single embodiment. Conversely, various features that are described in the context of a single embodiment can also be implemented in multiple embodiments separately or in any suitable subcombination. Moreover, although features may be described above as acting in certain combinations and even initially claimed as such, one or more features from a claimed combination can in some cases be excised from the combination, and the claimed combination may be directed to a subcombination or variation of a subcombination. The subject matter of this specification has been described in terms of particular aspects, but other aspects can be implemented and are within the scope of the following claims. For example, while operations are depicted in the drawings in a particular order, this should not be understood as requiring that such operations be performed in the particular order shown or in sequential order, or that all illustrated operations be performed, to achieve desirable results. The actions recited in the claims can be performed in a different order and still achieve desirable results. As one example, the processes depicted in the accompanying figures do not necessarily require the particular order shown, or sequential order, to achieve desirable results. In certain circumstances, multitasking and parallel processing may be advantageous. Moreover, the separation of various system components in the aspects described above should not be understood as requiring such separation in all aspects, and it should be understood that the described program components and systems can generally be integrated together in a single software product or packaged into multiple software products. Other variations are within the scope of the following claims.CROSS REFERENCE TO RELATED APPLICATIONS
BACKGROUND
Field
Description of the Related Art
SUMMARY
BRIEF DESCRIPTION OF THE DRAWINGS
DETAILED DESCRIPTION
General Overview
Example System Architecture
(
(
is the rasterization operator and Mvis the projected face mesh in screen space. In this way we can render the relighted avatar 723, Îv, in the original image space, and formulate the analysis by synthesis image loss,
:
im(
land(
flow(
(
track(
δ(
param(ψ)=λr
Hardware Overview