A memory cell of a magnetic random access memory includes multiple layers disposed between a first metal layer and a second metal layer. At least one of the multiple layers include one selected from the group consisting of an iridium layer, a bilayer structure of an iridium layer and an iridium oxide layer, an iridium-titanium nitride layer, a bilayer structure of an iridium layer and a tantalum layer, and a binary alloy layer of iridium and tantalum.
1. A memory cell of a magnetic random access memory, comprising:
a first electrode layer; a seed layer disposed over the first electrode layer; a pinned magnetic layer disposed over the seed layer; a tunneling barrier layer made of a non-magnetic material and disposed over the pinned magnetic layer; a free magnetic layer disposed over the tunneling barrier layer; and a second electrode layer disposed over the free magnetic layer, wherein at least one of the first electrode layer or the second electrode layer contains iridium. 2. The memory cell of 3. The memory cell of 4. The memory cell of 5. The memory cell of 6. The memory cell of 7. The memory cell of 8. A memory cell of a magnetic random access memory, comprising:
a first electrode layer; a seed layer disposed over the first electrode layer; a pinned magnetic layer disposed over the seed layer; a tunneling barrier layer made of a non-magnetic material and disposed over the pinned magnetic layer; a free magnetic layer disposed over the tunneling barrier layer; a second electrode layer disposed over the free magnetic layer; and an iridium containing layer. 9. The memory cell of 10. The memory cell of 11. The memory cell of 12. The memory cell of 13. The memory cell of 14. The memory cell of 15. A semiconductor device including a magnetic random access memory (MRAM) having a plurality of magnetic memory cells, wherein:
each of the magnetic memory cells comprises a MRAM stack disposed between a bottom electrode and a top electrode, the bottom electrode is embedded in a first interlayer dielectric layer, a side face the MRAM stack is covered by an insulating cover layer, the insulating cover layer is coved by a second ILD layer, the top electrode is embedded in a third ILD layer, the MRAM stack includes:
a first electrode layer; a seed layer disposed over the first electrode layer; a pinned magnetic layer disposed over the seed layer; a tunneling barrier layer made of a non-magnetic material and disposed over the pinned magnetic layer; a free magnetic layer disposed over the tunneling barrier layer; and a second electrode layer disposed over the diffusion layer, and at least one of the first electrode layer or the second electrode layer contains iridium. 16. The semiconductor device of 17. The semiconductor device of 18. The semiconductor device of 19. The semiconductor device of 20. The semiconductor device of
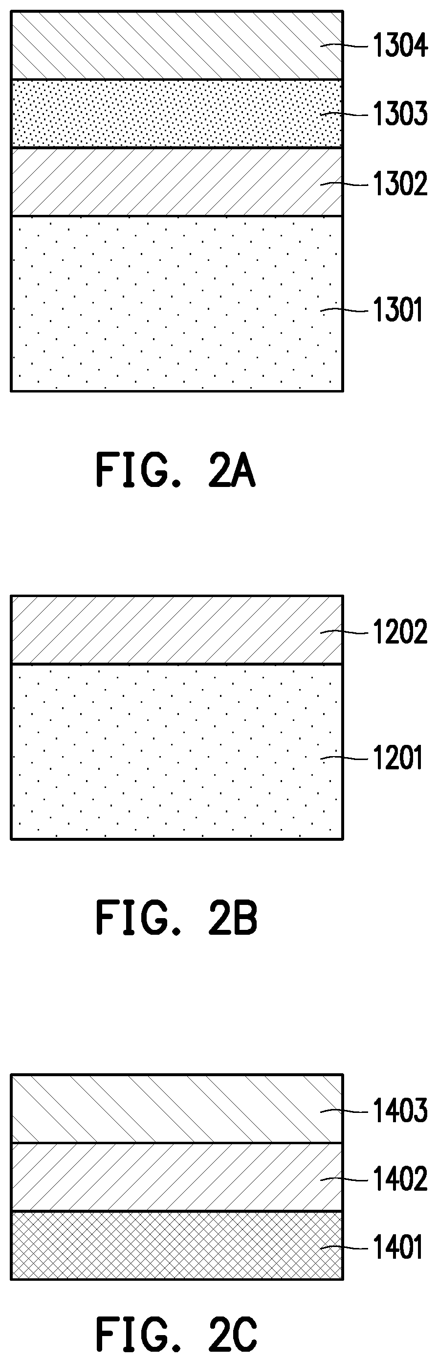
This application is a Continuation of U.S. patent application Ser. No. 16/939,613 filed Jul. 27, 2020, now U.S. Pat. No. 11,374,169, which is a Divisional of U.S. patent application Ser. No. 15/906,901 filed Feb. 27, 2018, now U.S. Pat. No. 10,727,401, which claims priority to U.S. Provisional Application No. 62/584,529 filed on Nov. 10, 2017, the entire contents of each of which are incorporated herein by reference. The present disclosure relates to a magnetic random access memory (MRAM) device and, more particularly, to a magnetic RAM device based on a magnetic tunnel junction cell formed with a semiconductor device. An MRAM offers comparable performance to volatile static random access memory (SRAM) and comparable density with lower power consumption to volatile dynamic random access memory (DRAM). Compared to non-volatile memory (NVM) flash memory, an MRAM offers much faster access times and suffers minimal degradation over time, whereas a flash memory can only be rewritten a limited number of times. An MRAM cell is formed by a magnetic tunneling junction (MTJ) comprising two ferromagnetic layers which are separated by a thin insulating barrier, and operates by tunneling of electrons between the two ferromagnetic layers through the insulating barrier. It is to be understood that the following disclosure provides many different embodiments, or examples, for implementing different features of the invention. Specific embodiments or examples of components and arrangements are described below to simplify the present disclosure. These are, of course, merely examples and are not intended to be limiting. For example, dimensions of elements are not limited to the disclosed range or values, but may depend upon process conditions and/or desired properties of the device. Moreover, the formation of a first feature over or on a second feature in the description that follows may include embodiments in which the first and second features are formed in direct contact, and may also include embodiments in which additional features may be formed interposing the first and second features, such that the first and second features may not be in direct contact. Various features may be arbitrarily drawn in different scales for simplicity and clarity. In the accompanying drawings, some layers/features may be omitted for simplification. Further, spatially relative terms, such as “beneath,” “below,” “lower,” “above,” “upper” and the like, may be used herein for ease of description to describe one element or feature's relationship to another element(s) or feature(s) as illustrated in the figures. The spatially relative terms are intended to encompass different orientations of the device in use or operation in addition to the orientation depicted in the figures. The device may be otherwise oriented (rotated 90 degrees or at other orientations) and the spatially relative descriptors used herein may likewise be interpreted accordingly. In addition, the term “made of” may mean either “comprising” or “consisting of.” Further, in the following fabrication process, there may be one or more additional operations in/between the described operations, and the order of operations may be changed. In the present disclosure, a phrase “one of A, B and C” means “A, B and/or C” (A, B, C, A and B, A and C, B and C, or A, B and C), and does not mean one element from A, one element from B and one element from C, unless otherwise described. The MRAM cells include a film stack of multiple layers including magnetic layers. In some MRAM devices, depending on the magnetic design, one or more non-magnetic spacer layers may need to be inserted between magnetic layers to optimize the magnetic interaction. The film stack of the MRAM cells often suffers from an adverse diffusion problem, in which metal from a seed layer and/or a spacer layer diffuses into functional layers of the MTJ, causing adverse effects on the magnetic tunneling function. Depending on the severity of the diffusion issues in the film stack design, one or more diffusion barrier layers may need to be inserted into the film stack to minimize the adverse diffusion phenomenon. Further, in the MTJ MRAM cells, other than the tunneling barrier layer, every layer within the film stack needs to be conductive to maximize a read/write window. Under these requirements, it is important to appropriately select a material for a seed layer, a spacer layer and/or a diffusion barrier layer, which can provide a desired specific crystalline structure and orientation, and does not disrupt the magnetic interactions of the functional layers. Further, the seed layer, the spacer layer and the diffusion barrier layer should be smooth, non-orientation specific (amorphous), conductive and non-magnetic. The magnetic tunneling function of the MTJ MRAM cells depends on a specific crystalline structure and an orientation of the MTJ films. In order to have the desired crystalline structure and orientation in the MTJ films, the whole film stack needs to be grown on a smooth, amorphous, conductive, non-magnetic seed layer. Among various materials, tantalum (Ta) is the most widely used as the seed layer, which can be easily grown as a smooth and amorphous layer. However, Ta easily diffuses into the MTJ films, causing adverse effects on the magnetic tunneling functions. Further, a non-magnetic spacer layer, such as molybdenum (Mo), is often used in the MTJ films, but a Mo film also exhibits another diffusion problem. Other than tantalum (Ta) and molybdenum (Mo), cobalt (Co), platinum (Pt) and/or nickel (Ni) may be used as a seed layer or a spacer layer, but they also diffuse into the tunneling barrier layer, which is a metal oxide layer (e.g., MgO), of the MTJ films. Moreover, Ta can react with oxygen inside the oxide layer, causing a change of the metal oxide crystalline structure and orientation from the desired state. The insertion of the diffused atoms into the MgO lattice also increase its stress, which could lead to degradation of the MgO lattice quality over thermal aging. The crystalline magnetic layers are grown from the crystalline lattice of the MgO layer, or use it as a growth template. Thus, the diffusion of Ta, Mo, Co, Pt, Ni and other seed or spacer layer materials into the tunneling barrier layer of the MTJ also prevents the adjacent magnetic metal layers from reaching their desired crystalline structure and orientation. In the present disclosure, in a memory cell of a magnetic random access memory, the memory cell includes a film stack of multiple layers, and at least one of the multiple layers includes iridium. More specifically, at least one of the seed layer, a spacer layer and a diffusion barrier layer includes iridium. The MTJ film stack 100 includes a first electrode layer 110 coupled to the lower metal layer Mx and a second electrode layer 155 coupled to the upper metal layer My. An MTJ functional layer 101 is disposed between the first electrode layer 110 and the second electrode layer 155, as shown in The MTJ functional layer 101 includes a second pinned magnetic layer 130, a free magnetic layer 140, and a tunneling barrier layer 135 made of a non-magnetic material and disposed between the second pinned magnetic layer 130 and the free magnetic layer 140. The free magnetic layer 140 and the second pinned magnetic layer 130 include one or more ferromagnetic materials that can be magnetically oriented, respectively. The free magnetic layer 140 is configured such that the magnetic orientation can be changed, or rotated, by exposure to an external magnetic field. The second pinned magnetic layer 130 is configured such that the magnetic orientation is fixed and will not respond to a typical magnetic field. In some embodiments, the thickness of the free magnetic layer 140 is in a range from about 0.8 nm to about 1.5 nm. In some embodiments, the thickness of the second pinned layer 130 is in a range from about 0.8 nm to about 2.0 nm. The tunneling barrier layer 135 includes a relatively thin oxide layer capable of electrically isolating the free magnetic layer 140 from the second pinned magnetic layer 130 at low potentials and capable of conducting current through electron tunneling at higher potentials. In some embodiments, the tunneling barrier layer 135 is made of magnesium oxide (MgO) having a thickness in a range from about 0.5 nm to about 1.2 nm. The MTJ functional layer 101 further includes an antiferromagnetic layer 125, as shown in The MTJ functional layer 101 further includes a first pinned magnetic layer 120 including one or more magnetic materials, as shown in The second pinned magnetic layer 130 includes multiple layers of magnetic materials. In some embodiments, as shown in The layer 1303 is a spacer layer. The thickness of the spacer layer 1303 is in a range from about 0.2 nm to about 0.5 nm in some embodiments. The layer 1304 is a cobalt iron boron (CoFeB) layer, a cobalt/palladium (CoPd) layer and/or a cobalt iron (CoFe) layer. The thickness of the layer 1304 is in a range from about 0.8 nm to about 1.5 nm in some embodiments. The first pinned magnetic layer 120 includes multiple layers of magnetic materials. In some embodiments, as shown in The free magnetic layer 140 includes a cobalt iron boron (CoFeB) layer, a cobalt/palladium (CoPd) layer and/or a cobalt iron (CoFe) layer having a thickness is in a range from about 1.0 nm to about 2.0 nm in some embodiments. In other embodiments, the free magnetic layer 140 includes multiple layers of magnetic materials. In some embodiments, as shown in The MTJ functional layer 101 further includes a seed layer 115 formed on the first electrode layer 110, a capping layer 145 formed on the free magnetic layer 140, a diffusion barrier layer 150 formed on the capping layer 145, as shown in In the present embodiments, at least one of the first electrode layer 110, the seed layer 115, the diffusion barrier layer 150, the second electrode layer 155, the spacer layer 1303 and the spacer layer 1402 includes iridium (Ir). In certain embodiments, at least one of the first electrode layer 110, the seed layer 115, the diffusion barrier layer 150 and the second electrode layer 155 includes iridium (Ir). The iridium containing layer can be one selected from the group consisting of an iridium layer, an iridium oxide layer, a bilayer structure of an iridium layer and an iridium oxide layer, an iridium-titanium nitride layer, a bilayer structure of an iridium layer and a tantalum layer, and a binary alloy layer of iridium and tantalum. These iridium containing materials have unique features. For example, iridium and a binary alloy of iridium and tantalum have a natural tendency to form a super smooth surface morphology, have a very high electric conductivity and are non-magnetic. Further, iridium and a binary alloy of iridium and tantalum can be formed as an amorphous layer. In addition, iridium-tantalum sub-oxide is a conductor or a semiconductor, having a substantial conductivity. Iridium oxide is a conductive and dense material, and has a high diffusion barrier property even formed in a thin layer (e.g., less than 1.0 nm). Further, an iridium layer and/or an iridium oxide layer can be easily integrated into a semiconductor CMOS process. Further, the iridium containing materials generally have stable chemical and physical properties, are chemically inert and are corrosion resistive. In some embodiments, the seed layer 115 includes an iridium layer and/or a binary alloy layer of iridium and tantalum. The seed layer 115 is for a growth of the first pinned magnetic layer 120, and is generally required to have a smooth surface morphology, a high electric conductivity and to be substantially free of diffusion into the pinned magnetic layer 120. The thickness of the seed layer 115 is in a range from about 0.5 nm to about 20 nm in some embodiments, and is in a range from about 1.0 nm to about 10 nm in other embodiments. The seed layer 115 is amorphous in some embodiments. In some embodiments, the diffusion barrier layer 150 includes an iridium layer and/or a binary alloy layer of iridium and tantalum. A diffusion barrier layer for the MTJ film stack is generally required to have a super smooth surface morphology and a high electric conductivity and to be substantially effective in alleviating the diffusion issue. Further, the diffusion barrier layer should also be tolerant to a low level of oxidation without significant degradation of its conductivity. The thickness of the diffusion barrier layer 150 is in a range from about 0.1 nm to about 10 nm in some embodiments, and is in a range from about 0.5 nm to about 5.0 nm in other embodiments. In some embodiments, the spacer layer 1303 and/or the spacer layer 1402 include an iridium layer and/or a binary alloy layer of iridium and tantalum. A spacer layer for the MTJ film stack is generally required to have a super smooth surface morphology and a high electric conductivity and to be substantially free from diffusion issue. Further, the spacer layer should also be tolerant to a low level of oxidation without significant degradation of its conductivity. The thickness of the spacer layers 1303 and/or 1402 is in a range from about 0.1 nm to about 10 nm in some embodiments, and is in a range from about 0.5 nm to about 5.0 nm in other embodiments. In certain embodiments, one or more additional diffusion barrier layers and/or spacer layers including the aforementioned iridium containing layer can be inserted between any two adjacent layers among the first electrode layer 110, the seed layer 115, the first pinned magnetic layer 120, the antiferromagnetic layer 125, the second pinned magnetic layer 130, the tunneling barrier layer 135, the free magnetic layer 140, the capping layer 145, the diffusion barrier layer 150 and the second electrode layer 155. For example, in some embodiments, as shown in In some embodiments, as shown in Similarly, in some embodiments, a spacer or a barrier layer 205 is inserted between the tunneling barrier layer 135 and the free magnetic layer 140. The spacer or barrier layer 205 can prevent diffusion of Co, Fe and/or Ta included in the free magnetic layer 140 into the tunneling barrier layer 135. In certain embodiments, the spacer or barrier layer 205 includes at least one selected from the group consisting of an iridium layer and a binary alloy layer of iridium and tantalum. The thickness of the spacer or barrier layer 205 is in a range from about 0.1 nm to about 10 nm in some embodiments, and is in a range from about 0.5 nm to about 5.0 nm in other embodiments. In some embodiments, a spacer or a barrier layer 206 is inserted between the free magnetic layer 140 and the capping layer 145. In certain embodiments, the capping layer 145 is made of magnesium oxide or aluminum oxide. The spacer or barrier layer 206 can prevent diffusion of Co, Fe and/or Ta included in the free magnetic layer 140 into the capping layer 145. In certain embodiments, the spacer or barrier layer 206 includes at least one selected from the group consisting of an iridium layer and a binary alloy layer of iridium and tantalum. The thickness of the spacer or barrier layer 206 is in a range from about 0.1 nm to about 10 nm in some embodiments, and is in a range from about 0.5 nm to about 5.0 nm in other embodiments. In some embodiments, a spacer or a barrier layer 207 is inserted between the capping layer 145 and the diffusion barrier layer 150. In certain embodiments, the diffusion barrier layer 150 is made of tantalum or other materials. The spacer or barrier layer 207 can prevent diffusion of Ta included in the diffusion barrier layer 150 into the capping layer 145. In certain embodiments, the spacer or barrier layer 207 includes at least one selected from the group consisting of an iridium layer and a binary alloy layer of iridium and tantalum. The thickness of the spacer or barrier layer 207 is in a range from about 0.1 nm to about 10 nm in some embodiments, and is in a range from about 0.5 nm to about 5.0 nm in other embodiments. When the diffusion barrier layer 150 includes an iridium containing layer, the spacer or barrier layer 207 may not be necessary. In other embodiments, a spacer or a barrier layer 202 is inserted between the first pinned magnetic layer 120 and the antiferromagnetic layer 125, as shown in In other embodiments, a spacer or a barrier layer 203 is inserted between the antiferromagnetic layer 125 and the second pinned magnetic layer 130, as shown in The spacer or barrier layer 202 and 203 can further prevent diffusion of Ta, Mo, Co, Ni, Ru and/or Pt, which may be included in the first electrode layer 110, the seed layer 115, the first pinned magnetic layer 120 and/or the antiferromagnetic layer 125 into the tunneling barrier layer 135. In some embodiments, at least one of the first electrode layer 110 and the second electrode layer 155 includes one selected from the group consisting of an iridium layer, an iridium oxide layer, a bilayer structure of an iridium layer and an iridium oxide layer, an iridium-titanium nitride layer, and a binary alloy layer of iridium and tantalum. The first electrode layer 110 is formed on the lower metal layer Mx made of, for example, Cu, Al, W, Co, Ni, and/or an alloy thereof, and the upper metal layer My made of, for example, Cu, Al, W, Co, Ni, and/or an alloy thereof, is formed on the second electrode layer 155. When the first electrode layer 110 and the second electrode layer 155 do not include an iridium containing layer, the first electrode layer 110 includes one or more of Ta, Pt, Au, Cr and TiN, and the second electrode layer 155 includes one or more of Ru, Au, Cr and Ta. The iridium containing layers can be formed by physical vapor deposition (PVD), molecular beam epitaxy (MBE), pulsed laser deposition (PLD), atomic layer deposition (ALD), electron beam (e-beam) epitaxy, chemical vapor deposition (CVD), or derivative CVD processes further comprising low pressure CVD (LPCVD), ultrahigh vacuum CVD (UHVCVD), reduced pressure CVD (RPCVD), or any combinations thereof, or any other suitable film deposition method. The pinned magnetic layer, the free magnetic layer and the antiferromagnetic layer can also be formed by CVD, PVD or ALD or any other suitable film deposition method. The tunneling barrier layer can also be formed by CVD, PVD or ALD or any other suitable film deposition method. The first and second electrode layers can also be formed by CVD, PVD, ALD, or electro plating, or any other suitable film deposition method. In some embodiments, the first electrode layer 110 is formed on the lower metal layer Mx, which has been patterned, the seed layer 115 is formed on the first electrode layer 110, the first pinned magnetic layer 120 is formed on the seed layer 115, the antiferromagnetic layer 125 is formed on the first pinned magnetic layer 120, the second pinned magnetic layer 130 is formed on the antiferromagnetic layer 125, the tunneling barrier layer 135 is formed on the second pinned magnetic layer 130, the free magnetic layer 140 is formed on the tunneling barrier layer 135, the capping layer 145 is formed on the free magnetic layer 140, the diffusion barrier layer 150 is formed on the capping layer 145, and the second electrode layer 155 is formed on the diffusion layer 150. One or more lithography and etching operations are performed to pattern the stacked layer into the MTJ film stack for each memory cell. In other embodiments, trenches for memory cells are formed in a dielectric layer and the MTJ film is formed in the trenches. In some embodiments, the MRAM cells are formed over a dielectric material disposed over the substrate. In some embodiments, the substrate includes silicon (Si) or other suitable semiconductor material. Transistors, driver circuits, logic circuits or any other electronic devices are formed by semiconductor materials and integrated with the MRAM cells. In If the same current value ICis forced to flow through the MTJ cell by the current source 30, it is found that the cell voltage V1in the case of A memory cell is read by asserting the word line of that cell, forcing a reading current through the bit line BL of that cell, and then measuring the voltage on that bit line BL. For example, to read the state of a target MTJ cell, the word line WL is asserted to turn ON the transistor Tr. The free magnetic layer of the target MTJ cell is thereby coupled to the fixed potential SL, e.g., the ground through the transistor Tr. Next, the reading current is forced on the bit line BL. Since only the given reading transistor Tr is turned ON, the reading current flows through the target MTJ cell to the ground. The voltage of the bit line BL then measured to determine the state (“0” or “1”) of the target MTJ cell. In some embodiments, as shown in As shown in Then, as shown in As set forth above, the first conductive layer 245A and/or one or more layers of the stacked layer 255A for the MTJ film stack 255 include one of an iridium layer, a bilayer structure of an iridium layer and an iridium oxide layer, an iridium-titanium nitride layer, a bilayer structure of an iridium layer and a tantalum layer, and a binary alloy layer of iridium and tantalum. The layers 254A, 255A and 256A can be formed by physical vapor deposition (PVD) including sputtering, molecular beam epitaxy (MBE), pulsed laser deposition (PLD), atomic layer deposition (ALD), electron beam (e-beam) epitaxy, chemical vapor deposition (CVD), or derivative CVD processes further comprising low pressure CVD (LPCVD), ultrahigh vacuum CVD (UHVCVD), reduced pressure CVD (RPCVD), electro plating, or any combinations thereof, or any other suitable film deposition method. By using one or more lithography and etching operations, the film stack shown in Subsequently, as shown in Next, as shown in Subsequently, as shown in Then, as shown in It is understood that the device shown in It will be understood that not all advantages have been necessarily discussed herein, no particular advantage is required for all embodiments or examples, and other embodiments or examples may offer different advantages. For example, in the present disclosure, since one or more iridium containing layers is used or inserted in a magnetic tunneling junction MRAM cell, it is possible to prevent diffusion of metallic elements from a seed layer, a pinned magnetic layer, a free magnetic layer, an antiferromagnetic layer, and/or an electrode layer into an tunneling barrier layer. Further, since an iridium containing layer has a smooth surface morphology, the iridium containing seed layer can improve properties of a pinned magnetic layer formed thereon. In accordance with an aspect of the present disclosure, a memory cell of a magnetic random access memory includes multiple layers disposed between a first metal layer and a second metal layer. At least one of the multiple layers include one selected from the group consisting of an iridium layer, a bilayer structure of an iridium layer and an iridium oxide layer, an iridium-titanium nitride layer, a bilayer structure of an iridium layer and a tantalum layer, and a binary alloy layer of iridium and tantalum. In one or more of the foregoing and following embodiments, the multiple layers include a first electrode layer made of a first conductive material and a second electrode layer made of a second conductive layer, between which remaining layers of the multiple layers are disposed. In one or more of the foregoing and following embodiments, at least one of the first electrode and the second electrode layers includes iridium. In one or more of the foregoing and following embodiments, at least one of the first electrode and the second electrode layers includes at least one selected from the group consisting of a bilayer structure of an iridium layer and an iridium oxide layer, an iridium-titanium nitride layer, a bilayer structure of an iridium layer and a tantalum layer, and a binary alloy layer of iridium and tantalum. In one or more of the foregoing and following embodiments, the multiple layers include a seed layer disposed over the first electrode layer, and the seed layer includes at least one selected from the group consisting of an iridium layer, a bilayer structure of an iridium layer and a tantalum layer, and a binary alloy layer of iridium and tantalum. In one or more of the foregoing and following embodiments, the multiple layers include a pinned magnetic layer disposed over the seed layer, a tunneling barrier layer made of a non-magnetic material and disposed over the pinned magnetic layer, a free magnetic layer disposed over the tunneling barrier layer, and a diffusion barrier layer disposed over the free magnetic layer, and the diffusion barrier layer includes at least one selected from the group consisting of an iridium layer, a bilayer structure of an iridium layer and a tantalum layer, and a binary alloy layer of iridium and tantalum. In one or more of the foregoing and following embodiments, the pinned magnetic layer includes a first magnetic layer and a second magnetic layer and an antiferromagnetic layer disposed between the first and second magnetic layers. In one or more of the foregoing and following embodiments, the multiple layers further includes a capping layer made of a non-magnetic material and disposed between the free magnetic layer and the diffusion barrier layer. In one or more of the foregoing and following embodiments, the tunneling barrier layer and the capping layer are made of magnesium oxide. In accordance with another aspect of the present disclosure, a memory cell of a magnetic random access memory includes multiple layers. The multiple layers include a first electrode layer, a seed layer disposed over the first electrode layer, a first pinned magnetic layer disposed over the seed layer, an antiferromagnetic layer disposed over the first pinned magnetic layer, a second pinned magnetic layer disposed over the antiferromagnetic layer, a tunneling barrier layer made of a non-magnetic material and disposed over the second pinned magnetic layer, a free magnetic layer disposed over the tunneling barrier layer, a capping layer made of a non-magnetic material and disposed over the free magnetic layer, a diffusion barrier layer disposed over the capping layer, and a second electrode layer disposed over the diffusion layer. At least one iridium containing layer including iridium is disposed between any adjacent two layers from the seed layer to the diffusion barrier layer. In one or more of the foregoing and following embodiments, the at least one iridium containing layer has a thickness in a range from 0.1 nm to 5.0 nm. In one or more of the foregoing and following embodiments, no layer from the seed layer to the diffusion barrier layer contains iridium. In accordance with another aspect of the present disclosure, a semiconductor device includes a magnetic random access memory (MRAM) having a plurality of magnetic memory cells. Each of the magnetic memory cells comprising multiple layers disposed between a first metal layer and a second metal layer. At least one of the multiple layers include one selected from the group consisting of an iridium layer, a bilayer structure of an iridium layer and an iridium oxide layer, an iridium-titanium nitride layer, a bilayer structure of an iridium layer and a tantalum layer and a binary alloy layer of iridium and tantalum. In one or more of the foregoing and following embodiments, the multiple layers include a first electrode layer made of a first conductive material and a second electrode layer made of a second conductive layer, between which remaining layers of the multiple layers are disposed, and at least one of the first electrode and the second electrode layers includes at least one selected from the group consisting of an iridium layer, a bilayer structure of an iridium layer and an iridium oxide layer, an iridium-titanium nitride layer, a bilayer structure of an iridium layer and a tantalum layer, and a binary alloy layer of iridium and tantalum. In one or more of the foregoing and following embodiments, the multiple layers include a first electrode layer made of a first conductive material and a second electrode layer made of a second conductive layer, between which remaining layers of the multiple layers are disposed, the remaining layers includes a seed layer disposed over the first electrode layer, and the seed layer includes at least one selected from the group consisting of an iridium layer, a bilayer structure of an iridium layer and a tantalum layer, and a binary alloy layer of iridium and tantalum. In one or more of the foregoing and following embodiments, the multiple layers include a first electrode layer made of a first conductive material and a second electrode layer made of a second conductive layer, between which remaining layers of the multiple layers are disposed, the remaining layers includes a seed layer disposed over the first electrode layer and a pinned magnetic layer disposed over the seed layer, a tunneling barrier layer disposed over the pinned magnetic layer, a free magnetic layer disposed over the tunneling barrier layer, and a diffusion barrier layer disposed over the free magnetic layer, and the diffusion barrier layer includes at least one selected from the group consisting of an iridium layer, a bilayer structure of an iridium layer and a tantalum layer, and a binary alloy layer of iridium and tantalum. In one or more of the foregoing and following embodiments, the pinned magnetic layer includes a first magnetic layer and a second magnetic layer and an antiferromagnetic layer disposed between the first and second magnetic layers. In one or more of the foregoing and following embodiments, the multiple layers further includes a capping layer disposed between the free magnetic layer and the diffusion barrier layer. In one or more of the foregoing and following embodiments, the multiple layers include a first electrode layer, a seed layer disposed over the first electrode layer, a first pinned magnetic layer disposed over the seed layer, an antiferromagnetic layer disposed over the first pinned magnetic layer, a second pinned magnetic layer disposed over the antiferromagnetic layer, a tunneling barrier layer made of a non-magnetic material and disposed over the second pinned magnetic layer, a free magnetic layer disposed over the tunneling barrier layer, a capping layer made of a non-magnetic material and disposed over the free magnetic layer, a diffusion barrier layer disposed over the capping layer, and a second electrode layer disposed over the diffusion layer, and at least one iridium containing layer including iridium is disposed between any adjacent two layers from the seed layer to the diffusion barrier layer. In accordance with another aspect of the present disclosure, in a method of manufacturing a magnetic random access memory, a first electrode layer is formed. A seed layer is formed over the first electrode layer. A pinned magnetic layer is formed over the seed layer. A tunneling barrier layer is formed over the pinned magnetic layer. A free magnetic layer is formed over the tunneling barrier. A capping layer is formed over the free magnetic layer. A diffusion barrier layer is formed over the capping layer. A second electrode layer is formed over the diffusion barrier layer. At least one of the first electrode layer, the seed layer, the diffusion barrier layer and the second electrode layer includes one selected from the group consisting of an iridium layer, a bilayer structure of an iridium layer and an iridium oxide layer, an iridium-titanium nitride layer, a bilayer structure of an iridium layer and a tantalum layer, and a binary alloy layer of iridium and tantalum. The foregoing outlines features of several embodiments or examples so that those skilled in the art may better understand the aspects of the present disclosure. Those skilled in the art should appreciate that they may readily use the present disclosure as a basis for designing or modifying other processes and structures for carrying out the same purposes and/or achieving the same advantages of the embodiments or examples introduced herein. Those skilled in the art should also realize that such equivalent constructions do not depart from the spirit and scope of the present disclosure, and that they may make various changes, substitutions, and alterations herein without departing from the spirit and scope of the present disclosure.RELATED APPLICATION
TECHNICAL FIELD
BACKGROUND
BRIEF DESCRIPTION OF THE DRAWINGS
DETAILED DESCRIPTION