According to an embodiment of the present disclosure, a method of performing sidelink communication by a first device is provided. The method may include the steps of: transmitting a PRS to multiple servers; receiving, from one anchor server among the multiple servers, information relating to RSTD values indicating differences between time points at which the multiple servers have received the PRS and information relating to an absolute position of each of the multiple servers; and determining a position of the first device on the basis of the information relating to the RSTD values and the information relating to the absolute position of each of the multiple servers.
1. A method for performing wireless communication by a first device, the method comprising:
transmitting, to a plurality of servers, positioning reference signals (PRSs); receiving, from one anchor server among the plurality of servers, information on reference signal time difference (RSTD) values for differences between times when the plurality of servers received the PRSs and information on an absolute position of each of the plurality of servers; and determining a location of the first device based on the information on the RSTD values and the information on the absolute position of each of the plurality of servers. 2. The method of wherein the information on the RSTD values is determined based on the plurality of TOA information by the anchor server. 3. The method of wherein the plurality of servers other than the anchor server are user equipment (UE). 4. The method of receiving, from the anchor server, an anchor flag representing whether the anchor server is an anchor among the plurality of servers. 5. The method of transmitting, to a plurality of neighbor devices, information for sidelink-time difference of arrival (S-TDOA) participation request; and receiving, from some devices of the plurality of neighbor devices, S-TDOA participation acceptance information for the information for the S-TDOA participation request. 6. The method of wherein the some devices are the plurality of servers. 7. The method of generating a local ID for each of the plurality of servers; and transmitting, to the plurality of servers, the local ID. 8. The method of 9. The method of transmitting, to a plurality of neighbor devices including the plurality of servers, the PRSs and a common ID representing that the PRSs relate to a request to participate in S-TDOA, and wherein the request to participate in the S-TDOA is accepted by the plurality of servers among the plurality of neighbor devices. 10. The method of wherein the anchor server is an RSU located geographically centrally among the plurality of servers. 11. The method of 12. The method of 13. The method of wherein the anchor server is determined from among group members of the sidelink positioning group, and wherein the information on the RSTD values transmitted by the anchor server to the first device and the information on the absolute position of each of the plurality of servers has a higher priority than data transmitted by the remaining group members except for the anchor server in the sidelink positioning group. 14. A first device for performing wireless communication, the first device comprising:
one or more memories storing instructions; one or more transceivers; and one or more processors connected to the one or more memories and the one or more transceivers, wherein the one or more processors execute the instructions to: transmit, to a plurality of servers, positioning reference signals (PRSs), receive, from one anchor server among the plurality of servers, information on reference signal time difference (RSTD) values for differences between times when the plurality of servers received the PRSs and information on an absolute position of each of the plurality of servers, and determine a location of the first device based on the information on the RSTD values and the information on the absolute position of each of the plurality of servers. 15. A device configured to control a first user equipment (UE), the device comprising:
one or more processors; and one or more memories being operably connectable to the one or more processors and storing instructions, wherein the one or more processors execute the instructions to: transmit, to a plurality of servers, positioning reference signals (PRSs), receive, from one anchor server among the plurality of servers, information on reference signal time difference (RSTD) values for differences between times when the plurality of servers received the PRSs and information on an absolute position of each of the plurality of servers, and determine a location of the first UE based on the information on the RSTD values and the information on the absolute position of each of the plurality of servers. 16-20. (canceled)
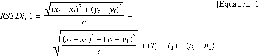
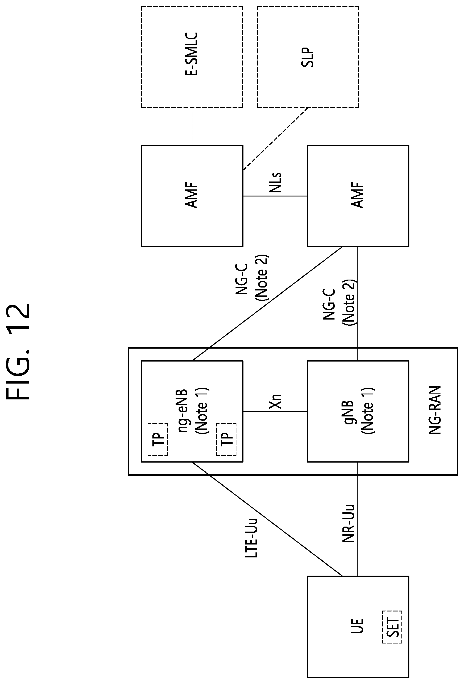
This disclosure relates to a wireless communication system. Sidelink (SL) communication is a communication scheme in which a direct link is established between User Equipments (UEs) and the UEs exchange voice and data directly with each other without intervention of an evolved Node B (eNB). SL communication is under consideration as a solution to the overhead of an eNB caused by rapidly increasing data traffic. Vehicle-to-everything (V2X) refers to a communication technology through which a vehicle exchanges information with another vehicle, a pedestrian, an object having an infrastructure (or infra) established therein, and so on. The V2X may be divided into 4 types, such as vehicle-to-vehicle (V2V), vehicle-to-infrastructure (V2I), vehicle-to-network (V2N), and vehicle-to-pedestrian (V2P). The V2X communication may be provided via a PC5 interface and/or Uu interface. Meanwhile, as a wider range of communication devices require larger communication capacities, the need for mobile broadband communication that is more enhanced than the existing Radio Access Technology (RAT) is rising. Accordingly, discussions are made on services and user equipment (UE) that are sensitive to reliability and latency. And, a next generation radio access technology that is based on the enhanced mobile broadband communication, massive Machine Type Communication (MTC), Ultra-Reliable and Low Latency Communication (URLLC), and so on, may be referred to as a new radio access technology (RAT) or new radio (NR). Herein, the NR may also support vehicle-to-everything (V2X) communication. Regarding V2X communication, a scheme of providing a safety service, based on a V2X message such as Basic Safety Message (BSM), Cooperative Awareness Message (CAM), and Decentralized Environmental Notification Message (DENM) is focused in the discussion on the RAT used before the NR. The V2X message may include position information, dynamic information, attribute information, or the like. For example, a UE may transmit a periodic message type CAM and/or an event triggered message type DENM to another UE. For example, the CAM may include dynamic state information of the vehicle such as direction and speed, static data of the vehicle such as a size, and basic vehicle information such as an exterior illumination state, route details, or the like. For example, the UE may broadcast the CAM, and latency of the CAM may be less than 100 ms. For example, the UE may generate the DENM and transmit it to another UE in an unexpected situation such as a vehicle breakdown, accident, or the like. For example, all vehicles within a transmission range of the UE may receive the CAM and/or the DENM. In this case, the DENM may have a higher priority than the CAM. Thereafter, regarding V2X communication, various V2X scenarios are proposed in NR. For example, the various V2X scenarios may include vehicle platooning, advanced driving, extended sensors, remote driving, or the like. For example, based on the vehicle platooning, vehicles may move together by dynamically forming a group. For example, in order to perform platoon operations based on the vehicle platooning, the vehicles belonging to the group may receive periodic data from a leading vehicle. For example, the vehicles belonging to the group may decrease or increase an interval between the vehicles by using the periodic data. For example, based on the advanced driving, the vehicle may be semi-automated or fully automated. For example, each vehicle may adjust trajectories or maneuvers, based on data obtained from a local sensor of a proximity vehicle and/or a proximity logical entity. In addition, for example, each vehicle may share driving intention with proximity vehicles. For example, based on the extended sensors, raw data, processed data, or live video data obtained through the local sensors may be exchanged between a vehicle, a logical entity, a UE of pedestrians, and/or a V2X application server. Therefore, for example, the vehicle may recognize a more improved environment than an environment in which a self-sensor is used for detection. For example, based on the remote driving, for a person who cannot drive or a remote vehicle in a dangerous environment, a remote driver or a V2X application may operate or control the remote vehicle. For example, if a route is predictable such as public transportation, cloud computing based driving may be used for the operation or control of the remote vehicle. In addition, for example, an access for a cloud-based back-end service platform may be considered for the remote driving. Meanwhile, a scheme of specifying service requirements for various V2X scenarios such as vehicle platooning, advanced driving, extended sensors, remote driving, or the like is discussed in NR-based V2X communication. A technical object of the present disclosure is to provide a sidelink (SL) communication method between devices (or terminals) and an apparatus (or terminal) for performing the same. Another technical object of the present disclosure is to provide a method for determining a location of a target terminal based on a sidelink Time Difference of Arrival (TDOA) (hereinafter ‘S-TDOA’) and an apparatus (or terminal) for performing the same. Another technical object of the present disclosure is to provide a method and an apparatus for performing S-TDOA in an access stratum (AS) layer. According to an embodiment of the present disclosure, there is provided a method of performing wireless communication by a first device. The method may include transmitting, to a plurality of servers, positioning reference signals (PRSs); receiving, from one anchor server among the plurality of servers, information on reference signal time difference (RSTD) values for differences between times when the plurality of servers received the PRSs and information on an absolute position of each of the plurality of servers; and determining a location of the first device based on the information on the RSTD values and the information on the absolute position of each of the plurality of servers. According to an embodiment of the present disclosure, a first device configured to perform wireless communication may be provided. For example, the first device may comprise: one or more memories storing instructions; one or more transceivers; and one or more processors connected to the one or more memories and the one or more transceivers. For example, the one or more processors may execute the instructions to: transmit, to a plurality of servers, positioning reference signals (PRSs), receive, from one anchor server among the plurality of servers, information on reference signal time difference (RSTD) values for differences between times when the plurality of servers received the PRSs and information on an absolute position of each of the plurality of servers, and determine a location of the first device based on the information on the RSTD values and the information on the absolute position of each of the plurality of servers. According to an embodiment of the present disclosure, an apparatus configured to control a first user equipment (UE) may be provided. For example, the apparatus may comprise: one or more processors; and one or more memories operably connected to the one or more processors and storing instructions. For example, the one or more processors may execute the instructions to: transmit, to a plurality of servers, positioning reference signals (PRSs), receive, from one anchor server among the plurality of servers, information on reference signal time difference (RSTD) values for differences between times when the plurality of servers received the PRSs and information on an absolute position of each of the plurality of servers, and determine a location of the first UE based on the information on the RSTD values and the information on the absolute position of each of the plurality of servers. According to an embodiment of the present disclosure, a non-transitory computer-readable storage medium storing instructions may be provided. For example, the instructions, when executed, cause a first device to: transmit, to a plurality of servers, positioning reference signals (PRSs), receive, from one anchor server among the plurality of servers, information on reference signal time difference (RSTD) values for differences between times when the plurality of servers received the PRSs and information on an absolute position of each of the plurality of servers, and determine a location of the first device based on the information on the RSTD values and the information on the absolute position of each of the plurality of servers. According to an embodiment of the present disclosure, there is provided a method of performing wireless communication by an anchor server. The method may include receiving, from a first device, a PRS; receiving, from a plurality of servers that have received the PRS from the first device, information on time of arrival (TOA) values representing when the plurality of servers received the PRS and information on absolute position of each of the plurality of servers; determining information on RSTD values representing differences between times when the plurality of servers receive the PRS based on the information on the TOA values; and transmitting, to the first device, the information on the RSTD values and the information on the absolute position of each of the plurality of servers. According to an embodiment of the present disclosure, an anchor server configured to perform wireless communication may be provided. For example, the anchor server may comprise: one or more memories storing instructions; one or more transceivers; and one or more processors connected to the one or more memories and the one or more transceivers. For example, the one or more processors may execute the instructions to: receive, from a first device, a PRS, receive, from a plurality of servers that have received the PRS from the first device, information on time of arrival (TOA) values representing when the plurality of servers received the PRS and information on absolute position of each of the plurality of servers, determine information on RSTD values representing differences between times when the plurality of servers receive the PRS based on the information on the TOA values, and transmit, to the first device, the information on the RSTD values and the information on the absolute position of each of the plurality of servers. According to the present disclosure, sidelink communication between devices (or terminals) can be efficiently performed. In the present specification, “A or B” may mean “only A”, “only B” or “both A and B.” In other words, in the present specification, “A or B” may be interpreted as “A and/or B”. For example, in the present specification, “A, B, or C” may mean “only A”, “only B”, “only C”, or “any combination of A, B, C”. A slash (/) or comma used in the present specification may mean “and/or”. For example, “A/B” may mean “A and/or B”. Accordingly, “A/B” may mean “only A”, “only B”, or “both A and B”. For example, “A, B, C” may mean “A, B, or C”. In the present specification, “at least one of A and B” may mean “only A”, “only B”, or “both A and B”. In addition, in the present specification, the expression “at least one of A or B” or “at least one of A and/or B” may be interpreted as “at least one of A and B”. In addition, in the present specification, “at least one of A, B, and C” may mean “only A”, “only B”, “only C”, or “any combination of A, B, and C”. In addition, “at least one of A, B, or C” or “at least one of A, B, and/or C” may mean “at least one of A, B, and C”. In addition, a parenthesis used in the present specification may mean “for example”. Specifically, when indicated as “control information (PDCCH)”, it may mean that “PDCCH” is proposed as an example of the “control information”. In other words, the “control information” of the present specification is not limited to “PDCCH”, and “PDCCH” may be proposed as an example of the “control information”. In addition, when indicated as “control information (i.e., PDCCH)”, it may also mean that “PDCCH” is proposed as an example of the “control information”. A technical feature described individually in one figure in the present specification may be individually implemented, or may be simultaneously implemented. The technology described below may be used in various wireless communication systems such as code division multiple access (CDMA), frequency division multiple access (FDMA), time division multiple access (TDMA), orthogonal frequency division multiple access (OFDMA), single carrier frequency division multiple access (SC-FDMA), and so on. The CDMA may be implemented with a radio technology, such as universal terrestrial radio access (UTRA) or CDMA-2000. The TDMA may be implemented with a radio technology, such as global system for mobile communications (GSM)/general packet ratio service (GPRS)/enhanced data rate for GSM evolution (EDGE). The OFDMA may be implemented with a radio technology, such as institute of electrical and electronics engineers (IEEE) 802.11 (Wi-Fi), IEEE 802.16 (WiMAX), IEEE 802.20, evolved UTRA (E-UTRA), and so on. IEEE 802.16m is an evolved version of IEEE 802.16e and provides backward compatibility with a system based on the IEEE 802.16e. The UTRA is part of a universal mobile telecommunication system (UMTS). 3rd generation partnership project (3GPP) long term evolution (LTE) is part of an evolved UMTS (E-UMTS) using the E-UTRA. The 3GPP LTE uses the OFDMA in a downlink and uses the SC-FDMA in an uplink. LTE-advanced (LTE-A) is an evolution of the LTE. 5G NR is a successive technology of LTE-A corresponding to a new Clean-slate type mobile communication system having the characteristics of high performance, low latency, high availability, and so on. 5G NR may use resources of all spectrum available for usage including low frequency bands of less than 1 GHz, middle frequency bands ranging from 1 GHz to 10 GHz, high frequency (millimeter waves) of 24 GHz or more, and so on. For clarity in the description, the following description will mostly focus on LTE-A or 5G NR. However, technical features according to an embodiment of the present disclosure will not be limited only to this. Referring to The embodiment of Referring to Layers of a radio interface protocol between the UE and the network can be classified into a first layer (L1), a second layer (L2), and a third layer (L3) based on the lower three layers of the open system interconnection (OSI) model that is well-known in the communication system. Among them, a physical (PHY) layer belonging to the first layer provides an information transfer service by using a physical channel, and a radio resource control (RRC) layer belonging to the third layer serves to control a radio resource between the UE and the network. For this, the RRC layer exchanges an RRC message between the UE and the BS. Referring to Between different physical layers, i.e., a physical layer of a transmitter and a physical layer of a receiver, data are transferred through the physical channel. The physical channel is modulated using an orthogonal frequency division multiplexing (OFDM) scheme, and utilizes time and frequency as a radio resource. The MAC layer provides services to a radio link control (RLC) layer, which is a higher layer of the MAC layer, via a logical channel. The MAC layer provides a function of mapping multiple logical channels to multiple transport channels. The MAC layer also provides a function of logical channel multiplexing by mapping multiple logical channels to a single transport channel. The MAC layer provides data transfer services over logical channels. The RLC layer performs concatenation, segmentation, and reassembly of Radio Link Control Service Data Unit (RLC SDU). In order to ensure diverse quality of service (QoS) required by a radio bearer (RB), the RLC layer provides three types of operation modes, i.e., a transparent mode (TM), an unacknowledged mode (UM), and an acknowledged mode (AM). An AM RLC provides error correction through an automatic repeat request (ARQ). A radio resource control (RRC) layer is defined only in the control plane. The RRC layer serves to control the logical channel, the transport channel, and the physical channel in association with configuration, reconfiguration and release of RBs. The RB is a logical path provided by the first layer (i.e., the physical layer or the PHY layer) and the second layer (i.e., the MAC layer, the RLC layer, and the packet data convergence protocol (PDCP) layer) for data delivery between the UE and the network. Functions of a packet data convergence protocol (PDCP) layer in the user plane include user data delivery, header compression, and ciphering. Functions of a PDCP layer in the control plane include control-plane data delivery and ciphering/integrity protection. A service data adaptation protocol (SDAP) layer is defined only in a user plane. The SDAP layer performs mapping between a Quality of Service (QoS) flow and a data radio bearer (DRB) and QoS flow ID (QFI) marking in both DL and UL packets. The configuration of the RB implies a process for specifying a radio protocol layer and channel properties to provide a particular service and for determining respective detailed parameters and operations. The RB can be classified into two types, i.e., a signaling RB (SRB) and a data RB (DRB). The SRB is used as a path for transmitting an RRC message in the control plane. The DRB is used as a path for transmitting user data in the user plane. When an RRC connection is established between an RRC layer of the UE and an RRC layer of the E-UTRAN, the UE is in an RRC_CONNECTED state, and, otherwise, the UE may be in an RRC_IDLE state. In case of the NR, an RRC_INACTIVE state is additionally defined, and a UE being in the RRC_INACTIVE state may maintain its connection with a core network whereas its connection with the BS is released. Data is transmitted from the network to the UE through a downlink transport channel. Examples of the downlink transport channel include a broadcast channel (BCH) for transmitting system information and a downlink-shared channel (SCH) for transmitting user traffic or control messages. Traffic of downlink multicast or broadcast services or the control messages can be transmitted on the downlink-SCH or an additional downlink multicast channel (MCH). Data is transmitted from the UE to the network through an uplink transport channel. Examples of the uplink transport channel include a random access channel (RACH) for transmitting an initial control message and an uplink SCH for transmitting user traffic or control messages. Examples of logical channels belonging to a higher channel of the transport channel and mapped onto the transport channels include a broadcast channel (BCCH), a paging control channel (PCCH), a common control channel (CCCH), a multicast control channel (MCCH), a multicast traffic channel (MTCH), etc. The physical channel includes several OFDM symbols in a time domain and several sub-carriers in a frequency domain. One sub-frame includes a plurality of OFDM symbols in the time domain. A resource block is a unit of resource allocation, and consists of a plurality of OFDM symbols and a plurality of sub-carriers. Further, each subframe may use specific sub-carriers of specific OFDM symbols (e.g., a first OFDM symbol) of a corresponding subframe for a physical downlink control channel (PDCCH), i.e., an L1/L2 control channel. A transmission time interval (TTI) is a unit time of subframe transmission. Referring to In case of using a normal CP, each slot may include 14 symbols. In case of using an extended CP, each slot may include 12 symbols. Herein, a symbol may include an OFDM symbol (or CP-OFDM symbol) and a Single Carrier-FDMA (SC-FDMA) symbol (or Discrete Fourier Transform-spread-OFDM (DFT-s-OFDM) symbol). Table 1 shown below represents an example of a number of symbols per slot (Nslotsymb), a number slots per frame (Nframe,uslot), and a number of slots per subframe (Nsubframe,uslot) based on an SCS configuration (u), in a case where a normal CP is used. Table 2 shows an example of a number of symbols per slot, a number of slots per frame, and a number of slots per subframe in accordance with the SCS, in a case where an extended CP is used. In an NR system, OFDM(A) numerologies (e.g., SCS, CP length, and so on) between multiple cells being integrate to one UE may be differently configured. Accordingly, a (absolute time) duration (or section) of a time resource (e.g., subframe, slot or TTI) (collectively referred to as a time unit (TU) for simplicity) being configured of the same number of symbols may be differently configured in the integrated cells. In the NR, multiple numerologies or SCSs for supporting diverse 5G services may be supported. For example, in case an SCS is 15 kHz, a wide area of the conventional cellular bands may be supported, and, in case an SCS is 30 kHz/60 kHz a dense-urban, lower latency, wider carrier bandwidth may be supported. In case the SCS is 60 kHz or higher, a bandwidth that is greater than 24.25 GHz may be used in order to overcome phase noise. An NR frequency band may be defined as two different types of frequency ranges. The two different types of frequency ranges may be FR1 and FR2. The values of the frequency ranges may be changed (or varied), and, for example, the two different types of frequency ranges may be as shown below in Table 3. Among the frequency ranges that are used in an NR system, FR1 may mean a “sub 6 GHz range”, and FR2 may mean an “above 6 GHz range” and may also be referred to as a millimeter wave (mmW). As described above, the values of the frequency ranges in the NR system may be changed (or varied). For example, as shown below in Table 4, FR1 may include a band within a range of 410 MHz to 7125 MHz. More specifically, FR1 may include a frequency band of 6 GHz (or 5850, 5900, 5925 MHz, and so on) and higher. For example, a frequency band of 6 GHz (or 5850, 5900, 5925 MHz, and so on) and higher being included in FR1 mat include an unlicensed band. The unlicensed band may be used for diverse purposes, e.g., the unlicensed band for vehicle-specific communication (e.g., automated driving). Referring to A carrier includes a plurality of subcarriers in a frequency domain. A Resource Block (RB) may be defined as a plurality of consecutive subcarriers (e.g., 12 subcarriers) in the frequency domain. A Bandwidth Part (BWP) may be defined as a plurality of consecutive (Physical) Resource Blocks ((P)RBs) in the frequency domain, and the BWP may correspond to one numerology (e.g., SCS, CP length, and so on). A carrier may include a maximum of N number BWPs (e.g., 5 BWPs). Data communication may be performed via an activated BWP. Each element may be referred to as a Resource Element (RE) within a resource grid and one complex symbol may be mapped to each element. Meanwhile, a radio interface between a UE and another UE or a radio interface between the UE and a network may consist of an L1 layer, an L2 layer, and an L3 layer. In various embodiments of the present disclosure, the L1 layer may imply a physical layer. In addition, for example, the L2 layer may imply at least one of a MAC layer, an RLC layer, a PDCP layer, and an SDAP layer. In addition, for example, the L3 layer may imply an RRC layer. Hereinafter, a bandwidth part (BWP) and a carrier will be described. The BWP may be a set of consecutive physical resource blocks (PRBs) in a given numerology. The PRB may be selected from consecutive sub-sets of common resource blocks (CRBs) for the given numerology on a given carrier. When using bandwidth adaptation (BA), a reception bandwidth and transmission bandwidth of a UE are not necessarily as large as a bandwidth of a cell, and the reception bandwidth and transmission bandwidth of the BS may be adjusted. For example, a network/BS may inform the UE of bandwidth adjustment. For example, the UE receive information/configuration for bandwidth adjustment from the network/BS. In this case, the UE may perform bandwidth adjustment based on the received information/configuration. For example, the bandwidth adjustment may include an increase/decrease of the bandwidth, a position change of the bandwidth, or a change in subcarrier spacing of the bandwidth. For example, the bandwidth may be decreased during a period in which activity is low to save power. For example, the position of the bandwidth may move in a frequency domain. For example, the position of the bandwidth may move in the frequency domain to increase scheduling flexibility. For example, the subcarrier spacing of the bandwidth may be changed. For example, the subcarrier spacing of the bandwidth may be changed to allow a different service. A subset of a total cell bandwidth of a cell may be called a bandwidth part (BWP). The BA may be performed when the BS/network configures the BWP to the UE and the BS/network informs the UE of the BWP currently in an active state among the configured BWPs. For example, the BWP may be at least any one of an active BWP, an initial BWP, and/or a default BWP. For example, the UE may not monitor downlink radio link quality in a DL BWP other than an active DL BWP on a primary cell (PCell). For example, the UE may not receive PDCCH, PDSCH, or CSI-RS (excluding RRM) outside the active DL BWP. For example, the UE may not trigger a channel state information (CSI) report for the inactive DL BWP. For example, the UE may not transmit PUCCH or PUSCH outside an active UL BWP. For example, in a downlink case, the initial BWP may be given as a consecutive RB set for an RMSI CORESET (configured by PBCH). For example, in an uplink case, the initial BWP may be given by SIB for a random access procedure. For example, the default BWP may be configured by a higher layer. For example, an initial value of the default BWP may be an initial DL BWP. For energy saving, if the UE fails to detect DCI during a specific period, the UE may switch the active BWP of the UE to the default BWP. Meanwhile, the BWP may be defined for SL. The same SL BWP may be used in transmission and reception. For example, a transmitting UE may transmit an SL channel or an SL signal on a specific BWP, and a receiving UE may receive the SL channel or the SL signal on the specific BWP. In a licensed carrier, the SL BWP may be defined separately from a Uu BWP, and the SL BWP may have configuration signaling separate from the Uu BWP. For example, the UE may receive a configuration for the SL BWP from the BS/network. The SL BWP may be (pre-)configured in a carrier with respect to an out-of-coverage NR V2X UE and an RRC_IDLE UE. For the UE in the RRC_CONNECTED mode, at least one SL BWP may be activated in the carrier. Referring to The BWP may be configured by a point A, an offset NstartBWPfrom the point A, and a bandwidth NsizeBWP. For example, the point A may be an external reference point of a PRB of a carrier in which a subcarrier 0 of all numerologies (e.g., all numerologies supported by a network on that carrier) is aligned. For example, the offset may be a PRB interval between a lowest subcarrier and the point A in a given numerology. For example, the bandwidth may be the number of PRBs in the given numerology. Hereinafter, V2X or SL communication will be described. Hereinafter, a sidelink synchronization signal (SLSS) and synchronization information will be described. The SLSS may include a primary sidelink synchronization signal (PSSS) and a secondary sidelink synchronization signal (SSSS), as an SL-specific sequence. The PSSS may be referred to as a sidelink primary synchronization signal (S-PSS), and the SSSS may be referred to as a sidelink secondary synchronization signal (S-SSS). For example, length-127 M-sequences may be used for the S-PSS, and length-127 gold sequences may be used for the S-SSS. For example, a UE may use the S-PSS for initial signal detection and for synchronization acquisition. For example, the UE may use the S-PSS and the S-SSS for acquisition of detailed synchronization and for detection of a synchronization signal ID. A physical sidelink broadcast channel (PSBCH) may be a (broadcast) channel for transmitting default (system) information which must be first known by the UE before SL signal transmission/reception. For example, the default information may be information related to SLSS, a duplex mode (DM), a time division duplex (TDD) uplink/downlink (UL/DL) configuration, information related to a resource pool, a type of an application related to the SLSS, a subframe offset, broadcast information, or the like. For example, for evaluation of PSBCH performance, in NR V2X, a payload size of the PSBCH may be 56 bits including 24-bit CRC. The S-PSS, the S-SSS, and the PSBCH may be included in a block format (e.g., SL synchronization signal (SS)/PSBCH block, hereinafter, sidelink-synchronization signal block (S-SSB)) supporting periodical transmission. The S-SSB may have the same numerology (i.e., SCS and CP length) as a physical sidelink control channel (PSCCH)/physical sidelink shared channel (PSSCH) in a carrier, and a transmission bandwidth may exist within a (pre-)configured sidelink (SL) BWP. For example, the S-SSB may have a bandwidth of 11 resource blocks (RBs). For example, the PSBCH may exist across 11 RBs. In addition, a frequency position of the S-SSB may be (pre-)configured. Accordingly, the UE does not have to perform hypothesis detection at frequency to discover the S-SSB in the carrier. Referring to For example, the UE 1 may select a resource unit corresponding to a specific resource in a resource pool which implies a set of series of resources. In addition, the UE 1 may transmit an SL signal by using the resource unit. For example, a resource pool in which the UE 1 is capable of transmitting a signal may be configured to the UE 2 which is a receiving UE, and the signal of the UE 1 may be detected in the resource pool. Herein, if the UE 1 is within a connectivity range of the BS, the BS may inform the UE 1 of the resource pool. Otherwise, if the UE 1 is out of the connectivity range of the BS, another UE may inform the UE 1 of the resource pool, or the UE 1 may use a pre-configured resource pool. In general, the resource pool may be configured in unit of a plurality of resources, and each UE may select a unit of one or a plurality of resources to use it in SL signal transmission thereof. Hereinafter, resource allocation in SL will be described. For example, For example, Referring to Referring to Meanwhile, in sidelink communication, a UE needs to efficiently select resources for sidelink transmission. Hereinafter, a method for a UE to efficiently select a resource for sidelink transmission and an apparatus supporting the same according to various embodiments of the present disclosure will be described. In various embodiments of the present disclosure, sidelink communication may include V2X communication. At least one proposed method proposed according to various embodiments of the present disclosure may be applied to at least one of unicast communication, groupcast communication, and/or broadcast communication. At least one proposed method proposed according to various embodiments of the present disclosure may be applied to PC5 interface or SL interface (e.g., PSCCH, PSSCH, PSBCH, PSSS/SSSS, etc.) based sidelink communication or V2X communication, as well as Uu interface (e.g., PUSCH, PDSCH, PDCCH, PUCCH, etc.) based Sidelink communication or V2X communication. In various embodiments of the present disclosure, Reception operation of the UE may include a decoding operation and/or reception operation of a sidelink channel and/or a sidelink signal (e.g., PSCCH, PSSCH, PSFCH, PSBCH, PSSS/SSSS, etc.). The reception operation of the UE may include a decoding operation and/or reception operation of a WAN DL channel and/or a WAN DL signal (e.g., PDCCH, PDSCH, PSS/SSS, etc.). The reception operation of the UE may include a sensing operation and/or a CBR measurement operation. In various embodiments of the present disclosure, the sensing operation of the UE may include PSSCH-RSRP measurement operation based on PSSCH DM-RS sequence, PSSCH-RSRP measurement operation based on the PSSCH DM-RS sequence scheduled by the PSCCH successfully decoded by the UE, sidelink RSSI (S-RSSI) measurement operation, and/or an S-RSSI measurement operation based on sub-channels related to a V2X resource pool. In various embodiments of the present disclosure, the transmission operation of the UE may include the transmission operation of a sidelink channel and/or a sidelink signal (e.g., PSCCH, PSSCH, PSFCH, PSBCH, PSSS/SSSS, etc.). Transmission operation of the UE may include transmission of a WAN UL channel and/or a WAN UL signal (e.g., PUSCH, PUCCH, SRS, etc.). In various embodiments of the present disclosure, a synchronization signal may include SLSS and/or PSBCH. In various embodiments of the present disclosure, a configuration may include signaling, signaling from a network, configuration from a network, and/or pre-configuration from a network. In various embodiments of the present disclosure, a definition may include signaling, signaling from a network, setting from a network, and/or pre-configuration from a network. In various embodiments of the present disclosure, a designation may include signaling, signaling from a network, setting from a network, and/or pre-configuration from a network. In various embodiments of the present disclosure, PPPP (ProSe Per Packet Priority) may be replaced with PPPR (ProSe Per Packet Reliability), and PPPR may be replaced with PPPP. For example, a smaller PPPP value may mean a higher priority, and a larger PPPP value may mean a lower priority. For example, a smaller PPPR value may mean higher reliability, and a larger PPPR value may mean lower reliability. For example, a PPPP value related with a service, packet, or message related to a higher priority may be less than a PPPP value related with a service, packet, or message related to a lower priority. For example, a PPPR value related with a service, packet, or message related to high reliability may be less than a PPPR value related with a service, packet, or message related to low reliability. In various embodiments of the present disclosure, a session may include at least one of unicast session (e.g., unicast session for sidelink), groupcast/multicast session (e.g., groupcast/multicast session for sidelink), and/or broadcast session (e.g., broadcast session for sidelink). In various embodiments of the present disclosure, a carrier may be interpreted as mutually extended to at least one of a BWP and/or a resource pool. For example, a carrier may include at least one of a BWP and/or a resource pool. For example, a carrier may include one or more BWPs. For example, a BWP may include one or more resource pools. Referring to A new generation evolved-NB (ng-eNB) and a gNB are network elements of NG-RAN capable of providing a measurement result for location estimation, and may measure a radio signal for a target UE and may transfer a resultant value to the LMF. In addition, the ng-eNB may control several transmission points (TPs) such as remote radio heads or PRS-dedicated TPs supporting a positioning reference signal (PRS)-based beacon system for E-UTRA. The LMF may be connected to an enhanced serving mobile location centre (E-SMLC), and the E-SMLC may allow the LMF to access E-UTRAN. For example, the E-SMLC may allow the LMF to support observed time difference of arrival (OTDOA), which is one of positioning methods of E-UTRAN, by using downlink measurement obtained by a target UE through a signal transmitted from the gNB and/or the PRS-dedicated TPs in the E-UTRAN. Meanwhile, the LMF may be connected to an SUPL location platform (SLP). The LMF may support and manage different location determining services for respective target UEs. The LMF may interact with a serving ng-eNB or serving gNB for the target UE to obtain location measurement of the UE. For positioning of the target UE, the LMF may determine a positioning method based on a location service (LCS) client type, a requested quality of service (QoS), UE positioning capabilities, gNB positioning capabilities, and ng-eNB positioning capabilities, or the like, and may apply such a positioning method to the serving gNB and/or the serving ng-eNB. In addition, the LMF may determine additional information such as a location estimation value for the target UE and accuracy of location estimation and speed. The SLP is a secure user plane location (SUPL) entity in charge of positioning through a user plane. The UE may measure a downlink signal through NG-RAN, E-UTRAN, and/or other sources such as different global navigation satellite system (GNSS) and terrestrial beacon system (TBS), wireless local access network (WLAN) access points, Bluetooth beacons, UE barometric pressure sensors or the like. The UE may include an LCS application. The UE may communicate with a network to which the UE has access, or may access the LCS application through another application included in the UE. The LCS application may include a measurement and calculation function required to determine a location of the UE. For example, the UE may include an independent positioning function such as a global positioning system (GPS), and may report the location of the UE independent of NG-RAN transmission. Positioning information obtained independently as such may be utilized as assistance information of the positioning information obtained from the network. When the UE is in a connection management (CM)-IDLE state, if an AMF receives a location service request, the AMF may establish a signaling connection with the UE, and may request for a network trigger service to allocate a specific serving gNB or ng-eNB. Such an operational process is omitted in A network operation process for measuring a location of a UE will be described in detail with reference to Thereafter, the AMF may transmit the location service request to an LMF based on step 2, and the LMF may start location procedures to obtain location measurement data or location measurement assistance data together with a serving ng-eNB and a serving gNB. Additionally, based on step 3 In step 4, the LMF may provide a location service response to the AMF. In addition, the location service response may include information on whether location estimation of the UE is successful and a location estimation value of the UE. Thereafter, if the procedure of An LPP PDU may be transmitted through a NAS PDU between an AMF and the UE. Referring to For example, based on the LPP protocol, the target device and the location server may exchange mutual capability information, assistance data for positioning, and/or location information. In addition, an LPP message may be used to indicate exchange of error information and/or interruption of the LPP procedure. The NRPPa may be used for information exchange between the NG-RAN node and the LMF. Specifically, the NRPPa may exchange an enhanced-cell ID (E-CID) for measurement, data for supporting an OTDOA positioning method, and a cell-ID, cell location ID, or the like for an NR cell ID positioning method, transmitted from the ng-eNB to the LMF. Even if there is no information on an associated NRPPa transaction, the AMF may route NRPPa PDUs based on a routing ID of an associated LMR through an NG-C interface. A procedure of an NRPPa protocol for location and data collection may be classified into two types. A first type is a UE associated procedure for transferring information on a specific UE (e.g., location measurement information or the like), and a second type is a non UE associated procedure for transferring information (e.g., gNB/ng-eNB/TP timing information, etc.) applicable to an NG-RAN node and associated TPs. The two types of the procedure may be independently supported or may be simultaneously supported. Meanwhile, examples of positioning methods supported in NG-RAN may include GNSS, OTDOA, enhanced cell ID (E-CID), barometric pressure sensor positioning, WLAN positioning, Bluetooth positioning and terrestrial beacon system (TBS), uplink time difference of arrival (UTDOA), etc. The OTDOA positioning method uses measurement timing of downlink signals received by a UE from an eNB, an ng-eNB, and a plurality of TPs including a PRS-dedicated TP. The UE measures timing of downlink signals received by using location assistance data received from a location server. In addition, a location of the UE may be determined based on such a measurement result and geometric coordinates of neighboring TPs. A UE connected to a gNB may request for a measurement gap for OTDOA measurement from the TP. If the UE cannot recognize a single frequency network (SFN) for at least one TP in the OTDOA assistance data, the UE may use an autonomous gap to obtain an SNF of an OTDOA reference cell before the measurement gap is requested to perform reference signal time difference (RSTD) measurement. Herein, the RSTD may be defined based on a smallest relative time difference between boundaries of two subframes received respectively from a reference cell and a measurement cell. That is, the RSTD may be calculated based on a relative time difference between a start time of a subframe received from the measurement cell and a start time of a subframe of a reference cell closest to the start time of the subframe received from the measurement cell. Meanwhile, the reference cell may be selected by the UE. For correct OTDOA measurement, it may be necessary to measure a time of arrival (TOA) of a signal received from three or more TPs or BSs geometrically distributed. For example, a TOA may be measured for each of a TP1, a TP2, and a TP3, and RSTD for TP 1−TP 2, RSTD for TP 2−TP 3, and RSTD for TP 3−TP 1 may be calculated for the three TOAs. Based on this, a geometric hyperbola may be determined, and a point at which these hyperbolas intersect may be estimated as a location of a UE. In this case, since accuracy and/or uncertainty for each TOA measurement may be present, the estimated location of the UE may be known as a specific range based on measurement uncertainty. For example, RSTD for two TPs may be calculated based on Equation D1. Herein, c may be the speed of light, {xt, yt} may be a (unknown) coordinate of a target UE, {xi, yi} may be a coordinate of a (known) TP, and {x1, y1} may be a coordinate of a reference TP (or another TP). Herein, (Ti−T1) may be referred to as “real time differences (RTDs)” as a transmission time offset between two TPs, and ni, n1 may represent values related to UE TOA measurement errors. In a cell ID (CID) positioning method, a location of a UE may be measured through geometric information of a serving ng-eNB, serving gNB, and/or serving cell of the UE. For example, the geometric information of the serving ng-eNB, serving gNB, and/or serving cell may be obtained through paging, registration, or the like. Meanwhile, in addition to the CID positioning method, an E-CID positioning method may use additional UE measurement and/or NG-RAN radio resources or the like to improve a UE location estimation value. In the E-CID positioning method, although some of the measurement methods which are the same as those used in a measurement control system of an RRC protocol may be used, additional measurement is not performed in general only for location measurement of the UE. In other words, a measurement configuration or a measurement control message may not be provided additionally to measure the location of the UE. Also, the UE may not expect that an additional measurement operation only for location measurement will be requested, and may report a measurement value obtained through measurement methods in which the UE can perform measurement in a general manner. For example, the serving gNB may use an E-UTRA measurement value provided from the UE to implement the E-CID positioning method. Examples of a measurement element that can be used for E-CID positioning may be as follows.
Herein, the TADV may be classified into Type 1 and Type 2 as follows. Meanwhile, AoA may be used to measure a direction of the UE. The AoA may be defined as an estimation angle with respect to the location of the UE counterclockwise from a BS/TP. In this case, a geographic reference direction may be north. The BS/TP may use an uplink signal such as a sounding reference signal (SRS) and/or a demodulation reference signal (DMRS) for AoA measurement. In addition, the larger the arrangement of the antenna array, the higher the measurement accuracy of the AoA. When the antenna arrays are arranged with the same interval, signals received from adjacent antenna elements may have a constant phase-rotate. UTDOA is a method of determining a location of a UE by estimating an arrival time of SRS. When calculating an estimated SRS arrival time, the location of the UE may be estimated through an arrival time difference with respect to another cell (or BS/TP) by using a serving cell as a reference cell. In order to implement the UTDOA, E-SMLC may indicate a serving cell of a target UE to indicate SRS transmission to the target UE. In addition, the E-SMLC may provide a configuration such as whether the SRS is periodical/aperiodical, a bandwidth, frequency/group/sequence hopping, or the like. Meanwhile, an existing service for measuring a location of a UE may be performed by a Location service (LCS) server. That is, for example, when a UE, a Mobility Management Entity (MME), or an LCS server attempts to measure a location of a specific UE, the LCS server may be finally requested to provide a location measurement service of the corresponding UE. In order to perform this request, the LCS server may request a base station to perform a process of measuring the location of the corresponding UE. In this case, for example, the LCS server may configure or determine parameters related to a Positioning Reference Signal (PRS) transmitted by the base station or the terminal for location measurement. For example, for position estimation through downlink transmission, a plurality of base stations may transmit PRSs to a UE, and the UE may feedback a difference in reception times of PRSs transmitted from each base station to the LCS server. Though this, the LCS server may finally estimate the location of the UE. For example, for position estimation through uplink transmission, the UE may transmit sounding reference signals (SRSs) to a plurality of base stations, and each base station may transmit a reception time of the SRS transmitted from the UE to the LC S server. Though this, the LCS server may finally estimate the location of the UE. For example, using an identification (ID) of a cell to which a base station belongs, the UE may feedback reception power for a reference signal received from the base station to the LSC server. Though this, the LCS server may roughly estimate the distance the UE is away from the base station. For example, a position and a location may have the same meaning. For example, the above-described prior art may estimate the location of the UE, based on a core network including an MME and an LCS server and that manages the location estimation of the UE, a radio access network (RAN) including a plurality of base stations and transmission point (TP). Therefore, a Uu interface connecting the UE and the base station is used, and the UE must exist within a coverage of the base station. However, if an area is out of the coverage of the base station or without the help of the base station, it may not be possible to estimate the location of the UE based on the mutual communication of the UEs. The present disclosure proposes a method for estimating the location of a UE, without the aid of a base station or an LCS server, based on the mutual operation of the UEs. For example, the UE may include a mobile device, a V2X module, an IoT device, or a UE-type Road Side Unit (RSU). For example, in the present disclosure, from the perspective of the positioning service, the UE may be divided into two types of roles. For example, a target UE may be defined as a UE that is a target of location estimation. For example, a server UE may be defined as a UE that performs an operation to assist in estimating the location of a target UE. Sidelink positioning estimates the location of the UE only through the operation between the target UE and the server UE, and other entities participating in the existing positioning technology based on the Uu interface such as MME, LCS server, base station, etc. may not be required. In the present disclosure, as a method of sidelink positioning for estimating a location of a UE through communication between a target and a server without assistance of a base station and an LCS server, an SL TDOA (S-TDOA) method is proposed in which a target and a plurality of servers measure RSTD based on a positioning reference signal (hereinafter, PRS) and estimate a location of the target using these RSTD values. By minimizing a use of higher layer signaling (e.g., NAS layer signaling) such as an existing LTE positioning protocol (LPP) message, and performing a communication between a target and a server based on AS layer signaling, the proposed method was used in a way that minimizes the latency required to perform the positioning process. The PRS may be a reference signal, a DM-RS of a PSCCH/PSSCH/PSFCH, a S-SSB/PSS/SSS or a DM-RS of a PSBCH. In addition, the PRS may be transmitted in a standalone mode in a pre-configured form, or may be transmitted in a non-standalone mode together with a S-SSB or a PSCCH/PSSCH. The UE performing a server role may be a UE that knows its location through a GPS or the like, or may be a UE-type RSU that is installed with a fixed location or is movably installed but knows its location. S-TDOA-based positioning may be divided into Target PRS-based S-TDOA in which the target transmits PRS and Server PRS-based S-TDOA in which the server transmits PRS, and the target PRS-based S-TDOA may be subdivided into a type-1 method in which the server transmits a TOA to the target and a type-2 method in which an anchor server transmits an RSTD to the target. Hereinafter, a target PRS-based S-TDOA according to an embodiment will be described with reference to An embodiment according to The target according to an embodiment may transmit an S-TDOA participation request to neighboring UEs. For example, the target may transmit an S-TDOA participation request to neighboring UEs through a transmitting a PSCCH or a PC5 RRC or a MAC CE, or the target may replace the S-TDOA participation request by transmitting a PRS to neighboring UEs without a separate S-TDOA participation request. For example, the target may inform neighboring UEs of a target ID through a PSCCH, a PC5 RRC, or a MAC CE together with an S-TDOA participation request. In an embodiment, the neighboring UE receiving the S-TDOA participation request from the target may accept or reject the S-TDOA participation request. For example, if the RSRP for the PSCCH/PSSCH/PSBCH DMRS transmitted by the target is less than a (pre) configured threshold, the UE may reject by determining that a distance between them is too far to be conducive to S-TDOA participation. For example, since a priority of a service provided to the UE or a service provided by the UE by allocating resources is higher than a priority of a service provided to the target through the S-TDOA or a service provided by the target through the S-TDOA, the UE may reject the S-TDOA participation request. Alternatively, for example, in consideration of a reliability of the location, the UE may reject the (S-TDOA participation) request by determining that the UE does not know a sufficiently accurate location if the reliability is less than a (pre)configured threshold. For example, if a utilization ratio of the transmission channel is greater than or equal to a (pre)configured threshold, the UE may reject the (S-TDOA participation) request because it worsens channel congestion and does not obtain a transmission opportunity. For example, the UE may accept the (S-TDOA participation) request if it does not correspond to the above examples. For example, the UE may accept or reject the (S-TDOA participation) request according to the UE type. In one example, the UE may accept the(S-TDOA participation) request without conditions when the UE type is RSU, and in the case of a general UE, may determine to accept the (S-TDOA participation) request in consideration of the above rejection condition. For example, the UE may signal acceptance and rejection of the (S-TDOA participation) request to the target through a PSCCH, a PC5 RRC or a MAC CE transmitted by the UE. In this case, resources for transmitting acceptance and rejection of the request may be informed to the UE through a PSCCH, a MAC CE, or a PC5 RRC transmitted by the target. For example, at a specific time has elapsed after a PSCCH reception time transmitted by the target, or at the earliest possible transmission time determined through sensing of channel resources after a specific time has elapsed, the UE may transmit acceptance and rejection of the (S-TDOA participation) request to the target. Alternatively, if the target informs the UE of resources through a PSCCH, a PC5 RRC or a MAC CE, and the resources are resources that the UE cannot use because the target uses or plans to use it, the UE may determine a resource based on sensing among resources other than the corresponding resources and transmit acceptance and rejection of the (S-TDOA participation) request. Alternatively, if a pool of resources available to the UE is signaled (by the target), the UE may select a resource from among the resources based on sensing and transmit acceptance and rejection of the (S-TDOA participation) request. Alternatively, the UE may transmit acceptance and rejection of the (S-TDOA participation) request at a specific time determined by a specific rule according to a PSCCH transmission time transmitted by the target. For example, the UE that has accepted the (S-TDOA participation) request may transmit its own unique UE ID together with the accept message, and the target may use the received UE ID as a Server ID in the future. For example, if a server is an RSU, since the target already knows a database for the RSU in advance, a unique RSU ID assigned to the RSU may be used as a server ID without a separate ID transmission. For example, the UE that has accepted the (S-TDOA participation) request may transmit its absolute position and an estimation error range for the absolute position it is checking together with an acceptance message. That is, the UE may transmit both an estimate for its absolute position and an error range for the estimate. In one embodiment, the target may transmit a PRS to the servers that have accepted the S-TDOA participation request. For example, PRS-related parameters to be transmitted by the target may be (pre) configured through a PC5 RRC, a MAC CE, etc. transmitted by the target or signaled through a PSCCH, and PRS-related parameters supported by the servers may be (pre) configured through a PC5 RRC, a MAC CE, etc. transmitted by the server, or may be signaled through a PSCCH. For example, the target may generate a limited number of local IDs for each server based on Server IDs transmitted by the servers when accepting the request. In the case of Type-2 operation, the target may generate an anchor ID to minimize resources required for ID transmission. For example, the target may define the servers that have accepted the request as one group and generate a group ID. For example, the target may use all or some bits (e.g., a Least Significant Bit (LSB)) of information indicating the geographic zone, as a Most Significant Bit (MSB), and the target may determine and/or generate a local ID as a unique ID for each server by taking the number of allowable servers as the LSB. For example, the target may use all or some bits (e.g., a LSB) of a base station's SSID, as a MSB, and the target may determine and/or generate a local ID as a unique ID for each server by taking the number of allowable servers as the LSB. For example, the SSID may be a sidelink synchronization identifier. For example, the SSID may be a service set identifier. For example, the target may determine all or a part (e.g., a LSB) of a server ID uniquely assigned in advance, as the local ID. For example, the group ID may be generated using some bits such as a MSB of the generated local ID. For example, a target server for receiving a PRS transmitted by a target may be determined based on a server ID, local ID, or group ID, by signaling the ID information through the PSCCH transmitted by the target, other UEs may ignore the PRS without receiving it. For example, by giving a common ID indicating that it is a PRS required for S-TDOA operation so that all (neighbor) UEs can receive it regardless of server ID, local ID, and group ID, the target may request the UEs to participate in S-TDOA only by transmitting the PRS instead of the request message. For example, resources required for the target to transmit the PRS may be determined by a predefined specific rule according to the server ID, local ID, or group ID, the resources may be allocated to be orthogonal to PRS resources transmitted by another targets to other servers in a time/frequency domain. For example, the target may reserve resources through a PSCCH, by transmitting reservation information through a SCI, the target can prevent other UEs from sensing and using the reservation information for the corresponding resources. For example, a PRS may be transmitted when a specific time has elapsed after a transmission time of a PSCCH transmitted by the target, or at the earliest transmittable time determined through sensing of channel resources after a specific time has elapsed. For example, the target may transmit a PRS at a specific time determined by a specific rule according to a PSCCH transmission time transmitted by the target. Alternatively, by reserving resources through a PSCCH transmitted by the server and transmitting reservation information through a SCI, other UEs may sense the reservation information for the corresponding resources and it is possible to prevent other UEs from using the corresponding resources. For example, the target may transmit a PRS when a specific time has elapsed after a transmission time of a PSCCH transmitted by the server, or at the earliest transmittable time determined through sensing of channel resources after a specific time has elapsed. For example, if the server informs the target of resources that the target cannot use because the server uses or plans to use the resources, the target may transmit a PRS by determining a resource based on sensing among resources excluding the corresponding resources. For example, if the target is informed of a pool of resources that the target can use, the target may select a resource from among the resources based on sensing and transmit a PRS. For example, the target may transmit a PRS at a specific time determined by a specific rule according to a PSCCH transmission time transmitted by the server. For example, if the server is RSU, the RSU may designate resources necessary for transmitting/receiving all data, channels, or signals, including a PRS transmitted by the target, through a PC5 RRC, a MAC CE, a SCI, and the like. This operation corresponds to all cases that the RSU is a UE-type or a gNB-type, the RSU may coordinate with the gNB to allocate transmission/reception resources necessary for the target, or the RSU may be equipped with a part of the gNB function to allocate transmission/reception resources of the target. In this case, the RSU may allocate the target in a form of a resource pool so that the target selects resources to be actually used based on sensing from among the allocated resource pool, or the RSU may directly allocate resources to be used by the target. Hereinafter, Type-1 operation according to an embodiment will be described. For example, in Type-1 operation, each server may transmit a TOA (Time Of Arrival) at which the PRS is received and server's absolute position and an estimation error range for the absolute position to the target through a PSCCH, a PC5 RRC or a MAC CE transmitted by the server. For example, when the servers transmit the information to the target, the target ID received upon request may be used as the destination ID, and may be transmitted on a unicast basis. For example, resources required for the server to transmit the information may be reserved through a PSCCH transmitted by the target or the server, by transmitting the reservation information through a SCI, other UEs may sense the reservation information for the corresponding resources and it is possible to prevent other UEs from using the corresponding resources. For example, the target may signal resource reservation information to the server through a PC5 RRC or a MAC CE. For example, when a specific time elapses after a PSCCH or a PRS transmitted by the target is received by the server, or at the earliest transmittable time determined through sensing of channel resources after a specific time has elapsed, the server may transmit to the target a time of reception of the PRS (TOA), server's absolute position, and an estimation error range for the absolute position. For example, when the target informs the server of resources that the server cannot use because the target uses or plans to use the resources, the server may determine a resource based on sensing among resources excluding the corresponding resources, and the server may transmit to the target a time of reception of the PRS (TOA), server's absolute position, and an estimation error range for the absolute position. For example, if the target informs a pool of resources that the server can use, the server may select a resource from among the resources based on sensing and transmit the information. For example, the server may perform transmission at a specific time determined by a specific rule according to a transmission time of a PSCCH transmitted by the target. For example, according to a predefined rule based on a server ID, local ID, or group ID that the target informs the server through a PSCCH, a PC5 RRC or a MAC CE, the server may perform transmission based on resources determined to be mutually orthogonal in a time/frequency domain with respect to resources transmitted by other servers. Hereinafter, a Type-2 operation according to an embodiment will be described. For example, in Type-2 operation, each server transmits to an anchor server a time point (TOA) at which the PRS was received and server's absolute position and an estimated error range for the absolute position, only the anchor server among the servers may transmit a RSTD value of each server and the absolute position and the estimation error range for the absolute position to the target. For example, when an anchor server transmits the information to the target, the anchor server may transmit on a unicast basis using a target ID (transmitted when the target requests to participate in S-TDOA) as a destination ID. For example, based on a RSRP for a DM-RS included in a PSCCH/PSSCH/PSBCH transmitted by servers when S-TDOA is accepted, the anchor server may be determined. By designating the server with the highest RSRP as the anchor server, the target may inform the servers through a PSCCH/PC5 RRC/MAC CE. Alternatively, if the servers are RSUs, an anchor server may be determined in advance through mutual coordination between RSUs using an absolute position of the RSU stored in the RSU database. For example, an accuracy of calculating the absolute position of the target based on the RSTD may be improved by determining the RSU located in the center as the anchor server in consideration of the absolute positions of the RSUs. For example, resources may be reserved through a PSCCH transmitted by the target or server. The resources may include resources required for servers to transmit their TOA and their absolute position and the estimated error range for the absolute position to the anchor server, and resources required for the anchor server to transmit to the target the RSTD of the servers and the absolute position and the estimated error range for the absolute position. And, by the target or server transmitting reservation information through a SCI, other UEs may sense the reservation information for the corresponding resources and it is possible to prevent other UEs from using the corresponding resources. For example, the target may signal resource reservation information to the server through a PC5 RRC or a MAC CE. For example, resources may be determined based on a time at which a specific time has elapsed after a PSCCH or a PRS reception time transmitted by the target, or the earliest transmittable time determined through sensing of channel resources after a specific time has elapsed. The resources may include resources required for servers to transmit their TOA and their absolute position and the estimated error range for the absolute position to the anchor server, and resources required for the anchor server to transmit to the target the RSTD of the servers and the absolute position and the estimated error range for the absolute position. For example, when the target informs the server of first resources that the server cannot use because the target uses or plans to use it, resources may be determined by the server based on sensing among resources excluding the first resources. The resources may include resources required for servers to transmit their TOA and their absolute position and the estimated error range for the absolute position to the anchor server, and resources required for the anchor server to transmit to the target the RSTD of the servers and the absolute position and the estimated error range for the absolute position. For example, when the target informs the server of a pool of resources that the server can use, the server may select the above-mentioned resources from among the corresponding resources based on sensing. For example, the above-described resources may be determined based on a specific time determined by a specific rule according to a PSCCH transmission time transmitted by the target. For example, the above-mentioned resources may be determined by a pre-defined specific rule according to a server ID, a local ID, an anchor ID, or a group ID that the target informs the server through a PSCCH/PC5 RRC/MAC CE, and the above-described resources may be mutually orthogonal to resources transmitted by other servers in a time/frequency domain. For example, an operation of the anchor server transmitting a RSTD value of each server and an absolute position of each server and an estimation error range for the absolute position of each server to the target may be allocated with a higher priority than an operation of the each server. The operation of the each server may be an operation in which each server transmits its own TOA, absolute position, and estimation error range for the absolute position to the anchor server. In an embodiment, the target may calculate an absolute position of itself (target) based on the TOA or RSTD value. For example, in the case of Type-1 operation, the target may find out a relative location of the target by calculating the RSTD between the servers based on the TOAs received from the servers, and the target may finally determine the absolute position of the target in consideration of the absolute position of each server and the estimation error range for the absolute position. For example, in the case of Type-2 operation, the target may find out a relative location of the target based on the RSTD values received from the anchor server, and the target may (finally) determine the absolute position of the target in consideration of the absolute positions of each server and the estimation error range for the absolute positions, received from the respective servers or the anchor server. An embodiment according to In one embodiment, the target may transmit an S-TDOA participation request to neighboring UEs. For example, the target may transmit (S-TDOA) participation request to neighboring UEs through a PSCCH, a PC5 RRC or a MAC CE. For example, the target may replace the S-TDOA participation request by directly transmitting a PRS to neighboring UEs without a separate S-TDOA participation request. For example, the target may inform neighboring UEs of a target ID through a PSCCH, a PC5 RRC, or a MAC CE together with an S-TDOA participation request. In an embodiment, the UE may accept or reject the S-TDOA participation request. For example, if a RSRP for a PSCCH/PSSCH/PSBCH DMRS transmitted by the target is less than a (pre) configured threshold, the UE may reject by determining that a distance between them is too far to be conducive to S-TDOA participation. For example, since a priority of a service provided to the UE or a service provided by the UE by allocating resources is higher than a priority of a service provided to the target through the S-TDOA or a service provided by the target through the S-TDOA, the UE may reject the S-TDOA participation request. For example, in consideration of a reliability of the own location, the UE may reject the (S-TDOA participation) request by determining that the UE does not know a sufficiently accurate location if the reliability is less than a (pre)configured threshold. For example, if a utilization ratio of the transmission channel is greater than or equal to a (pre)configured threshold, the UE may reject the (S-TDOA participation) request because it worsens channel congestion and does not obtain a transmission opportunity. For example, the UE may accept the (S-TDOA participation) request if it does not correspond to the above examples. For example, the UE may accept or reject the (S-TDOA participation) request according to the UE type. In one example, the UE may accept the(S-TDOA participation) request without conditions when the UE type is RSU, and in the case of a general UE, may determine to accept the (S-TDOA participation) request in consideration of the above rejection condition. For example, the UE may signal acceptance and rejection of the (S-TDOA participation) request to the target through a PSCCH, a PC5 RRC or a MAC CE transmitted by the UE. For example, resources for transmitting acceptance and rejection of the request may be informed to the UE through a PSCCH, a MAC CE, or a PC5 RRC transmitted by the target. For example, at a specific time has elapsed after a PSCCH reception time transmitted by the target, or at the earliest possible transmission time determined through sensing of channel resources after a specific time has elapsed, the UE may transmit acceptance and rejection of the (S-TDOA participation) request to the target. For example, if the target informs the UE of resources through a PSCCH, a PC5 RRC or a MAC CE, and the resources are resources that the UE cannot use because the target uses or plans to use it, the UE may determine a resource based on sensing among resources other than the corresponding resources and transmit acceptance and rejection of the (S-TDOA participation) request. For example, if a pool of resources available to the UE is signaled (by the target), the UE may select a resource from among the resources based on sensing and transmit acceptance and rejection of the (S-TDOA participation) request. For example, the UE may transmit acceptance and rejection of the (S-TDOA participation) request at a specific time determined by a specific rule according to a PSCCH transmission time transmitted by the target. For example, the UE that has accepted the (S-TDOA participation) request may transmit its own unique UE ID together with the accept message, and the target may use the received UE ID as a Server ID in the future. For example, if a server is an RSU, since the target already knows a database for the RSU in advance, a unique RSU ID assigned to the RSU may be used as a server ID without a separate ID transmission. For example, the UE that has accepted the (S-TDOA participation) request may transmit its absolute position and an estimation error range for the absolute position it is checking together with an acceptance message. In one embodiment, each server that has accepted the S-TDOA participation request may transmit a PRS to the target. For example, PRS-related parameters to be transmitted by the server may be (pre) configured through a PC5 RRC, a MAC CE transmitted by the server or signaled through a PSCCH, and PRS-related parameters supported by the target may be (pre) configured through a PC5 RRC, a MAC CE transmitted by the target, or may be signaled through a PSCCH. For example, a target for receiving the PRS transmitted by the server may be determined based on the target ID, the server signals the ID information through a PSCCH transmitted by the server, so that other UEs can ignore the PRS without receiving it. For example, by giving a common ID indicating that it is a PRS required for S-TDOA operation so that all UEs can receive it regardless of the target ID, All UEs may receive the PRS. For example, by sensing a server ID that other servers transmit PSCCH, each server may generate a local ID, group ID, anchor ID by themselves according to a predetermined rule. For example, to generate a local ID, all or some bits (e.g., a LSB) of information indicating the geographic zone may be used as a MSB, and using the number of allowable servers as the LSB, it is possible to determine a unique ID for each server. For example, all or some bits (e.g., a LSB) of a base station's SSID may be used as a MSB, and using the number of allowable servers as the LSB, it is possible to determine a unique ID for each server. For example, all or a part (e.g., a LSB) of a server ID uniquely assigned in advance may be determined as a local ID. For example, a group ID may be generated using some bits such as the MSB of the generated local ID. For example, the server ID or local ID of the anchor server may be used as the anchor ID as it is. For example, by using a separate flag bit indicating that it is an anchor server, the anchor server can be designated by a value of 0 or 1. For example, resources required for the server to transmit a PRS may be determined by a predefined specific rule according to the server ID, local ID, anchor ID, or group ID, the resources may be allocated to be orthogonal to PRS resources transmitted by another servers in a time/frequency domain. For example, the server may reserve resources through a PSCCH, by transmitting reservation information through a SCI, the server can prevent other UEs from sensing and using the reservation information for the corresponding resources. For example, a PRS may be transmitted when a specific time has elapsed after a transmission time of a PSCCH transmitted by the server, or at the earliest transmittable time determined through sensing of channel resources after a specific time has elapsed. For example, the target may transmit a PRS at a specific time determined by a specific rule according to a PSCCH transmission time transmitted by the server. For example, by reserving resources through a PSCCH transmitted by the target and transmitting reservation information through a SCI, other UEs may sense the reservation information for the corresponding resources and it is possible to prevent other UEs from using the corresponding resources. For example, a PRS may be transmitted when a specific time has elapsed after a transmission time of a PSCCH transmitted by the target, or at the earliest transmittable time determined through sensing of channel resources after a specific time has elapsed. For example, if the target informs the server of resources that the target cannot use because the target uses or plans to use the resources, the server may transmit a PRS by determining a resource based on sensing among resources excluding the corresponding resources. For example, if the server is informed of a pool of resources that the server can use, the server may select a resource from among the resources based on sensing and transmit a PRS. For example, the server may transmit a PRS at a specific time determined by a specific rule according to a PSCCH transmission time transmitted by the target. In one embodiment, the target may calculate an absolute position based on a PRS received from each server. For example, the target may measure a TOA, which is the reception point of a PRS received from the servers, and the target may find out a relative position of the target by calculating the RSTD between servers, and the target may (finally) determine (or confirm) an absolute position of the target in consideration of the absolute position of each server and an estimation error range for the absolute position. Some embodiments of the present disclosure propose a method of calculating an absolute position of a UE based on a distance difference (RSTD) between UEs in communication between sidelink UEs without the assistance of a base station, an MME, or an LCS server. The proposed method eliminates a time delay required to perform communication with the base station, MME or LCS server in order to estimate a location of the target, and the proposed method has the advantage of minimizing the time delay required for location estimation using only communication between UEs. Through some embodiments of the present disclosure, in order to minimize a time delay required to measure an absolute position, it is possible to use a method of estimating the position only by AS layer communication, and a method for efficiently allocating resources required for each UE to transmit and receive a S-TDOA participation request/response (acceptance and rejection)/PRS/TOA, and a method of selecting an anchor server from among the servers and transmitting the RSTD instead of the TOA on behalf of the servers are proposed. The operations disclosed in the flowchart of In step S1910, the first device according to an embodiment may transmit positioning reference signals (PRSs) to a plurality of servers. In step S1920, the first device according to an embodiment may receive, from one anchor server among the plurality of servers, information on reference signal time difference (RSTD) values for differences between times when the plurality of servers received the PRSs and information on an absolute position of each of the plurality of servers. In step S1930, the first device according to an embodiment may determine a location of the first device based on the information on the RSTD values and the information on the absolute position of each of the plurality of servers. In an embodiment, a plurality of time of arrival (TOA) information representing when each of the plurality of servers received the PRSs and information on the absolute position of each of the plurality of servers may be transmitted from the plurality of servers to the anchor server. The information on the RSTD values may be determined based on the plurality of TOA information by the anchor server. In an embodiment, the anchor server may be a road side unit (RSU), and the plurality of servers other than the anchor server may be user equipment (UE). In an embodiment, the first device may receive, from the anchor server, an anchor flag representing whether the anchor server is an anchor among the plurality of servers. In an embodiment, the first device may transmit, to a plurality of neighbor devices, information for sidelink-time difference of arrival (S-TDOA) participation request, and the first device may receive, from some devices of the plurality of neighbor devices, S-TDOA participation acceptance information for the information for the S-TDOA participation request. In an embodiment, the PRSs may be transmitted to the some devices, and the some devices are the plurality of servers. In an embodiment, the transmitting the PRSs to the plurality of servers by the first device may comprise generating a local ID for each of the plurality of servers by the first device and transmitting, to the plurality of servers, the local ID by the first device. In an embodiment, the local ID may be generated based on at least one of the number of the plurality of servers, a server ID of each of the plurality of servers, a geographic zone related to the plurality of servers, a sidelink synchronization identifier (SSID) of a base station, or a group ID of a group defined by the plurality of servers. In an embodiment, the transmitting the PRSs to the plurality of servers by the first device may comprise transmitting, by the first device to a plurality of neighbor devices including the plurality of servers the PRSs and a common ID representing that the PRSs relate to a request to participate in S-TDOA. The request to participate in the S-TDOA may be accepted by the plurality of servers among the plurality of neighbor devices. In an embodiment, the plurality of servers may be RSUs, and the anchor server may be an RSU located geographically centrally among the plurality of servers. In an embodiment, the information on the absolute position of each of the plurality of servers may include an estimate for the absolute position of each of the plurality of servers and an error for the absolute position of each of the plurality of servers. In an embodiment, the PRSs, the information on the RSTD values, TOA information of each of the plurality of servers, and the information on the absolute position of each of the plurality of servers may be signaled on an access stratum (AS) layer. In an embodiment, the plurality of servers may form a sidelink positioning group, and the anchor server may be determined from among group members of the sidelink positioning group. The information on the RSTD values transmitted by the anchor server to the first device and the information on the absolute position of each of the plurality of servers may have a higher priority than data transmitted by the remaining group members except for the anchor server in the sidelink positioning group. According to an embodiment of the present disclosure, a first device configured to perform wireless communication may be provided. For example, the first device may comprise: one or more memories storing instructions; one or more transceivers; and one or more processors connected to the one or more memories and the one or more transceivers. For example, the one or more processors may execute the instructions to: transmit, to a plurality of servers, positioning reference signals (PRSs), receive, from one anchor server among the plurality of servers, information on reference signal time difference (RSTD) values for differences between times when the plurality of servers received the PRSs and information on an absolute position of each of the plurality of servers, and determine a location of the first device based on the information on the RSTD values and the information on the absolute position of each of the plurality of servers. According to an embodiment of the present disclosure, an apparatus configured to control a first user equipment (UE) may be provided. For example, the apparatus may comprise: one or more processors; and one or more memories operably connected to the one or more processors and storing instructions. For example, the one or more processors may execute the instructions to: transmit, to a plurality of servers, positioning reference signals (PRSs), receive, from one anchor server among the plurality of servers, information on reference signal time difference (RSTD) values for differences between times when the plurality of servers received the PRSs and information on an absolute position of each of the plurality of servers, and determine a location of the first UE based on the information on the RSTD values and the information on the absolute position of each of the plurality of servers. In one example, the first UE of the embodiment may refer to the first device described throughout the present disclosure. In one example, the at least one processor, the at least one memory, etc. in the device for controlling the first UE may be implemented as separate sub-chips, respectively, in addition, at least two or more components may be implemented through one sub-chip. According to an embodiment of the present disclosure, a non-transitory computer-readable storage medium storing instructions may be provided. For example, the instructions, when executed, cause a first device to: transmit, to a plurality of servers, positioning reference signals (PRSs), receive, from one anchor server among the plurality of servers, information on reference signal time difference (RSTD) values for differences between times when the plurality of servers received the PRSs and information on an absolute position of each of the plurality of servers, and determine a location of the first device based on the information on the RSTD values and the information on the absolute position of each of the plurality of servers. The operations disclosed in the flowchart of In step S2010, the anchor server according to an embodiment may receive, from a first device, a PRS. In step S2020, the anchor server according to an embodiment may receive, from a plurality of servers that have received the PRS from the first device, information on time of arrival (TOA) values representing when the plurality of servers received the PRS and information on an absolute position of each of the plurality of servers. In step S2030, the anchor server according to an embodiment may determine information on RSTD values representing differences between times when the plurality of servers receive the PRS based on the information on the TOA values. In step S2040, the anchor server according to an embodiment may transmit, to the first device, the information on the RSTD values and the information on the absolute position of each of the plurality of servers. In an embodiment, the anchor server may transmit, to the first device, an anchor flag representing whether the anchor server is an anchor among the anchor server and the plurality of servers. In an embodiment, the anchor server may be a road side unit (RSU), and the plurality of servers other than the anchor server may be user equipment (UE). In an embodiment, the first device may receive, from the anchor server, an anchor flag representing whether the anchor server is an anchor among the plurality of servers. In an embodiment, the first device may transmit, to a plurality of neighbor devices, information for sidelink-time difference of arrival (S-TDOA) participation request, and the first device may receive, from some devices of the plurality of neighbor devices, S-TDOA participation acceptance information for the information for the S-TDOA participation request. In an embodiment, the PRSs may be transmitted to the some devices, and the some devices are the plurality of servers. In an embodiment, the transmitting the PRSs to the plurality of servers by the first device may comprise generating a local ID for each of the plurality of servers by the first device and transmitting, to the plurality of servers, the local ID by the first device. In an embodiment, the local ID may be generated based on at least one of the number of the plurality of servers, a server ID of each of the plurality of servers, a geographic zone related to the plurality of servers, a sidelink synchronization identifier (SSID) of a base station, or a group ID of a group defined by the plurality of servers. In an embodiment, the transmitting the PRSs to the plurality of servers by the first device may comprise transmitting, by the first device to a plurality of neighbor devices including the plurality of servers the PRSs and a common ID representing that the PRSs relate to a request to participate in S-TDOA. The request to participate in the S-TDOA may be accepted by the plurality of servers among the plurality of neighbor devices. In an embodiment, the plurality of servers may be RSUs, and the anchor server may be an RSU located geographically centrally among the plurality of servers. In an embodiment, the information on the absolute position of each of the plurality of servers may include an estimate for the absolute position of each of the plurality of servers and an error for the absolute position of each of the plurality of servers. In an embodiment, the PRSs, the information on the RSTD values, TOA information of each of the plurality of servers, and the information on the absolute position of each of the plurality of servers may be signaled on an access stratum (AS) layer. In an embodiment, the plurality of servers may form a sidelink positioning group, and the anchor server may be determined from among group members of the sidelink positioning group. The information on the RSTD values transmitted by the anchor server to the first device and the information on the absolute position of each of the plurality of servers may have a higher priority than data transmitted by the remaining group members except for the anchor server in the sidelink positioning group. According to an embodiment of the present disclosure, an anchor server configured to perform wireless communication may be provided. For example, the anchor server may comprise: one or more memories storing instructions; one or more transceivers; and one or more processors connected to the one or more memories and the one or more transceivers. For example, the one or more processors may execute the instructions to: receive, from a first device, a PRS, receive, from a plurality of servers that have received the PRS from the first device, information on time of arrival (TOA) values representing when the plurality of servers received the PRS and information on absolute position of each of the plurality of servers, determine information on RSTD values representing differences between times when the plurality of servers receive the PRS based on the information on the TOA values, and transmit, to the first device, the information on the RSTD values and the information on the absolute position of each of the plurality of servers. Various embodiments of the present disclosure may be implemented independently. Alternatively, various embodiments of the present disclosure may be implemented in combination with or merged with each other. For example, various embodiments of the present disclosure have been described based on a 3GPP system for convenience of description, but various embodiments of the present disclosure may be extendable to systems other than the 3GPP system. For example, various embodiments of the present disclosure are not limited only to direct communication between terminals, and may be used in uplink or downlink, and in this case, a base station or a relay node may use the method proposed according to various embodiments of the present disclosure. For example, information on whether the method according to various embodiments of the present disclosure is applied may be defined so that the base station informs the terminal or the transmitting terminal informs the receiving terminal through a predefined signal (e.g., a physical layer signal or a higher layer signal). For example, among various embodiments of the present disclosure, some embodiments may be limitedly applied only to resource allocation mode 1. For example, among various embodiments of the present disclosure, some embodiments may be limitedly applied only to resource allocation mode 2. Hereinafter, an apparatus to which various embodiments of the present disclosure can be applied will be described. The various descriptions, functions, procedures, proposals, methods, and/or operational flowcharts of the present disclosure described in this document may be applied to, without being limited to, a variety of fields requiring wireless communication/connection (e.g., 5G) between devices. Hereinafter, a description will be given in more detail with reference to the drawings. In the following drawings/description, the same reference symbols may denote the same or corresponding hardware blocks, software blocks, or functional blocks unless described otherwise. Referring to The wireless devices 100 Wireless communication/connections 150 Referring to The first wireless device 100 may include one or more processors 102 and one or more memories 104 and additionally further include one or more transceivers 106 and/or one or more antennas 108. The processor(s) 102 may control the memory(s) 104 and/or the transceiver(s) 106 and may be configured to implement the descriptions, functions, procedures, proposals, methods, and/or operational flowcharts disclosed in this document. For example, the processor(s) 102 may process information within the memory(s) 104 to generate first information/signals and then transmit radio signals including the first information/signals through the transceiver(s) 106. The processor(s) 102 may receive radio signals including second information/signals through the transceiver 106 and then store information obtained by processing the second information/signals in the memory(s) 104. The memory(s) 104 may be connected to the processor(s) 102 and may store a variety of information related to operations of the processor(s) 102. For example, the memory(s) 104 may store software code including commands for performing a part or the entirety of processes controlled by the processor(s) 102 or for performing the descriptions, functions, procedures, proposals, methods, and/or operational flowcharts disclosed in this document. Herein, the processor(s) 102 and the memory(s) 104 may be a part of a communication modem/circuit/chip designed to implement RAT (e.g., LTE or NR). The transceiver(s) 106 may be connected to the processor(s) 102 and transmit and/or receive radio signals through one or more antennas 108. Each of the transceiver(s) 106 may include a transmitter and/or a receiver. The transceiver(s) 106 may be interchangeably used with Radio Frequency (RF) unit(s). In the present disclosure, the wireless device may represent a communication modem/circuit/chip. The second wireless device 200 may include one or more processors 202 and one or more memories 204 and additionally further include one or more transceivers 206 and/or one or more antennas 208. The processor(s) 202 may control the memory(s) 204 and/or the transceiver(s) 206 and may be configured to implement the descriptions, functions, procedures, proposals, methods, and/or operational flowcharts disclosed in this document. For example, the processor(s) 202 may process information within the memory(s) 204 to generate third information/signals and then transmit radio signals including the third information/signals through the transceiver(s) 206. The processor(s) 202 may receive radio signals including fourth information/signals through the transceiver(s) 106 and then store information obtained by processing the fourth information/signals in the memory(s) 204. The memory(s) 204 may be connected to the processor(s) 202 and may store a variety of information related to operations of the processor(s) 202. For example, the memory(s) 204 may store software code including commands for performing a part or the entirety of processes controlled by the processor(s) 202 or for performing the descriptions, functions, procedures, proposals, methods, and/or operational flowcharts disclosed in this document. Herein, the processor(s) 202 and the memory(s) 204 may be a part of a communication modem/circuit/chip designed to implement RAT (e.g., LTE or NR). The transceiver(s) 206 may be connected to the processor(s) 202 and transmit and/or receive radio signals through one or more antennas 208. Each of the transceiver(s) 206 may include a transmitter and/or a receiver. The transceiver(s) 206 may be interchangeably used with RF unit(s). In the present disclosure, the wireless device may represent a communication modem/circuit/chip. Hereinafter, hardware elements of the wireless devices 100 and 200 will be described more specifically. One or more protocol layers may be implemented by, without being limited to, one or more processors 102 and 202. For example, the one or more processors 102 and 202 may implement one or more layers (e.g., functional layers such as PHY, MAC, RLC, PDCP, RRC, and SDAP). The one or more processors 102 and 202 may generate one or more Protocol Data Units (PDUs) and/or one or more Service Data Unit (SDUs) according to the descriptions, functions, procedures, proposals, methods, and/or operational flowcharts disclosed in this document. The one or more processors 102 and 202 may generate messages, control information, data, or information according to the descriptions, functions, procedures, proposals, methods, and/or operational flowcharts disclosed in this document. The one or more processors 102 and 202 may generate signals (e.g., baseband signals) including PDUs, SDUs, messages, control information, data, or information according to the descriptions, functions, procedures, proposals, methods, and/or operational flowcharts disclosed in this document and provide the generated signals to the one or more transceivers 106 and 206. The one or more processors 102 and 202 may receive the signals (e.g., baseband signals) from the one or more transceivers 106 and 206 and acquire the PDUs, SDUs, messages, control information, data, or information according to the descriptions, functions, procedures, proposals, methods, and/or operational flowcharts disclosed in this document. The one or more processors 102 and 202 may be referred to as controllers, microcontrollers, microprocessors, or microcomputers. The one or more processors 102 and 202 may be implemented by hardware, firmware, software, or a combination thereof. As an example, one or more Application Specific Integrated Circuits (ASICs), one or more Digital Signal Processors (DSPs), one or more Digital Signal Processing Devices (DSPDs), one or more Programmable Logic Devices (PLDs), or one or more Field Programmable Gate Arrays (FPGAs) may be included in the one or more processors 102 and 202. The descriptions, functions, procedures, proposals, methods, and/or operational flowcharts disclosed in this document may be implemented using firmware or software and the firmware or software may be configured to include the modules, procedures, or functions. Firmware or software configured to perform the descriptions, functions, procedures, proposals, methods, and/or operational flowcharts disclosed in this document may be included in the one or more processors 102 and 202 or stored in the one or more memories 104 and 204 so as to be driven by the one or more processors 102 and 202. The descriptions, functions, procedures, proposals, methods, and/or operational flowcharts disclosed in this document may be implemented using firmware or software in the form of code, commands, and/or a set of commands. The one or more memories 104 and 204 may be connected to the one or more processors 102 and 202 and store various types of data, signals, messages, information, programs, code, instructions, and/or commands. The one or more memories 104 and 204 may be configured by Read-Only Memories (ROMs), Random Access Memories (RAMs), Electrically Erasable Programmable Read-Only Memories (EPROMs), flash memories, hard drives, registers, cash memories, computer-readable storage media, and/or combinations thereof. The one or more memories 104 and 204 may be located at the interior and/or exterior of the one or more processors 102 and 202. The one or more memories 104 and 204 may be connected to the one or more processors 102 and 202 through various technologies such as wired or wireless connection. The one or more transceivers 106 and 206 may transmit user data, control information, and/or radio signals/channels, mentioned in the methods and/or operational flowcharts of this document, to one or more other devices. The one or more transceivers 106 and 206 may receive user data, control information, and/or radio signals/channels, mentioned in the descriptions, functions, procedures, proposals, methods, and/or operational flowcharts disclosed in this document, from one or more other devices. For example, the one or more transceivers 106 and 206 may be connected to the one or more processors 102 and 202 and transmit and receive radio signals. For example, the one or more processors 102 and 202 may perform control so that the one or more transceivers 106 and 206 may transmit user data, control information, or radio signals to one or more other devices. The one or more processors 102 and 202 may perform control so that the one or more transceivers 106 and 206 may receive user data, control information, or radio signals from one or more other devices. The one or more transceivers 106 and 206 may be connected to the one or more antennas 108 and 208 and the one or more transceivers 106 and 206 may be configured to transmit and receive user data, control information, and/or radio signals/channels, mentioned in the descriptions, functions, procedures, proposals, methods, and/or operational flowcharts disclosed in this document, through the one or more antennas 108 and 208. In this document, the one or more antennas may be a plurality of physical antennas or a plurality of logical antennas (e.g., antenna ports). The one or more transceivers 106 and 206 may convert received radio signals/channels etc. from RF band signals into baseband signals in order to process received user data, control information, radio signals/channels, etc. using the one or more processors 102 and 202. The one or more transceivers 106 and 206 may convert the user data, control information, radio signals/channels, etc. processed using the one or more processors 102 and 202 from the base band signals into the RF band signals. To this end, the one or more transceivers 106 and 206 may include (analog) oscillators and/or filters. Referring to Codewords may be converted into radio signals via the signal processing circuit 1000 of Specifically, the codewords may be converted into scrambled bit sequences by the scramblers 1010. Scramble sequences used for scrambling may be generated based on an initialization value, and the initialization value may include ID information of a wireless device. The scrambled bit sequences may be modulated to modulation symbol sequences by the modulators 1020. A modulation scheme may include pi/2-Binary Phase Shift Keying (pi/2-BPSK), m-Phase Shift Keying (m-PSK), and m-Quadrature Amplitude Modulation (m-QAM). Complex modulation symbol sequences may be mapped to one or more transport layers by the layer mapper 1030. Modulation symbols of each transport layer may be mapped (precoded) to corresponding antenna port(s) by the precoder 1040. Outputs z of the precoder 1040 may be obtained by multiplying outputs y of the layer mapper 1030 by an N*M precoding matrix W. Herein, N is the number of antenna ports and M is the number of transport layers. The precoder 1040 may perform precoding after performing transform precoding (e.g., DFT) for complex modulation symbols. Alternatively, the precoder 1040 may perform precoding without performing transform precoding. The resource mappers 1050 may map modulation symbols of each antenna port to time-frequency resources. The time-frequency resources may include a plurality of symbols (e.g., a CP-OFDMA symbols and DFT-s-OFDMA symbols) in the time domain and a plurality of subcarriers in the frequency domain. The signal generators 1060 may generate radio signals from the mapped modulation symbols and the generated radio signals may be transmitted to other devices through each antenna. For this purpose, the signal generators 1060 may include Inverse Fast Fourier Transform (IFFT) modules, Cyclic Prefix (CP) inserters, Digital-to-Analog Converters (DACs), and frequency up-converters. Signal processing procedures for a signal received in the wireless device may be configured in a reverse manner of the signal processing procedures 1010 to 1060 of Referring to The additional components 140 may be variously configured according to types of wireless devices. For example, the additional components 140 may include at least one of a power unit/battery, input/output (I/O) unit, a driving unit, and a computing unit. The wireless device may be implemented in the form of, without being limited to, the robot (100 In Hereinafter, an example of implementing Referring to The communication unit 110 may transmit and receive signals (e.g., data and control signals) to and from other wireless devices or BSs. The control unit 120 may perform various operations by controlling constituent elements of the hand-held device 100. The control unit 120 may include an Application Processor (AP). The memory unit 130 may store data/parameters/programs/code/commands needed to drive the hand-held device 100. The memory unit 130 may store input/output data/information. The power supply unit 140 As an example, in the case of data communication, the I/O unit 140 Referring to The communication unit 110 may transmit and receive signals (e.g., data and control signals) to and from external devices such as other vehicles, BSs (e.g., gNBs and road side units), and servers. The control unit 120 may perform various operations by controlling elements of the vehicle or the autonomous vehicle 100. The control unit 120 may include an Electronic Control Unit (ECU). The driving unit 140 For example, the communication unit 110 may receive map data, traffic information data, etc. from an external server. The autonomous driving unit 140 The scope of the disclosure may be indicated by the following claims, and it should be construed that all changes or modifications derived from the meaning and scope of the claims and their equivalent concepts may be included in the scope of the present disclosure. Claims in the present description can be combined in a various way. For instance, technical features in method claims of the present description can be combined to be implemented or performed in an apparatus, and technical features in apparatus claims can be combined to be implemented or performed in a method. Further, technical features in method claim(s) and apparatus claim(s) can be combined to be implemented or performed in an apparatus. Further, technical features in method claim(s) and apparatus claim(s) can be combined to be implemented or performed in a method.BACKGROUND OF THE DISCLOSURE
Field of the Disclosure
Related Art
SUMMARY OF THE DISCLOSURE
Technical Objects
Technical Solutions
Effects of the Disclosure
BRIEF DESCRIPTION OF THE DRAWINGS
DESCRIPTION OF EXEMPLARY EMBODIMENTS
15 KHz (u = 0) 14 10 1 30 KHz (u = 1) 14 20 2 60 KHz (u = 2) 14 40 4 120 KHz (u = 3) 14 80 8 240 KHz (u = 4) 14 160 16 60 KHz (u = 2) 12 40 4 FR1 450 MHz-6000 MHz 15, 30, 60 kHz FR2 24250 MHz-52600 MHz 60, 120, 240 kHz FR1 410 MHz-7125 MHz 15, 30, 60 kHz FR2 24250 MHz-52600 MHz 60, 120, 240 kHz (1) OTDOA (Observed Time Difference of Arrival)
(2) E-CID (Enhanced Cell ID)
TADV Type 1=(ng-eNB Rx-Tx time difference)+(UE E-UTRA Rx-Tx time difference)
TADV Type 2=ng-eNB Rx-Tx time difference(3) UTDOA (Uplink Time Difference of Arrival)