Three-dimensional (3D) DRAM integrated in the same package as compute logic enable forming high-density caches. In one example, an integrated 3D DRAM includes a large on-de cache (such as a level 4 (L4) cache), a large on-die memory-side cache, or both an L4 cache and a memory-side cache. One or more tag caches cache recently accessed tags from the L4 cache, the memory-side cache, or both. A cache controller in the compute logic is to receive a request from one of the processor cores to access an address and compare tags in the tag cache with the address. In response to a hit in the tag cache, the cache controller accesses data from the cache at a location indicated by an entry in the tag cache, without performing a tag lookup in the cache.
1. An apparatus comprising:
a three-dimensional (3D) DRAM cache including multiple layers of DRAM cells on a die, the multiple layers of DRAM cells connected to one another with vias through the multiple layers; and compute logic stacked with the 3D DRAM cache in a same package, the compute logic including: one or more processor cores, a cache controller, and a tag cache, wherein the cache controller is to:
receive a request from a requesting processor core of the one or more processor cores to access data at an address, compare tags in the tag cache with the address, in response to a hit in the tag cache, access data from the 3D DRAM cache at a location indicated by an entry in the tag cache, and send a response to the requesting processor core. 2. The apparatus of the cache controller is to:
in response to a miss in the tag cache, compare tags in the 3D DRAM cache with the address, and in response to a hit in the 3D DRAM cache, store a matching tag in the tag cache and access the data from the 3D DRAM cache. 3. The apparatus of The 3D DRAM cache includes multiple cache banks; the cache controller includes multiple cache controller banks; and wherein the compute logic further includes:
circuitry to:
determine which of the multiple cache banks is targeted by the address, and send the request to one of the multiple cache controller banks corresponding to the cache bank targeted by the address. 4. The apparatus of a 3D DRAM memory-side cache to cache data from a local external memory; the compute logic includes a second tag cache; and wherein the cache controller is to:
in response to a miss in the 3D DRAM cache, compare tags in the second tag cache with the address, in response to a hit in the second tag cache, access the data from the 3D DRAM memory-side cache at a location indicated by an entry in the second tag cache. 5. The apparatus of the 3D DRAM memory-side cache includes multiple memory-side cache banks; the cache controller includes multiple cache controller banks; and wherein the compute logic further includes:
circuitry to:
determine which of the multiple memory-side cache banks is targeted by the address, and send the request to one of the multiple cache controller banks corresponding to the memory-side cache bank targeted by the address. 6. The apparatus of the compute logic includes an SRAM including the tag cache. 7. The apparatus of the compute logic includes one or more SRAMs including the tag cache and the second tag cache. 8. The apparatus of the multiple layers of the 3D DRAM cache include:
multiple NMOS DRAM layers, each of the multiple NMOS DRAM layers including NMOS select transistors and storage elements, and a PMOS layer including PMOS transistors to form CMOS circuitry in combination with NMOS transistors from one or more of the multiple NMOS DRAM layers. 9. The apparatus of the multiple layers of the 3D DRAM cache include multiple layers of thin film select transistors and storage elements between metal interconnects. 10. The apparatus of the 3D DRAM cache is stacked over the compute logic. 11. The apparatus of the compute logic is stacked over the 3D DRAM cache. 12. A processor stacked with a three-dimensional (3D) DRAM in a package, the processor comprising:
one or more processor cores; a tag cache; and cache control circuitry to access the 3D DRAM as a level 4 (L4) cache, the cache control circuitry to:
receive a request from a requesting processor core of the one or more processor cores to access data at an address; and compare tags in a tag cache with the address, in response to a hit in the tag cache, access data from the L4 cache at a location indicated by an entry in the tag cache, and send a response to the requesting processor core. 13. The processor of the cache control circuitry is to:
in response to a miss in the tag cache, compare tags in the L4 cache with the address, and in response to a hit in the L4 cache, store a matching tag in the tag cache and access the data from the L4 cache. 14. The processor of the L4 cache includes multiple L4 cache banks; the cache control circuitry includes multiple cache controller banks; and wherein the processor further includes:
circuitry to:
determine which of the multiple L4 cache banks is targeted by the address, and send the request to one of the multiple cache controller banks corresponding to the L4 cache bank targeted by the address. 15. The processor of the 3D DRAM includes a memory-side cache to cache data from a local external memory; the processor includes a second tag cache; and wherein the cache control circuitry is to:
in response to a miss in the L4 cache, compare tags in the second tag cache with the address, in response to a hit in the second tag cache, access the data from the memory-side cache at a location indicated by an entry in the second tag cache. 16. The processor of the memory-side cache includes multiple memory-side cache banks; the cache control circuitry includes multiple cache controller banks; and wherein the processor further includes:
circuitry to:
determine which of the multiple memory-side cache banks is targeted by the address, and send the request to one of the multiple cache controller banks corresponding to the memory-side cache bank targeted by the address. 17. The processor of an SRAM including the tag cache. 18. The processor of one or more SRAMs including the tag cache and the second tag cache. 19. A system comprising:
a three-dimensional (3D) DRAM including multiple layers of DRAM cells on a die, the multiple layers of DRAM cells connected to one another with vias through the multiple layers; and a processor stacked with the 3D DRAM in a same package, the processor including: one or more processor cores, a cache controller, and a tag cache, wherein the cache controller is to access the 3D DRAM as a last level cache (LLC), the cache controller to:
receive a request from a requesting processor core of the one or more processor cores to access data at an address, compare tags in the tag cache with the address, in response to a hit in the tag cache, access data from the LLC cache at a location indicated by an entry in the tag cache, and send a response to the requesting processor core. 20. The system of an external memory device coupled with the processor, an input/output (I/O) device, and a display.
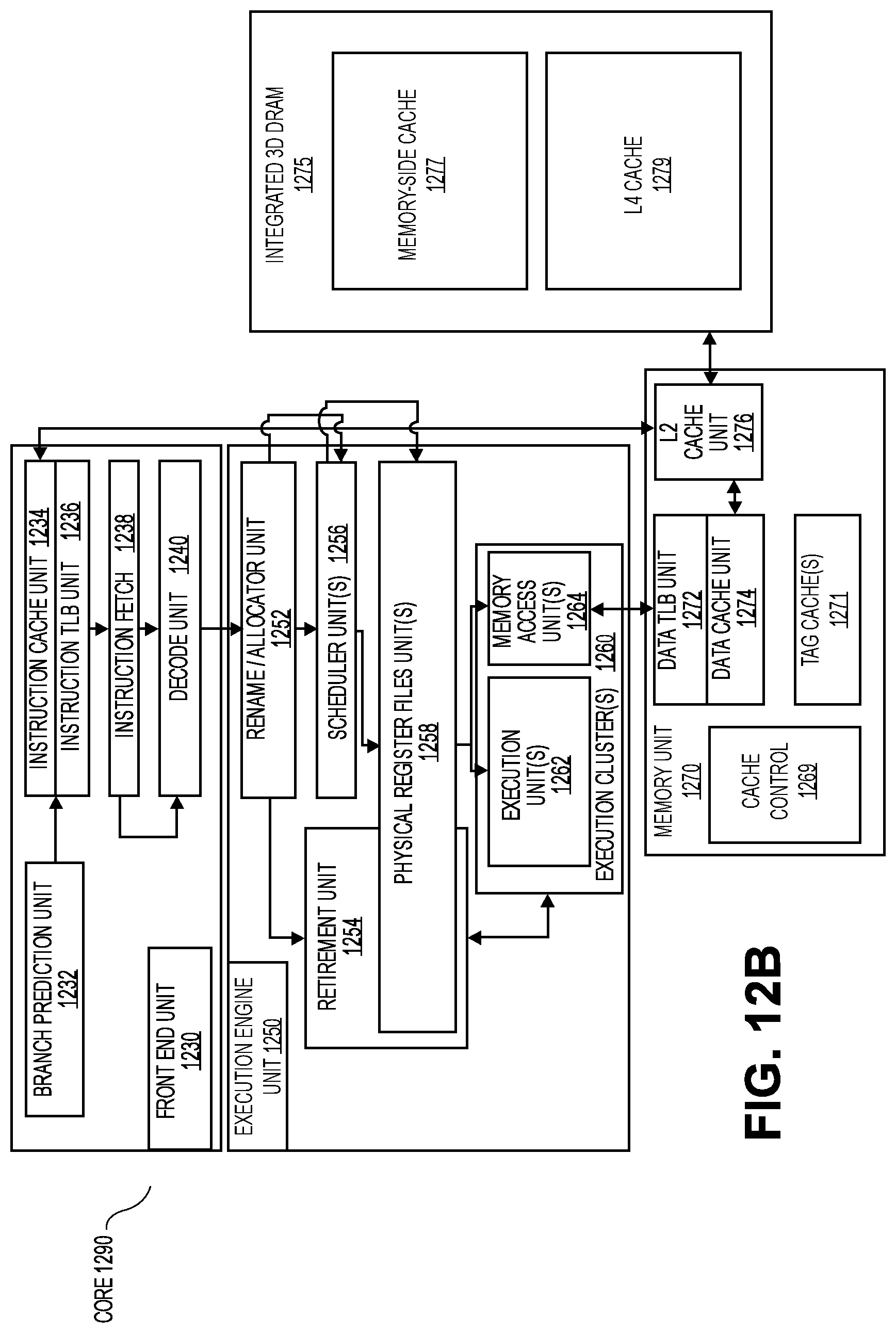
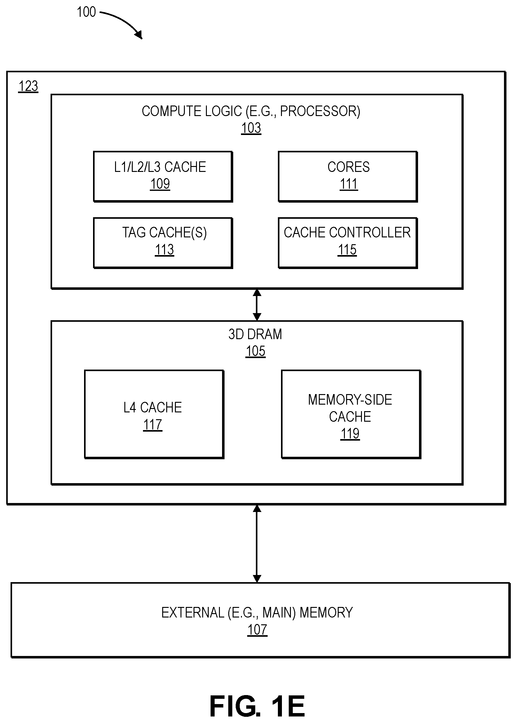
The descriptions are generally related to processor and memory technology. Dynamic random-access memory (DRAM) generally includes an array of bit cells, each cell capable of storing a bit of information. A typical cell configuration consists of a capacitor for storing a charge that represents the bit being stored and an access transistor that provides access to the capacitor during read and write operations. The access transistor is connected between a bitline and the capacitor and is gated (turned on or off) by a wordline signal. During a read operation, the stored bit of information is read from the cell via the associated bitline. During a write operation, a bit of information is stored into the cell from the bitline via the transistor. The cells are dynamic in nature, and therefore must be periodically refreshed. DRAM that is integrated on the same die or multi-chip module (MCM) as a processor or other compute logic is referred to as embedded DRAM (eDRAM). Embedded DRAM may have some performance advantages compared to external DRAM in a different package than the processor; however, existing eDRAM technology has a higher cost-per-bit compared to external DRAM and is also limited in its ability to scale. The following description includes discussion of figures having illustrations given by way of example of implementations of embodiments of the invention. The drawings should be understood by way of example, and not by way of limitation. As used herein, references to one or more “embodiments” or “examples” are to be understood as describing a particular feature, structure, and/or characteristic included in at least one implementation of the invention. Thus, phrases such as “in one embodiment” or “in one example” appearing herein describe various embodiments and implementations of the invention, and do not necessarily all refer to the same embodiment. However, they are also not necessarily mutually exclusive. Descriptions of certain details and implementations follow, including a description of the figures, which may depict some or all of the embodiments described below, as well as discussing other potential embodiments or implementations of the inventive concepts presented herein. Tightly integrated compute logic and three-dimensional (3D) memory can enable large on-package caches. In one example, a 3D DRAM is stacked with and integrated with compute logic in the same package. The compute logic may include, for example, one or more processor cores, SRAM cache(s), and cache control circuitry. The 3D DRAM includes multiple layers of DRAM cells on a die. The multiple layers of DRAM cells and the compute logic are connected with one another with vias through the multiple layers, without the need to route signals through an underlying PCB. The integrated 3D DRAM enables forming fast caches that are significantly larger than conventional caches. In one example, the integrated 3D DRAM includes a large level 4 (L4) cache, a large memory-side cache, or both an L4 cache and a memory-side cache. However, the large capacity of the integrated L4 and/or memory-side caches leads to significant tag overhead both in terms of space and tag access time. In one example, the compute logic includes one or more tag caches to cache recently accessed tags from the L4 cache, the memory-side cache, or both. A cache controller in the compute logic is to receive a request from one of the processor cores to access an address and compare tags in the tag cache with the address. In response to a hit in the tag cache, the cache controller accesses data from the L4 cache at a location indicated by an entry in the tag cache, without performing a tag lookup in the L4 cache. Similarly, in a system with a memory-side cache on the integrated 3D DRAM instead of an L4 cache, a tag cache in the compute logic can store tags from the memory-side cache. In a system with both a memory-side cache and an L4 cache on the integrated 3D DRAM, the compute logic can include two tag caches (or a partitioned tag cache) to store tags for the memory-side cache and the L4 cache. The tag caches reduce the instances in which the L4 cache tags and memory-side cache tags are accessed, which can enable lower latency cache accesses. The large integrated DRAM caches may be formed from multiple interconnected DRAM layers on a die. Conventionally, memory and processing logic are fabricated on different dies. DRAM dies conventionally include a single DRAM layer. For example, For example, In addition to varying orientation (e.g., 3D DRAM over or under the compute logic), the compute logic 103 and 3D DRAM 105 may occupy the same or similar area (footprint) or may have different sizes and occupy different areas. In the illustrated example, the 3D DRAM 105 includes an L4 cache 117 and a memory-side cache 119. In other examples, the 3D DRAM may include only an L4 cache or only a memory-side cache. The L4 cache is one level of cache in a cache hierarchy, and in one example, may be considered the last level cache (LLC). In one example, the L4 cache 117 is shared by more than one processor core. In one example, the memory-side cache 119 only caches addresses and data from a local attached memory (e.g., from the local external memory device 107, but not from a remote external memory attached to another socket and/or in a different domain). In contrast, in one example, the L4 cache 117 may cache data and addresses from both a local and remote memory. In one example, one or both of the L4 cache 117 and the memory-side cache 119 are set-associative caches. However, other cache placement policies may be implemented (e.g., fully associative, or other cache placement policies). One or both of the L4 cache 117 and the memory-side cache 119 may be “banked” into multiple banks or partitions. The compute logic includes one or more processor cores 111 and one or more levels of cache 109 (e.g., level 1 (L1), level 2 (L2), level 3 (L3), etc.). The one or more levels of cache 109 may be implemented in SRAM on the same die as the processor cores. One or more levels of cache may be private to a processor core, while other levels of cache may be shared by multiple processor cores. A cache controller 115 includes circuitry to control the access to the caches 109, 117, and 119. For example, the cache controller 115 may include circuitry for implementing cache placement and cache replacement/eviction policies. In one example, the cache controller 115 is “banked” to include separate cache control logic (cache controller banks) for different banks and/or levels of cache. The compute logic 103 also includes one or more tag caches 113 to store recently accessed tags from the L4 cache 117 and/or memory-side cache 119. In the illustrated example, memory formed with the NMOS or PMOS memory layers includes a completion layer 216. The completion layer 216 includes a layer of PMOS transistors or a layer of NMOS transistors, which, when combined with some transistors from the memory layers 214, forms the control logic and access circuitry (CMOS circuitry) for the memory layers 214. The CMOS circuitry for control and access of the memory layers may include, for example, sense amplifiers, drivers, test logic, sequencing logic, and other control or access circuitry. In one example, if the memory layers 214 are NMOS memory layers, the completion layer is a PMOS layer to form the CMOS control circuitry from the PMOS layer and some NMOS transistors from the NMOS memory layers. Thus, in one such example with multiple NMOS DRAM layers, each of the multiple NMOS DRAM layers including NMOS select transistors and storage elements, and a PMOS layer includes PMOS transistors to form CMOS circuitry in combination with NMOS transistors from one or more of the multiple NMOS DRAM layers. Similarly, if the memory layers 214 are PMOS memory layers, the completion layer is an NMOS layer to form the CMOS control circuitry from the NMOS layer and some PMOS transistors from the PMOS memory layers. Thus, in one example, the PMOS or NMOS layer 216 includes transistors for control logic, but does not include memory elements, and therefore is not a memory layer, like the layers 214. In one example, some or all of the memory layers 214 include memory (select transistors and memory elements) and not control logic. In one example, each of the layers 214 and 216 include only one transistor type (e.g., only PMOS or only NMOS), which reduces cost. The monolithic 3D memory technologies enable scaling with many memory layers to form a very large memory integrated with a processor. The large integrated memory can operate as one or more caches (or levels of cache) of on-package cache that is significantly larger than conventional caches. Thus, the monolithic 3D memory 201 can store data (e.g., data cachelines) and tags for operation as a cache. The compute layer(s) 202 are bonded with the 3D memory 201 via a bonding technique (e.g., bonding solder bumps, balls, exposed contacts, pads, etc.). The compute layer(s) 202 includes processor cores, a cache controller, and other compute logic. The compute layers 202 may also include one or more SRAMs to operate as caches. In one example, at least some tags are stored in an SRAM in the compute layers 202. For example, one or more tag caches may be implemented in SRAM in the compute layers 202. In contrast, Unlike conventional transistors that include source and drain terminals that are located and connected on the same side (e.g., front side) in roughly the same plane, the select transistors in each of the memory layers 214 include transistors that have a source and drain in different planes, enabling multiple memory layers to be stacked over one another and connected together. For example, Turning again to The memory layers 212 may be fabricated on a back side of the substrate 246 and coupled to the CMOS circuitry on the front side of the substrate 246 with TSVs (through silicon vias). In one example, the memory array 240 may be mirrored on both sides of the silicon substrate 246. Because the physical array may be fabricated separately from silicon substrate 246, the memory layers may be formed on either or both the front side and back side of the silicon substrate 246. The memory layers may be bonded to the compute layers 202. In the example of Thus, a 3D DRAM may be integrated with compute logic to provide high density and low cost DRAM to enable high performance, low latency and low power at a low cost. By supporting a large number of memory layers, low cost memory can be integrated with the processor at low costs. By decoupling memory from CMOS, a simplified process for fabricating integrated memory can be achieved that is a fraction of the cost of conventional processes. In one example, the memory is decoupled, but tightly integrated due to the computes implemented in the CMOS layers. In one example, the compute layers support high performance microprocessor design. In one example, the memory layers include memory cells with only a single NMOS transistor with a memory element or a single PMOS transistor with a memory element, where each layer is only NMOS or only PMOS. The 3D DRAM may be used to create a low latency cache that is tightly integrated with a microprocessor to create high performance designs (e.g., high performance processors or very wide machines). The integrated 3D DRAM may be implemented for a variety of applications such as artificial intelligence (AI) processors or accelerators, graphics (e.g., graphics processing units (GPUs) or graphics accelerators), vision processing units (VPUs), etc. As mentioned above, one application of 3D DRAM is to form one or more 3D caches over or under high performance logic in a 3D monolithic fashion. Unlike conventional cache hierarchies, the cache hierarchy illustrated in The cache hierarchy illustrated in Also like Although the example in As mentioned above, a cache hierarchy including a large integrated L4 cache or memory-side cache can have a significant tag overhead. Considering an example with 64B cachelines, the tag for each cacheline may be consume, for example, several bytes for each cacheline. For an L4 or memory-side cache that is tens or hundreds of times the size of a conventional integrated cache, the tag overhead alone can occupy the space of a conventional cache (e.g., tens of megabytes). Additionally, cache lookup operations for a large L4 or memory-side cache may result in delays due to the large number of entries in the cache. One or more tag caches can enable faster cache access by enabling bypassing the tag lookup (e.g., tag access and comparison) in the L4 and memory-side caches. The L4 tag cache 702 stores tags of recently accessed cachelines from the L4 cache. Similarly, the memory-side tag cache 704 stores tags of recently accessed cachelines from the memory-side cache 708. The tag caches 702 and 704 are examples of the tag cache(s) 113 of Regardless of the organization, the tag caches 702 and 704 store a subset of tags from the corresponding caches. In the illustrated example, Tag 2 in the L4 cache was recently accessed and inserted into the L4 tag cache 702. If another memory access request is received with an address that matches Tag 2, the data (e.g., Data 2) can be directly accessed without accessing and comparing tags in the L4 cache. In the illustrated example, location information (e.g., an index, a pointer, a reference, or other location information) is associated with each tag in the L4 tag cache to identify the location of the data associated with the tag in the L4 cache. Similarly, each entry in the memory-side tag cache includes location information to identify location of the data associated with the tag in the memory-side cache. Although the example illustrated in Turning first to In contrast, the flow in The flow 900A begins with a requester (such as a processor core) sending a request to access and address and determining the target 3D DRAM cache bank and controller bank based on the address, at 901. For example, in a system with a banked L4 cache implemented in integrated 3D DRAM (e.g., an L4 cache that includes multiple L4 cache banks), the cache controller may be organized as corresponding cache controller banks. Circuitry (which may be a part of the cache controller circuitry or separate from the cache controller circuitry) determines which of the multiple L4 cache banks is targeted by the address and sends the request to one of the multiple cache controller banks corresponding to the L4 cache bank targeted by the address. In one example, the target cache bank and controller bank is determined by performing an address hash of the request address to determine the specific cache bank and controller bank targeted by the address. However, in other examples, the 3D DRAM cache is not banked, and therefore the request can be sent directed to the cache controller without determining the target bank. The cache controller (or controller bank) receives the request with the address, at 902. The request can be, for example, a memory read or memory write request to access data at an address in memory (e.g., main memory). The cache controller accesses tags in the tag cache, at 904. For example, referring to In response to a miss in the tag cache, 906 NO branch, the cache controller accesses tags from the 3D DRAM cache, at 907, and compares the tags to the address, at 908. For example, referring to If there is a miss in the 3D DRAM cache, 909 NO branch, the cache controller accesses the off-package memory to retrieve the data, at 921. The cache controller then fills the data and tag into the 3D DRAM cache and the tag into the tag cache, at 923. The controller can then provide a response to the requester, at 914. In response to a hit in the second tag cache, 956 YES branch, the data address is computed and data from the memory-side cache is accessed, at 960, at a location indicated by an entry in the second tag cache. The cache controller can then provide a response to the requester, at 970. In response to a miss in the second tag cache, 956 NO branch, tags from the second 3D DRAM cache (e.g., the memory-side cache) are accessed, at 962, and compared to the address, at 964. If there is a hit in the second 3D DRAM cache, 965 YES branch, the tag is filled into the second tag cache, at 968. The data address can then be computed, at 958, the data can be accessed in the second 3D DRAM cache, at 960, and a response provided to the requester, at 970. In response to a miss in the second 3D DRAM cache, 965 NO branch, the data is retrieved from off-package memory, at 921. The data and tag are then filled into the second 3D DRAM cache, and the tag is filled into the second tag cache. The cache controller can then provide a response to the requester, at 970. In one example, the data and tag can also be filled into the L4 cache and the tag can be filled into the first tag cache. Thus, one or more large caches, such as an L4 and memory-side cache, may be integrated with the compute logic in the same package. One or more tag caches can be included in the compute logic to enable faster access to the L4 and memory-side caches. The following descriptions describe exemplary systems and architectures in which an integrated 3D DRAM cache may be implemented. In The front end unit 1230 includes a branch prediction unit 1232 coupled to an instruction cache unit 1234, which is coupled to an instruction translation lookaside buffer (TLB) 1236, which is coupled to an instruction fetch unit 1238, which is coupled to a decode unit 1240. The decode unit 1240 (or decoder) may decode instructions, and generate as an output one or more micro-operations, micro-code entry points, microinstructions, other instructions, or other control signals, which are decoded from, or which otherwise reflect, or are derived from, the original instructions. The decode unit 1240 may be implemented using various different mechanisms. Examples of suitable mechanisms include, but are not limited to, look-up tables, hardware implementations, programmable logic arrays (PLAs), microcode read only memories (ROMs), etc. In one embodiment, the core 1290 includes a microcode ROM or other medium that stores microcode for certain macroinstructions (e.g., in decode unit 1240 or otherwise within the front end unit 1230). The decode unit 1240 is coupled to a rename/allocator unit 1252 in the execution engine unit 1250. The execution engine unit 1250 includes the rename/allocator unit 1252 coupled to a retirement unit 1254 and a set of one or more scheduler unit(s) 1256. The scheduler unit(s) 1256 represents any number of different schedulers, including reservations stations, central instruction window, etc. The scheduler unit(s) 1256 is coupled to the physical register file(s) unit(s) 1258. Each of the physical register file(s) units 1258 represents one or more physical register files, different ones of which store one or more different data types, such as scalar integer, scalar floating-point, packed integer, packed floating-point, vector integer, vector floating-point, status (e.g., an instruction pointer that is the address of the next instruction to be executed), etc. In one example, the physical register file(s) unit 1258 comprises a vector registers unit, a write mask registers unit, and a scalar registers unit. These register units may provide architectural vector registers, vector mask registers, and general purpose registers. The physical register file(s) unit(s) 1258 is overlapped by the retirement unit 1254 to illustrate various ways in which register renaming and out-of-order execution may be implemented (e.g., using a reorder buffer(s) and a retirement register file(s); using a future file(s), a history buffer(s), and a retirement register file(s); using a register maps and a pool of registers; etc.). The retirement unit 1254 and the physical register file(s) unit(s) 1258 are coupled to the execution cluster(s) 1260. The execution cluster(s) 1260 includes a set of one or more execution units 1262 and a set of one or more memory access units 1264. The execution units 1262 may perform various operations (e.g., shifts, addition, subtraction, multiplication) and on various types of data (e.g., scalar floating-point, packed integer, packed floating-point, vector integer, vector floating-point). While some embodiments may include a number of execution units dedicated to specific functions or sets of functions, other embodiments may include only one execution unit or multiple execution units that all perform all functions. The scheduler unit(s) 1256, physical register file(s) unit(s) 1258, and execution cluster(s) 1260 are shown as being possibly plural because certain embodiments create separate pipelines for certain types of data/operations (e.g., a scalar integer pipeline, a scalar floating-point/packed integer/packed floating-point/vector integer/vector floating-point pipeline, and/or a memory access pipeline that each have their own scheduler unit, physical register file(s) unit, and/or execution cluster—and in the case of a separate memory access pipeline, certain embodiments are implemented in which only the execution cluster of this pipeline has the memory access unit(s) 1264). It should also be understood that where separate pipelines are used, one or more of these pipelines may be out-of-order issue/execution and the rest in-order. The set of memory access units 1264 is coupled to the memory unit 1270, which includes a data TLB unit 1272 coupled to a data cache unit 1274 coupled to a level 2 (L2) cache unit 1276. In one exemplary embodiment, the memory access units 1264 may include a load unit, a store address unit, and a store data unit, each of which is coupled to the data TLB unit 1272 in the memory unit 1270. In one example, the TLB unit 1272 stores the translations of virtual memory addresses to physical memory addresses. The instruction cache unit 1234 is further coupled to a level 2 (L2) cache unit 1276 in the memory unit 1270. The L2 cache unit 1276 is coupled to one or more other levels of cache and eventually to a main memory. One or more levels of a data cache and/or one or more levels of a tag cache may be implemented with a 3D DRAM integrated with the core 1290. For example, the integrated 3D DRAM 1275 is coupled with the memory unit 1270. The integrated 3D DRAM may include one or more caches, such as an L4 cache 1279 and a memory-side cache 1277, and/or other caches. Some of the caches (e.g., L4, etc.) may be shared by multiple cores, while other caches may be private to a core. In the illustrated example, one or more tag caches 1271 are implemented on the memory unit 1270. The memory unit 1270 includes cache control logic 1269 (e.g., a cache controller, such as the cache controller 115 of By way of example, the exemplary register renaming, out-of-order issue/execution core architecture may implement the pipeline 1200 as follows: 1) the instruction fetch 1238 performs the fetch and length decoding stages 1202 and 1204; 2) the decode unit 1240 performs the decode stage 1206; 3) the rename/allocator unit 1252 performs the allocation stage 1208 and renaming stage 1210; 4) the scheduler unit(s) 1256 performs the schedule stage 1212; 5) the physical register file(s) unit(s) 1258 and the memory unit 1270 perform the register read/memory read stage 1214; the execution cluster 1260 perform the execute stage 1216; 6) the memory unit 1270 and the physical register file(s) unit(s) 1258 perform the write back/memory write stage 1218; 7) various units may be involved in the exception handling stage 1222; and 8) the retirement unit 1254 and the physical register file(s) unit(s) 1258 perform the commit stage 1224. The core 1290 may support one or more instructions sets (e.g., the x86 instruction set (with some extensions that have been added with newer versions); the MIPS instruction set of MIPS Technologies of Sunnyvale, Calif.; the ARM instruction set (with optional additional extensions such as NEON) of ARM Holdings of Sunnyvale, Calif.), including the instruction(s) described herein. In one embodiment, the core 1290 includes logic to support a packed data instruction set extension (e.g., AVX1, AVX2), thereby allowing the operations used by many multimedia applications to be performed using packed data. It should be understood that the core may support multithreading (executing two or more parallel sets of operations or threads), and may do so in a variety of ways including time sliced multithreading, simultaneous multithreading (where a single physical core provides a logical core for each of the threads that physical core is simultaneously multithreading), or a combination thereof (e.g., time sliced fetching and decoding and simultaneous multithreading thereafter such as in the Intel® Hyperthreading technology). While register renaming is described in the context of out-of-order execution, it should be understood that register renaming may be used in an in-order architecture. While the illustrated embodiment of the processor also includes separate instruction and data cache units 1234/1274 and a shared L2 cache unit 1276, alternative embodiments may have a single internal cache for both instructions and data, such as, for example, a Level 1 (L1) internal cache, or multiple levels of internal cache. In some embodiments, the system may include a combination of an internal cache and an external cache that is external to the core and/or the processor. Alternatively, all of the cache may be external to the core and/or the processor. The local subset of the L2 cache 1304 is part of a global L2 cache that is divided into separate local subsets, one per processor core. Each processor core has a direct access path to its own local subset of the L2 cache 1304. Data read by a processor core is stored in its L2 cache subset 1304 and can be accessed quickly, in parallel with other processor cores accessing their own local L2 cache subsets. Data written by a processor core is stored in its own L2 cache subset 1304 and is flushed from other subsets, if necessary. The ring network ensures coherency for shared data. The ring network is bi-directional to allow agents such as processor cores, L2 caches and other logic blocks to communicate with each other within the chip. In one example, each ring data-path is 1012-bits wide per direction. Thus, different implementations of the processor 1400 may include: 1) a CPU with the special purpose logic 1408 being integrated graphics and/or scientific (throughput) logic (which may include one or more cores), and the cores 1402A-N being one or more general purpose cores (e.g., general purpose in-order cores, general purpose out-of-order cores, a combination of the two); 2) a coprocessor with the cores 1402A-N being a large number of special purpose cores intended primarily for graphics and/or scientific (throughput); and 3) a coprocessor with the cores 1402A-N being a large number of general purpose in-order cores. Thus, the processor 1400 may be a general-purpose processor, coprocessor or special-purpose processor, such as, for example, a network or communication processor, compression engine, graphics processor, GPGPU (general purpose graphics processing unit), a high-throughput many integrated core (MIC) coprocessor (including 30 or more cores), embedded processor, or the like. The processor may be implemented on one or more chips. The processor 1400 may be a part of and/or may be implemented on one or more substrates using any of a number of process technologies, such as, for example, BiCMOS, CMOS, or NMOS. The memory hierarchy includes one or more levels of cache within the cores, a set of one or more shared cache units 1406, and external memory (not shown) coupled to the set of integrated memory controller units 1414. The set of shared cache units 1406 may include one or more mid-level caches, such as level 2 (L2), level 3 (L3), level 4 (L4), or other levels of cache, a last level cache (LLC), and/or combinations thereof. One or more levels of cache maybe implemented in an on-package 3D DRAM. While in one example a ring based interconnect unit 1412 interconnects the integrated graphics logic 1408 (integrated graphics logic 1408 is an example of and is also referred to herein as special purpose logic), the set of shared cache units 1406, and the system agent unit 1410/integrated memory controller unit(s) 1414, alternative examples may use any number of well-known techniques for interconnecting such units. In one example, coherency is maintained between one or more cache units 1406 and cores 1402-A-N. In some examples, one or more of the cores 1402A-N are capable of multi-threading. The system agent 1410 includes those components coordinating and operating cores 1402A-N. The system agent unit 1410 may include for example a power control unit (PCU) and a display unit. The PCU may be or include logic and components needed for regulating the power state of the cores 1402A-N and the integrated graphics logic 1408. The display unit is for driving one or more externally connected displays. The cores 1402A-N may be homogenous or heterogeneous in terms of architecture instruction set; that is, two or more of the cores 1402A-N may be capable of execution the same instruction set, while others may be capable of executing only a subset of that instruction set or a different instruction set. Referring now to The optional nature of additional processors 1515 is denoted in The memory 1540 may be, for example, dynamic random access memory (DRAM), phase change memory (PCM), or a combination of the two. For at least one embodiment, the controller hub 1520 communicates with the processor(s) 1510, 1515 via a multi-drop bus, such as a frontside bus (FSB), point-to-point interface such as QuickPath Interconnect (QPI), or similar connection 1595. In one embodiment, the coprocessor 1545 is a special-purpose processor, such as, for example, a high-throughput MIC processor, a network or communication processor, compression engine, graphics processor, GPGPU, embedded processor, or the like. In one embodiment, controller hub 1520 may include an integrated graphics accelerator. There can be a variety of differences between the physical resources 1510, 1515 in terms of a spectrum of metrics of merit including architectural, microarchitectural, thermal, power consumption characteristics, and the like. In one embodiment, the processor 1510 executes instructions that control data processing operations of a general type. Embedded within the instructions may be coprocessor instructions. The processor 1510 recognizes these coprocessor instructions as being of a type that should be executed by the attached coprocessor 1545. Accordingly, the processor 1510 issues these coprocessor instructions (or control signals representing coprocessor instructions) on a coprocessor bus or other interconnect, to coprocessor 1545. Coprocessor(s) 1545 accept and execute the received coprocessor instructions. Referring now to Processors 1670 and 1680 are shown including integrated memory controller (IMC) units 1672 and 1682, respectively. Processor 1670 also includes as part of its bus controller units point-to-point (P-P) interfaces 1676 and 1678; similarly, second processor 1680 includes P-P interface circuits 1686 and 1688. Processors 1670, 1680 may exchange information via a point-to-point (P-P) interface 1650 using P-P interface circuits 1678, 1688. As shown in Processors 1670, 1680 may each exchange information with a chipset 1690 via individual P-P interfaces 1652, 1654 using point to point interface circuits 1676, 1694, 1686, 1698. Chipset 1690 may optionally exchange information with the coprocessor 1638 via a high-performance interface 1692. In one embodiment, the coprocessor 1638 is a special-purpose processor, such as, for example, a high-throughput MIC processor, a network or communication processor, compression engine, graphics processor, GPGPU, embedded processor, or the like. One or more caches 1635, 1637 may be included in either processor and one or more caches 1631, 1633 may be included outside of both processors yet in package with the processors and connected with the processors via P-P interconnect. In one example, in addition to a data cache, the cache 1635 and 1637 include one or more levels of tag cache. The 3D DRAM caches 1631, 1633 may include, for example, L4 cache, memory-side cache, and/or other levels of cache. Chipset 1690 may be coupled to a first bus 1616 via an interface 1696. In one embodiment, first bus 1616 may be a Peripheral Component Interconnect (PCI) bus, or a bus such as a PCI Express bus or another third generation I/O interconnect bus, although the scope of the present invention is not so limited. As shown in Referring now to Referring now to Examples of Integrated 3D DRAM Memory Follow Example 1: An apparatus including a three-dimensional (3D) DRAM cache including multiple layers of DRAM cells on a die, the multiple layers of DRAM cells connected to one another with vias through the multiple layers, and compute logic stacked with the 3D DRAM cache in a same package. The compute logic includes one or more processor cores, a cache controller, and a tag cache. The cache controller is to: receive a request from a requesting processor core of the one or more processor cores to access data at an address, compare tags in the tag cache with the address, in response to a hit in the tag cache, access data from the 3D DRAM cache at a location indicated by an entry in the tag cache, and send a response to the requesting processor core. Example 2: The apparatus of example 1, wherein the cache controller is to: in response to a miss in the tag cache, compare tags in the 3D DRAM cache with the address, and in response to a hit in the 3D DRAM cache, store a matching tag in the tag cache and access the data from the 3D DRAM cache. Example 3: The apparatus of examples 1 or 2, wherein: The 3D DRAM cache includes multiple cache banks, the cache controller includes multiple cache controller banks, and wherein the compute logic further includes circuitry to: determine which of the multiple cache banks is targeted by the address and send the request to one of the multiple cache controller banks corresponding to the cache bank targeted by the address. Example 4: The apparatus of any of examples 1-3, further including a 3D DRAM memory-side cache to cache data from a local external memory, the compute logic includes a second tag cache, and wherein the cache controller is to: in response to a miss in the 3D DRAM cache, compare tags in the second tag cache with the address, in response to a hit in the second tag cache, access the data from the 3D DRAM memory-side cache at a location indicated by an entry in the second tag cache. Example 5: The apparatus of any of examples 1-4, wherein the 3D DRAM memory-side cache includes multiple memory-side cache banks, the cache controller includes multiple cache controller banks, and wherein the compute logic further includes circuitry to: determine which of the multiple memory-side cache banks is targeted by the address and send the request to one of the multiple cache controller banks corresponding to the memory-side cache bank targeted by the address. Example 6: The apparatus of any of examples 1-5, wherein: the compute logic includes an SRAM including the tag cache. Example 7: The apparatus of any of examples 1-6, wherein: the compute logic includes one or more SRAMs including the tag cache and the second tag cache. Example 8: The apparatus of any of examples 1-7, wherein: the multiple layers of the 3D DRAM cache include multiple NMOS DRAM layers, each of the multiple NMOS DRAM layers including NMOS select transistors and storage elements, and a PMOS layer including PMOS transistors to form CMOS circuitry in combination with NMOS transistors from one or more of the multiple NMOS DRAM layers. Example 9: The apparatus of any of examples 1-8, wherein the multiple layers of the 3D DRAM cache include multiple layers of thin film select transistors and storage elements between metal interconnects. Example 10: The apparatus of any of examples 1-9, wherein the 3D DRAM cache is stacked over the compute logic. Example 11: The apparatus of any of examples 1-10, wherein the compute logic is stacked over the 3D DRAM cache. Example 12: A processor stacked with a three-dimensional (3D) DRAM in a package, the processor including one or more processor cores, a tag cache, and cache control circuitry to access the 3D DRAM as a level 4 (L4) cache. The cache control circuitry is to receive a request from a requesting processor core of the one or more processor cores to access data at an address; and compare tags in a tag cache with the address, in response to a hit in the tag cache, access data from the L4 cache at a location indicated by an entry in the tag cache, and send a response to the requesting processor core. Example 13: The processor of example 12, wherein the cache control circuitry is to: in response to a miss in the tag cache, compare tags in the L4 cache with the address, and in response to a hit in the L4 cache, store a matching tag in the tag cache and access the data from the L4 cache. Example 14: The processor of any of examples 12-13, wherein the L4 cache includes multiple L4 cache banks, the cache control circuitry includes multiple cache controller banks, and wherein the processor further includes: circuitry to: determine which of the multiple L4 cache banks is targeted by the address and send the request to one of the multiple cache controller banks corresponding to the L4 cache bank targeted by the address. Example 15: The processor of any of examples 12-14, wherein: the 3D DRAM includes a memory-side cache to cache data from a local external memory, the processor includes a second tag cache, and wherein the cache control circuitry is to: in response to a miss in the L4 cache, compare tags in the second tag cache with the address, in response to a hit in the second tag cache, access the data from the memory-side cache at a location indicated by an entry in the second tag cache. Example 16: The processor of any of examples 12-15, wherein the memory-side cache includes multiple memory-side cache banks, the cache control circuitry includes multiple cache controller banks, and wherein the processor further includes circuitry to: determine which of the multiple memory-side cache banks is targeted by the address, and send the request to one of the multiple cache controller banks corresponding to the memory-side cache bank targeted by the address. Example 17: The processor of any of examples 12-16, including an SRAM including the tag cache. Example 18: The processor of any of examples 12-17, including one or more SRAMs including the tag cache and the second tag cache. Example 19: A system including a three-dimensional (3D) DRAM including multiple layers of DRAM cells on a die, the multiple layers of DRAM cells connected to one another with vias through the multiple layers, and a processor stacked with the 3D DRAM in a same package. The processor includes one or more processor cores, a cache controller, and a tag cache, wherein the cache controller is to access the 3D DRAM as a last level cache (LLC). The cache controller is to receive a request from a requesting processor core of the one or more processor cores to access data at an address, compare tags in the tag cache with the address, in response to a hit in the tag cache, access data from the LLC cache at a location indicated by an entry in the tag cache, and send a response to the requesting processor core. Example 20: The system of example 19, further including one or more of an external memory device coupled with the processor, a power supply, and a display. Embodiments of the invention may include various processes as set forth above. The processes may be embodied in machine-executable instructions. The instructions can be used to cause a general-purpose or special-purpose processor to perform certain processes. Alternatively, these processes may be performed by specific/custom hardware components that contain hardwired logic circuitry or programmable logic circuitry (e.g., FPGA, PLD) for performing the processes, or by any combination of programmed computer components and custom hardware components. Elements of the present invention may also be provided as a machine-readable medium for storing the machine-executable instructions. The machine-readable medium may include, but is not limited to, floppy diskettes, optical disks, CD-ROMs, and magneto-optical disks, FLASH memory, ROMs, RAMs, EPROMs, EEPROMs, magnetic or optical cards, propagation media or other type of media/machine-readable medium suitable for storing electronic instructions. For example, the present invention may be downloaded as a computer program which may be transferred from a remote computer (e.g., a server) to a requesting computer (e.g., a client) by way of data signals embodied in a carrier wave or other propagation medium via a communication link (e.g., a modem or network connection). Flow diagrams as illustrated herein provide examples of sequences of various process actions. The flow diagrams can indicate operations to be executed by a software or firmware routine, as well as physical operations. In one example, a flow diagram can illustrate the state of a finite state machine (FSM), which can be implemented in hardware, software, or a combination. Although shown in a particular sequence or order, unless otherwise specified, the order of the actions can be modified. Thus, the illustrated embodiments should be understood only as an example, and the process can be performed in a different order, and some actions can be performed in parallel. Additionally, one or more actions can be omitted in various examples; thus, not all actions are required in every embodiment. Other process flows are possible. To the extent various operations or functions are described herein, they can be described or defined as software code, instructions, configuration, data, or a combination. The content can be directly executable (“object” or “executable” form), source code, or difference code (“delta” or “patch” code). The software content of the embodiments described herein can be provided via an article of manufacture with the content stored thereon, or via a method of operating a communication interface to send data via the communication interface. A machine readable storage medium can cause a machine to perform the functions or operations described, and includes any mechanism that stores information in a form accessible by a machine (e.g., computing device, electronic system, etc.), such as recordable/non-recordable media (e.g., read only memory (ROM), random access memory (RAM), magnetic disk storage media, optical storage media, flash memory devices, etc.). A communication interface includes any mechanism that interfaces to any of a hardwired, wireless, optical, etc., medium to communicate to another device, such as a memory bus interface, a processor bus interface, an Internet connection, a disk controller, etc. The communication interface can be configured by providing configuration parameters or sending signals, or both, to prepare the communication interface to provide a data signal describing the software content. The communication interface can be accessed via one or more commands or signals sent to the communication interface. Various components described herein can be a means for performing the operations or functions described. Each component described herein includes software, hardware, or a combination of these. The components can be implemented as software modules, hardware modules, special-purpose hardware (e.g., application specific hardware, application specific integrated circuits (ASICs), digital signal processors (DSPs), etc.), embedded controllers, hardwired circuitry, etc. Besides what is described herein, various modifications can be made to the disclosed embodiments and implementations of the invention without departing from their scope. Therefore, the illustrations and examples herein should be construed in an illustrative, and not a restrictive sense. The scope of the invention should be measured solely by reference to the claims that follow.FIELD
BACKGROUND
BRIEF DESCRIPTION OF THE DRAWINGS
DETAILED DESCRIPTION