The present disclosure provides a keel beam assembly, an aircraft including the keel beam assembly, and a method of aircraft manufacture using the keel beam assembly. An illustrative keel beam assembly comprises a pair of keel chords extending outside an aircraft fuselage and forming at least part of a lower keel box portion of a keel box. An upper keel box portion of the keel box is coupled to the pair of keel chords and has an aft end engaged with and secured to an aft wheel well bulkhead (AWWB).
1. A keel beam assembly, comprising:
a pair of keel chords extending outside an aircraft fuselage and forming at least part of a lower keel box portion of a keel box; and an upper keel box portion of the keel box coupled to the pair of keel chords and having an aft end engaged with and secured to an aft wheel well bulkhead (AWWB). 2. The keel beam assembly of 3. The keel beam assembly of 4. The keel beam assembly of 5. The keel beam assembly of 6. The keel beam assembly of 7. The keel beam assembly of 8. The keel beam assembly of 9. An aircraft, comprising:
a fuselage; an aft wheel well bulkhead (AWWB); and a keel beam assembly including a pair of keel chords extending outside the fuselage and forming at least part of a lower keel box portion of a keel box, the keel beam assembly also including an upper keel box portion of the keel box coupled to the pair of keel chords and having an aft end mounted onto a forward side of the AWWB. 10. The aircraft of 11. The aircraft of 12. The aircraft of 13. The aircraft of 14. The aircraft of 15. The aircraft of 16. A method of aircraft manufacture using an aircraft section including a fuselage portion coupled to a pair of keel chords, wherein the keel chords extend outside the fuselage portion, form at least part of a lower keel box portion of a keel box, and are coupled to an upper keel box portion of the keel box, the method comprising:
mounting an aft end of the upper keel box portion onto a forward side of an aft wheel well bulkhead (AWWB). 17. The method of 18. The method of 19. The method of 20. The method of
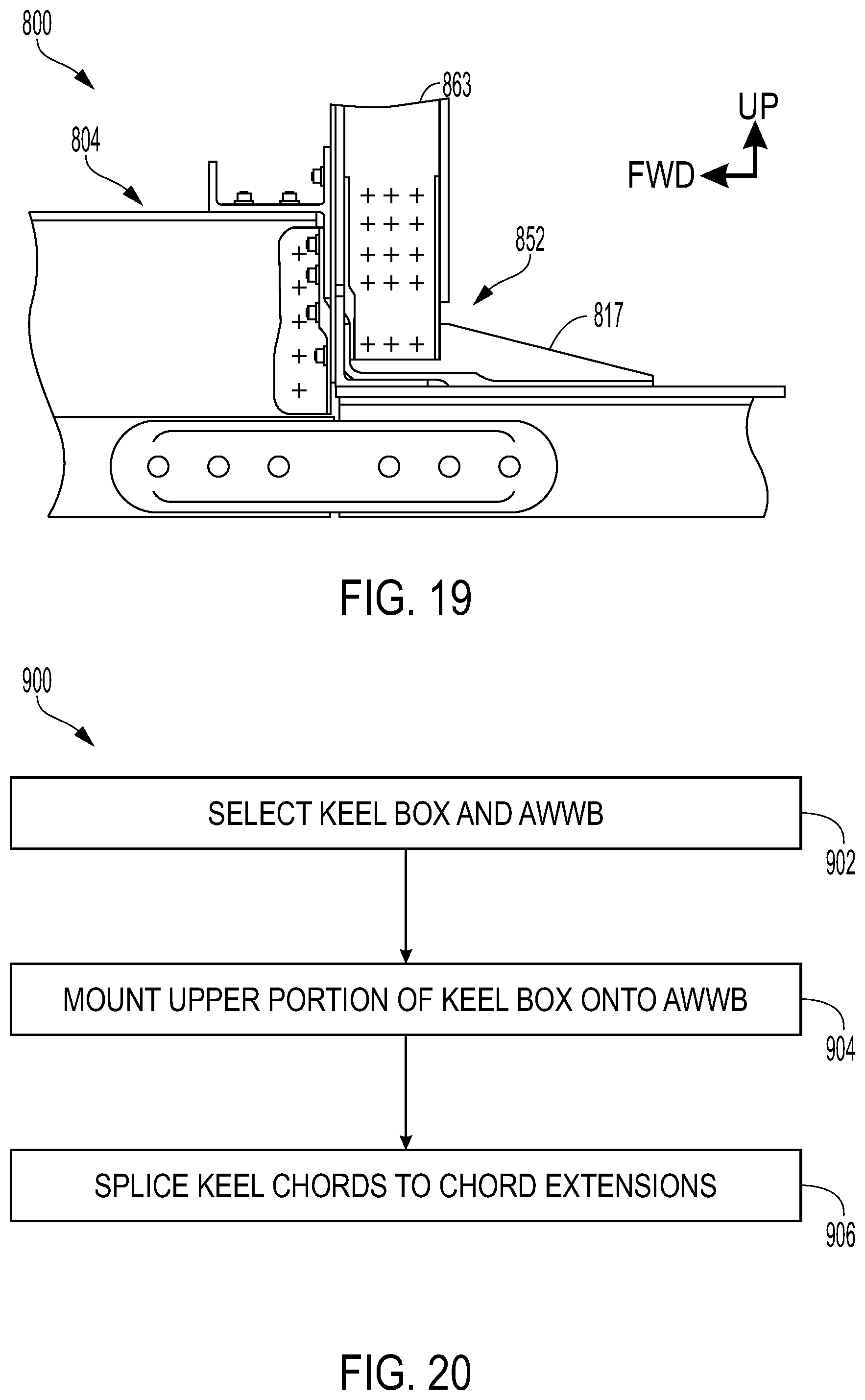
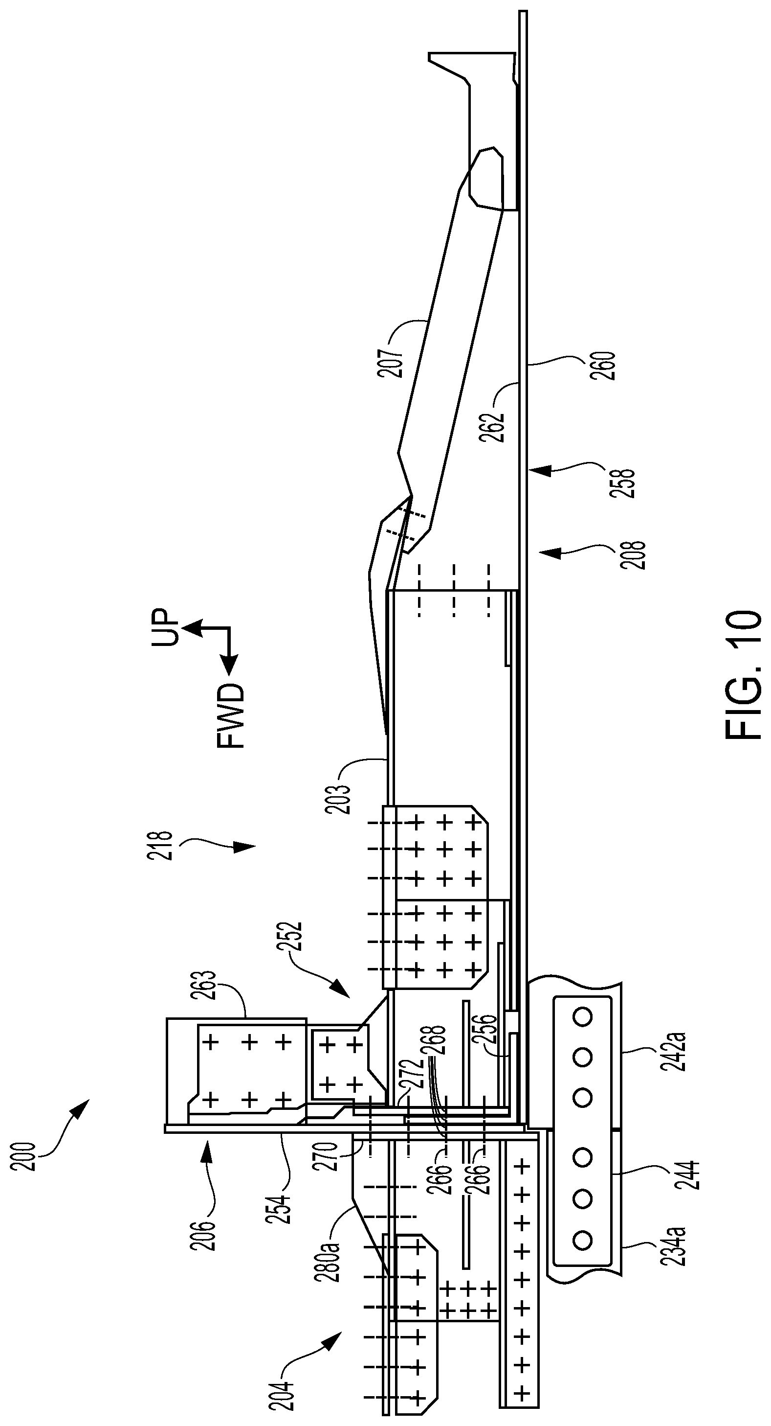
This application claims the benefit under 35 U.S.C. § 119(e) of the priority of U.S. Provisional Patent Application Ser. No. 63/139,722, filed Jan. 20, 2021, the entirety of which is hereby incorporated by reference for all purposes. Commercial aircraft for cargo and passenger transport utilize a keel beam extending along the bottom of the fuselage. The keel beam braces the fuselage centrally along its length and helps to couple sections of the fuselage to one another. Commercial aircraft, such as a midsize commercial aircraft, may have a keel beam including a box beam portion (a keel box) located in an aft region of the keel beam where loads can be higher. However, integrating this type of keel beam into the aircraft can slow the rate of aircraft production significantly. Moreover, this integration presents substantial design challenges to ensure that the keel box is robust but relatively lightweight, while still creating an efficient load path without excessive bending moments under high load. A novel keel box to enable more efficient manufacture of aircraft would be desirable. The present disclosure provides a keel beam assembly, an aircraft including the keel beam assembly, and a method of aircraft manufacture using the keel beam assembly. An illustrative keel beam assembly comprises a pair of keel chords extending outside an aircraft fuselage and forming at least part of a lower keel box portion of a keel box. An upper keel box portion of the keel box is coupled to the pair of keel chords and has an aft end engaged with and secured to an aft wheel well bulkhead (AWWB). In some examples, an aircraft comprises a fuselage, an aft wheel well bulkhead (AWWB), and a keel beam assembly. The keel beam assembly includes a pair of keel chords extending outside the fuselage and forming at least part of a lower keel box portion of a keel box. The keel beam assembly also includes an upper keel box portion of the keel box coupled to the pair of keel chords and having an aft end mounted onto a forward side of the AWWB. In some examples, a method of aircraft manufacture uses an aircraft section including a fuselage portion coupled to a pair of keel chords. The keel chords extend outside the fuselage portion, form at least part of a lower keel box portion of a keel box, and are coupled to an upper keel box portion of the keel box. In the method, an aft end of the upper keel box portion is mounted onto a forward side of an aft wheel well bulkhead (AWWB). Features, functions, and advantages may be achieved independently in various examples of the present disclosure, or may be combined in yet other examples, further details of which can be seen with reference to the following description and drawings. Various aspects and examples of a keel beam assembly, keel box, aft wheel well bulkhead (AWWB), chord extension, backup structure, aircraft section, aircraft, and associated methods of the present disclosure in accordance with the present teachings, and/or its various components may, but are not required to, contain at least one of the structures, components, functionalities, and/or variations described, illustrated, and/or incorporated herein. Furthermore, unless specifically excluded, the process steps, structures, components, functionalities, and/or variations described, illustrated, and/or incorporated herein in connection with the present teachings may be included in other similar devices and methods, including being interchangeable between disclosed examples. The following description of various examples is merely illustrative in nature and is in no way intended to limit the disclosure, its application, or uses. Additionally, the advantages provided by the examples described below are illustrative in nature and not all examples provide the same advantages or the same degree of advantages. This Detailed Description includes the following sections, which follow immediately below: (1) Overview; (2) Examples, Components, and Alternatives; (3) Illustrative Combinations and Additional Examples; (4) Advantages, Features, and Benefits; and (5) Conclusion. The Examples, Components, and Alternatives section is further divided into subsections A through F, each of which is labeled accordingly. The present disclosure provides a keel beam assembly, an aircraft including the keel beam assembly, and a method of aircraft manufacture involving the keel beam assembly. An illustrative keel beam assembly comprises a pair of keel chords extending outside an aircraft fuselage and forming at least part of a lower keel box portion of a keel box. An upper keel box portion of the keel box is coupled to the pair of keel chords and has an aft end engaged with and secured to an aft wheel well bulkhead (AWWB). In some examples, an aircraft comprises a fuselage, an aft wheel well bulkhead (AWWB), and a keel beam assembly. The keel beam assembly includes a pair of keel chords extending outside the fuselage and forming at least part of a lower keel box portion of a keel box. The keel beam assembly also includes an upper keel box portion of the keel box coupled to the pair of keel chords and having an aft end mounted onto a forward side of the AWWB. In some examples, a method of aircraft manufacture uses an aircraft section including a fuselage portion coupled to a pair of keel chords. The keel chords extend outside the fuselage portion, form at least part of a lower keel box portion of a keel box, and are coupled to an upper keel box portion of the keel box. In the method, an aft end of the upper keel box portion is mounted onto a forward side of an aft wheel well bulkhead (AWWB). The relative positional terms “forward,” “fore,” and “front,” as used herein, have the same meaning as one another, and the relative positional terms “rear,” “back,” “behind,” and “aft,” as used herein, have the same meaning as one another, unless specified otherwise. The following subsections describe selected aspects of illustrative keel beam assemblies, keel boxes, aft wheel well bulkheads (AWWBs), backup structures, splice configurations, as well as related systems and/or methods. The examples in these subsections are intended for illustration and should not be interpreted as limiting the entire scope of the present disclosure. Each subsection may include one or more distinct examples, and/or contextual or related information, function, and/or structure. This subsection describes an illustrative aircraft 100 including a keel beam assembly 102 having a keel box 104 mounted onto a forward side of an aft wheel well bulkhead (AWWB) 106 (see Midsection 116 has a lower portion under a deck 119 of aircraft and including a central wing box 120 and a wheel well 122 (also see Keel beam assembly 102 extends along fuselage 108 from forward section 114 to rear section 118 and connects the forward and rear sections (and midsection 116) to one another, to strengthen and stabilize the fuselage (see Keel beam assembly 102 has a central keel beam portion 128 and a pair of end keel beam portions 130, 132 spliced to opposite ends of the central keel beam portion (see Central keel beam portion 128 includes a pair of keel chords 134 Each end keel beam portion 130, 132 includes a pair of chord extensions extending outside fuselage 108 (see Upper keel box portion 138 of keel box 104 is located over aft portions of keel chords 134 The upper keel box portion has several example purposes. It strengthens and stabilizes the keel beam assembly and helps to share loads with, and transfer and distribute loads between, sections of the fuselage. By mounting the upper keel box portion onto the AWWB, loads are transferred both inside and outside the fuselage at the junction between the midsection and rear section of the aircraft. Furthermore, the upper keel box portion raises the center of mass of the keel box to a position closer to the outer mold line of the fuselage. This configuration advantageously reduces the eccentricity in the keel box-to-fuselage splice, resulting in reduced bending moments in the keel beam runout and connecting fuselage structure, thereby allowing a lighter-weight design. AWWB 106 also may include additional components. For example, one or more stiffeners, such as horizontal stiffeners, may be attached to web 154, such as mounted on a forward side or an aft side of the web. Alternatively, or in addition, one or more beams, such as vertical beams, may be attached to web 154, such as mounted on an aft side or a forward side of the web. The vertical beams may include a left vertical beam 163 Backup structure 152 may include any suitable number of structural members, such as beams or struts, each arranged vertically, horizontally, or obliquely. The backup structure may include left and right backup portions that are engaged with, secured to, and/or mounted onto an aft side 164 of web 154 and/or peripheral portion 158 of rear section 118. Fasteners 166 secure upper keel box portion 138 to AWWB 106 (see Upper keel box portion 138 has a body 178 fastened to a pair of brackets 180 (see This subsection describes an illustrative keel beam assembly 202, keel box 204, AWWB 206, mounting configuration, and backup structure 252 of an aircraft 200; see The position of a fragmentary portion of an envelope 293 (also called a trace or skin line) defined by fuselage 208 of aircraft 200 is indicated with a dashed line. Envelope 293 is defined by the exterior surface of skin 260 of the fuselage. The envelope corresponds to the exterior surface of the skin, and theoretical extension or a projected profile of the exterior surface across open regions adjacent the exterior surface where the skin does not physically exist (e.g., where small or large openings are formed in the skin). Keel box structure above the dashed line is located in the fuselage (i.e., inside envelope 293), while keel box structure below the dashed line is located outside the fuselage (i.e., outside envelope 293). Accordingly, lower keel box portion 236 is located outside the fuselage, and upper keel box portion 238 is located inside the fuselage. A center of mass 294 of an aft portion of keel box 204, also called the aft portion's centroid or center of gravity, is situated close to the fuselage exterior (formed by the fuselage shell/skin). Within examples, the center of mass 294 is located less than 10 centimeters from envelope 293. Within examples, the center of mass 294 is located less than 4, 3, or 2 centimeters from envelope 293. Positioning the center of mass of the aft portion of the keel box near the fuselage exterior can be advantageous to reduce eccentricity of the keel box-to-fuselage splice, thereby reducing bending moments of the keel beam assembly at high loads. A pair of brackets 280 In the depicted example, each bracket 280 Upper keel box portion 238 also may be secured to AWWB 206 along an upper region of the upper keel box portion at positions intermediate to brackets 280 Lower keel chords 234 Backup structure 252 has a backup flange(s) 272 defining apertures 268 that are coaxial with corresponding apertures 268 defined by keel flange 270 of each bracket 280 The backup structure depicted has a left portion aligned with bracket 280 This subsection describes other illustrative keel beam assemblies, AWWBs, and backup structures; see With the splicing configuration of subsection B, a thick flange of the aft chord extensions, and the thick skin over the aft chord extensions drive high loads into a lower portion of the splice structure. The aft splicing configuration presented in this subsection differs from that described in subsection B, by splicing only the upper and lower keel chords at the AWWB interface, which can provide better access and/or simplify/facilitate assembly of the splice structure, by removing overlapping structural elements. A pair of splice plates 344 are mounted to opposite sides of each lower keel chords 334 Each bracket 380 Backup structure 352 has left and right portions each including a vertical beam 363 and a horizontal beam 303 coupled to one another, as described above in subsection B for backup structure 252. Horizontal beam 303 is arranged longitudinally in the aircraft and is mounted to a peripheral portion 358 of the fuselage. Each of the portions of the backup structure, and each bracket 380 This subsection describes further illustrative keel beam assemblies, AWWBs, and backup structures; see Upper keel box portion 738 is mounted onto an AWWB 706 of rear section 718 along opposite side portions and along an upper portion. A pair of brackets 780 Backup structure 752 has left and right portions each including a vertical beam 763 coupled to an oblique strut 707. An aft end of the strut is coupled to a peripheral portion 758 of the fuselage. This subsection describes an illustrative method 900 of aircraft manufacture involving a keel beam assembly; see At step 902, a keel box and an AWWB are selected. The keel box may be part of a keel beam assembly including a pair of keel chords forming at least part of a lower keel box portion of the keel box. The AWWB may be a single component or an assembly of coupled components including any combination of a web, one or more horizontal stiffeners mounted on a forward side (or on an aft side) of the web, a frame member extending along and secured to an edge of the web (optionally on an aft side of the web and/or along an arcuate edge of the web), and/or one or more vertical beams mounted on an aft side (or a forward side) of the web. In some examples, an aircraft section including a fuselage portion may be selected. The fuselage portion, which may be described as a fuselage shell portion, may be coupled to the keel beam assembly, and the keel chords may extend outside an exterior surface of the fuselage portion and/or fuselage shell portion (i.e., outside an envelope defined an exterior surface of the skin of the fuselage portion). In some examples, the keel chords may form part of a keel box having an aft portion, and in the aft portion, the keel chords may be located at least predominantly outside the fuselage portion and/or fuselage shell portion (i.e., at least predominantly outside the envelope (greater than 50% outside the envelope by mass or volume)). In some examples, first and second aircraft sections may be selected. When selected, the aircraft sections may have no mechanical connection to one another. The first aircraft section may be a midsection for an aircraft. The first aircraft section may include a first fuselage shell portion. The first fuselage shell portion may already be coupled to the pair of keel chords. Each of the keel chords may extend outside the first fuselage shell portion (i.e., outside an envelope defined by an exterior surface of a skin of the shell portion) and may be located at least predominantly outside the fuselage shell portion (i.e., at least predominantly outside the envelope), particularly in an aft portion of a keel box formed in part by the keel chords. The keel chords may form at least part of the lower portion of the keel box and may be coupled already to the upper portion of the keel box when the aircraft sections are selected. The second aircraft section may include a second fuselage shell portion, which may or may not already coupled to an aft wheel well bulkhead (AWWB) and/or to at least one or a pair of aft chord extensions, when the second aircraft section is selected. At step 904, the upper keel box portion is mounted onto the AWWB, on a forward side of the AWWB. Mounting may include positioning the entire upper keel box portion forward of a web of the AWWB, and/or such that the upper keel box portion does not extend through the web of the AWWB. More specifically, mounting may be performed by extending fasteners through the AWWB, such as through a web, a peripheral frame member, a horizontal stiffener, and/or a vertical beam thereof. Mounting may create an initial mechanical connection between the aircraft sections or may be performed after the aircraft sections have already been connected to one another mechanically. At step 906, the keel chords are spliced to aft chord extensions. More specifically, an aft end of at least one keel chord may be joined to a forward end of at least one aft chord extension. Splicing may be performed with a splicing device, such as a splice plate, secured with fasteners to one of the keel chords and to an aft chord extension. Examples disclosed herein may be described in the context of an illustrative aircraft 1000 (see Each of the processes of method 1100 may be performed or carried out by a system integrator, a third party, and/or an operator (e.g., a customer). For the purposes of this description, a system integrator may include, without limitation, any number of aircraft manufacturers and major-system subcontractors; a third party may include, without limitation, any number of vendors, subcontractors, and suppliers; and an operator may be an airline, leasing company, military entity, service organization, and so on. As shown in Apparatuses and methods shown or described herein may be employed during any one or more of the stages of the aircraft manufacturing and service method 1100. For example, components or subassemblies corresponding to component and subassembly manufacturing phase 1108 may be fabricated or manufactured in a manner similar to components or subassemblies produced while aircraft 1000 is operating during in-service phase 1114. Also, one or more examples of the apparatuses, methods, or combinations thereof may be utilized during manufacturing phase 1108 and system integration phase 1110, for example, by substantially expediting assembly of or reducing the cost of aircraft 1000. Similarly, one or more examples of the apparatus or method realizations, or a combination thereof, may be utilized, for example and without limitation, while aircraft 1000 is in in-service phase 1114 and/or during maintenance and service phase 1116. This section describes additional aspects and features of the keel beam assemblies, keel boxes, chord extensions, AWWBs, backup structures, aircraft sections, aircraft, and associated methods of the present disclosure, presented without limitation as a series of paragraphs, some or all of which may be alphanumerically designated for clarity and efficiency. Each of these paragraphs can be combined with one or more other paragraphs, and/or with disclosure from elsewhere in this application, in any suitable manner. Some of the paragraphs below expressly refer to and further limit other paragraphs, providing without limitation examples of some of the suitable combinations. A1. A keel beam assembly, comprising: (i) a pair of keel chords extending outside an aircraft fuselage (e.g., outside a shell/skin of the aircraft fuselage) and forming at least part of a lower keel box portion of a keel box; and (ii) an upper keel box portion of the keel box coupled to the pair of keel chords and having an aft end engaged with and secured to an aft wheel well bulkhead (AWWB). A2. The keel beam assembly of paragraph A1, wherein an aft portion of the keel box has a center of mass located close to an envelope defined by an exterior surface of a skin of the aircraft fuselage. A2a. The keel beam assembly of paragraph A2, wherein the center of mass is located less than 10 centimeters from the envelope. A2b. The keel beam assembly of paragraph A2, wherein the center of mass is located less than 4, 3, or 2 centimeters from the envelope. A3. The keel beam assembly of any of paragraphs A1 to A2b, wherein the upper keel box portion is bolted to the AWWB. A4. The keel beam assembly of any of paragraphs A1 to A3, wherein the AWWB includes a web, wherein the upper keel box portion is secured to a backup structure through the web, and wherein the backup structure is engaged with an aft side of the web and secured to a peripheral portion of the aircraft fuselage. A5. The keel beam assembly of paragraph A4, wherein the keel box includes a body and one or more brackets fastened to the body, and wherein each bracket has one or more flanges engaged with the web of the AWWB and defining apertures through which the bracket is secured to the backup structure through the web using fasteners. A6. The keel beam assembly of any of paragraphs A1 to A5, further comprising a pair of aft chord extensions spliced to the pair of keel chords at aft ends of the keel chords and extending outside the aircraft fuselage. A7. The keel beam assembly of any of paragraphs A1 to A6, wherein the AWWB includes a web and a horizontal stiffener located on a forward side of the web, and wherein the upper keel box portion is engaged with and fastened to the horizontal stiffener. A8. The keel beam assembly of any of paragraphs A1 to A7, further comprising a clip having a first portion mounted to the keel box at one of the keel chords and a second portion engaged with and secured to a forward side of the AWWB. A9. The keel beam assembly of any of paragraphs A1 to A8, wherein the keel box is hollow. A10. The keel beam assembly of any of paragraphs A1 to A9, wherein the keel box has an upper web, a lower web, and a pair of side webs (e.g., left- and right-side webs) spaced laterally from one another. A11. The keel beam assembly of any of paragraphs A1 to A10, wherein the pair of keel chords is a pair of lower keel chords, wherein the keel box includes a pair of upper keel chords, an upper web extending between the upper keel chords and a lower web extending between the lower keel chords, and a pair of side webs (e.g., left- and right-side webs) laterally spaced from one another and each extending between an upper keel chord and a lower keel chord. A12. The keel beam assembly of any of paragraphs A1 to A11, wherein the pair of keel chords are a left lower keel chord and a right lower keel chord, wherein the upper keel box portion includes a left upper keel chord and a right upper keel chord. A12a. The keel beam assembly of paragraph A12, wherein the lower keel chords are primary/major keel chords and the upper keel chords are minor/secondary keel chords, wherein the left lower keel chord and the left upper keel chords are aligned with one another in a left plane (optionally a vertical left plane), and wherein the right lower keel chord and the right upper keel chord are aligned with one another in a right plane (optionally a vertical right plane). A13. The keel beam assembly of paragraph A12 or A12a, wherein the upper keel box portion includes a left bracket and a right bracket each engaged with the AWWB, wherein the left bracket is aligned with the left lower keel chord and the left upper keel chord in the left plane, and wherein the right bracket is aligned with the right lower keel chord and the right upper keel chord in the right plane. A14. The keel beam assembly of paragraph A12, A12a, or A13, wherein the AWWB includes a web, and wherein the upper keel box portion is coupled through the web to a left vertical beam and a right vertical beam located aft of the web, wherein the left vertical beam is aligned with the left lower keel chord and the left upper keel chord in the left plane, and wherein the right vertical beam is aligned with the right lower keel chord and the right upper keel chord in the right plane. A15. The keel beam assembly of any of paragraphs A1 to A14, wherein an aft portion of the keel chords of the pair of keel chords extends along an aft portion of the keel box and is located at least predominantly outside the aircraft fuselage. A15a. The keel beam assembly of paragraph A15, wherein at least 50%, 60%, 70%, or 80% of the mass of the aft portion of the keel chords is located outside an envelope defined by an exterior surface of a skin/shell of the aircraft fuselage. A16. The keel beam assembly of any of paragraphs A1 to A15a, wherein the keel beam assembly is mounted to a backup structure that is rearwardly adjacent a web of the AWWB. A17. The keel beam assembly of paragraph A16, wherein the backup structure includes a strut having a longitudinal axis arranged obliquely to a longitudinal axis of the aircraft fuselage. A18. The keel beam assembly of paragraph A17, wherein the strut has a forward end coupled to a vertical beam of the backup structure and an aft end coupled to a structural framework of the aircraft fuselage located inwardly adjacent a skin of the aircraft fuselage. A19. The keel beam assembly of any of paragraphs A16 to A18, wherein the backup structure includes a vertical beam mounted onto an aft side of the web of the AWWB. A20. The keel beam assembly of paragraph A19, wherein the vertical beam extends to a deck located over the backup structure. A21. The keel beam assembly of paragraph A20, wherein the vertical beam includes a body defining a longitudinal axis, optionally oriented parallel to a plane defined by the AWBB, and also includes a foot projecting rearwardly from the body and secured to a structural framework located inwardly adjacent a skin of the aircraft fuselage. A22. The keel beam assembly of paragraph A21, wherein the body and the foot are formed integrally with one another. A23. The keel beam assembly of paragraph A21, wherein the body and the foot are formed separately from one another. A24. The keel beam assembly of any of paragraphs A16 to A23, wherein the backup structure includes a horizontal beam elongated parallel to a longitudinal axis of the aircraft, and wherein the horizontal beam is located on and/or secured to a structural framework and/or a skin of the aircraft fuselage. A25. The keel beam assembly of any of paragraphs A16 to A24, wherein the backup structure spans at least one or two frame bays of the aircraft fuselage. A26. The keel beam assembly of any of paragraphs A16 to A24, wherein the backup structure spans less than one frame bay of the aircraft fuselage. A27. The keel beam assembly of any of paragraphs A1 to A26, wherein the AWWB includes a web having a peripheral edge and a frame member extending along the peripheral edge and secured to web and the aircraft fuselage, and wherein the upper portion of the keel box is mounted onto a forward side of the web using fasteners that extend through the web and the frame member. B1. An aircraft, comprising: (i) a fuselage; (ii) an aft wheel well bulkhead (AWWB); and (iii) a keel beam assembly including a pair of keel chords extending outside the fuselage and forming at least part of a lower keel box portion of a keel box, the keel beam assembly also including an upper keel box portion of the keel box coupled to the pair of keel chords and having an aft end mounted onto a forward side of the AWWB. B2. The aircraft of paragraph B1, further comprising a pair of aft chord extensions spliced to the pair of keel chords at aft ends of the keel chords and extending outside the fuselage. B3. The aircraft of paragraph B2, wherein an aft portion of the keel box has a center of mass located close to an envelope defined by an exterior surface of a skin of the fuselage. B3a. The aircraft of paragraph B3, wherein the center of mass is located less than 10 centimeters from the envelope. B3b. The aircraft of paragraph B3, wherein the center of mass is located less than 4, 3, or 2 centimeters from the envelope. B4. The aircraft of any of paragraphs B1 to B3b, wherein the AWWB includes a web, and wherein the upper keel box portion is mounted onto a forward side of the web, further comprising a backup structure engaged with an aft side of the web and fastened to the upper keel box portion through the web. B5. The aircraft of paragraph B4, wherein the upper keel box portion has a pair of side portions (e.g., left- and right-side portions) spaced laterally from one another, and wherein each side portion is separately bolted through the web to a backup structure engaged with an aft side of the web and secured to a peripheral portion of the fuselage. B6. The aircraft of paragraph B5, wherein each side portion is bolted through the web to a respective vertical beam of the backup structure. B7. The aircraft of any of paragraphs B1 to B6, wherein the keel box includes a body and one or more brackets fastened to the body, and wherein each bracket has one or more flanges engaged with the AWWB and defining apertures through which the bracket is mounted onto the AWWB. B8. The aircraft of any of paragraphs B1 to B7, further comprising any limitation(s) of any of paragraphs A1 to A27 of this section. C1. A method of aircraft manufacture using an aircraft section including a fuselage portion coupled to a pair of keel chords, wherein the keel chords extend outside the fuselage portion, form at least part of a lower keel box portion of a keel box, and are coupled to an upper keel box portion of the keel box, the method comprising: mounting an aft end of the upper keel box portion onto a forward side of an aft wheel well bulkhead (AWWB). C2. The method of paragraph C1, wherein the AWWB includes a web, and wherein mounting includes extending a plurality of fasteners through the web of the AWWB. C3. The method of paragraph C2, wherein mounting includes bolting the upper keel box portion through the web of the AWWB to a vertical beam located on an aft side of the web. C4. The method of any of paragraphs C1 to C3, wherein the aircraft section is a first aircraft section, the method further comprising coupling the AWWB to a fuselage portion of a second aircraft section prior to mounting. C5. The method of any of paragraphs C1 to C4, wherein the AWWB includes a web, and wherein mounting comprises positioning the keel box such that no part of the keel box extends through the web. C6. The method of any of paragraphs C1 to C5, further comprising any limitation(s) of any of paragraphs A1 to A27 or B1 to B7 of this section. The different examples of a keel box, a keel beam assembly, an AWWB, a backup structure, aircraft sections, and corresponding aircraft and associated manufacturing methods described herein, provide several advantages over known solutions. For example, illustrative examples described herein of a keel box and AWWB provide any combination of improved load transfer, separate fabrication and construction, simplified joining, lighter weight, lower cost, fewer parts, and faster more economical aircraft production. Additionally, and among other benefits, illustrative examples described herein of a keel box place primary chords of the keel box outside the fuselage shell/skin of an aircraft or aircraft section, and an upper portion of the keel box inside the fuselage shell/skin. This configuration advantageously positions the center of gravity of an aft portion of the keel box close to the shell/skin exterior surface (e.g., less than 10, 4, 3, or 2 centimeters from an envelope defined by the exterior surface of the skin/shell). As a result, the overall induced moment fora large load transfer is minimized, which provides better aerodynamic control and less stress on the aircraft. Moreover, this configuration optimally lines up the keel box with the fuselage skin at the aft end of the keel box, where the loads are highest. Additionally, and among other benefits, illustrative examples herein of a keel box fully splice an upper portion of the keel box at the AWWB, without any pass-through or continuous members of the keel box extending through and/or interrupting the web of the AWWB. This configuration enables faster, more efficient aircraft production, as it allows the keel box and AWWB to be fabricated and sub-assembled independently, and then joined to one another at a later stage of aircraft manufacture using fasteners such as bolts, with a relatively small amount of time and effort. Additionally, and among other benefits, illustrative examples described herein simplify the fabrication and construction of the AWWB for an aircraft. Additionally, and among other benefits, illustrative examples described herein of a keel box save weight by having the centroid of the keel box align closely with the fuselage skin. This configuration provides a structurally efficient load path that reduces overall eccentricity-induced bending, which allows for a lighter-weight design of the keel box. Additionally, and among other benefits, illustrative examples described herein simplify the fabrication and assembly of the AWWB, by reducing the usage of titanium and the time needed to drill/slot the titanium. This reduced usage and machining of titanium reduces cost and weight. Additionally, and among other benefits, illustrative examples described herein enable production of midsize aircraft. By fully splicing a keel box at the AWWB, this approach allows the keel box, the AWWB, and an aft fuselage body to be independently fabricated and then assembled without requiring complicated slotting or threading of parts of the keel box through the web of the AWWB. This approach allows for faster and simpler end item joining. Additionally, and among other benefits, illustrative examples described herein use one or more parts of the AWWB for splicing to the keel box, which reduces the number of parts needed for assembly. The disclosed keel box, keel beam assembly, AWWB, aircraft, and aircraft production system can provide these example benefits over known keel boxes, keel beam assemblies, AWWB, aircraft, and aircraft production systems. However, not all examples described herein provide the same advantages or the same degree of advantage. The disclosure set forth above may encompass multiple distinct examples with independent utility. Although each of these has been disclosed in one or more illustrative forms, the specific examples thereof as disclosed and illustrated herein are not to be considered in a limiting sense, because numerous variations are possible. To the extent that section headings are used within this disclosure, such headings are for organizational purposes only. The subject matter of the disclosure includes all novel and nonobvious combinations and subcombinations of the various elements, features, functions, and/or properties disclosed herein. The following claims particularly point out certain combinations and subcombinations regarded as novel and nonobvious. Other combinations and subcombinations of features, functions, elements, and/or properties may be claimed in applications claiming priority from this or a related application. Such claims, whether broader, narrower, equal, or different in scope to the original claims, also are regarded as included within the subject matter of the present disclosure.CROSS-REFERENCES
BACKGROUND
SUMMARY
BRIEF DESCRIPTION OF THE DRAWINGS
DETAILED DESCRIPTION
Overview
Examples, Components, and Alternatives
A. Illustrative Aircraft and Keel Beam Assembly
B. Illustrative Keel Beam Assembly, Mounting Configuration, and Backup Structure
C. Other Illustrative Keel Beam Assemblies, AWWBs, and Backup Structures
D. Further Illustrative Keel Beam Assemblies, AWWBs, and Backup Structures
E. Illustrative Method of Aircraft Manufacture
F. Illustrative Aircraft and Associated Method
Illustrative Combinations and Additional Examples
Advantages, Features, and Benefits
CONCLUSION