заявка
№ US 20220183905
МПК A61F13/537

ABSORBENT ARTICLES AND METHODS OF MAKING

Авторы:
Christina LAMBERTZ Ainas WEBER Toon COPPEJANS
Все (6)
Номер заявки
17440839
Дата подачи заявки
19.03.2020
Опубликовано
16.06.2022
Страна
US
Дата приоритета
16.12.2025
Номер приоритета
Страна приоритета
Как управлять
интеллектуальной собственностью
Реферат

[0000]

An absorbent article comprising an absorbent core sandwiched between a liquid permeable topsheet and a liquid impermeable backsheet, and an acquisition distribution layer positioned between said topsheet and said absorbent core, wherein the absorbent core comprises absorbent material selected from the group consisting of cellulose fibers, superabsorbent polymers and combinations thereof, said absorbent core comprising at least one interconnected channel free of said absorbent material, wherein said channel has a length extending along a longitudinal axis and the absorbent core has a length extending along said longitudinal axis and wherein the length of said channel is from 10% to 95% of the length of said absorbent core wherein the acquisition distribution layer comprises a spunbond and/or carded nonwoven layer comprising synthetic fibers, wherein said synthetic fibers are comprised at a level of greater than 80% wt by weight of said acquisition distribution layer, and wherein said acquisition distribution layer has a basis weight of from 10 to 50 g/m2.

[00000]

Формула изобретения

1. An absorbent article (10, 20, 300, 500, 600) comprising an absorbent core (101, 501, 601) sandwiched between a liquid permeable topsheet (520, 620) and a liquid impermeable backsheet (521, 621), and an acquisition distribution layer (522, 622) positioned between said topsheet (520, 620) and said absorbent core (101, 501, 601), wherein the absorbent core (101, 501, 601) comprises absorbent material selected from the group consisting of cellulose fibers, superabsorbent polymers and combinations thereof, said absorbent core (101, 501, 601) comprising at least one interconnected channel (106) free of said absorbent material, wherein said channel (106) has a length extending along a longitudinal axis (48) and the absorbent core (101, 501, 601) has a length extending along said longitudinal axis (48) and wherein the length of said channel (106) is from 10% to 95% of the length of said absorbent core (101, 501, 601) characterized in that the acquisition distribution layer (522, 622) comprises a spunbond and/or carded nonwoven layer comprising synthetic fibers, wherein said synthetic fibers are comprised at a level of greater than 80% wt by weight of said acquisition distribution layer (522, 622), and wherein said acquisition distribution layer (522, 622) has a basis weight of from 10 to 50 g/m2.

2. An absorbent article according to claim 1, wherein the absorbent core (101, 501, 601) comprises a single interconnected channel (106).

3. An absorbent article according to any of the preceding claims, wherein the interconnected channel (106) extends both along the longitudinal axis (48) and along an axis perpendicular to said longitudinal axis (48), such that a shape is formed that is substantially U-shaped.

4. An absorbent article according to any of the preceding claims, wherein the acquisition distribution layer (522, 622) has a specific volume of less than 11.4 cm3/g, preferably less than 11.3 cm3/g, more preferably from 5.5 cm3/g to 11.2 cm3/g, even more preferably from 8.5 cm3/g to 11.17 cm3/g.

5. An absorbent article according to any of the preceding claims, wherein the synthetic fibers are comprised at a level of greater than 90% wt, preferably from 95% to 100%, by weight of said acquisition distribution layer (522, 622).

6. An absorbent article according to any of the preceding claims, wherein the acquisition distribution layer (522, 622) consists of synthetic fibers and is preferably free of cellulose fibers, more preferably wherein said acquisition distribution layer (522, 622) is treated, such as with a surfactant, to render said layer (522, 622) hydrophilic.

7. An absorbent article according to any of the preceding claims, wherein the synthetic fibers comprise, preferably consist of, polypropylene fibers.

8. An absorbent article according to any of the preceding claims, wherein the acquisition distribution layer (522, 622) consists of a, preferably single, spunbond or carded nonwoven layer and is free of air-through-bonded, airlaid and/or meltblone nonwoven layers.

9. An absorbent article according to any of the preceding claims, wherein the acquisition distribution layer (522, 622) has a basis weight of from 15 to 40 g/m2, preferably from 18 to 35 g/m2, more preferably from 20 to 30 g/m2, most preferably from 21 to 25 g/m2.

10. An absorbent article according to any of the preceding claims, wherein the carded nonwoven layer is a carded thermobonded nonwoven layer.

11. An absorbent article according to any of the preceding claims, wherein the acquisition distribution layer (522, 622) has a mean flow pore size of from 15 μm to 200 μm, preferably from 30 μm to 150 μm, more preferably from 45 μm to 130 μm, even more preferably from 55 μm to 110 μm, even more preferably from 60 μm to less than 100 μm, even more preferably from 65 μm to 95 μm, even more preferably from 70 μm to 90 μm.

12. An absorbent article according to any of the preceding claims, wherein the acquisition distribution layer (522, 622) comprises a first center-position (CADL) and the absorbent core (101, 501, 601) comprises a second center-position (Cc), and wherein the acquisition distribution layer (522, 622) is asymmetrically positioned over the absorbent core (101, 501, 601) such that the first center-position (CADL) and second center-position (CO are offset at least along the longitudinal axis (48), preferably wherein the acquisition distribution layer (522, 622) is positioned such that it does not overlap with a portion of the channel (106) that extends in the widthwise direction along an axis substantially perpendicular to said longitudinal axis (48).

13. An absorbent article according to any of the preceding claims, wherein the acquisition distribution layer (522, 622) has a relative porosity of less than 9000 L/m2/s, preferably of from 1000 L/m2/s to 8000 L/m2/s, preferably from 2000 L/m2/s to 7000 L/m2/s, more preferably from 3000 L/m2/s to 5000 L/m2/s, most preferably from 3500 L/m2/s to 4500 L/m2/s.

14. The use of a nonwoven having a relative porosity of less than 9000 L/m2/s as acquisition distribution layer (522, 622) for an absorbent article comprising an absorbent core (101, 501, 601) sandwiched between a liquid permeable topsheet (520, 620) and a liquid impermeable backsheet (521, 621), said acquisition distribution layer (522, 622) positioned between said topsheet (520, 620) and said absorbent core (101, 501, 601), wherein the absorbent core (101, 501, 601) comprises absorbent material selected from the group consisting of cellulose fibers, superabsorbent polymers and combinations thereof, said absorbent core (101, 501, 601) comprising at least one interconnected channel (106) free of said absorbent material, wherein said channel (106) has a length extending along a longitudinal axis (48) and the absorbent core (101, 501, 601) has a length extending along said longitudinal axis (48) and wherein the length of said channel (106) is from 10% to 95% of the length of said absorbent core (101, 501, 601).

15. The use according to claim 14 wherein the relative porosity is from 1000 L/m2/s to 8000 L/m2/s, preferably from 2000 L/m2/s to 7000 L/m2/s, more preferably from 3000 L/m2/s to 5000 L/m2/s, most preferably from 3500 L/m2/s to 4500 L/m2/s, and preferably the absorbent article is according to any of preceding claims 1 to 13.

Описание

TECHNICAL FIELD

[0001]

The disclosure pertains to the technical field of absorbent hygiene products. In particular, the present disclosure relates to an absorbent core that can be used within an article for absorbing body fluids and exudates, such as urine and fecal material, or blood, menses, and vaginal fluids. More particularly, the present disclosure relates to absorbent garments, such as disposable diapers or diaper pants, disposable incontinence diapers or pants, and which are configured to collect and contain fecal material and avoid leakage, or sanitary napkins or panty liners, which are configured to collect and contain blood, menses, urine, vaginal fluids and avoid leakage.

BACKGROUND

[0002]

The disclosure relates to an absorbent core for an absorbent article, in particular for hygiene articles, to absorbent articles comprising said absorbent core and to processes for providing said absorbent core. In particular to cores having one or more channels therethrough.

[0003]

Absorbent cores have been subject to considerable improvement and innovation over time to address needs such as improved fluid absorption and distribution, as well as comfort, and a need for continued improvement exists. Such needs are ever present in today's demanding consumer environment. The following paragraphs elucidate on some of the relevant disclosures pertaining to this subject.

[0004]

EP 1077052 A1 and EP 1078617 A2 disclose a sanitary napkin allowing controlled deformation in response to lateral compression when in use. The sanitary napkin has preferential bending zones extending along a longitudinal axis formed by a process of perforating, slitting, cutting or embossing.

[0005]

EP 1959903 B1 discloses an incontinence pad comprising a pair of folding lines dividing the absorbent core material into a central portion and a pair of longitudinal side portions to adapt better to the body of the user. The folding lines are formed by compression of the absorbent material.

[0006]

EP 2211808 B1 discloses an absorbent core comprising an upper absorbent core and a lower absorbent core. The upper absorbent core comprises fold indications enabling the absorbent core to adopt a predetermined three-dimensional shape when subjected to pressure in the width direction. The fold indications are cuts or compression lines which do or do not extend completely through the upper core.

[0007]

EP 1349524 B1 discloses a pantiliner comprising at least one fold line defining a central area and two side areas which allows adjusting the size of the pantiliner by folding the pantiliner along the fold line. The fold lines are lines of embossing.

[0008]

EP 1267775 B1 discloses a sanitary pad that conforms to the body confinements. The sanitary pad comprises a forward wide portion and a rear narrow portion and at least two fold lines preformed on the upper or lower surface of the narrow portion. The fold lines may be selected from mechanically pressed lines, chemically joined constituents forming the lines, heat generated lines, laser generated lines, adhesive generated lines and/or mechanical vibration generated lines.

[0009]

EP1088536 A2 discloses a hygiene napkin provided with corrugations making it possible to adapt the hygienic napkin to the user's panties.

[0010]

U.S. Pat. No. 5,756,039 A discloses an absorbent core comprising distinct segments which can be independently displaced by a lifting member. The lifting member ensures that the top sheet conforms to the wearer's body.

[0011]

US 2006/0184150 A1 discloses an absorbent core with varying flexibility that act as shaping element for improved body fit. The absorbent core can have lines of reduced bending resistance which are formed by removal of material, e.g. in the form of apertures or slots.

[0012]

U.S. Pat. No. 6,503,233 B1 discloses an absorbent article comprising a combination of downwardly-deflecting crease lines and an upward-deflecting shaping line to achieve a geometry for improved body fit. The crease lines are formed by embossing of the absorbent material. The shaping line is formed by perforation or notching.

[0013]

US 2015/0088084 A1, discloses a method of making an absorbent structure having a three-dimensional topography including placing at least a portion of the absorbent structure between opposed mold surfaces. At least one of the mold surfaces has a three-dimensional topography. The three-dimensional topography of the mold surface is imparted onto the absorbent structure so that the absorbent structure has a three-dimensional topography corresponding to the three-dimensional topography of the mold surface.

[0014]

EP3342386A1, discloses an absorbent core comprising substantially continuous zones of one or more high fluid distribution structures and discontinuous zones of fluid absorption structures surrounding the one or more high fluid distribution structures, wherein the one or more high fluid distribution structures are arranged to distribute fluid across the absorbent core at a speed that is faster than the speed of fluid distribution across the absorbent core by said discontinuous fluid absorption structures, and wherein said continuous zones extend along a path that is substantially parallel to at least a portion of the perimeter of the core, said portion of the perimeter of the core comprising at least a portion of the sides of the core and one of the ends of the core.

[0015]

Although channels as described in EP3342386A1 are beneficial in terms of fluid handling, there still remains a need to further improve dryness whilst retaining speed of acquisition.

[0016]

The present disclosure aims to provide a novel absorbent article utilizing a synergistic combination of a channeled core and selected acquisition distribution layer particularly designed to provide excellent acquisition speed performance as well as exceptionally low rewet that provides an even greater consumer perceptive dryness to the product.

SUMMARY

[0017]

In one aspect, the disclosure relates to an absorbent article comprising an absorbent core sandwiched between a liquid permeable topsheet and a liquid impermeable backsheet, and an acquisition distribution layer positioned between said topsheet and said absorbent core, wherein the absorbent core comprises absorbent material selected from the group consisting of cellulose fibers, superabsorbent polymers and combinations thereof, said absorbent core comprising at least one interconnected channel free of said absorbent material, wherein said channel has a length extending along a longitudinal axis and the absorbent core has a length extending along said longitudinal axis and wherein the length of said channel is from 10% to 95% of the length of said absorbent core wherein the acquisition distribution layer comprises a spunbond and/or carded nonwoven layer comprising synthetic fibers, wherein said synthetic fibers are comprised at a level of greater than 80% wt by weight of said acquisition distribution layer, and wherein said acquisition distribution layer has a basis weight of from 10 to 50 g/m2. Preferably the length of said channel is from 30% to 90%, more preferably from 40% to 85%, most preferably from 50% to 80%, of the length of said absorbent core.

[0018]

In an aspect, the disclosure relates to the use of a nonwoven having a relative porosity of less than 9000 L/m2/s as acquisition distribution layer for an absorbent article comprising an absorbent core sandwiched between a liquid permeable topsheet and a liquid impermeable backsheet, said acquisition distribution layer positioned between said topsheet and said absorbent core, wherein the absorbent core comprises absorbent material selected from the group consisting of cellulose fibers, superabsorbent polymers and combinations thereof, said absorbent core comprising at least one interconnected channel free of said absorbent material, wherein said channel has a length extending along a longitudinal axis and the absorbent core has a length extending along said longitudinal axis and wherein the length of said channel is from 10% to 95% of the length of said absorbent core.

[0019]

In an aspect, the disclosure relates to an absorbent core comprising a front portion; a back portion; a middle portion positioned between the front portion and the back portion; a longitudinal axis extending along a length of said core and crossing said front, middle and back portions, the absorbent core having a width extending perpendicular to said length and a perimeter comprising at least two opposing ends and at least two opposing sides positioned between said ends, said core being a multi-layer core comprising at least a first and a second distinct core layers positioned one on top of the other, wherein a first core layer comprises a first concentration of super absorbent polymer therein and a second core layer comprises a second concentration of super absorbent polymer therein wherein the first and/or second core layers comprise one or more channels and wherein the second core layer comprises a first region of superabsorbent polymer particles on a surface thereof that is opposite said first core layer, said first region being disposed in a pattern that substantially follows the shape of the channel(s), at least along a plane formed by the core length and width, such that the shape of said channel(s) is substantially equal to that of said pattern.

[0020]

In one aspect, the disclosure relates to an absorbent core comprising a front portion; a back portion; a middle portion positioned between the front portion and the back portion; and a longitudinal axis extending along a length of said core and crossing said front, middle and back portions, the absorbent core having a width extending perpendicular to said length and a perimeter comprising at least two opposing ends and at least two opposing sides positioned between said ends, said core being a multi-layer core comprising at least two distinct core layers, wherein a first core layer comprises a first concentration of super absorbent polymer therein and a second core layer comprises a second concentration of super absorbent polymer therein said first and second concentrations being different, wherein at least said first core layer comprises one or more channels, said channel(s) being continuous and interconnected at least along the length and the width of said core such that at least two channel portions extending along said length are in fluid communication via a connecting channel portion positioned proximal to said back portion.

[0021]

In one aspect, the disclosure relates to an absorbent core comprising a front portion; a back portion; a middle portion positioned between the front portion and the back portion; and a longitudinal axis extending along a length of said core and crossing said front, middle and back portions, the absorbent core having a width extending perpendicular to said length and a perimeter comprising at least two opposing ends and at least two opposing sides positioned between said ends wherein the absorbent core comprises one or more channels having a first shape when the absorbent core is in dry state and a second shape when the absorbent core is in wet state and wherein said first and second shapes are different.

[0022]

In one aspect, the disclosure relates to an absorbent core comprising substantially continuous zones of one or more high fluid distribution structures and discontinuous zones of fluid absorption structures surrounding the one or more high fluid distribution structures, wherein the one or more high fluid distribution structures are arranged to distribute fluid across the absorbent core at a speed that is faster than the speed of fluid distribution across the absorbent core by said discontinuous fluid absorption structures, and wherein said continuous zones extend along a path that is substantially parallel to at least a portion of the perimeter of the core, said portion of the perimeter of the core comprising at least a portion of the sides of the core and one of the ends of the core.

[0023]

In a further aspect, the disclosure relates to an absorbent core comprising: a front portion; a back portion; a crotch portion position between the front portion and the back portion; and a longitudinal axis extending along a length of said core and crossing said front, crotch and back portions, the absorbent core having a width extending perpendicular to said length and a perimeter comprising at least two opposing ends and at least two opposing sides positioned between said ends wherein the absorbent core comprises one or more substantially interconnected channels extending through at least a portion of the crotch portion along the length of the core and along at least a portion of said width of the core from one side of the core to the other, preferably said one or more substantially interconnected channels being symmetric or asymmetric about the longitudinal axis.

[0024]

In a preferred aspect, the absorbent core has at least one of the interconnected channels, preferably each said channel, forming a shape having a closed end in the form of a U-bend, and preferably an open end in the form of two diverging ends or a funnel-shape, preferably wherein the closed end is positioned proximal to the back portion of the absorbent core and the open end is positioned proximal to the front portion of the absorbent core and distal from said closed end.

[0025]

In a further aspect, the disclosure relates to an absorbent article comprising said core, preferably said article being selected from disposable diapers or diaper pants; disposable incontinence diapers or diaper pants; sanitary napkins; or panty liners; and typically wherein the channels in said core remain visible both before and after use of the article, preferably wherein the channels are more visible after use than before use of the article.

[0026]

In yet a further aspect, the disclosure relates to the use of an absorbent core according to the disclosure in an absorbent article, for improved liquid distribution compared to the same absorbent article comprising a core free of substantially interconnected channels.

[0027]

In yet a further aspect, the disclosure relates to the use of an absorbent core according to the disclosure in an absorbent article, for providing a tri-stage fluid distribution comprising a first fluid distribution at a first speed, a second fluid distribution at a second speed and a third fluid distribution at a third speed, said first speed being greater or equal to said second speed and said third speed being less than said first speed and less than or equal to said second speed, preferably wherein the first fluid distribution is driven by the substantially interconnected channels, the second fluid distribution is driven by a three-dimensional absorbent material comprised within the core, and the third fluid distribution is driven by an amount of super absorbent polymer dispersed within the three-dimensional absorbent material.

[0028]

In yet a further aspect, the disclosure relates to a process of making an absorbent core comprising the steps of: providing a mold comprising a 3D insert therein, said 3D insert being the inverse shape of the desired channels, wherein substantially the entire surface of the mold is in fluid communication with an under-pressure source except for the 3D insert; applying a first nonwoven web to said mold; applying a three-dimensional absorbent material over at least a portion of said nonwoven; applying a second nonwoven web directly or indirectly over the three-dimensional absorbent material; optionally applying a bonding step to form a laminate comprising said first nonwoven, said second nonwoven and said three-dimensional absorbent material therebetween; optionally removing said laminate from the mold to form an absorbent core comprising channels having the inverse shape of said 3D insert; and wherein at least for the duration of the step of applying a three-dimensional absorbent material, the underpressure source is arranged to provide a vacuum force forcing said three-dimensional absorbent material around the 3D insert such to substantially evacuate the surface thereof from three-dimensional absorbent material and form channels substantially free of three-dimensional absorbent material.

BRIEF DESCRIPTION OF THE FIGURES

[0029]

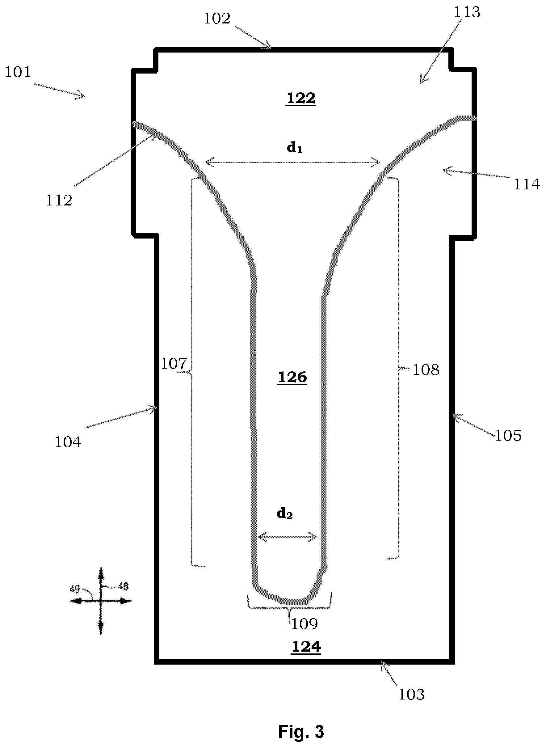
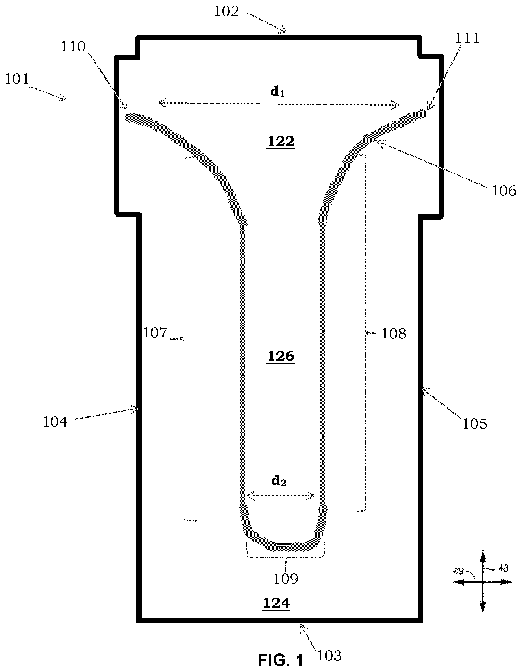
FIG. 1 shows a diagrammatic top view of an absorbent core according to an embodiment herein.

[0030]

FIG. 2 shows a diagrammatic top view of an absorbent core according to an embodiment herein.

[0031]

FIG. 3 shows a diagrammatic top view of an absorbent core according to an embodiment herein.

[0032]

FIG. 4 shows a diagrammatic top view of absorbent cores according to an embodiment herein and having different geometrical shapes formed by interconnected channels.

[0033]

FIG. 5 shows a perspective overview of an absorbent article according to an embodiment herein.

[0034]

FIG. 6 shows a perspective overview of a product according to an embodiment herein.

[0035]

FIG. 7 shows a plan view of an absorbent article according to an embodiment herein.

[0036]

FIG. 8 shows a plan view of an absorbent article according to an embodiment herein.

[0037]

FIG. 9 shows a perspective overview of an absorbent article according to an embodiment herein.

[0038]

FIG. 10 shows a perspective overview of a product according to an embodiment herein.

[0039]

FIG. 11 shows a plan view of an absorbent article according to an embodiment herein.

[0040]

FIG. 12 shows a plan view of an absorbent article according to an embodiment herein.

[0041]

FIG. 13 shows a diagrammatic view of an absorbent article according to an embodiment herein.

[0042]

FIG. 14 shows a diagrammatic view of an absorbent article according to an embodiment herein.

[0043]

FIG. 15A and FIG. 15B show images of molds comprising a 3D insert according to an aspect of the present disclosure.

[0044]

FIG. 16 illustrates interconnected channels wherein the width varies along the channels.

[0045]

FIGS. 17A-D illustrate embodiments of the present disclosure wherein the absorbent core is combined with an acquisition and distribution layer.

[0046]

FIGS. 18A-B illustrate the visual appearance of a channel in dry-state (FIG. 18A) and wet-state (FIG. 18B) respectively.

[0047]

FIGS. 19A-B shows images of samples and test bench for the hang-shear value test method.

[0048]

FIG. 20A illustrates a cross-section of a core according to an embodiment of the present disclosure, such as that of FIG. 1.

[0049]

FIG. 20B illustrates a cross-section of an absorbent article according to an embodiment of the present disclosure incorporating the core of FIG. 20A.

[0050]

FIG. 21A illustrates a cross-section of a core according to an embodiment of the present disclosure, such as that of FIG. 3.

[0051]

FIG. 21B illustrates a cross-section of an absorbent article according to an embodiment of the present disclosure incorporating the core of FIG. 21A.

[0052]

FIG. 22 illustrates an absorbent article according to an embodiment of the present disclosure comprising protruding channels (i.e. in wet-state).

[0053]

FIG. 23 is a photograph of two identical channel-comprising diapers according to Example 9, with the only difference being that the one indicated as “D” comprises an ADL according to Sample A/A′ and the one indicated as “E” comprising Sample B/B′. The respective residual wetness difference being shown visually.

DETAILED DESCRIPTION

[0054]

Unless otherwise defined, all terms used in disclosing characteristics of the disclosure, including technical and scientific terms, have the meaning as commonly understood by one of ordinary skill in the art to which this disclosure belongs. By means of further guidance, term definitions are included to better appreciate the teaching of the present disclosure.

[0055]

As used herein, the following terms have the following meanings:

[0056]

“A”, “an”, and “the” as used herein refers to both singular and plural referents unless the context clearly dictates otherwise. By way of example, “a compartment” refers to one or more than one compartment.

[0057]

“About” as used herein referring to a measurable value such as a parameter, an amount, a temporal duration, and the like, is meant to encompass variations of +/−20% or less, preferably +/−10% or less, more preferably +/−5% or less, even more preferably +/−1% or less, and still more preferably +/−0.1% or less of and from the specified value, in so far such variations are appropriate to perform in the disclosed disclosure. However, it is to be understood that the value to which the modifier “about” refers is itself also specifically disclosed.

[0058]

“Comprise”, “comprising”, and “comprises” and “comprised of” as used herein are synonymous with “include”, “including”, “includes” or “contain”, “containing”, “contains” and are inclusive or open-ended terms that specifies the presence of what follows e.g. component and do not exclude or preclude the presence of additional, non-recited components, features, element, members, steps, known in the art or disclosed therein.

[0059]

The expression “% by weight” (weight percent), here and throughout the description unless otherwise defined, refers to the relative weight of the respective component based on the overall weight of the formulation.

[0060]

The recitation of numerical ranges by endpoints includes all numbers and fractions subsumed within that range, as well as the recited endpoints.

[0061]

“Absorbent article” refers to devices that absorb and contain liquid, and more specifically, refers to devices that are placed against or in proximity to the body of the wearer to absorb and contain the various exudates discharged from the body. Absorbent articles include but are not limited to diapers, adult incontinence briefs, training pants, diaper holders and liners, sanitary napkins and the like, as well as surgical bandages and sponges. Absorbent articles preferably comprise a longitudinal axis and a transversal axis perpendicular to said longitudinal axis. The longitudinal axis is hereby conventionally chosen in the front-to-back direction of the article when referring to the article being worn, and the transversal axis is conventionally chosen in the left-to-right direction of the article when referring to the article being worn. Disposable absorbent articles can include a liquid pervious top sheet, a back sheet joined to the top sheet, and an absorbent core positioned and held between the top sheet and the back sheet. The top sheet is operatively permeable to the liquids that are intended to be held or stored by the absorbent article, and the back sheet may or may not be substantially impervious or otherwise operatively impermeable to the intended liquids. The absorbent article may also include other components, such as liquid wicking layers, liquid intake layers, liquid distribution layers, transfer layers, barrier layers, wrapping layers and the like, as well as combinations thereof. Disposable absorbent articles and the components thereof can operate to provide a body-facing surface and a garment-facing surface.

[0062]

An absorbent article, such as a diaper, comprises a front waistband region, a back waistband region, an intermediate crotch region which interconnects the front and rear waistband regions. When used herein, reference to a “front” portion refers to that part of the absorbent article which is generally located on the front of a subject, such as an infant or adult, when in use. Reference to the “rear” portion refers to the portion of the absorbent article generally located at the rear of the subject, such as an infant or adult, when in use, and reference to the “crotch” portion refers to that portion which is generally located between the legs of subject, such as an infant or adult, when in use. The crotch region is an area where repeated fluid surge typically occurs, within the absorbent article assembly.

[0063]

“Front”, “rear or back”, and “crotch” portions of the absorbent core as used herein typically refer to portions of the absorbent core that are proximal to respective portions of the absorbent article. For example, the “front” portion of the core is that which is most proximal to the front of the subject when worn, the “rear or back” portion of the core is that which is most proximal to the rear or back of the subject when worn, and the “crotch” portion of the core is the middle portion of the absorbent core between the “front” and “rear or back” portions.

[0064]

Preferably, a diaper comprises a liquid permeable “top sheet”, a liquid impermeable “back sheet”, and an “absorbent medium” disposed between the top sheet and the back sheet. The top sheet, back sheet and the absorbent medium could be made from any suitable material known to the person skilled in the art. The top sheet is generally located at or near the bodyside surface of the article, while the back sheet is generally located at or near the garment-side surface of the article. Optionally, the article may comprise one or more separate layers which are in addition to the back sheet and are interposed between the back sheet and the absorbent medium. Top sheet and back sheet are connected or otherwise associated together in an operable manner.

[0065]

The “absorbent medium” or “absorbent core” or “absorbent body” is the absorbent structure disposed between the top sheet and the back sheet of the absorbent article in at least the crotch region of the absorbent article and is capable of absorbing and retaining liquid body exudates. The size and the absorbent capacity of the absorbent medium should be compatible with the size of the intended wearer and the liquid loading imparted by the intended use of the absorbent article. Further, the size and the absorbent capacity of the absorbent medium can be varied to accommodate wearers ranging from infants through adults. It may be manufactured in a wide variety of shapes (for example, rectangular, trapezoidal, T-shape, I-shape, hourglass shape, etc.) and from a wide variety of materials. Examples of commonly occurring absorbent materials are cellulosic fluff pulp, tissue layers, highly absorbent polymers (so called superabsorbent polymer particles (SAP)), absorbent foam materials, absorbent nonwoven materials or the like. It is common to combine cellulosic fluff pulp with superabsorbent polymers in an absorbent material.

[0066]

“Acquisition and distribution layer”, “ADL” or “surge management portion” refers to a sub-layer which preferably is a nonwoven wicking layer under the top sheet of an absorbent product, which speeds up the transport and improves distribution of fluids throughout the absorbent core. The surge management portion is typically less hydrophilic than the retention portion, and has the ability to quickly collect and temporarily hold liquid surges, and to transport the liquid from its initial entrance point to other parts of the absorbent structure, particularly the retention portion. This configuration can help prevent the liquid from pooling and collecting on the portion of the absorbent garment positioned against the wearer's skin, thereby reducing the feeling of wetness by the wearer. Preferably, the surge management portion is positioned between the top sheet and the retention portion.

[0067]

The term “bulk density” as used herein refers to the weight of a material per unit of volume. Bulk density is generally expressed in units of weight/volume (e.g., grams per cubic centimeter). The bulk density of flat, generally planar materials such as, for example, fibrous nonwoven webs, may be derived from measurements of thickness and basis weight of a sample. The thickness of the samples is determined utilizing a Model 49-70 thickness tester available from TMI (Testing Machines Incorporated) of Amityville, N.Y. (alternatively, a portable thickness gauge J 100/A may be used). The thickness is measured using a 6.45 cm (2-inch) diameter circular foot at an applied pressure of about 1.38·103Pa (about 0.2 pounds per square inch (psi)). The basis weight of the sample is determined essentially in accordance with ASTM D-3776-9 with the following changes: 1) sample size is cut to 10.16 cm×10.16 cm (4 inches×4 inches) square and 2); a total of 9 samples are weighed.

[0068]

The term “specific volume” as used herein refers to the inverse bulk density of material being measured in volume per a unit weight and may be expressed in units of cubic centimeters per gram.

[0069]

The term “mean flow pore size” as used herein refers to a measure of average pore diameter as determined by a liquid displacement techniques utilizing a Coulter Porometer and Coulter POROFIL® test liquid available from Coulter Electronics Limited, Luton, England. The mean flow pore size is determined by wetting a test sample with a liquid having a very low surface tension (i.e., Coulter POROFIL®). Air pressure is applied to one side of the sample. Eventually, as the air pressure is increased, the capillary attraction of the fluid in the largest pores is overcome, forcing the liquid out and allowing air to pass through the sample. With further increases in the air pressure, progressively smaller and smaller holes will clear. A flow versus pressure relationship for the wet sample can be established and compared to the results for the dry sample. The mean flow pore size is measured at the point where the curve representing 50% of the dry sample flow versus pressure intersects the curve representing wet sample flow versus pressure. The diameter of the pore which opens at that particular pressure (i.e., the mean flow pore size) can be determined from the following expression:

[0000]


Pore Diameter (μm)=(40τ)/pressure

[0000]

where τ=surface tension of the fluid expressed in units of mN/M; the pressure is the applied pressure expressed in millibars (mbar); and the very low surface tension of the liquid used to wet the sample allows one to assume that the contact angle of the liquid on the sample is about zero.

[0070]

The term “adhesive” as used herein is intended to refer to any suitable hot melt, water or solvent borne adhesive that can be applied to a surface of a film layer in the required pattern or network of adhesive areas to form the film-nonwoven laminate of the present disclosure. Accordingly, suitable adhesives include conventional hot melt adhesives, pressure-sensitive adhesives and reactive adhesives (i.e., polyurethane).

[0071]

As used herein, the term “adhesive bonding” means a bonding process which forms a bond by application of an adhesive. Such application of adhesive may be by various processes such as slot coating, spray coating and other topical applications. Further, such adhesive may be applied within a product component and then exposed to pressure such that contact of a second product component with the adhesive containing product component forms an adhesive bond between the two components.

[0072]

As used herein, an “airformed web” refers to a material comprising cellulosic fibers such as those from fluff pulp that have been separated, such as by a hammermilling process, and then deposited on a porous surface without a substantial quantity of binder fibers present. Airfelt materials used as the absorbent core in many diapers, for example, are a typical example of an airformed material.

[0073]

As used herein, an “airlaid web” is a fibrous structure formed primarily by a process involving deposition of air-entrained fibers onto a mat, typically with binder fibers present, and typically followed by densification and thermal bonding. In addition to traditional thermally bonded airlaid structures (those formed with non-tacky binder material present and substantial thermally bonded), the scope of the term “airlaid” according to the present disclosure can also include coform, which is produced by combining air-entrained dry, dispersed cellulosic fibers with meltblown synthetic polymer fibers while the polymer fibers are still tacky. Further, an airformed web to which binder material is subsequently added can be considered within the scope of the term “airlaid” according to the present disclosure. Binder can be added to an airformed web in liquid form (e. g., an aqueous solution or a melt) by spray nozzles, direction injection or impregnation, vacuum drawing, foam impregnation, and so forth. Solid binder particles can also be added by mechanical or pneumatic means.

[0074]

As used herein, an “air-through-bonded” nonwoven, is a nonwoven structure primarily formed by a process that comprises the application of heated air to the surface of the nonwoven fabric. During the through air bonding process, heated air flows through holes in a plenum above the nonwoven material. Unlike hot ovens, which push air through the material, the through air process uses negative pressure of suction to pull the air through an open conveyor apron holding nonwoven as it is drawn through the oven. Pulling air through the material allows the rapid and even transmission of heat to minimize distortion of the nonwoven material. The binding agents used in the through air bonding process include crystalline binder fibers and powders, which melt to form molten droplets throughout the cross-section of the nonwoven. As the material is cooled, bonding occurs at these droplet points.

[0075]

As used therein, the term “associated” encompasses configurations in which top sheet is directly joined to back sheet by affixing top sheet directly to back sheet, and configurations wherein top sheet is joined to back sheet by affixing top sheet to intermediate members which in turn are affixed to back sheet. Top sheet and back sheet can be affixed directly to each other by attachment means such as an adhesive, sonic bonds, thermal bonds or any other attachment means known in the art. For example, a uniform continuous layer of adhesive, a patterned layer of adhesive, a sprayed pattern of adhesive or an array of separate lines, swirls or spots of construction adhesive may be used to affix top sheet to back sheet. It should be readily appreciated that the above-described attachment means may also be employed to interconnect and assemble together the various other component parts of the article described herein.

[0076]

The terms “back section” and “rear back section” are used herein as synonyms and refer to the area of the absorbent article which is contact with the back of the wearer when the absorbent article is worn.

[0077]

The term “back sheet” refers to a material forming the outer cover of the absorbent article. The back sheet prevents the exudates contained in the absorbent structure from wetting articles such as bedsheets and overgarments which contact the disposable absorbent article. The back sheet may be a unitary layer of material or may be a composite layer composed of multiple components assembled side-by-side or laminated. The back sheet may be the same or different in different parts of the absorbent article. At least in the area of the absorbent medium the back sheet comprises a liquid impervious material in the form of a thin plastic film, e.g. a polyethylene or polypropylene film, a nonwoven material coated with a liquid impervious material, a hydrophobic nonwoven material, which resists liquid penetration, or a laminate of a plastic film and a nonwoven material. The back sheet material may be breathable so as to allow vapour to escape from the absorbent material, while still preventing liquids from passing there through. Examples of breathable back sheet materials are porous polymeric films, nonwoven laminates of spunbond and meltblown layers and laminates of porous polymeric films and nonwoven materials.

[0078]

The terms “belly section” and “front belly section” are used herein as synonyms and refer to the area of the absorbent article which is contact with the belly of the wearer when the absorbent article is worn.

[0079]

The term “blend” means a mixture of two or more polymers while the term “alloy” means a sub-class of blends wherein the components are immiscible but have been compatibilized.

[0080]

As used herein, the “skin-facing”, “body-facing” or “bodyside” surface means that surface of the article or component which is intended to be disposed toward or placed adjacent to the body of the wearer during ordinary use, while the “outward”, “outward-facing” or “garment-side” surface is on the opposite side, and is intended to be disposed to face away from the wearer's body during ordinary use. Such outward surface may be arranged to face toward or placed adjacent to the wearer's undergarments when the absorbent article is worn.

[0081]

“Bonded” refers to the joining, adhering, connecting, attaching, or the like, of at least two elements. Two elements will be considered to be bonded together when they are bonded directly to one another or indirectly to one another, such as when each is directly bonded to intermediate elements.

[0082]

The term “breathable” refers to films having a water vapor transmission rate (WVTR) of at least 300 grams/m2—24 hours.

[0083]

“Carded web (or layer(s) or nonwoven)” refers to webs that are made from staple fibers that are sent through a combing or carding unit, which opens and aligns the staple fibers in the machine direction to form a generally machine direction-oriented fibrous nonwoven web. The web is then bonded by one or more of several known bonding methods.

[0084]

Bonding of nonwoven webs may be achieved by a number of methods; powder bonding, wherein a powdered adhesive or a binder is distributed through the web and then activated, usually by heating the web and adhesive with hot air; pattern bonding, wherein heated calendar rolls or ultrasonic bonding equipment are used to bond the fibers together, usually in a localized bond pattern, though the web can be bonded across its entire surface if so desired; through-air bonding, wherein air which is sufficiently hot to soften at least one component of the web is directed through the web; chemical bonding using, for example, latex adhesives that are deposited onto the web by, for example, spraying; and consolidation by mechanical methods such as needling and hydroentanglement. Carded thermobonded nonwoven thus refers to a carded nonwoven wherein the bonding is achieved by use of heat.

[0085]

As used herein, the term “cellulosic” is meant to include any material having cellulose as a major constituent, and specifically comprising at least 50 percent by weight cellulose or a cellulose derivative. Thus, the term includes cotton, typical wood pulps, nonwoody cellulosic fibers, cellulose acetate, cellulose triacetate, rayon, thermomechanical wood pulp, chemical wood pulp, debonded chemical wood pulp, milkweed, or bacterial cellulose.

[0086]

“Chassis” refers to a foundational constituent of an absorbent article upon which the remainder of the structure of the article is built up or overlaid, e.g., in a diaper, the structural elements that give the diaper the form of briefs or pants when configured for wearing, such as a back sheet, a top sheet, or a combination of a top sheet and a back sheet.

[0087]

“Coform” as used herein is intended to describe a blend of meltblown fibers and cellulose fibers that is formed by air forming a meltblown polymer material while simultaneously blowing air-suspended cellulose fibers into the stream of meltblown fibers. The coform material may also include other materials, such as superabsorbent particles. The meltblown fibers containing wood fibers are collected on a forming surface, such as provided by a foraminous belt. The forming surface may include a gas-pervious material, such as spunbonded fabric material, that has been placed onto the forming surface.

[0088]

“Compression” refers to the process or result of pressing by applying force on an object, thereby increasing the density of the object.

[0089]

The term “consisting essentially of” does not exclude the presence of additional materials which do not significantly affect the desired characteristics of a given composition or product. Exemplary materials of this sort would include, without limitation, pigments, antioxidants, stabilizers, surfactants, waxes, flow promoters, solvents, particulates and materials added to enhance processability of the composition.

[0090]

The diaper can comprise “containment flaps” or “barrier cuffs”. The containment flaps are generally thought to be particularly well suited for the containment of fecal matter and to prevent the lateral flow of liquid waste until such time as the liquid waste can be absorbed by the absorbent article. Many constructions of containment flaps are known. Such containment flaps generally comprise a proximal edge, intended to be attached to the absorbent article, and an opposite distal edge which is generally not attached to the absorbent article along at least a portion of its length. An elastic member is generally located adjacent the distal edge to assist in maintaining the containment flap in an upright condition and in maintaining a sealing relationship between the distal edge of the containment flap and the body of a wearer during use. The elastic member is generally located between two layers of material so that the elastic does not come into contact with the body of a wearer. The containment flaps may be manufactured from a wide variety of materials such as polypropylene, polyester, rayon, nylon, foams, plastic films, formed films, and elastic foams. A number of manufacturing techniques may be used to manufacture the containment flaps. For example, the containment flaps may be woven, non-woven, spunbonded, carded, cast, blown or the like.

[0091]

The diaper can comprise leg containment gaskets. Leg “containment gaskets” help prevent leakage of bodily exudates when the wearer exerts compressive forces on the absorbent article. In particular, the stiffness of the leg containment gaskets prevents twisting and bunching of the leg openings of the absorbent article which can lead to leaks. In addition, the elasticity and conformability of the leg containment gaskets ensures that the bodyfacing surface of the leg containment gaskets provides an adequate seal against the body of the wearer. The physical properties of the leg containment gaskets, such as the thickness and stiffness, also function to space the bodyside liner, outer cover and absorbent core away from the wearer's body when in use. As such, void volume is created between the wearer's body and the bodyside liner and absorbent core of the absorbent article to help contain body exudates.

[0092]

A “continuous waistband” can be an elastomeric, cloth-like, nonwoven fibrous material, such as an elastomeric stretch bonded laminate web or an elastomeric meltblown web. By proper selection of materials, the continuous waistband can be rendered temporarily elastically inhibited, such as by compression. Once temporarily elastically inhibited, the elastic material, of which waistband is comprised, can be activated, such as by treating with heat, to recover to a state of elasticity.

[0093]

“Conventional hot-melt adhesive” means a formulation that generally comprises several components. These components typically include one or more polymers to provide cohesive strength (e.g., aliphatic polyolefins such as poly (ethylene-co-propylene) copolymer; ethylene vinyl acetate copolymers; styrene-butadiene or styrene-isoprene block copolymers; etc.); a resin or analogous material (sometimes called a tackifier) to provide adhesive strength (e.g., hydrocarbons distilled from petroleum distillates; rosins and/or rosin esters; terpenes derived, for example, from wood or citrus, etc.); perhaps waxes, plasticizers or other materials to modify viscosity (i.e., flowability) (examples of such materials include, but are not limited to, mineral oil, polybutene, paraffin oils, ester oils, and the like); and/or other additives including, but not limited to, antioxidants or other stabilizers. A typical hot-melt adhesive formulation might contain from about 15 to about 35 weight percent cohesive strength polymer or polymers; from about 50 to about 65 weight percent resin or other tackifier or tackifiers; from more than zero to about 30 weight percent plasticizer or other viscosity modifier; and optionally less than about 1 weight percent stabilizer or other additive. It should be understood that other adhesive formulations comprising different weight percentages of these components are possible.

[0094]

The term “density” or “concentration” when referring to the absorbent material, in particular the SAP, of a layer, refers to the amount of the absorbent material divided by the surface area of the layer over which the absorbent material is spread out.

[0095]

As used herein, the term “diaper” refers to an absorbent article generally worn by infants about the lower torso.

[0096]

The term “disposable” is used herein to describe absorbent articles that generally are not intended to be laundered or otherwise restored or reused as an absorbent article (i.e., they are intended to be discarded after a single use and, preferably, to be recycled, composted or otherwise disposed of in an environmentally compatible manner).

[0097]

As used herein, the term “elastic resistance” describes an elastic force that tends to resist an applied tensile force causing a material provided therewith to tend to contract to an untensioned configuration in response to a stretching force.

[0098]

As used herein, the terms “elastic”, “elastomeric”, “elasticity” or derivations thereof are used to describe the ability of various materials and objects comprised of such to reversibly undergo deformation under stress, e.g., become stretched or extended, in at least one direction when a force is applied to the material and to resume substantially to their original dimensions upon relaxing, i.e., when the force is released, without rupture or breakage. Preferably, it refers to a material or composite which can be elongated in at least one direction by at least 50% of its relaxed length, i.e., elongated to at least 150% of its relaxed length, and which will recover upon release of the applied tension at least 40% of its elongation. Accordingly, upon release of the applied tension at 50% elongation, the material or composite contracts to a relaxed length of not more than 130% of its original length. Examples of suitable elastomer materials include polyether-polyamide block copolymers, polyurethanes, synthetic linear A-B-A and A-B block copolymers, chlorinated rubber/EVA (ethylene-vinyl acetate) blends, EPDM (ethylene-propylene diene monomer) rubbers, EPM (ethylene-propylene monomer) rubbers, blends of EPDM/EPM/EVA, and the like.

[0099]

The term “elasticized” refers to a material, layer, or substrate that is naturally non-elastic, but which has been rendered elastic by, for example, suitably joining an elastic material, layer, or substrate thereto.

[0100]

“Elongation” means the ratio of the extension of a material to the length of the material prior to the extension (expressed in percent), as represented by the following: “Extension” means the change in length of a material due to stretching (expressed in units of length).

[0101]

As used herein the term “extensible” means elongatable in at least one direction, but not necessarily recoverable.

[0102]

The term “fabrics” is used to refer to all of the woven, knitted and nonwoven fibrous webs.

[0103]

“Fastening means”, such as tape tab fasteners, are typically applied to the back waistband region of the diaper to provide a mechanism for holding the diaper on the wearer. Fastening means, such as tape tab fasteners, snaps, pins, belts, hooks, buckles, “hook/mushroom”-and-loop fasteners (e.g. VELCRO®-type fasteners) and the like, may be employed and are typically applied at the lateral, side ends of the back waistband region of diaper to provide a mechanism for holding the diaper about the waist of the wearer in a conventional manner. Tape tab fasteners can be any of those well known in the art, and are typically applied to the corners of the diaper. For example, adhesive fasteners, mechanical fasteners, hook-and-loop fasteners, snaps, pins or buckles, may be used alone, or in combination. For example, the fasteners can be adhesive fasteners, which are constructed to releasably adhere to a landing zone patch attached to the front waistband section of the diaper to provide a refastenable adhesive fastening system.

[0104]

The term “finished” or “final”, when used with reference to a product, means that the product has been suitably manufactured for its intended purpose.

[0105]

The term “flexible” refers to materials which are compliant and which will readily conform to the general shape and contours of the wearer's body.

[0106]

As used herein, the term “garment” means any type of apparel which may be worn. This includes diapers, training pants, incontinence products, surgical gowns, industrial workwear and coveralls, undergarments, pants, shirts, jackets and the like.

[0107]

Many of the known superabsorbent polymer particles exhibit gel blocking. “Gel blocking” occurs when superabsorbent polymer particles are wetted and the particles swell so as to inhibit fluid transmission to other regions of the absorbent structure. Wetting of these other regions of the absorbent member therefore takes place via a very slow diffusion process. In practical terms, this means acquisition of fluids by the absorbent structure is much slower than the rate at which fluids are discharged, especially in gush situations. Leakage from the absorbent article can take place well before the particles of SAP in the absorbent member are even close to being fully saturated or before the fluid can diffuse or wick past the “blocking” particles into the rest of the absorbent member. Gel blocking can be a particularly acute problem if the superabsorbent polymer particles do not have adequate gel strength and deform or spread under stress once the particles swell with absorbed fluid.

[0108]

The term “graphic” includes, but is not limited to, any type of design, image, mark, figure, codes, words, patterns, or the like. For a product such as a training pant, graphics will generally include objects associated with little boys and little girls, such as multi-color trucks, airplanes, balls, dolls, bows, or the like.

[0109]

“Hydroentanglement process” refers to the manufacturing of nonwoven webs. The process involves directing a series of water jets towards a fibrous web which is supported on a moving porous belt. The water jets pass downwards through the mass of fibres and on making contact with the surface of the belt, the jets rebound, and break up: the energy released causes entanglement of the mass of fibres.

[0110]

The term “high-absorbency material” refers to materials that are capable of absorbing at least 10 times their own weight in liquid. The high-absorbency material may comprise absorbent gelling materials, such as superabsorbent polymers. Superabsorbent polymers are water-swellable, water-insoluble organic or inorganic materials capable of absorbing at least about 20 times their own weight of an aqueous solution containing 0.9 weight percent of sodium chloride. Absorbent gelling materials can be natural, synthetic and modified natural polymers and materials. In addition, the absorbent gelling materials can be inorganic materials, such as silica gels, or organic compounds such as cross-linked polymers. The term “cross-linked” refers to any means for effectively rendering normally water-soluble materials substantially water insoluble but swellable. Such means can include, for example, physical entanglement, crystalline domains, covalent bonds, ionic complexes and associations, hydrophilic associations, such as hydrogen bonding, and hydrophobic associations or Van der Waals forces. Examples of synthetic absorbent gelling material polymers include the alkali metal and ammonium salts of poly(acrylic acid) and poly (methacrylic acid), poly(acrylamides), poly(vinyl ethers), maleic anhydride copolymers with vinyl ethers and alpha-olefins, poly(vinyl pyrrolidone), poly(vinylmorpholinone), poly(vinyl alcohol), and mixtures and copolymers thereof. Further polymers suitable for use in the absorbent structure include natural and modified natural polymers, such as hydrolyzed acrylonitrile-grafted starch, acrylic acid grafted starch, methyl cellulose, carboxymethyl cellulose, hydroxypropyl cellulose, and the natural gums, such as alginates, xanthan gum, locust bean gum and the like. Mixtures of natural and wholly or partially synthetic absorbent polymers can also be used. Synthetic absorbent gelling materials typically are xerogels which form hydrogels when wetted. The term “hydrogel”, however, has commonly been used to also refer to both the wetted and unwetted forms of the material. The high-absorbency material may be in any of a wide variety of geometric forms. As a general rule, it is preferred that the high-absorbency material be in the form of discrete particles. However, the high-absorbency material may also be in the form of fibres, flakes, rods, spheres, needles, spiral or semi-spiral, cubic, rod-like, polyhedral, or the like. Conglomerates of particles of high-absorbency material may also be used. The high-absorbency material may be present in the absorbent core in an amount of from about 5 to about 100 weight percent and desirably from about 30 to about 100 weight percent based on the total weight of the absorbent core. The distribution of the high-absorbency material within the different portions of the absorbent core can vary depending upon the intended end use of the absorbent core. The high-absorbency material may be arranged in a generally discrete layer within the matrix of hydrophilic fibres. Alternatively, the absorbent core may comprise a laminate of fibrous webs and high-absorbency material or other suitable means of maintaining a high-absorbency material in a localized area.

[0111]

A “hook-and-loop fastener” refers to complementary fastening means having a “hook” portion and a “loop” portion and which are refastenable. The term “hook” as used herein refers to any element capable of engaging another element, the so called “loop” portion. The term “hook” is not limited to only “hooks” in its normal sense, but rather encompasses any form of engaging elements, whether unidirectional or bi-directional. The term “loop” is likewise not limited to “loops” in its normal sense, but also encompasses any structure capable of engaging with a “hook” fastener. Examples of “loop” materials are fibrous structures, like nonwoven materials.

[0112]

The term “hydrophilic” describes fibers or the surfaces of fibers which are wetted by the aqueous liquids in contact with the fibers. The degree of wetting of the materials can, in turn, be described in terms of the contact angles and the surface tensions of the liquids and materials involved. The term “wettable” is meant to refer to a fiber which exhibits a liquid, such as water, synthetic urine, or a 0.9 weight percent aqueous saline solution, in air contact angle of less than 90°, whereas “hydrophobic” or “non-wettable” describes fibers having contact angles equal to or greater than 90°.

[0113]

As used herein, the term “impermeable” generally refers to articles and/or elements that are substantially not penetrated by aqueous fluid through the entire thickness thereof under a pressure of 1.0 kPa or less. Preferably, the impermeable article or element is not penetrated by aqueous fluid under pressures of 3.4 kPa or less. More preferably, the impermeable article or element is not penetrated by fluid under pressures of 6.8 kPa or less. An article or element that is not impermeable is permeable.

[0114]

“Integral” is used to refer to various portions of a single unitary element rather than separate structures bonded to or placed with or placed near one another.

[0115]

“Join”, “joining”, “joined”, or variations thereof, when used in describing the relationship between two or more elements, means that the elements can be connected together in any suitable manner, such as by heat sealing, ultrasonic bonding, thermal bonding, by adhesives, stitching, or the like. Further, the elements can be joined directly together, or may have one or more elements interposed between them, all of which are connected together.

[0116]

The term “laid-flat state” is intended to refer to the article when it is flattened into a plane or is substantially flattened into a plane and is used in contrast to when the article otherwise positioned, such as when the article is folded or shaped in or for use by a wearer.

[0117]

“Laminate” refers to elements being attached together in a layered arrangement.

[0118]

The use of the term “layer” can refer, but is not limited, to any type of substrate, such as a woven web, nonwoven web, films, laminates, composites, elastomeric materials, or the like. A layer can be liquid and air permeable, permeable to air but impermeable to liquids, impermeable both to air and liquid, or the like. When used in the singular, it can have the dual meaning of a single element or a plurality of elements.

[0119]

The crotch portion of the absorbent article preferably comprises opposite longitudinal side portions which comprise a pair of elasticized, longitudinally-extending “leg cuffs”. The leg cuffs are generally adapted to fit about the legs of a wearer when in use and serve as a mechanical barrier to the lateral flow of body exudates. Leg cuffs are elasticized by leg elastics. The diaper further can comprise a front waist elastic and a rear waist elastic.

[0120]

Materials suitable for use in forming leg elastics are known to those skilled in the art. Exemplary of such materials are strands or ribbons of a polymeric, elastomeric material which are adhered to the diaper at the leg cuff while in a stretched position, or which are attached to the diaper while the diaper is pleated, such that elastic constrictive forces are imparted to the leg cuff. Examples of suitable elastomer materials that can be used include polyether-polyamide block copolymers, polyurethanes, synthetic linear A-B-A and A-B block copolymers, chlorinated rubber/EVA (ethylene-vinyl acetate) blends, EPDM (ethylene-propylene diene monomer) rubbers, EPM (ethylene-propylene monomer) rubbers, blends of EPDM/EPM/EVA, and the like.

[0121]

“Liquid” means a nongaseous substance and/or material that flows and can assume the interior shape of a container into which it is poured or placed.

[0122]

“Longitudinal” is a direction running parallel to the maximum linear dimension of the article.

[0123]

The term “meltblown fibers” means fibers formed by extruding a molten thermoplastic material through a plurality of fine, usually circular, die capillaries as molten threads or filaments into a high velocity gas stream (e.g. air) which attenuates the filaments of molten thermoplastic material to reduce their diameter, which may be to microfiber diameter. In general, meltblown fibers have an average fiber diameter of up to about 10 microns. After the fibers are formed, the meltblown fibers are carried by the high velocity gas stream and are deposited on a collecting surface to form a web of randomly disbursed meltblown fibers.

[0124]

The term “nonelastic” refers to any material which does not fall within the definition of “elastic” above

[0125]

The term “nonwoven fabric or web” means a sheet material having a structure of individual fibers or threads which are interlaid, but not in a regular manner such as occurs with knitting or weaving processes. Nonwoven fabrics or webs have been formed from many processes such as for example, meltblowing processes, spunbonding processes, and bonded carded web processes.

[0126]

“Pant body” refers to a garment that has a waist opening and a pair of leg openings, similar to shorts, swim wear, or the like. The described garment may or may not have a manually tearable side seam.

[0127]

By the terms “particle”, “particles”, “particulate”, “particulates” and the like, it is meant that the material is generally in the form of discrete units. The units can comprise granules, powders, spheres, pulverized materials or the like, as well as combinations thereof. The particles can have any desired shape such as, for example, cubic, rod-like, polyhedral, spherical or semi-spherical, rounded or semi-rounded, angular, irregular, etc. Shapes having a large greatest dimension/smallest dimension ratio, like needles, flakes and fibers, are also contemplated for inclusion herein. The terms “particle” or “particulate” may also include an agglomeration comprising more than one individual particle, particulate or the like. Additionally, a particle, particulate or any desired agglomeration thereof may be composed of more than one type of material.

[0128]

The term “polymer” generally includes, but is not limited to, homopolymers, copolymers, such as, for example, block, graft, random and alternating copolymers, terpolymers, etc. and blends and modifications thereof. Furthermore, unless otherwise specifically limited, the term “polymer” shall include all possible geometrical configurations of the material. These configurations include, but are not limited to, isotactic, syndiotactic and random symmetries.

[0129]

By the term “pre-packed” as used herein, is meant that one or more absorbent articles are packed in a single unit before being stacked.

[0130]

“Pulp fluff” or “fluff pulp” refers to a material made up of cellulose fibers. The fibers can be either natural or synthetic, or a combination thereof. The material is typically lightweight and has absorbent properties.

[0131]

“Refastenable” refers to the property of two elements being capable of releasable attachment, separation, and subsequent releasable reattachment without substantial permanent deformation or rupture.

[0132]

The “retention portion” or “liquid absorption layer” is part of the absorbent medium. This portion may comprise a matrix of hydrophilic fibers, such as a web of cellulosic fluff, mixed with particles of high-absorbency material. In particular arrangements, the retention portion may comprise a mixture of superabsorbent hydrogel-forming particles and synthetic polymer meltblown fibers, or a mixture of superabsorbent particles with a fibrous coform material comprising a blend of natural fibers and/or synthetic polymer fibers. The superabsorbent particles may be substantially homogeneously mixed with the hydrophilic fibers, or may be nonuniformly mixed. For example, the concentrations of superabsorbent particles may be arranged in a non-step-wise gradient through a substantial portion of the thickness of the absorbent structure, with lower concentrations toward the bodyside of the absorbent structure and relatively higher concentrations toward the outerside of the absorbent structure. The superabsorbent particles may also be arranged in a generally discrete layer within the matrix of hydrophilic fibers. In addition, two or more different types of superabsorbent may be selectively positioned at different locations within or along the fiber matrix.

[0133]

As used herein the term “sheet” or “sheet material” refers to woven materials, nonwoven webs, polymeric films, polymeric scrim-like materials, and polymeric foam sheeting.

[0134]

The absorbent article may also contain side panels. The “side panels” can have any shape such as but not limited to square, rectangular, triangular, circular and trapezoidal shape. They can be joined to the respective opposite side portions of the back section, by a known method, such as heat-sealing or adhesive bonding. The side panels may also be formed integrally with the back section by projecting and joining together the respective top sheet and/or back sheet and/or absorbent medium outward in lugs having the shape of the side panels. Preferably, the side panels are formed by laminating a layer of nonwoven fabric, a layer of thermoplastic film and a layer of elastic material. The layer of elastic material might be sandwiched between the nonwoven fabric layer and the thermoplastic film by adhesive layers. The layer of nonwoven fabric might be made of natural fibers, synthetic fibers or a blend of natural fibers and synthetic fibers. The layer of thermoplastic film might be made of polyethylene or polypropylene.

[0135]

The term “spunbond fibers (or layer(s) or nonwovens)” refers to fibers formed by extruding molten thermoplastic polymers as filaments or fibers from a plurality of relatively fine, usually circular, capillaries of a spinneret, and then rapidly drawing the extruded filaments by an eductive or other well-known drawing mechanism to impart molecular orientation and physical strength to the filaments. The average diameter of spunbond fibers is typically in the range of from 15-60 μm or higher. The spinneret can either be a large spinneret having several thousand holes per meter of width or be banks of smaller spinnerets, for example, containing as few as 40 holes.

[0136]

The term “spunbond meltblown spunbond” (SMS) nonwoven fabric as used herein refers to a multi-layer composite sheet comprising a web of meltblown fibers sandwiched between and bonded to two spunbond layers. A SMS nonwoven fabric can be formed in-line by sequentially depositing a first layer of spunbond fibers, a layer of meltblown fibers, and a second layer of spunbond fibers on a moving porous collecting surface. The assembled layers can be bonded by passing them through a nip formed between two rolls that can be heated or unheated and smooth or patterned. Alternately, the individual spunbond and meltblown layers can be pre-formed and optionally bonded and collected individually such as by winding the fabrics on wind-up rolls. The individual layers can be assembled by layering at a later time and bonded together to form a SMS nonwoven fabric. Additional spunbond and/or meltblown layers can be incorporated in the SMS fabric, for example spunbond-meltblown-meltblown-spunbond (SMMS), etc.

[0137]

“Staple fibers” refer to commercially available fibers having diameters ranging from less than about 0.001 mm to more than about 0.2 mm; they come in several different forms such as short fibers ranging from about 10 to 50 mm in length and long fibers with a length higher than 50 mm, preferably up to 100 mm.

[0138]

By “stretch”, it is meant that the material has the ability to extend beyond its original size in at least one dimension when subjected to a tensile force (i. e., tension) applied in the direction of that dimension, without breaking the material. An extension of for example 50% means that the material with an initial length of 100 mm has reached a length of 150 mm. Stretch may be unidirectional, bi-directional, or multi-directional. The specific stretch properties of a material may vary along any of the stretch vectors. The term can include elastic materials, as well as nonwovens that can be inherently extensible, but not necessarily in an elastic manner. Such nonwovens can be made to behave in an elastic manner by bonding them to elastic films.

[0139]

By “channels”, it is meant that the structure referred to (e.g. the absorbent core) comprises recessed regions forming visible conduits or passages typically extending along the longitudinal axis of the core and having a depth in a direction perpendicular to said longitudinal axis. By “visible” it is herein intended clearly visible by naked eye and typically that the channels have a width generally greater than 1 mm, preferably from 5 mm to 50 mm, more preferably from 8 mm to 40 mm, more preferably from 10 mm to 30 mm, even more preferably from greater than 10 mm to less than 25 mm.

[0140]

By “interconnected”, it is meant that the structure referred to (e.g. the channels) from a substantially continuous path such as from a first end of a channel to a second end of the same channel.

[0141]

By “substantially”, it is meant at least the majority of the structure referred to. For example, with reference to interconnected channels, “substantially interconnected” means that the majority of the channel is interconnected and generally wherein a direct and continuous path can be traced by starting from one end of the channel towards another end of the channel, said ends (also referred to herein as terminal positions) being distal to each other in a width direction of the core and proximal to a portion of the perimeter of the core, preferably the sides thereof.

[0142]

By “directly over”, it is meant that the feature referred to is placed over the structure referred to such that the two are in direct contact with each other at least throughout a substantial portion of said structure.

[0143]

By “indirectly over”, it is meant that the feature referred to is placed over the structure referred to but in such a way that the two are not in direct contact with each other at least throughout a substantial portion of said structure. For example, a nonwoven web applied indirectly over a three-dimensional absorbent material comprises a further layer of material between said nonwoven web and said three-dimensional absorbent material.

[0144]

Use of the term “substrate” includes, but is not limited to, woven or nonwoven webs, porous films, ink permeable films, paper, composite structures, or the like.

[0145]

Superabsorbent materials suitable for use in the present disclosure are known to those skilled in the art, and may be in any operative form, such as particulate form, fibers and mixtures thereof. Generally stated, the “superabsorbent material” can be a water-swellable, generally water-insoluble, hydrogel-forming polymeric absorbent material, which is capable of absorbing at least about 15, suitably about 30, and possibly about 60 times or more its weight in physiological saline (e.g. saline with 0.9 wt % NaCl). The superabsorbent material may be biodegradable or bipolar. The hydrogel-forming polymeric absorbent material may be formed from organic hydrogel-forming polymeric material, which may include natural material such as agar, pectin, and guar gum; modified natural materials such as carboxymethyl cellulose, carboxyethyl cellulose, and hydroxypropyl cellulose; and synthetic hydrogel-forming polymers. Synthetic hydrogel-forming polymers include, for example, alkali metal salts of polyacrylic acid, polyacrylamides, polyvinyl alcohol, ethylene maleic anhydride copolymers, polyvinyl ethers, polyvinyl morpholinone, polymers and copolymers of vinyl sulfonic acid, polyacrylates, polyacrylamides, polyvinyl pyridine, and the like. Other suitable hydrogel-forming polymers include hydrolyzed acrylonitrile grafted starch, acrylic acid grafted starch, and isobutylene maleic anhydride copolymers and mixtures thereof. The hydrogel-forming polymers may be lightly crosslinked to render the material substantially water insoluble. Crosslinking may, for example, be by irradiation or covalent, ionic, Van der Waals, or hydrogen bonding. The superabsorbent material may suitably be included in an appointed storage or retention portion of the absorbent system, and may optionally be employed in other components or portions of the absorbent article. The superabsorbent material may be included in the absorbent layer or other fluid storage layer of the absorbent article of the present disclosure in an amount up to about 60% by weight. Typically, the superabsorbent material, when present, will be included in an amount of about 5% to about 40% by weight, based on the total weight of the absorbent layer.

[0146]

“Superabsorbent polymer particles” or “SAPs” refer to water-swellable, water-insoluble organic or inorganic materials capable, under the most favorable conditions, of absorbing at least about 10 times their weight, or at least about 15 times their weight, or at least about 25 times their weight in an aqueous solution containing 0.9 weight percent sodium chloride. In absorbent articles, such as diapers, incontinent diapers, etc., the particle size is typically ranging between 100 to 800 μm, preferably between 300 to 600 μm, more preferably between 400 to 500 μm.

[0147]

The term “target zone” refers to an area of an absorbent core where it is particularly desirable for the majority of a fluid insult, such as urine, menses, or bowel movement, to initially contact. In particular, for an absorbent core with one or more fluid insult points in use, the insult target zone refers to the area of the absorbent core extending a distance equal to 15% of the total length of the composite from each insult point in both directions.

[0148]

“Tension” includes a uniaxial force tending to cause the extension of a body or the balancing force within that body resisting the extension.

[0149]

As used herein, the term “thermoplastic” is meant to describe a material that softens when exposed to heat and which substantially returns to its original condition when cooled to room temperature.

[0150]

The term “top sheet” refers to a liquid permeable material sheet forming the inner cover of the absorbent article and which in use is placed in direct contact with the skin of the wearer. The top sheet is typically employed to help isolate the wearer's skin from liquids held in the absorbent structure. The top sheet can comprise a nonwoven material, e.g. spunbond, meltblown, carded, hydroentangled, wetlaid etc. Suitable nonwoven materials can be composed of man-made fibres, such as polyester, polyethylene, polypropylene, viscose, rayon etc. or natural fibers, such as wood pulp or cotton fibres, or from a mixture of natural and man-made fibres. The top sheet material may further be composed of two fibres, which may be bonded to each other in a bonding pattern. Further examples of top sheet materials are porous foams, apertured plastic films, laminates of nonwoven materials and apertured plastic films etc. The materials suited as top sheet materials should be soft and non-irritating to the skin and be readily penetrated by body fluid, e.g. urine or menstrual fluid. The inner coversheet may further be different in different parts of the absorbent article. The top sheet fabrics may be composed of a substantially hydrophobic material, and the hydrophobic material may optionally be treated with a surfactant or otherwise processed to impart a desired level of wettability and hydrophilicity.

[0151]

“Training pants” are available for use by children in the potty-training stage, and are popular with mothers and caretakers. A training pant typically comprises a top sheet, a back sheet, an absorbent medium between the top sheet and the back sheet, and side seams that bond portions of the side edges of the pant together to form waist and leg openings.

[0152]

As used herein, the term “transverse” or “lateral” refers to a line, axis, or direction which lies within the plane of the absorbent article and is generally perpendicular to the longitudinal direction.

[0153]

“Ultrasonic welding” refers to a technology which joins two materials by melting them with heat generated from ultrasonic oscillation and then laminating them together, such that the molten materials flow and fill the gap between the two unaffected portions of the two materials, respectively. Upon cooling and shaping, the two materials are joined together.

[0154]

“Dry-state” refers to the condition in which an absorbent article has not yet been saturated with exudates and/or liquid.

[0155]

“Wet-state” refers to the condition in which an absorbent article has been saturated with exudates and/or liquid. Typically wherein at least 30 ml, preferably at least 40 ml, even more preferably at least 50 ml, most preferably from 60 ml to 800 ml, of exudate and/or liquid are contained in the absorbent article.

[0156]

As used herein, the term “water-swellable, water-insoluble” is meant to refer to a material that, when exposed to an excess of water, swells to its equilibrium volume but does not dissolve into the solution. As such, a water-swellable, water-insoluble material generally retains its original identity or physical structure, but in a highly expanded state, during the absorption of the water and, thus, must have sufficient physical integrity to resist flow and fusion with neighboring particles.

[0157]

By the term “wrapping material” as used herein, is meant a bendable material, preferably a sheet material of which the thickness is smaller, more preferably much smaller than its width or length, such as a sheet, a film or a foil. In a particularly preferred embodiment, said wrapping material is capable of being rolled up.

[0158]

By the term “concentration” of (e.g. super absorbent polymer) as used herein, is meant the amount of the referred material divided by the surface area of the layer referred to (typically said area being in the plane of the length and width of the core) over or within which the referred material is contained. This may be determined by standard weighing and dimensional measuring methods known in the art and can be expressed in g/mm2.

[0159]

By the term “substantially U-shaped” as used herein, is meant any shape that visually approximates the shape of a “U”, such as a “V-shape”, a semi-circle, and the like.

[0160]

By the term “distinct cellulosic fibers” as used herein, is meant cellulosic fibers that are not part of a substrate (e.g. a nonwoven layer) and are rather distinct thereof and/or physically separated therefrom, and typically are in the form of cellulosic fibers that are enclosed though kept separate from said substrate. For sake of clarity, cellulosic fibers present within a substrate (e.g. a nonwoven layer) are not encompassed within its meaning.

[0161]

By the term “substantially follows the shape of the channel(s)” as used herein, is meant that the feature referred to has an overlapping shape that is visually the same as the channel(s).

[0162]

By the term “superabsorbent polymer fibers” as used herein, is meant fibers made from superabsorbent polymers (as opposed to particles made therefrom). Examples of suitable fibers for use herein are selected from those of Example 1, Example 2, Example 3, and/or Example 4 (page 5, lines 1-46) of EP3190216A1, incorporated herein by reference. Said fibers typically being used to form nonwoven webs or substrates according to the same referenced application.

[0163]

Embodiments of the articles and processes according to the disclosure will now be described. It is understood that technical features described in one or more embodiments maybe combined with one or more other embodiments without departing from the intention of the disclosure and without generalization therefrom.

[0164]

Absorbent Core

[0165]

Absorbent cores 101, 501, 601 according to the present disclosure may comprise: a front portion 122; a back portion 124; a middle portion 126 positioned between the front portion 122 and the back portion 124; and a longitudinal axis extending along a length of said core 101, 501, 601 and crossing said front, middle and back portions 122, 126, 124, the absorbent core 101, 501, 601 having a width extending perpendicular to said length and a perimeter comprising at least two opposing ends 102, 103 and at least two opposing sides 104, 105 positioned between said ends 102, 103, said core 101, 501, 601 being a multi-layer core comprising at least two distinct core layers 502, 503, 602, 603, wherein a first core layer 502, 602 comprises a first concentration of super absorbent polymer 504, 604 therein and a second core layer 503, 603 comprises a second concentration of super absorbent polymer 504, 604 therein said first and second concentrations being different, wherein at least said first core layer 502, 602 comprises one or more channels 106, said channel(s) 106 being continuous and interconnected at least along the length and the width of said core 101, 501, 601 such that at least two channel portions 107,108 extending along said length are in fluid communication via a connecting channel portion 109 positioned proximal to said back portion 124. An advantage of this arrangement is that a synergistic and efficient fluid distribution and absorption is achieved within the core, with the channel shape providing immediate fluid re-distribution along the core length and width especially from the front to the back of the article, and the multi-layered core arrangement with differential superabsorbent polymer concentration enables to more efficiently absorb said fluids in a multi-fold way and reduce the risk of gel-blocking.

[0166]

Preferably, the channel(s) 106 herein do not extend up to any of the edges forming the perimeter of the absorbent core 101, 501, 601.

[0167]

Preferably, the connecting channel portion 109 forms a substantially U-shaped bend, preferably wherein the first core layer 502, 602 comprises a single channel 106. Such shape optimizes the fluid distribution properties of the core.

[0168]

Preferably, the channel(s) 106 comprises a single connecting channel portion 109, such that a continuous superabsorbent polymer area (typically in the core length/width plane) is formed around said channel(s) and generally no superabsorbent polymer area is fully enclosed by portions of said channel(s) 106. This arrangement allows for optimal fluid distribution with limited risk of forming over and under saturated areas in the core, as well as reducing the risk of delamination of layers joined together forming the channel(s).

[0169]

Preferably, at least one of the interconnected channels 106, preferably each said channel 106, forms a shape having an open end in the form of two diverging ends or a funnel-shape and a closed end opposite thereto formed by the connecting channel portion 109, preferably wherein the open end is positioned proximal to the front portion 122 of the absorbent core 101 and distal from said closed end. Advantages include promoted fluid distribution from front to back of the article.

[0170]

Preferably, the first core layer 502, 602 comprises at least one core wrap substrate 505, 506, 605, 606 enclosing the superabsorbent polymer therebetween and wherein a top layer 505, 605 of the core wrap is adhered to a bottom layer 506, 606 of the core wrap in regions of said core comprising the channel(s) 106 preferably such that substantially no (i.e. less than 1% wt, preferably less than 0.5% wt, more preferably less than 0.1% wt, even more preferably less than 0.05% wt, most preferably about 0% wt, by weight of the core wrap substrate) superabsorbent polymer 504, 604 is present in said channel(s) 106. Such ensures that fluids can quickly flow along the channel direction without swelling/absorption slowing its path.

[0171]

Preferably, the first core layer 502, 602 further comprises distinct cellulosic fibers 507, 607 mixed with the superabsorbent polymer 504, 604 and wherein the second core layer 503, 603 is free of said distinct cellulosic fibers 507, 607. This arrangement allows for an added “localized” fluid distribution provided by the distinct cellulosic fibers that conduct fluid to the superapsorbent polymer dispersed therethrough to then be absorbed and locked away by the latter.

[0172]

Preferably, the second core layer 503, 603 is typically fluffless and comprises a nonwoven carrier having a top carrier layer 508, 608 and a bottom carrier layer 509, 609 and superabsorbent polymer therebetween, wherein said superabsorbent polymer is in the form of particles immobilized in said carrier and wherein the top carrier layer 508, 608 is a carded nonwoven made of staple fibers or a spunbond meltblown spunbond nonwoven, and said bottom carrier layer 509, 609 is a carded nonwoven made of staple fibers or a spunbond meltblown spunbond nonwoven (preferably wherein said top and bottom carrier layers are different), preferably wherein the top and bottom carrier layers are mechanically bonded together, preferably via hydroentanglement, preferably wherein the top carrier layer 508, 608 consists of staple fibers penetrable by the superabsorbent polymer particles, and the bottom carrier layer 509, 609 consisting of a nonwoven that is hydroentangled to said top carrier layer 508, 608. This arrangement allows to form a fluffless core layer comprising immobilized superabsorbent particles that retain their position, thus limiting the bulkiness of the product and maximizing the absorptive and fluid locking properties of the layer.

[0173]

Preferably, the second core layer 503, 603 is core wrap free and comprises a single nonwoven carrier layer with immobilized superabsorbent polymer thereon or therein, wherein the nonwoven carrier layer is porous and the superabsorbent polymer is in the form of particles and immobilized by means of mechanical action, such as ultrasound; one or more adhesives; and combinations thereof. This arrangement has been found beneficial to reduce further bulkiness and raw materials of the core. Particularly by locking particles within the substrate, by e.g. ultrasound, such immobilization can be achieved without chemical adhesive treatments and thus consequently also reducing the risk of chemical contamination and/or need for multiple/additional layers to enclose said particles.

[0174]

Preferably, the second concentration of super absorbent polymer 504, 604 is greater than the first concentration of super absorbent polymer 504, 604, preferably wherein said second concentration is at least 1.5, preferably 2, times greater than the first concentration. Such brings advantages such as reduced risk of gel-blocking.

[0175]

Preferably, the second core layer 503, 603 is positioned below the first core layer 502, 602 and wherein said second core layer 503, 603 comprises a first region of superabsorbent polymer particles 504 on a surface thereof that is opposite said first core layer 502, 602, said first region being disposed in a pattern that substantially follows the shape of the channel(s) 106, at least along a plane formed by the core length and width, such that the shape of said channel(s) 106 is substantially equal to that of said pattern. Typically, wherein the first region of superabsorbent polymer particles is the only region of the second core layer 503, 603 comprising superabsorbent polymer particles, preferably wherein the second core layer 503, 603 comprises superabsorbent polymer fibers other than in said first region, said first region being free of said superabsorbent polymer fibers. This arrangement allows the dual characteristic of maximizing absorption effects across the core surface as well as providing a multi-sensorial (e.g. visual and tactile) signal that the core is saturated.

[0176]

Typically, the second core layer 503, 603 is free of cellulosic fibers and comprises, preferably consists of, superabsorbent fibers or a blend of superabsorbent fibers (as described herein) and synthetic fibers.

[0177]

Preferably, the second core layer 503, 603 is sized smaller, in a plane corresponding to the core length and width, than the first core layer 502, 602. This allows for an optimization between performance needs and raw material use and cost.

[0178]

Absorbent cores 101 according to the present disclosure may comprise: a front portion 122; a back portion 124; a middle portion 126 positioned between the front portion 122 and the back portion 124; and a longitudinal axis extending along a length of said core 101 and crossing said front, crotch and back portions 122, 126, 124, the absorbent core 101 having a width extending perpendicular to said length and a perimeter comprising at least two opposing ends 102, 103 and at least two opposing sides 104, 105 positioned between said ends 102, 103 wherein the absorbent core 101 comprises one or more, optionally substantially interconnected, channels 106 having a first shape when the absorbent core 101 is in dry state and a second shape when the absorbent core is in wet state and wherein said first and second shapes are different. The inventors have found that this arrangement allows to provide a more effective alternative to standard visual wetness indicators that use a simple change in color to provide such indication. Indeed, the change in channel shape in dry/wet conditions not only provides an immediate visual indication but also a tactile one thus combining both senses to provide a unique warning to the care-giver that the absorbent article should be replaced.

[0179]

In an embodiment, the first and second shapes are visually discernible and arranged to provide a visual and/or tactile indication that said core is saturated with exudates.

[0180]

Preferably, the absorbent core comprises a single substantially interconnected channel 106 in dry state, and more preferably a plurality (typically two) of distinct channels 206 in wet state.

[0181]

In an embodiment the interconnected channel 106 comprises a U-bend proximal to a back end of the absorbent article and first/second terminal ends 110,111 proximal to the front of the absorbent article, generally when in dry state, and when in wet state (i.e. upon saturation with exudates and/or liquid) the channel is separated into a plurality (preferably two) distinct channels 206 and typically wherein said distinct channels 206 are free of said U-bend.

[0182]

In a preferred embodiment, as shown in FIG. 18A, in dry state, the interconnected channel 106 comprises the first/second terminal ends 110,111 arranged in diverging relationship to form an open and/or funnel shaped end being oppositely disposed from a closed end formed by the U-bend. An advantage of this shape is to increase speed of especially liquid distribution and the early stages of the discharge.

[0183]

In wet state, the above described channel is arranged to change shape as shown in FIG. 18B, wherein the single interconnected channel becomes a plurality (preferably two) disconnected channels substantially free of said U-bend. Preferably, the wet-state shape of the channels is the same as the dry-state shape except that the U-bend is absent, such that one channel (in dry state) becomes two channels (in wet state). Typically such is formed by breaking the bond forming the U-bend channel portion as the absorbent material expands as liquid is absorbed.

[0184]

Such change in shape may be achieved in a number of ways, that will be described herein below as preferred embodiments, though not limiting.

[0185]

In an embodiment, the core comprises at least one core wrap substrate enclosing one or more absorbent materials therein, preferably said absorbent material being selected from the group consisting of super absorbent polymers, cellulosic fibers, and combinations thereof, and wherein a top layer of the core wrap is adhered to a bottom layer of the core wrap to form an interconnected absorbent material-free channel(s) 106 (generally in dry state). Typically, regions where top and bottom layers are not bonded comprise absorbent material therebetween (generally separating the top layer from the bottom layer) and regions where the top and bottom layers are bonded together are substantially free of absorbent material to form channels within the absorbent material of the core. Preferably, the adhered top and bottom layers of the core wrap have a first bond in at least two distinct regions of the channel(s) 106 and a second bond in at least one other region of the channel(s) 106 connecting said at least two distinct regions, and wherein said second bond is arranged to break upon liquid saturation and/or expansion of the absorbent material whilst the first bond is arranged to remain intact upon liquid saturation and/or expansion of the absorbent material, preferably wherein said other region is the U-bend of the channel(s). More preferably the channel being arranged such that when in dry state one or more, preferably a single, interconnected channel 106 is visible and when in wet state a plurality of, preferably two, distinct channels 206 are visible. It is however evident that a core wrap (although preferred) is not necessary to achieve this effect, and rather other means could be envisioned such as by bonding in a similar manner a topsheet directly or indirectly to a backsheet without the need of a core wrap (thus the same features described above may be present/replaced by a topsheet/backsheet instead of the core wrap).

[0186]

The first and second bonds may comprise a first and second adhesive respectively. The first and second adhesives being different, for example the second adhesive is selected to be soluble when in contact with liquid at body temperature (about 37° C.), such as pressure sensitive hotmelt adhesives having low melting point (i.e. a melting point of about 40° C.) like 3798LM sold by 3M Company. The first adhesive may be selected from hotmelt adhesives that retain adhesive strength also upon contact with liquid at body temperature (i.e. have a melting point of more than 60° C., preferably more than 70° C., even more preferably more than 90° C.), like Technomelt DM Cool 110 Dispomelt (known also as Dispomelt Cool 110) sold by Henkel AG & Co. KGaA; or VV290F sold by Savare' Speciality adhesives. In the above arrangement the second adhesive may be applied in the U-bend region whilst the first adhesive may be applied in all other regions of the channel.

[0187]

In an alternative embodiment to the above, the same adhesive may be used throughout the channel, but in regions that should be released in wet-state, a lower pressure is applied between substrates when providing a joining force. For example, the pressure applied on the U-bend may be less (preferably less than half) than the pressure applied to all other regions of the channel.

[0188]

Although, the above two are examples of how to achieve different channel shapes in Dry/Wet-state, other means for achieving the inventive arrangement may be considered and thus the application should not be so limited, for example the first and second bonds may provide a first and second bonding strength respectively, wherein the first bonding strength is greater than the second bonding strength. The bonding strength as used herein is preferably determined herein as the “peel strength”.

[0189]

Typically the first bond has a peel strength of greater than 5 g/mm, preferably more than 6 g/mm, even more preferably from 7 g/mm to 50 g/mm, and the second bond has a peel strength of less than 5 g/mm, preferably from 0.1 g/mm to 4 g/mm, more preferably from 0.2 g/mm to 3.5 g/mm, even more preferably from 0.3 g/mm to 3 g/mm, wherein the peel strength is generally determined according to ASTM Designation: D1876-72, “Standard Test Methods for Peel Resistance of Adhesives (T-Peel Test)”, which is incorporated herein by reference.

[0190]

In a preferred embodiment, the first bond has a first hang-shear value and the second bond has a second hang-shear value, wherein the first hang-shear value is greater than the second hang-shear value, wherein the hang-shear value is determined by the hang shear test described herein. Preferably, the first hang-shear value is greater than 14 minutes (min), preferably from 15 min to 40 min, more preferably from 20 min to 35 min, even more preferably from 22 min to 29 min. Preferably, the second hang-shear value is less than 14 min, preferably from 0.5 min to 10 min, more preferably from 1 min to 5 min.

[0191]

Absorbent cores 101 according to the present disclosure may comprise: a front portion 122; a back portion 124; a crotch portion (also referred to herein as “middle portion”) 126 position between the front portion 122 and the back portion 124; and a longitudinal axis extending along a length of said core 101 and crossing said front, crotch and back portions 122, 126, 124, the absorbent core 101 having a width extending perpendicular to said length and a perimeter comprising at least two opposing ends 102, 103 and at least two opposing sides 104, 105 positioned between said ends 102, 103 wherein the absorbent core 101 comprises one or more substantially interconnected channels 106 extending through at least a portion of the crotch portion 126 (preferably being at least 60%, more preferably at least 70%, even more preferably at least 80%, of a crotch portion length running substantially parallel to the longitudinal axis) along the length of the core and along at least a portion of said width of the core, typically along and substantially parallel to the longitudinal axis, and from one side of the core [e.g. a first side 104] to the other [e.g. a second side 105], preferably said one or more substantially interconnected channels 106 being symmetric or asymmetric about the longitudinal axis. An advantage of such interconnected channel arrangement is that faster immediate distribution of fluid is achieved across the core versus a core free of such interconnected channels or cores comprising only discontinuous channels. Such contributes to limit over-saturation of the core in the portion of fluid discharge. Without wishing to be bound by theory it is believed that the fact that the fluid is distributed across the core and immediately away from the fluid discharge position, a perception of dryness and skin comfort is provided to the subject, as well as an impression of longer lasting dryness by the user.

[0192]

The longitudinal axis of the core referred to herein may be substantially parallel to the longitudinal direction 48 and may be used herein interchangeably (as illustrated for example in FIG. 11 and FIG. 12), and the width of the core or width axis of the core referred to herein may be substantially parallel to the lateral direction 49 and may be used herein interchangeably (as illustrated for example in FIG. 11 and FIG. 12).

[0193]

In an embodiment the one or more interconnected channels are shaped such to effectively conduct fluid away from a region of discharge, typically by forming a shape that has a distance gradient between opposing surfaces of the interconnected channels, preferably forming a funnel-shaped profile.

[0194]

In an embodiment, the channels form a geometric shape across the absorbent core and along a plane extending parallel to the longitudinal axis of said core, said geometric shape being selected from the group consisting of a semi-hourglass-shaped, v-shaped, u-shaped, pie-shaped, and combinations thereof. Wherein “by semi-hourglass-shaped” it is intended an hourglass shape with only a single end, exemplary shapes are shown in FIG. 4.

[0195]

In an embodiment, the channels comprise, preferably consist of, a first nonwoven web bonded to a second nonwoven web by one or more adhesives. Preferably, the adhesive is applied in zones across the width of the channels such to form zones, preferably alternating zones, of different bonding strength between the nonwoven web laminate. For example the first nonwoven web may be bonded to the second nonwoven web on at least three zones along the width of the channel. Such arrangement may comprise a first adhesive zone, a second adhesive zone and a third adhesive zone, the second adhesive zone being interposed between the first and third adhesive zones along the width of the channel (e.g. at an axis parallel to the core width and perpendicular to the longitudinal axis of the core) wherein the bonding strength of the second adhesive zone is greater than the bonding strength of the first and third adhesive zones. Examples of ways to achieve such stronger bonding strength in the second zone include using higher amounts of adhesive in this zone, applying greater mechanical pressure on this zone, or utilizing a different adhesive type, other ways are also contemplated provided a stronger adhesion between nonwoven webs results in such region.

[0196]

In an embodiment the bonding strength in the first and third zones is less than the tensile force generated by the absorbent material located proximal to the channel upon wetting, such that the first and second nonwoven webs may separate in said zones; and wherein the bonding strength in the second zone is greater than the tensile force generated by the absorbent material located proximal to the channel upon wetting, such that the first and second nonwoven webs may not separate in said zone upon wetting and typically the swelling of the absorbent material, and rather may remain fixedly joined. An advantage of this arrangement is that in dry conditions a noticeable channel is visible from the topsheet side of the article and/or core providing broad channels that are further useful for channeling more fluid particularly at initial/early discharge. This arrangement then further allows the bonding at the first and third regions to fail upon for example swelling of the SAP such to allow more volume to be available for expansion thereof (and prevent early saturation or non-optimal absorption), with typically the second zone resisting such expansion and thus providing integrity of the channels even in wet state.

[0197]

In a preferred embodiment the first nonwoven web and/or the second nonwoven web, preferably the second nonwoven web, are elastic nonwovens (e.g. containing an elastic material such as Vistamaxx resin from ExxonMobil, or other suitable polymers capable of imparting elasticity to a nonwoven web). An advantage of this embodiment is that the nonwoven web better and more easily wraps around the 3D insert upon application of a vacuum and permits subsequent joining to the first nonwoven web at a location corresponding to a position of the base of the 3D insert (opposite a protruding apex thereof). This has an advantage of limiting the formation of fluid collection basins or sinks within the channels.

[0198]

The cores herein may have a substantially rectilinear perimeter such as illustrated in FIG. 1 and FIG. 2, or may comprise symmetrical concave portions in the middle portion thereof as illustrated in FIG. 3. In the latter embodiment, the concave portions may be aligned with and/or positioned in a crotch portion of the absorbent article such to provide better ergonomics and fit along the leg of a wearer. In any of these core shape embodiments, it is preferred that said cores are symmetric at least about the longitudinal axis thereof. Irrespective of the core geometry, it is understood herein that the same or similar channels as described herein may be interchangeably used.

[0199]

In an embodiment, referring to FIG. 1 to FIG. 3, at least one and preferably each substantially interconnected channel 106 comprises: a first channel portion 107 extending substantially along the longitudinal axis proximal to a first side 104 of the core 101; a second channel portion 108 extending substantially along the longitudinal axis proximal to a second side 105 of the core 101; and

[0200]

at least one, preferably only one, connecting channel portion 109 in fluid communication with said first and second channel portions 107, 108. An advantage of this arrangement is fast liquid distribution along more than one axis of the absorbent core, typically both the longitudinal axis and the width axis thereof, such to maximize the absorption capabilities of the absorbent core over its entire surface area. Moreover, such geometry improves the folding of the core and thus allows for a better and snug fit onto the subjects skin (with or without addition of further elastics proximal to said channel portions).

[0201]

Hereby, connecting channel portion (109) of at least one of the interconnected channels, the connecting channel portion being in fluid communication with said first and second channel portions (107, 108), preferably forms said closed end in the form of a U-bend, preferably wherein the first and second channel portions (107, 108) diverge away from the longitudinal axis at least along a portion of the interconnecting channel (106) typically exiting from the U-bend, thereby at least partially forming a funnel-shaped interconnected channel near the closed end.

[0202]

The first and second channel portions may be substantially linear; or have a substantially curved profile preferably selected from concave or convex; or may comprise a combination of said linear and curved profiles. In a preferred embodiment, the first and second channel portions are concave in shape and are generally symmetric about at least the longitudinal axis.

[0203]

The first and second channel portions may extend through at least a majority, preferably the entirety, of the length of the crotch portion along the longitudinal axis and typically run substantially parallel to the sides of the core forming the perimeter thereof.

[0204]

In a highly preferred embodiment, each interconnected channel herein comprises only a single connecting channel portion 109, typically forming an apex of the inter connected channel. An advantage of this embodiment is fast fluid distribution through the core whilst limiting the risk of blockages that could otherwise result if pockets of wetted areas are rather formed.

[0205]

Preferably, the connecting channel portion 109 extends substantially along the width of said core 101, preferably forming a closed end within a surface of said core 101 along a plane parallel to the longitudinal axis, and preferably positioned opposite to an open end formed by non-connected first and second terminal positions 110, 111 of the interconnected channel 106, preferably of the first and second channel portions 107, 108 respectively, typically said non-connected first and second terminal positions 110, 111 being distal to each other and proximal to the first and second sides 104, 105 of said core 101 respectively, even more preferably said terminal positions 110, 111 facing away from each other such to form a funnel-shaped geometrical opening therebetween. Without wishing to be bound by theory it is believed that such geometry aids to “funnel” and collect more fluid where it is needed and quickly and effectively distribute it away from the region of collection.

[0206]

In an embodiment, and preferably in combination with the previous embodiment, the interconnected channel comprises unconnected first (110) and second (111) terminal positions, whereby the first terminal position (110) extends to a first side (104) of the core and/or the second terminal position (111) extends to a second side (105) of the core, as for instance illustrated in FIG. 3. Hereby the entire width of the absorbent core can be covered by the channel, which ensures a better fluid distribution.

[0207]

In an embodiment, the closed end is substantially curvilinear in shape, preferably forming a convex shape between the first and second channel portions 107, 108, or is substantially linear in shape, preferably forming a straight or triangular shape between the first and second channel portions 107, 108. The closed end may be formed by the connecting channel portion 109. An advantage of such shape is increasing the surface area of contact with neighboring regions of three-dimensional absorbent material such to better promote absorption of the distributed liquid once evacuated from areas of typically high saturation.

[0208]

In an embodiment, a first distance (d1) between the first channel portion 107 and the second channel portion 108, a second distance (d2) between the first channel portion 107 and the second channel portion 108, wherein the first distance (d1) is proximal to the front portion 122 of the core 101 and the second distance (d2) is proximal to the back portion 124 of the absorbent core 101, and wherein the first distance (d1) is greater than the second distance (d2), preferably wherein the first distance (d1) is at least 1.5 d2, more preferably from 1.8 d2to 3 d2. An advantage being the fast and effective fluid distribution from regions of typically high saturation towards regions of typically lower saturation.

[0209]

In an embodiment, the core comprises a first nonwoven web, typically in the form of a backsheet; a second nonwoven web, typically in the form of a topsheet; and a three-dimensional absorbent material positioned between the first and second nonwoven webs to form an absorbent core laminate, typically wherein the three-dimensional absorbent material comprises a fibrous web typically comprising airlaid fibers, and preferably comprises a predetermined amount of super absorbent polymer dispersed therethrough.

[0210]

In a highly preferred embodiment, the interconnected channel 106 is substantially free of three-dimensional absorbent material, and preferably also free of super absorbent polymer. Without wishing to be bound by theory it is believed that absorbent materials delay fluid distribution compared to the effectiveness of such channels, indeed as fluid is absorbed by the absorbent materials they swell and/or saturate effectively reducing the amount of fluid that could be allowed to travel therethrough. Eliminating such materials from the channels allows to maintain a highly efficient fluid distribution system that operates substantially independently from the fluid acquisition/absorption mechanism of the neighboring regions.

[0211]

In a preferred embodiment, the core comprises a plurality of substantially interconnected channels, preferably arranged in a substantially concentric manner, an example being shown in FIG. 4E. An advantage being the exponential effectiveness in liquid distribution and channel formation, particularly as neighboring regions become more saturated or swell.

[0212]

In an embodiment, as shown in FIGS. 4C and 4D, the core further comprises one or more disconnected channels, preferably at least a portion thereof being arranged concentrically to the substantially interconnected channel. An advantage being effective added local uniform fluid distribution. Moreover, it is believed that upon swelling of the neighboring regions to the channels, upon saturation, visual patterns may be formed that more evidently convey the perception of efficacy of the entire core surface for absorption of fluid.

[0213]

Preferably, the substantially interconnected channels 106 have a regular or irregular depth, said depth being measured on an axis perpendicular to both the longitudinal axis and the axis along the width of the core 101, preferably wherein the cross-section of said channels 106 is selected from the group consisting of curved, polygonal or combinations thereof.

[0214]

In a preferred embodiment, as illustrated in FIG. 16, the width of the interconnected channel (106) may vary along the channel. Preferably, the width of the channel decreases from the terminal positions (110, 111) towards the connecting channel portion (109). This is illustrated in FIG. 16, wherein the width (210a) of the channel (106) near the first terminal position (110) and the width (210b) of the channel (106) near the second terminal position (111) are larger than the width (211a) of the channel (106) in the first channel portion (107) and the width (211b) of the channel (106) in the second channel portion (108), which are larger than the width (212) of the channel (106) in the connecting channel portion (109). Such variance of the width of the channel portions leads to faster distribution. Without wishing to be bound by theory, the inventors believe that the varying width leverages capillary effects that better promote liquid transport from the front to the back of the absorbent article.

[0215]

It is understood that a number of alternative shapes may be used for channels described herein, examples of which are shown in FIG. 4 and FIG. 16 without departing from the disclosure embodiments described herein.

[0216]

The present disclosure further relates to an absorbent core 101 comprising substantially continuous zones of one or more high fluid distribution structures 112 and continuous or discontinuous zones of fluid absorption structures 113, 114 surrounding the one or more high fluid distribution structures 112, wherein the one or more high fluid distribution structures 112 are arranged to distribute fluid across the absorbent core 101 at a speed that is faster than the speed of fluid distribution across the absorbent core by said discontinuous fluid absorption structures 113, 114, and wherein said continuous zones extend along a path that is substantially parallel to at least a portion of the perimeter of the core 101, said portion of the perimeter of the core comprising at least a portion of the sides 104, 105, preferably at least a portion of both of the sides 104, 105, of the core 101 and one of the ends 102, 103 of the core 101 (preferably only one end 103), preferably the end 103 proximal to the back portion 124. Advantages of this embodiment includes separating absorbent regions of the core with fluid distribution regions that effectively uniformly distribute fluid across the core surface with a mechanism as described above as well as providing a visual perception of efficacy.

[0217]

In an embodiment the fluid distribution structures are shaped such to effectively conduct fluid away from a region of discharge, typically by forming a shape that has a distance gradient between opposing surfaces of said structures, preferably forming a funnel-shaped profile substantially delimited by one or more fluid absorption structures.

[0218]

In an embodiment, the high fluid distribution structures form a geometric shape across the absorbent core and along a plane extending parallel to the longitudinal axis of said core, said geometric shape being selected from the group consisting of a semi-hourglass-shaped, v-shaped, u-shaped, pie-shaped, and combinations thereof. Wherein “by semi-hourglass-shaped” it is intended an hourglass shape with only a single end as for example shown in FIG. 4B.

[0219]

In a preferred embodiment, the one or more high fluid distribution structures comprise, preferably consist of, at least two nonwoven webs bonded together (for example with an adhesive); and the zones of fluid absorption structures comprise a three-dimensional absorbent material (such as cellulosic fluff and/or fibrous web typically comprising airlaid fibers, typically of the cellulosic kind) and/or a superabsorbent polymer (typically in the form of a plurality of discrete particles that may be distributed within the three-dimensional absorbent material or directly agglomerated in one or more pockets between at least two nonwoven webs).

[0220]

Preferably, said fluid distribution structures comprise substantially interconnected channels as described in the previous embodiments, and the fluid absorption structures comprise a three-dimensional absorbent material and/or superabsorbent polymer as described in the previous embodiments.

[0221]

Absorbent Articles

[0222]

Absorbent articles 10, 20, 300, 500, 600 according to the present disclosure comprise a core 101, 501, 601 sandwiched between a liquid permeable topsheet 520, 620 and a liquid impermeable backsheet 521, 621, and an acquisition distribution layer 522, 622, as described herein, positioned between said topsheet 520, 620 and said core 101, 501, 601. Preferably, wherein the backsheet comprises a print or graphic viewable from the garment facing side of said article that substantially matches the shape and/or contour of the channel(s) 106. The latter having the advantage to further accentuate the visual perception of the presence of such channel and its location in the absorbent article.

[0223]

Preferably, upon saturation with exudates a first region of the second core layer 503, 603 swells such to form one or more protrusions 525 viewable from a garment-facing side of said article said protrusions having a shape that substantially matches the shape of the one or more channels 106 typically such to provide an indication to a care giver that the absorbent article is saturated and should be replaced. An advantage is that a truly multi-sensorial warning is provided that the absorbent article should be replaced.

[0224]

Preferably, the print or graphic comprises a plurality of shades with the darkest shade being positioned such that when said article 10, 20, 300, 500, 600 is in wet-state said darkest shade is at an apex of each of the one or more protrusions 525. An advantage is that a graded warning is provided, as the protrusions increase in size during swelling, the darker shade becomes more evident (visually) up to the fully saturated/expanded state.

[0225]

In an aspect of the disclosure, an absorbent article may comprise a core 101 as described herein above, preferably said article being selected from disposable diapers or diaper pants; disposable incontinence diapers or diaper pants; sanitary napkins; or panty liners; and typically wherein the channel(s) in said core remains visible both before and after use of the article and having a first shape when the absorbent core 101 is in dry state and a second shape when the absorbent core is in wet state, said first and second shapes being different. Preferably, wherein the channel(s) is visible when viewed from a garment side and/or skin-facing side of the article, preferably is visible when looking at a backsheet of the article from the garment side thereof. Preferably the channels in said core remain visible both before and after use of the article, preferably wherein the channels are more visible after use than before use of the article.

[0226]

In an embodiment, the absorbent article comprises a topsheet and a backsheet directly or indirectly enclosing the core, wherein at least one of the backsheet or topsheet comprises a color that is different from the color of the core, preferably wherein the backsheet has a color that is different from the color of the topsheet and core, such that the channels may be visually discernible from the topsheet side of the article.

[0227]

Acquisition and Distribution Layer

[0228]

One particular component used in absorbent articles herein is an acquisition and distribution layer (ADL). The ADL may be positioned at a body-facing side of the absorbent core, between the topsheet and the absorbent core of the absorbent article, and more preferably in close proximity or even in good contact with the body-facing side of the absorbent core. The use of an ADL in combination with the fluid distribution structures and/or interconnected channels of the present invention lead to an extremely good distribution of fluids from a discharge area to the entire absorbent core whilst attaining excellent perceived dryness peformance.

[0229]

In an embodiment, the acquisition distribution layer 522, 622 for use herein comprises a spunbond and/or carded, preferably a carded thermobonded, nonwoven layer comprising synthetic fibers, wherein said synthetic fibers are comprised at a level of greater than 80% wt by weight of said acquisition distribution layer 522, 622, and wherein said acquisition distribution layer 522, 622 has a basis weight of from 10 to 50 g/m2, preferably from 15 to 40 g/m2, more preferably from 18 to 35 g/m2, even more preferably from 20 to 30 g/m2, most preferably from 21 to 25 g/m2.

[0230]

Preferably, the acquisition distribution layer 522, 622 has a specific volume of less than 11.4 cm3/g, preferably less than 11.3 cm3/g, more preferably from 5.5 cm3/g to 11.2 cm3/g, even more preferably from 8.5 cm3/g to 11.17 cm3/g. Advantageously, a specific volume within these ranges allows to limit sponge-like rewet drawbacks whilst still ensuring fast acquisition speeds when combined with channeled cores as described herein.

[0231]

Preferably, the synthetic fibers are comprised at a level of greater than 90% wt, preferably from 95% to 100%, by weight of said acquisition distribution layer 522, 622.

[0232]

Preferably, the acquisition distribution layer 522, 622 consists of synthetic fibers and is preferably free of cellulose fibers, more preferably wherein said acquisition distribution layer 522, 622 is treated, such as with a surfactant, to render said layer 522, 622 hydrophilic. Preferably, the synthetic fibers comprise, preferably consist of, polypropylene fibers. Advantageously, perceived dryness is improved by further eliminating cellulose fibers from the ADL.

[0233]

In an embodiment, the acquisition distribution layer 522, 622 consists of a, preferably single, spunbond or carded nonwoven layer and is free of air-through-bonded, airlaid and/or meltblone nonwoven layers.

[0234]

Preferably, the acquisition distribution layer 522, 622 has a mean flow pore size of from 15 μm to 200 μm, preferably from 30 μm to 150 μm, more preferably from 45 μm to 130 μm, even more preferably from 55 μm to 110 μm, even more preferably from 60 μm to less than 100 μm, even more preferably from 65 μm to 95 μm, even more preferably from 70 μm to 90 μm. Without wishing to be bound by theory, if the pore size is too small the nonwoven will retain more liquid therein and have reduced liquid-flush-out performance, on the other hand if the pore size is too large the nonwoven will not have the desirable wicking properties to still provide acceptable liquid distribution across the core.

[0235]

Preferably, the acquisition distribution layer 522, 622 comprises a first center-position CADLand the absorbent core 101, 501, 601 comprises a second center-position Cc, and wherein the acquisition distribution layer 522, 622 is asymmetrically positioned over the absorbent core 101, 501, 601 such that the first center-position CADLand second center-position Ccare offset at least along the longitudinal axis 48, preferably wherein the acquisition distribution layer 522, 622 is positioned such that it does not overlap with a portion of the channel 106 that extends in the widthwise direction along an axis substantially perpendicular to said longitudinal axis 48. This arrangement has the advantage of raw material cost saving by ensuring the ADL is position where it is needed most, and moreover by ensuring a part of the channel remains exposed (particularly the U-bend of the channel) speed of liquid flow through the channel from front to back is not compromised.

[0236]

Preferably, the acquisition distribution layer (522, 622) has a relative porosity of less than 9000 L/m2/s, preferably of from 1000 L/m2/s to 8000 L/m2/s, preferably from 2000 L/m2/s to 7000 L/m2/s, more preferably from 3000 L/m2/s to 5000 L/m2/s, most preferably from 3500 L/m2/s to 4500 L/m2/s. Advantageously, nonwovens having relative porosity within these ranges allow for a reduced sponge-like behavior whilst providing good liquid distribution performance.

[0237]

The inventors have found that fluid distribution in embodiments of the absorbent article according to the present invention which comprise an ADL, may depend on the relative size and positioning of the ADL with respect to the fluid distribution structure, and in particular the interconnected channels, of the absorbent core.

[0238]

FIGS. 17A-D illustrate embodiments with an ADL (201) and its relative size and position with respect to interconnected channels (106). FIG. 17A shows an embodiment wherein the ADL (201) covers the full channel (106). Such an arrangement already improves over prior art arrangements because the combined effects of the ADL and interconnected channel lead to a substantial improvement in the distribution of fluids over the complete absorbent core. Nevertheless, the inventors have found that certain arrangements provide even better improvements in the distribution of liquids, these arrangements being illustrated in FIGS. 17B-D and further discussed below.

[0239]

FIG. 17B illustrates a preferred embodiment wherein the ADL (201) is narrower than the interconnected channel (106), and positioned such that the first (110) and second (111) terminal positions extend beyond the side edges (202, 203) of the ADL.

[0240]

FIG. 17C illustrates a preferred embodiment wherein the ADL (201) is positioned such that the connecting channel portion (109) extends beyond a rear edge (204) of the ADL. The connecting channel portion (109) preferably comprises or has the shape of a U-bend.

[0241]

FIG. 17D illustrates a preferred embodiment wherein the ADL (201) is narrower than the interconnected channel (106), and positioned such that the first (110) and second (111) terminal positions extend beyond the side edges (202, 203) of the ADL, and wherein the ADL (201) is positioned such that the connecting channel portion (109) extends beyond a rear edge (204) of the ADL. The connecting channel portion (109) preferably comprises or has the shape of a U-bend.

[0242]

These arrangements which are illustrated in FIGS. 17B-D, have in common that certain extremities of the interconnected channel (106), in particular the terminal positions (110, 111) and/or the connecting channel portion (109), are not covered by the ADL and thus are more intimately exposed to the wearer. Without wishing to be bound by theory, the inventors believe that these extremities are very beneficial in the working of the interconnected channel (106) in distributing fluids from the discharge area towards regions of the absorbent core which are typically unexposed, or at least not directly exposed, to fluid discharges. By ensuring that the ADL does not cover some or all of these extremities, it is believed that fluid in-flow and/or fluid out-flow for the interconnected channel is maximized. Furthermore, these embodiments allow to use a smaller ADL, and thus less raw material, in the absorbent article.

[0243]

Methods of Making and Uses

[0244]

The disclosure further relates to a process of making an absorbent core 101 that may comprise the steps of:

[0245]

i. providing a mold comprising a 3D insert therein, said 3D insert being the inverse shape of the desired channels, wherein substantially the entire surface of the mold is in fluid communication with an under-pressure source except for the 3D insert;

[0246]

ii. applying a first nonwoven web to said mold;

[0247]

iii. applying a three-dimensional absorbent material over at least a portion of said nonwoven;

[0248]

iv. applying a second nonwoven web directly or indirectly over the three-dimensional absorbent material;

[0249]

v. optionally applying a bonding step to form a laminate comprising said first nonwoven, said second nonwoven and said three-dimensional absorbent material therebetween;

[0250]

vi. optionally removing said laminate from the mold to form an absorbent core comprising channels having the inverse shape of said 3D insert; and

[0251]

wherein at least for the duration of step iii the underpressure source is arranged to provide a vacuum force forcing said three-dimensional absorbent material around the 3D insert such to substantially evacuate the surface thereof from three-dimensional absorbent material and form channels substantially free of three-dimensional absorbent material. Such process has been found effective in creating channels substantially free of three-dimensional absorbent material compared to processes using embossing (i.e. creating channels of highly dense/packed three-dimensional absorbent material) or material removal processes that comprise removing three-dimensional absorbent material from a pre-formed core structure which inevitably results in the presence of some three-dimensional absorbent material that may affect effective/uniform fluid distribution upon saturation thereof.

[0252]

FIG. 15A and FIG. 15B illustrate an example of a mold comprising a 3D insert as described herein.

[0253]

In an embodiment, the mold comprises a plurality of perforations or openings across its surface typically forming channels arranged to be in fluid (preferably air) communication with the under pressure source. Preferably, the 3D insert is positioned above and/or over said mold surface comprising a plurality of said perforations or openings and said 3D insert being free of said perforations or openings and consists of a solid component that is not in fluid communication with the under pressure source.

[0254]

Preferably, the 3D insert has a cross-sectional shape selected from the group consisting of square, rectangular, oval, semi-circular, and combinations thereof.

[0255]

More preferably, the 3D insert has the same or varying depth throughout the perimeter thereof.

[0256]

In an embodiment, the 3D insert is 3D-printed, preferably made from a material selected from alumide, or is made from metal and formed by milling or casting.

[0257]

In a preferred embodiment, the bonding step comprises applying an adhesive on a surface of the second nonwoven web and joining said web to said first nonwoven web and/or three-dimensional absorbent material, preferably the adhesive being applied in continuous or discontinuous spaced apart stripes aligned with said channels such that the resulting core laminate comprises adhesive rich and adhesive poor regions, wherein the adhesive rich regions are substantially located along said channels and the adhesive poor regions are located in areas of the core other than said channels. An advantage of this embodiment is to limit the risk of adhering absorbent material within the channels and to rather directly bond the topsheet and backsheet nonwoven together at these channel locations.

[0258]

In an embodiment, the adhesive is applied in zones across the width of the channels such to form zones, preferably alternating zones, of different bonding strength between the laminate. For example the first nonwoven web may be bonded to the second nonwoven web on at least three zones along the width of the channel. Such arrangement may comprise a first adhesive zone, a second adhesive zone and a third adhesive zone, the second adhesive zone being interposed between the first and third adhesive zones along the width of the channel (e.g. at an axis parallel to the core width and perpendicular to the longitudinal axis of the core) wherein the bonding strength of the second adhesive zone is greater than the bonding strength of the first and third adhesive zones. Examples of ways to achieve such stronger bonding strength in the second zone include using higher amounts of adhesive in this zone, applying greater mechanical pressure on this zone, or utilizing a different adhesive type, other ways are also contemplated provided a stronger adhesion between nonwoven webs results in such region.

[0259]

In an embodiment the bonding strength in the first and third zones is less than the tensile force generated by the absorbent material located proximal to the channel upon wetting, such that the first and second nonwoven webs may separate in said zones upon wetting; and wherein the bonding strength in the second zone is greater than the tensile force generated by the absorbent material located proximal to the channel upon wetting, such that the first and second nonwoven webs may not separate in said zone upon swelling of the absorbent material and rather may remain fixedly joined. An advantage of this arrangement is that in dry conditions a noticeable channel is visible from the topsheet side of the article and/or core providing broad channels that are further useful for channeling more fluid particularly at initial/early discharge. This arrangement then further allows the bonding at the first and third regions to fail upon for example swelling of the SAP such to allow more volume to be available for expansion thereof (and prevent early saturation or non-optimal absorption), with typically the second zone resisting such expansion and thus providing integrity of the channels even in wet state.

[0260]

In a preferred embodiment the first nonwoven web and/or the second nonwoven web, preferably the second nonwoven web, are elastic nonwovens (e.g. containing an elastic material such as Vistamaxx resin from ExxonMobil). An advantage of this embodiment is that the nonwoven web better and more easily wraps around the 3D insert upon application of a vacuum and permits subsequent joining to the first nonwoven web at a location corresponding to a position of the base of the 3D insert (opposite a protruding apex thereof). This has an advantage of limiting the formation of fluid collection basins or sinks within the channels.

[0261]

More preferably, the channels are formed substantially only by said vacuum force and no additional mechanical action such as embossing.

[0262]

In an embodiment, the adhesive is applied such that, when laminated, the adhered first and second nonwoven webs in the channel locations is substantially flush with the non-adhered portions of the second nonwoven web such to limit the formation of fluid retention pockets in the resulting laminated core. An advantage of this embodiment is to prevent the formation of pockets of fluid that may reduce comfort to the subject.

[0263]

The mold described herein above may be contained within the circumference of a rotating drum apparatus, said drum apparatus typically comprising a plurality of said molds along its circumference. Said drum apparatus may be integrated within existing apparatuses for forming absorbent core laminates. An advantage of such a simple arrangement is that it allows for the formation of such novel absorbent cores in a simple and effective manner without considerable capital investment to substantially change major parts of existing core forming equipment.

[0264]

The disclosure also relates to the use of an absorbent core described in the previous sections herein in an absorbent article described above, for improved liquid distribution compared to the same absorbent article comprising a core free of substantially interconnected channels.

[0265]

The disclosure further relates to the use of an absorbent core described in the previous sections herein in an absorbent article described above, for providing a tri-stage fluid acquisition typically comprising a first fluid distribution at a first speed, a second fluid distribution at a second speed and a third fluid distribution at a third speed, said first speed being greater or equal to said second speed and said third speed being less than said first speed and less than or equal to said second speed, preferably wherein the first fluid distribution is driven by the substantially interconnected channels, the second fluid distribution is driven by a three-dimensional absorbent material comprised within the core, and the third fluid distribution is driven by an amount of super absorbent polymer dispersed within the three-dimensional absorbent material. Without wishing to be bound by theory it is believed that the novel cores described herein comprising the novel interconnected channel arrangement described, allows to achieve a unique and first in kind distinct fluid distribution and absorption system whereby firstly the channels provide for fast liquid distribution/evacuation from the region of discharge, followed by further distribution from neighboring surfaces of the channels towards other portions of the core via the three-dimensional absorbent material, and finally the super absorbent polymer dispersed within the three-dimensional absorbent material when presented with fluid begins an absorption of said fluid whilst swelling such to permit the three-dimensional absorbent material to distribute and transfer more of said fluid to the super absorbent polymer.

[0266]

Hang Shear Test Method:

[0267]

A core (un-used i.e. in dry-state) comprising a channel as described herein is cut into multiple samples of about 5 cm×10 cm as shown in FIG. 19A (as shown in the figure, sample 3 represents the U-bend portion of the channel and samples 1 and 2, other portions of the channel). Each sample is then conditioned at room conditions (generally in an oven at a temperature of 25° C. and 40% RH for at least 12 hrs).

[0268]

For each sample the upper and lower substrates thereof are pealed/separated up to (and not including) the position of the channel (location where both upper and lower substrates are joined together) and the lower substrate is fixed onto a stationary clamp and the upper substrate is fixed onto a second clamp onto which weights totaling 109g are hooked to each sample (as shown in FIG. 19B).

[0269]

The time is then recorded from the moment the weights are applied to the moment complete tear between upper/lower substrates occurs (i.e. the weights drop on the ground). The latter time represents the hang-shear value.

[0270]

The disclosure is further described by the following non-limiting examples which further illustrate the disclosure, and are not intended to, nor should they be interpreted to, limit the scope of the disclosure. The Examples herein provide further embodiments and structural technical features that may be included (in isolation or combination) in absorbent articles according to the present disclosure. It is however understood that alternative structural features of the absorbent article may be applied without departing from the inventive scope of the present disclosure.

[0271]

Acquisition Time Test Method:

[0272]

The following test is performed to determine the acquisition time of a diaper. The diaper core is loaded with an 8 kg weight. A defined amount of NaCl solution is poured on the diaper using a special kind of funnel and the absorption time is measured. This procedure is repeated four times in total, waiting 5 min after each injection.

[0273]

Solutions to be used: demineralised water (conductivity <5 μS/cm); coloured NaCl solution (0.9%) [9 g sodium chloride, NaCl p.a. has to be dissolved in 991 g demineralised water and coloured with food colouring that is free of common salt].

[0274]

Equipment to be used: Foam plastic mat covered with hook material; 8 kg weight with funnel on top (base area 100 mm×300 mm; ca. 0.4 psi); Electronic time clock (accuracy 1 s per 20 min); Scale (accuracy ±0.01 g); Filter paper according to Hy-Tec (100 mm×300 mm; Schleicher & Schuell type 604); Beaker.

[0275]

Preparation of samples: At least four unused diapers are tested. The weight of each sample is determined and noted down. Weighed filter paper (10 pieces) for leakage via backsheet is placed on the foam plastic mats before the samples are fixed on them. The insult point is marked on the diaper according to the gender-specific position, i.e. in the centre of the total diaper for girl, 2.5 cm towards the front for unisex and 5 cm towards the front for boy. Afterwards the filter paper is positioned with its centre on the insult point.

[0276]

Procedure: The diaper is mounted above the filter paper for leakage via backsheet on the foam plastic mat. The 8 kg weight is placed on the absorbent core so that the mark on the side is in line with the marking on the diaper. The NaCl solution (4×70 ml) is poured onto the diaper through the funnel. The time the liquid needs for penetrating the topsheet is measured and recorded. Once the liquid is absorbed by the diaper a time clock is started to measure a waiting period. After a waiting period of 5 minutes the same amount of liquid is poured onto the diaper for the second time and the absorption time is measured again and recorded. This procedure is repeated four times in total. After the fourth waiting period of 5 minutes the weight is taken off the diaper and any liquid remaining on the base plate is wiped off.

[0277]

Of the tested products, the average and standard deviation of the absorption time (in seconds) after fourth liquid addition is recorded as the average acquisition time.

[0278]

Surface Dryness Evaluation (Rewet) Test Method:

[0279]

The following test is performed to determine the Surface Dryness of a diaper surface.

[0280]

A defined amount of NaCl solution is poured in one shot on the diaper with a measuring cylinder. When liquid is absorbed the time is taken.

[0281]

Two minutes after the injection the rewet under a weight of 580 g has to be determined by using filter paper that is weighed before and after the testing and values recorded.

[0282]

Solutions to used: demineralised water (conductivity <5 μS/cm); coloured NaCl solution (0.9%) [9 g sodium chloride, NaCl p.a. has to be dissolved in 991 g demineralised water and coloured with food colouring that is free of common salt].

[0283]

Equipment to be used: Plastic box (37 cm×26 cm×17 cm); Metal board and magnets; Plexiglass plate (25(±1) cm×20(±1) cm; 580±2 g); Electronic time clock (accuracy 1 s per 20 min); Scale (accuracy ±0.01 g); Filter paper according to Hytec (14 cm×19 cm; Schleicher & Schuell 604); Measuring Cylinder (capacity ≥100 ml)

[0284]

Preparation of the samples: Diapers (at least 5 samples of each) are positioned in a transparent box in a curved shape, fixed with metal clips on the edges/borders of the box. The core is supposed to be completely within the box with the edges of the core not getting turned over the walls of the box.

[0285]

Procedure: The measuring cylinder is filled with 100 ml of the NaCl solution and positioned ahead of the middle of the diaper. The liquid is poured in one quick shot on the diaper and the clock is started. One minute after pouring the liquid, the diaper is put flat on a metal plate with the aid of four magnets at the corners of the diaper. After two minutes in total, the filter paper, which was already weighed before, and the plexiglass plate are laid centred on the diaper. The stack of filter paper and plexiglass plate remains on the diaper for 5 seconds. Afterwards the filter paper is weighed again. The difference in weight of the filter paper before and after testing equals the rewet in grams. The rewet is calculated according to the following formula: Rewet [g]=WA-WB

[0286]

Wherein, W B=Weight of filter paper before testing, and W A=Weight of filter paper after testing.

[0287]

The average rewet is then reported as the average of all samples tested (values in g).

[0288]

Air Permeability Test Method:

[0289]

The following test method is performed to measure the air permeability (or “relative porosity” as referred to herein) of nonwoven substrates.

[0290]

Equipment to be used: Air Permeability Tester Model FX 3300 LABOTESTER III (from Textest AG) fitted with a test head having part number FX 3300-20 (from Textest AG).

[0291]

Procedure: Each nonwoven sample is placed (by using the respective clamping holder in the equipment) as an obstacle in a flow of air. A pressure difference Δp (between both upper and lower faces of the nonwoven sample) develops as a consequence of hydraulic losses. The pressure difference is recorded by using of the manometer. Standard evaluation (according to EN ISO 9237:1995) is taken under the conditions: clamping area 20 cm2, pressure difference 200 Pa. The measured value may be reported as a speed of air in litre per squared meters per second (L/m2/s).

EXAMPLES

Example 1

[0292]

FIGS. 5-8 representatively illustrate an example of a disposable diaper, as generally indicated at 20, according to the present disclosure.

[0293]

As representatively illustrated in FIGS. 5-7, the diaper 20 defines a front waist region 22, a back waist region 24, a crotch region 26 which extends between and connects the front and back waist regions 22 and 24, a pair of laterally opposed side edges 28, an interior surface 30 and an outer surface 32. The front waist region 22 comprises the portion of the diaper 20 which, when worn, is positioned on the front of the wearer while the back waist region 24 comprises the portion of the diaper 20 which, when worn, is positioned on the back of the wearer. The crotch region 26 of the diaper 20 comprises the portion of the diaper 20 which, when worn, is positioned between the legs of the wearer and covers the lower torso of the wearer.

[0294]

The diaper 20 includes an outer cover 34, an absorbent chassis 36 and a fastening system 50. The absorbent chassis 36 is configured to contain and/or absorb any body exudates discharged from the wearer. Whereas, the outer cover 34 and fastening system 50 are configured to maintain the diaper 20 about the waist of the wearer, conceal the absorbent chassis 36 from view, and provide a garment-like appearance. The diaper 20 may further include leg elastics 96 and 98 and containment flaps 100 and 102. It should be recognized that individual components of the diaper 20 may be optional depending upon the intended use of the diaper 20.

[0295]

As representatively illustrated in FIGS. 5-8, the laterally opposed side edges 28 of the diaper 20 are generally defined by the side edges of the outer cover 34 which further define leg openings which may be curvilinear. The waist edges of the outer cover 34 also define a waist opening which is configured to encircle the waist of the wearer when worn.

[0296]

As representatively illustrated in FIGS. 5-8, the absorbent chassis 36 of the diaper 20 is suitably connected to the outer cover 34 to provide the disposable diaper 20. The absorbent chassis 36 may be connected to the outer cover 34 in manners well known to those skilled in the art. For example, the absorbent chassis 36 may be bonded to the outer cover 34 using adhesive, thermal or ultrasonic bonding techniques known to those skilled in the art. Alternatively, the absorbent chassis 36 may be connected to the outer cover 34 using conventional fasteners such as buttons, hook and loop type fasteners, adhesive tape fasteners, and the like. The other components of the diaper 20 may be suitably connected together using similar means.

[0297]

Desirably, the absorbent chassis 36 is connected to the outer cover 34 only at or adjacent the waist edges of the outer cover 34 thereby creating a front attached portion, a back attached portion and an unattached portion which extends between and connects the attached portions. The unattached portion of the absorbent chassis 36 remains substantially unattached to the outer cover 34 and is generally configured to fit between the legs of the wearer and at least partially cover the lower torso of the wearer when in use. As a result, the unattached portion is generally the portion of the absorbent chassis 36 which is configured to initially receive the body exudates from the wearer when in use.

[0298]

In this manner, the absorbent chassis 36 is connected to the outer cover 34 in such a manner to secure the chassis 36 in place while not adversely restricting the movement of the outer cover 34 in use. Alternatively, the absorbent chassis 36 may be attached to the outer cover 34 along the entire longitudinal length of the absorbent chassis 36 or any portion thereof or along only the outer periphery of the absorbent chassis 36.

[0299]

As representatively illustrated in FIGS. 5-8, the absorbent chassis 36 according to the present disclosure may include a back sheet 38, a top sheet 40 which is connected to the backsheet 38 in a superposed relation, and an absorbent core 42 which is located between the top sheet 40 and the back sheet 38.

[0300]

The absorbent chassis 36 is generally conformable and capable of absorbing and retaining body exudates. The absorbent chassis 36 may have any of a number of shapes and sizes. For example, as representatively illustrated in FIGS. 5-8, the absorbent chassis 36 may be rectangular, I-shaped or T-shaped. The size and absorbent capacity of the absorbent chassis 36 should be compatible with the size of the intended wearer and the fluid loading imparted by the intended use of the diaper 20.

[0301]

The top sheet 40 of the absorbent chassis 36, as representatively illustrated in FIGS. 5-8, suitably presents a bodyfacing surface which is intended to be worn adjacent the body of the wearer and is compliant, soft feeling and nonirritating to the wearer's skin.

[0302]

Further, the top sheet 40 may be less hydrophilic than the absorbent core 42, to present a relatively dry surface to the wearer, and may be sufficiently porous to be liquid permeable, permitting liquid to readily penetrate through its thickness. A suitable top sheet 40 may be manufactured from a wide selection of web materials, such as porous foams, reticulated foams, apertured plastic films, natural fibers (for example, wood or cotton fibers), synthetic fibers (for example, polyester or polypropylene fibers), or a combination of natural and synthetic fibers. The top sheet 40 is suitably employed to help isolate the wearer's skin from fluids held in the absorbent core 42 of the absorbent chassis 36.

[0303]

The top sheet 40 and back sheet 38 are generally adhered to one another so as to form a pocket in which the absorbent core 42 is located to provide the absorbent chassis 36. The top sheet 40 and back sheet 38 may be adhered directly to each other around the outer periphery of the absorbent chassis 36 by any means known to those skilled in the art such as adhesive bonds, sonic bonds or thermal bonds. For example, a uniform continuous layer of adhesive, a patterned layer of adhesive, a sprayed or meltblown pattern of adhesive or an array of lines, swirls or spots of adhesive may be used to affix the top sheet 40 to the back sheet 38. It should be noted that both the top sheet 40 and the back sheet 38 need not extend completely to the outer periphery of the absorbent chassis 36. For example, the back sheet 38 may extend to the outer periphery of the absorbent chassis 36 while the top sheet 40 may be attached to the back sheet 38 inboard of the outer periphery of the absorbent chassis 36, or more towards the longitudinal centerline of the diaper 20.

[0304]

The absorbent core 42, as representatively illustrated in FIGS. 5-8, is positioned between the top sheet 40 and the back sheet 38 to form the absorbent chassis 36. The absorbent core 42 is desirably conformable and capable of absorbing and retaining body exudates. The absorbent core 42 may have any of a number of shapes and generally discrete layer within the matrix of hydrophilic fibers. Alternatively, the absorbent core 42 may comprise a laminate of fibrous webs and high-absorbency material or other suitable means of maintaining a high-absorbency material in a localized area.

[0305]

As representatively illustrated in FIGS. 5-8, the absorbent chassis 36 of the disposable diaper 20 may include a pair of containment flaps 100 and 102 which are configured to provide a barrier to the lateral flow of body exudates. The containment flaps 100 and 102 may be located along the laterally opposed side edges of the absorbent chassis 36. Each containment flap defines an attached edge 104 and an unattached edge 106. Each of the containment flaps 100 and 102 may also include at least one elongated elastic member 108 which is adhered to the unattached edge 106 of the containment flap 100 and 102 and configured to gather the unattached edge 106 and form a seal against the body of the wearer when in use. The containment flaps 100 and 102 may extend longitudinally along the entire length of the absorbent chassis 36 or may only extend partially along the length of the absorbent chassis 36. When the containment flaps 100 and 102 are shorter in length than the absorbent chassis 36, the containment flaps 100 and 102 can be selectively positioned anywhere along the side edges 38 of the absorbent chassis 36. In a particular aspect of the disclosure, the containment flaps 100 and 102 extend along the entire length of the absorbent chassis 36 to better contain the body exudates.

[0306]

Each containment flap 100 and 102 is attached to the side edges 38 of the absorbent chassis 36 such that the containment flaps 100 and 102 provide a barrier to the lateral flow of body exudates. The attached edge 104 of each of the containment flaps 100 and 102 is attached to the side edges 38 of the absorbent chassis 36 while the unattached edge 106 remains unattached from the absorbent chassis 36 in at least the crotch region 26 of the diaper 20. The attached edge 104 of the containment flaps 100 and 102 may be attached to the absorbent chassis 36 in any of several ways which are well known to those skilled in the art. For example, the attached edge 104 of the flaps 100 and 102 may be ultrasonically bonded, thermally bonded or adhesively bonded to the absorbent chassis 36. In a particular aspect, the unattached edge 106 of each of the containment flaps 100 and 102 remains unattached from the side edges 38 of the absorbent chassis 36 along substantially the entire length of the unattached edge 106 to provide improved performance.

[0307]

Alternatively, as representatively illustrated in FIGS. 4-7, the containment flaps 100 and 102 may be integral with the back sheet 38 or top sheet 40 of the absorbent chassis 36.

[0308]

Each containment flap 100 and 102 is also configured such that the unattached edge 106 of the containment flaps 100 and 102 tends to position itself in a spaced relation away from the absorbent chassis 36 toward a generally upright and perpendicular configuration, especially in the crotch region 26 when in use. As representatively illustrated in FIGS. 5-8, the unattached edge 106 of each containment flap 100 and 102 is desirably spaced away from the absorbent chassis 36 when in use thereby providing a barrier to the lateral flow of body exudates. Desirably, the unattached edge 106 of each containment flap 100 and 102 maintains a contacting relationship with the body of the wearer while the absorbent chassis 36 may be spaced away from the body of the wearer when in use. Typically, an elastic member 108 is attached to the unattached edge 106 of each containment flap 100 and 102 to maintain the spaced away relationship between the unattached edge 106 and the absorbent chassis 36. For example, the elastic member 108 may be attached to the unattached edge 106 in an elastically contractible condition such that the contraction of the elastic member 108 gathers or contracts and shortens the unattached edge 106 of the containment flap 100 and 102.

[0309]

The disposable diaper 20 of the different aspects of the present disclosure may further include elastics at the waist edges and side edges 28 of the diaper 20 to further prevent the leakage of body exudates and support the absorbent chassis 36. For example, as representatively illustrated in FIGS. 5-8, the diaper 20 of the present disclosure may include a pair of leg elastic members 96 and 98 which are connected to the laterally opposed side edges 28 in the crotch region 26 of the diaper 20. The leg elastics 96 and 98 are generally adapted to fit about the legs of a wearer in use to maintain a positive, contacting relationship with the wearer to effectively reduce or eliminate the leakage of body exudates from the diaper 20.

[0310]

The absorbent article illustrated in FIG. 9 to FIG. 12 generally represents a training pant. The absorbent article 10. The longitudinal direction 48 generally extends from the front of the absorbent article to the back of the absorbent article. Opposite to the longitudinal direction 48 is a lateral direction 49. The absorbent article 10 includes a chassis 12 that is comprised of a front portion 22, a back portion 24, and a crotch portion 26. Positioned within the crotch portion 26 and extending from the front portion 22 to the back portion 24 is an absorbent core 28.

[0311]

The absorbent article 10 defines an interior surface that is configured to be placed adjacent to the body when being worn. The absorbent article 10 also includes an exterior surface opposite the interior surface. The front and back portions 22 and 24 are those portions of the article which, when worn, partially cover or encircle the waist or mid-lower torso of the wearer. The crotch portion 26, on the other hand, is generally positioned between the legs of the wearer when the absorbent article has been donned.

[0312]

As shown in FIG. 9, the absorbent article further includes a first side area 30 and a second side area 34. The side areas 30 and 34 connect the front portion 22 with the back portion 24. The side areas 30 and 34 can also help define the leg openings and the waist opening.

[0313]

The side areas 30 and 34, in one embodiment, can be made from a stretchable or extensible material. In one embodiment, for instance, the side areas 30 and 34 are made from an elastic material. The side areas serve to form a snug but comfortable fit around the torso of a wearer. The side areas 30 and 34 can also allow for accommodating different torso circumferences.

[0314]

As shown, each of the side areas 30 and 34 can be made from multiple stretchable panels. For instance, in the embodiment shown in FIG. 9, the side areas 30 and 34 are each made from two panels. As shown, for instance, the side area 30 includes a first panel 31 and a second panel 33. Similarly, the second side area 34 includes a first panel 35 attached to a second panel 37. The panels 31 and 33 of the first side area 30 are attached together to form a first vertical attachment area 41 while the panels 35 and 37 of the second side area 34 are attached together along a second vertical attachment area 43. The attachment between the panels can be permanent or can be unfastenable and refastenable. When the panels are releasably attached together, for instance, any suitable mechanical fastener may be used. For example, in one embodiment, the panels may be releasably attached together using any suitable adhesive fastener, cohesive fastener, mechanical fastener, or the like. Suitable mechanical fastening elements can be provided by interlocking geometric shaped materials, such as hooks, loops, bulbs, mushrooms, arrowheads, balls on stems, male and female mating components, buckles, snaps, and the like.

[0315]

In the embodiment illustrated in FIGS. 9-12, the panels 31 and 33 that comprise the first side area 30 and the panels 35 and 37 that comprise the second side area 34 are joined together using a fastening system 80 that includes laterally opposite first fastening components 82 adapted for refastenable engagement to corresponding second fastening components 84. For instance, in one embodiment, a front or outer surface of each of the fastening components 82, 84 includes a plurality of engaging elements. The engaging elements of the first fastening components 82 are adapted to repeatably engage and disengage corresponding engaging elements of the second fastening components 84 to releasably secure the absorbent article in its 3-dimensional configuration.

[0316]

In an embodiment for instance, the first fastening components 82 include loop fasteners and the second fastening components 84 include complementary hook fasteners. Alternatively, the first fastening components 82 may include hook fasteners and the second fastening components 84 may be complementary loop fasteners. In another aspect, the fastening components 82 and 84 can be interlocking similar surface fasteners, or adhesive or co-adhesive fastening elements such as an adhesive fastener and an adhesive-receptive landing zone or material.

[0317]

As described above, in an alternative embodiment, the panels that comprise the side areas may be permanently attached together. For instance, referring to FIG. 10, an alternative embodiment of an absorbent article 10 is shown. Like reference numerals have been used to indicate the same or similar elements. As shown, the absorbent article 10 in FIG. 10 includes a first side area 30 comprised of panels 31 and 33 and a second side area 34 comprised of panels 35 and 37. The first side panel 30 defines a first vertical attachment area 41 where the panels 31 and 33 are permanently bonded together. Similarly, the second side area 34 defines a second vertical attachment area 43 where the panels 35 and 37 have been permanently attached together. In this embodiment, the vertical attachment areas comprise seams. The seams, for instance, can be constructed in any suitable manner. For instance, the vertical seam may comprise a lap seam, a butt seam, or any other suitable configuration. The seams can be formed by attaching the panels together using any suitable method or technique. For example, the panels can be permanently attached together using ultrasonic bonding, thermal bonding, adhesive bonding, and/or pressure bonding. In still another alternative embodiment, the separate panels can be sewn together.

[0318]

As shown in FIGS. 9 and 10 when the side areas 30 and 34 are in a fastened position, the front and back portions 22 and 24 are connected together to define a 3-dimensional pants configuration having a waist opening 50 and a pair of leg openings 52. The side areas 30 and 34, upon wearing of the absorbent article 10, thus include the portions of the article which are positioned on the hips of the wearer and, in one embodiment, define the upper edge of the leg openings 52.

[0319]

As described above, the chassis 12 can, in one embodiment, include an outer cover 40 and a top sheet 42 as shown particularly in FIGS. 11 and 12. Depending upon the embodiment, the outer cover 40 and the top sheet 42 can comprise a unitary single-piece of material or can comprise multiple pieces of material bonded together. The top sheet 42 may be joined to the outer cover 40 in a superimposed relation using, for instance, adhesives, ultrasonic bonds, thermal bonds, pressure bonds or other conventional techniques. The top sheet 42 may suitably be joined to the outer cover 40 along the perimeter of the chassis 12 to form a front waist seam 62 and a back waist seam 64. The top sheet 42 may also be joined to the outer cover 40 to form a pair of side seams 61. The top sheet 42 can be generally adapted, i.e., positioned relative to the other components of the absorbent article 10, to be disposed toward the wearer's skin when donned. As described above, the chassis 12 also includes the absorbent core 28 which is disposed between the outer cover 40 and the top sheet 42 for absorbing liquid body exudates exuded by the wearer.

[0320]

In accordance with the present disclosure, the absorbent article 10 further includes one or more extended waistbands that are intended to improve product appearance, to improve fit, and/or make the product feel more like real underwear. As shown in the figures, for instance, the absorbent article 10 can include a back waistband 56, a front waistband 54, or can include both a front waistband and a back waistband. As shown, for instance, the back waistband 56 extends over the entire back portion 24 of the chassis 12 and terminates at each end on the side areas 30 and 34.

[0321]

It is supposed that the present disclosure is not restricted to any form of realization described previously and that some modifications can be added to the presented example of fabrication without reappraisal of the appended claims. For example, although the above example makes reference to the embodiments of FIG. 5 to FIG. 8, similar structures may be found in other embodiments as illustrated in FIG. 9 to FIG. 12, and further feminine care articles such as those of FIG. 13 and FIG. 14. Moreover, although the example and figures relate to baby diapers and pants, the same remains applicable to incontinence diapers and pants for adults albeit with some structural alterations which would be apparent to a person skilled in the art.

Example 2

[0322]

Referring to FIG. 13 and FIG. 14, the absorbent articles may be of the sanitary napkin or panty liner type.

[0323]

The structure of the napkin or panty liner may vary in construction as long as a core as described herein is used. Generally such napkin or panty liner include a laminate comprising a backsheet, an absorbent core (with or without three-dimensional absorbent material) and optionally a liquid distribution layer (ADL) positioned between the topsheet and the absorbent core.

[0324]

As shown in FIG. 14 the interconnected channel 106 may be in a plurality and be substantially concentric with respect to each other and may be inverse in shape about an axis parallel to the width of the core. Although such pattern is illustrated as an example for use in a core for a sanitary napkin or a panty liner 300, such shape may be equally applied and is encompassed in the teaching of cores for diapers and pants (whether for babies or incontinence for adults) herein.

Example 3

[0325]

Reference—Commercially available baby diapers (Junior size) with core, free of channels, comprising a mixture of fluff and SAP (sold by Ontex bvba, under the FlexFit name) is tested according to the procedure recited herein above for “Acquisition Time” method. A total of 5 diaper samples each having an acquisition distribution layer (ADL) corresponding to Sample A-C below is tested. Average acquisition time and standard deviation (STD) are reported in Table 1 below.

[0326]

Sample A—Air-through-bonded nonwoven layer having basis weight of 50 g/m2(commercially available from TWE Meulebeke bvba, and sold as DryWeb T28)

[0327]

Sample B—Spunbond nonwoven layer having 100% polypropylene (PP) fibers and basis weight of 21 g/m2(commercially available from Fitesa Italy Srl., and sold under article code ISEW-100 021 FA-S)

[0328]

Sample C—Carded thermobonded nonwoven layer having 100% polypropylene (PP) fibers and basis weight of 30 g/m2(commercially available from Union Industries SpA, and sold under article code T3000PIWT)

[0000]

Sample A10612
Sample B346103
Sample C26260

[0329]

The results in Table 1 show that on traditional non-channeled diapers the average acquisition time is very high when using ADLs according to Samples B and C. Levels above 200s are considered in industry as being unacceptable (e.g. Hy-Tec target values for baby diapers 01-2019) whilst levels below 200s are considered acceptable (especially for sizes Junior/Junior+, Maxi/Maxi+, XL/XL+). The latter has dissuaded the use of such ADLs in modern performing diapers.

Example 4

[0330]

Baby diapers (Junior size) with core, having a single U-shaped channel free of absorbent material therein, comprising a mixture of fluff and SAP is tested according to the procedure recited herein above for “Acquisition Time” method. A total of 5 diaper samples each having an acquisition distribution layer (ADL) corresponding to Sample A′-C′ below is tested. Average acquisition time and standard deviation (STD) are reported in Table 2 below.

[0331]

Sample A′—Air-through-bonded nonwoven layer having basis weight of 50 g/m2(commercially available from TWE Meulebeke bvba, and sold as DryWeb T28)

[0332]

Sample B′—Spunbond nonwoven layer having 100% polypropylene (PP) fibers and basis weight of 21 g/m2(commercially available from Fitesa Italy Srl., and sold under article code ISEW-100 021 FA-S)

[0333]

Sample C′—Carded thermobonded nonwoven layer having 100% polypropylene (PP) fibers and basis weight of 30 g/m2(commercially available from Union Industries SpA, and sold under article code T3000PIWT)

[0000]

Sample A′193
Sample B′479
Sample C′362

[0334]

The results in Table 2 show that introducing a channeled core allows to significantly reduce the acquisition time, with ADLs according to Samples B′ and C′ now providing very acceptable performance (particularly according to Hy-Tec thresholds discussed in Example 3).

Example 5

[0335]

Reference—Commercially available baby diapers (Junior size) with core, free of channels, comprising a mixture of fluff and SAP (sold by Ontex bvba, under the FlexFit name) is tested according to the procedure recited herein above for “Surface Dryness (Rewet)” method. A total of 6 diaper samples each having an acquisition distribution layer (ADL) corresponding to Sample A-C below is tested. Average acquisition time and standard deviation (STD) are reported in Table 3 below.

[0336]

Sample A—Air-through-bonded nonwoven layer having basis weight of 50 g/m2(commercially available from TWE Meulebeke bvba, and sold as DryWeb T28)

[0337]

Sample B—Spunbond nonwoven layer having 100% polypropylene (PP) fibers and basis weight of 21 g/m2(commercially available from Fitesa Italy Srl., and sold under article code ISEW-100 021 FA-S)

[0338]

Sample C—Carded thermobonded nonwoven layer having 100% polypropylene (PP) fibers and basis weight of 30 g/m2(commercially available from Union Industries SpA, and sold under article code T3000PIWT)

[0000]

Sample A0.220.03
Sample B0.030.01
Sample C0.020.01

[0339]

Results in table 3 show poorer rewet performance of diapers comprising Sample A ADLs.

Example 6

[0340]

Baby diapers (Junior size) with core, having a single U-shaped channel free of absorbent material therein, comprising a mixture of fluff and SAP is tested according to the procedure recited herein above for “Surface Dryness (Rewet)” method. A total of 6 diaper samples each having an acquisition distribution layer (ADL) corresponding to Sample A′-C′ below is tested. Average acquisition time and standard deviation (STD) are reported in Table 4 below.

[0341]

Sample A′—Air-through-bonded nonwoven layer having basis weight of 50 g/m2(commercially available from TWE Meulebeke bvba, and sold as DryWeb T28)

[0342]

Sample B′—Spunbond nonwoven layer having 100% polypropylene (PP) fibers and basis weight of 21 g/m2(commercially available from Fitesa Italy Srl., and sold under article code ISEW-100 021 FA-S)

[0343]

Sample C′—Carded thermobonded nonwoven layer having 100% polypropylene (PP) fibers and basis weight of 30 g/m2(commercially available from Union Industries SpA, and sold under article code T3000PIWT)

[0000]

Sample A′0.120.02
Sample B′0.030.01
Sample C′0.030.01

[0344]

The results show that by introducing ADLs according to Samples B/B′ and C/C′ in channeled core diapers, surprisingly an optimal balance of acquisition time (Example 4) and rewet (Example 6) performance is achieved. The tradeoff in acquisition time performance in channeled diapers (Example 4) when selecting Samples B/B′ and C/C′ is much lower compared to non-channeled diapers (Example 3), this tradeoff being considerably outweighed by the significant rewet improvement to maintain excellent perceived dryness. This leading to a sweet-spot in terms of overall diaper performance in a cost-effective manner.

Example 7

[0345]

The ADLs according to Samples A/A′, B/B′, C/C′ of Examples 3 to 6 are further tested according to the bulk density test described herein and results are reported in Table 5.

[0000]

A/A′0.08711.43
B/B′0.10010.03
C/C′0.08911.17

Example 8

[0346]

The ADLs according to Samples A/A′, B/B′, C/C′ of Examples 3 to 6 are further tested for liquid retention. The test involves the following steps: cut each sample to a dimension of 245 mm×80 mm; measure and record the weight of sample in dry state; dunk each sample in a bath of saline solution (the same as described/used in Examples 3 to 6) and leave it under solution for 2 minutes; take the sample out of the bath and allow excess liquid to drip off by clamping one end of the sample to a cantilevered jig and let it hang by gravity at room conditions for 3 minutes; then measure the weight again. The difference in weight from dry state to after the dunk test gives the liquid retention weight. The test is repeated for at least 3 samples for each of Samples A/A′, B/B′, C/C′ of Examples 3 to 6. Results are reported on Table 6.

[0000]

A/A′12.4 1.0
B/B′3.10.1
C/C′4.71.0

[0347]

The results in Table 6 show that ADLs according to Sample A/A′ retain a significantly higher amount of liquid therein compared to Samples B/B′ and C/C′. Without wishing to be bound by theory, it is believed that one of the reasons for higher perceived wetness is due to such a sponge-like behavior of the ADL.

Example 9

[0348]

Diapers according to Examples 3 to 6 having ADLs according to Sample A/A′ and B/B′ are tested for visual inspection of residual wetness. This is measured by following the following procedure: 150 mL of tap water is poured in one shot into the diaper lying in cup shape on a table; time a waiting period, and leave the liquid to be absorbed in the diaper for the duration of the waiting period of 90 seconds; apply a softshell cloth (water repellant hydrophobic cloth, 100% polyester) onto the topsheet on the skin-facing side of the diaper and apply a 4 kg weight for 5 seconds; remove the softshell cloth and visually inspect for signs of dampness thereon. FIG. 23 shows the difference in visual appearance of dampness, with the diaper containing the Sample A/A′ ADL showing a significantly higher degree of residual wetness compared to the same diaper using Sample B/B′ ADL.

Example 10

[0349]

ADLs according to Samples A/A′, B/B′, C/C′ are tested for relative porosity according to the air permeability test method described herein.

[0350]

3 replicates of each of Samples A/A′, B/B′, C/C′ are cut and sized for fitting on the clamping area of 20 cm2as described in the test method described herein (and in accordance with ISO 9237:1995), the average relative porosity and corresponding standard deviation (STD) are calculated and results reported in Table 7.

[0000]

A/A′902717
B/B′404383
C/C′4433295 

[0351]

The results on Table 7 show significantly higher values of Relative Porosity of Sample A/A′ as compared to Samples B/B′ and C/C′. Without wishing to be bound by theory, the higher Relative Porosity promotes capillary action to a degree that in-use results in a sponge-like behavior impacting the perceived wetness following exudate events in-use.

Как компенсировать расходы
на инновационную разработку
Похожие патенты