заявка
№ US 20220022040
МПК H04W12/08

METHODS, SYSTEMS, AND COMPUTER READABLE MEDIA FOR MITIGATING 5G ROAMING SECURITY ATTACKS USING SECURITY EDGE PROTECTION PROXY (SEPP)

Авторы:
Shashikiran Bhalachandra Mahalank
Номер заявки
16929048
Дата подачи заявки
14.07.2020
Опубликовано
20.01.2022
Страна
US
Как управлять
интеллектуальной собственностью
Чертежи 
7
Реферат

[0000]

A method for mitigating a 5G roaming attack using a security edge protection proxy (SEPP), includes receiving, at an SEPP, user equipment (UE) registration messages for outbound roaming subscribers. The method further includes creating, in a SEPP security database, UE roaming registration records derived from UE registration messages. The method further includes receiving, at the SEPP, a packet data unit (PDU) session establishment request message. The method further includes performing, using at least one parameter value extracted from the PDU session establishment request message, a lookup in the SEPP security database for a UE roaming registration record. The method further includes determining, by the SEPP and based on results of the lookup, whether to allow or reject the PDU session establishment request message.

[00000]

Формула изобретения

1. A method for mitigating a 5G roaming attack using a security edge protection proxy (SEPP), the method comprising:

receiving, at an SEPP, user equipment (UE) registration messages for outbound roaming subscribers;

creating, in a SEPP security database, UE roaming registration records derived from UE registration messages;

receiving, at the SEPP, a packet data unit (PDU) session establishment request message;

performing, using at least one parameter value extracted from the PDU session establishment request message, a lookup in the SEPP security database for a UE roaming registration record; and

determining, by the SEPP and based on results of the lookup, whether to allow or reject the PDU session establishment request message.

2. The method of claim 1 wherein receiving the UE registration messages for the outbound roaming subscribers includes receiving Nudm_UECM_Registration messages from access management messages (AMFs) and session management functions (SMFs) serving the outbound roaming subscribers.

3. The method of claim 1 wherein creating records in the SEPP security database includes creating records that each include a subscription permanent identifier (SUPI) or subscription concealed identifier (SUCI), serving public land mobile network (PLMN) ID, and access type.

4. The method of claim 3 wherein receiving a PDU session establishment request message includes receiving a PDU session establishment request message including a SUPI or SUCI, an PLMN ID, and an access type.

5. The method of claim 4 wherein performing the lookup in the SEPP security database include performing the lookup using the SUPI or SUCI from the PDU session establishment request message.

6. The method of claim 5 comprising failing to locate a record corresponding to the SUPI or SUCI from the PDU session establishment request message in the SEPP security database, wherein determining whether to allow or reject the PDU session establishment request message includes determining to reject the PDU session establishment request message, and further comprising rejecting the PDU session establishment request message.

7. The method of claim 5 comprising locating a record corresponding to the SUPI or SUCI from the PDU session establishment request message in the SEPP security database, determining that a PLMN ID or an access type in the record does not match the PLMN ID or the access type in the PDU session establishment request message, wherein determining whether to allow or reject the PDU session establishment request message includes determining to reject the PDU session establishment request, and further comprising rejecting the PDU session establishment request message.

8. The method of claim 7 wherein rejecting the PDU session establishment request message includes discarding the PDU session establishment request message and sending a PDU session establishment error response.

9. The method of claim 5 comprising locating a record corresponding to the SUPI or SUCI from the PDU session establishment request message in the SEPP security database, determining that a PLMN ID and an access type in the record does match the PLMN ID and the access type in the PDU session establishment request message, wherein determining whether to allow or reject the PDU session establishment request message includes determining to allow the PDU session establishment request message, and further comprising allowing the PDU session establishment request message.

10. The method of claim 9 wherein allowing the PDU session establishment request message includes forwarding the PDU session establishment request message from the SEPP to a home session management function (hSMF).

11. A system for mitigating a 5G roaming attack, the system comprising:

a security edge protection proxy (SEPP) including at least one processor and a memory;

an SEPP security database implemented in the memory;

an SEPP roaming security controller implemented by the at least one processor for receiving user equipment (UE) registration messages for outbound roaming subscribers, creating, in the SEPP security database, UE roaming registration records derived from UE registration messages, receiving a packet data unit (PDU) session establishment request message, performing, using at least one parameter value extracted from the PDU session establishment request message, a lookup in the SEPP security database for a UE roaming registration record, and determining, by the SEPP and based on results of the lookup, whether to allow or reject the PDU session establishment request message.

12. The system of claim 11 wherein the SEPP roaming security controller is configured to receive Nudm_UECM_Registration messages from access management functions (AMFs) and session management functions (SMFs) serving the outbound roaming subscribers.

13. The system of claim 11 wherein the SEPP roaming security controller is configured to create the records in the SEPP security database where each includes a subscription permanent identifier (SUPI) or subscription concealed identifier (SUCI), serving public land mobile network (PLMN) ID, and access type.

14. The system of claim 13 wherein the PDU session establishment request message includes a SUPI or SUCI, an PLMN ID, and an access type.

15. The system of claim 14 wherein the SEPP roaming security controller is configured to perform the lookup in the SEPP security database using the SUPI or SUCI from the PDU session establishment request message.

16. The system of claim 15 wherein the SEPP roaming security controller is configured to, in response to failing to locate a record corresponding to the SUPI or SUCI from the PDU session establishment request message in the SEPP security database, reject the PDU session establishment request message.

17. The system of claim 15 wherein the SEPP roaming security controller is configured to, in response to locating a record corresponding to the SUPI or SUCI from the PDU session establishment request message in the SEPP security database and determining that a PLMN ID or an access type in the record does not match the PLMN ID or the access type in the PDU session establishment request message, reject the PDU session establishment request message.

18. The system of claim 17 wherein the SEPP roaming security controller is configured to reject the PDU session establishment request message by discarding the PDU session establishment request message and sending a PDU session establishment error response.

19. The system of claim 15 wherein the SEPP roaming security controller is configured to, in response to locating a record corresponding to the SUPI or SUCI from the PDU session establishment request message in the SEPP security database, determining that a PLMN ID and an access type in the record matches the PLMN ID and the access type in the PDU session establishment request message, allow the PDU session establishment request message, wherein allowing the PDU session establishment request message includes forwarding the PDU session establishment request message from the SEPP to a home session management function (hSMF).

20. A non-transitory computer readable medium having stored thereon executable instructions that when executed by a processor of a computer control the computer to perform steps comprising:

receiving, at a security edge protection proxy (SEPP), user equipment (UE) registration messages for outbound roaming subscribers;

creating, in a SEPP security database, UE roaming registration records derived from UE registration messages;

receiving, at the SEPP, a packet data unit (PDU) session establishment request message;

performing, using at least one parameter value extracted from the PDU session establishment request message, a lookup in the SEPP security database for a UE roaming registration record; and

determining, by the SEPP and based on results of the lookup, whether to allow or reject the PDU session establishment request message.

Описание

TECHNICAL FIELD

[0001]

The subject matter described herein relates to mitigating 5G roaming security attacks. More particularly, the subject matter described herein relates to methods, systems, and computer readable media for mitigating 5G roaming security attacks using an SEPP.

BACKGROUND

[0002]

In 5G telecommunications networks, the network node that provides service is referred to as a producer network function (NF). A network node that consumes services is referred to as a consumer NF. A network function can be both a producer NF and a consumer NF depending on whether it is consuming or providing service.

[0003]

A given producer NF may have many service endpoints, where a service endpoint is a combination of Internet protocol (IP) address and port number on a network node that hosts a producer NF. Producer NFs register with a network function repository function (NRF). The NRF maintains an NF profile of available NF instances and their supported services. Consumer NFs can subscribe to receive information about producer NF instances that have registered with the NRF.

[0004]

In addition to consumer NFs, another type of network node that can subscribe to receive information about NF service instances is a service communications proxy (SCP). The SCP subscribes with the NRF and obtains reachability and service profile information regarding producer NF service instances. Consumer NFs connect to the service communications proxy, and the service communications proxy load balances traffic among producer NF service instances that provide the required service or directly routes the traffic to the destination producer NF.

[0005]

In addition to the SCP, other examples of intermediate proxy nodes or groups of network nodes that route traffic between producer and consumer NFs include the security edge protection proxy (SEPP), the service gateway, and nodes in the 5G service mesh. The SEPP is the network node used to protect control plane traffic that is exchanged between different 5G public land mobile networks (PLMNs). As such, the SEPP performs message filtering, policing and topology hiding for all application programming interface (API) messages.

[0006]

The service gateway is a node that sits in front of a group of producer NFs that provide a given service. The service gateway may load balance incoming service requests among the producer NF that provide the service in a manner similar to the SCP.

[0007]

The service mesh is a name for a group of intermediate proxy nodes that enable communications between producer and consumer NFs. The service mesh may include one or more SCPs, SEPPs, and service gateways.

[0008]

One problem with the existing Third Generation Partnership Project (3GPP) service architecture is that modes in the 5G network are subject to denial of service (DoS) attacks for messaging concerning outbound roaming subscribers. An outbound roaming subscriber is a subscriber of an operator's network that is roaming in a visited network. Normal messaging for legitimate outbound roaming subscribers involves authentication, signaling for authenticating the subscriber, followed by registration signaling for registering the subscriber to operate in the visited network. When the subscriber attempts to establish a packet data unit (PDU) session, PDU session establishment signaling is routed to the user data management (UDM) function in the home network for authorization.

[0009]

One problem with this architecture it is that the home network does not authenticate PDU session establishment request before forwarding the request to the user data management function and the home network. An attacker can repeatedly send fake PDU session establishment requests and overwhelm the UDM in the home network.

[0010]

Accordingly, in light of these difficulties there exists a need for methods, systems, and computer readable media for mitigating 5G roaming security attacks using an SEPP.

SUMMARY

[0011]

A method for mitigating a 5G roaming attack using a security edge protection proxy (SEPP), includes receiving, at an SEPP, user equipment (UE) registration messages for outbound roaming subscribers. The method further includes creating, in a SEPP security database, UE roaming registration records derived from UE registration messages. The method further includes receiving, at the SEPP, a packet data unit (PDU) session establishment request message. The method further includes performing, using at least one parameter value extracted from the PDU session establishment request message, a lookup in the SEPP security database for a UE roaming registration record. The method further includes determining, by the SEPP and based on results of the lookup, whether to allow or reject the PDU session establishment request message.

[0012]

According to another aspect of the subject matter described herein, receiving the UE registration messages for the outbound roaming subscribers includes receiving Nudm_UECM_Registration messages from access management functions (AMFs) and session management functions (SMFs) serving the outbound roaming subscribers.

[0013]

According to yet another aspect of the subject matter described herein, creating records in the SEPP security database includes creating records that each include a subscription permanent identifier (SUPI) or subscription concealed identifier (SUCI), serving public land mobile network (PLMN) ID, and access type.

[0014]

According to yet another aspect of the subject matter described herein, receiving a PDU session establishment request message includes receiving a PDU session establishment request message including a SUPI or SUCI, an PLMN ID, and an access type.

[0015]

According to yet another aspect of the subject matter described herein, performing the lookup in the SEPP security database include performing the lookup using the SUPI or SUCI from the PDU session establishment request message.

[0016]

According to yet another aspect of the subject matter described herein, the method for mitigating 5G roaming security attacks for outbound mobile subscribers includes failing to locate a record corresponding to the SUPI or SUCI from the PDU session establishment request message in the SEPP security database, where determining whether to allow or reject the PDU session establishment request message includes determining to reject the PDU session establishment request message, and further comprising rejecting the PDU session establishment request message.

[0017]

According to yet another aspect of the subject matter described herein, the method for mitigating 5G roaming security attacks for outbound mobile subscribers includes locating a record corresponding to the SUPI or SUCI from the PDU session establishment request message in the SEPP security database, determining that a PLMN ID or an access type in the record does not match the PLMN ID or the access type in the PDU session establishment request message, where determining whether to allow or reject the PDU session establishment request message includes determining to reject the PDU session establishment request message, and the method for mitigating 5G roaming securing attacks further includes rejecting the PDU session establishment request message.

[0018]

According to yet another aspect of the subject matter described herein, rejecting the PDU session establishment request message includes discarding the PDU session establishment request message and sending a PDU session establishment error response.

[0019]

According to yet another aspect of the subject matter described herein, the method for mitigating 5G roaming security attacks for outbound mobile subscribers includes locating a record corresponding to the SUPI or SUCI from the PDU session establishment request message in the SEPP security database, determining that a PLMN ID and an access type in the record matches the PLMN ID and the access type in the PDU session establishment request message, where determining whether to allow or reject the PDU session establishment request message includes determining to allow the PDU session establishment request message, and the method for mitigating 5G roaming security attacks further includes allowing the PDU session establishment request message.

[0020]

According to yet another aspect of the subject matter described herein, the method for mitigating 5G roaming security attacks for outbound mobile subscribers includes allowing the PDU session establishment request message by forwarding the PDU session establishment request message from the SEPP to a home session management function (hSMF).

[0021]

According to another aspect of the subject matter described herein, a system for mitigating a 5G roaming attack includes a security edge protection proxy (SEPP) including at least one processor and a memory. The system further includes an SEPP security database implemented in the memory. The system further includes an SEPP roaming security controller implemented by the at least one processor for receiving user equipment (UE) registration messages for outbound roaming subscribers, creating, in the SEPP security database, UE roaming registration records derived from UE registration messages, receiving a packet data unit (PDU) session establishment request, performing, using at least one parameter value extracted from the PDU session establishment request message, a lookup in the SEPP security database for a UE roaming registration record, and determining, by the SEPP and based on results of the lookup, whether to allow or reject the PDU session establishment request message.

[0022]

According to yet another aspect of the subject matter described herein, the SEPP roaming security controller is configured to receive Nudm_UECM_Registration messages from access management functions (AMFs) and session management functions (SMFs) serving the outbound roaming subscribers.

[0023]

According to yet another aspect of the subject matter described herein, the SEPP roaming security controller is configured to create the records in the SEPP security database where each includes a subscription permanent identifier (SUPI) or subscription concealed identifier (SUCI), serving public land mobile network (PLMN) ID, and access type.

[0024]

According to yet another aspect of the subject matter described herein, the PDU session establishment request message includes a SUPI or SUCI, an PLMN ID, and an access type.

[0025]

According to yet another aspect of the subject matter described herein, the SEPP roaming security controller is configured to perform the lookup in the SEPP security database using the SUPI or SUCI from the PDU session establishment request message.

[0026]

According to yet another aspect of the subject matter described herein, the SEPP roaming security controller is configured to, in response to failing to locate a record corresponding to the SUPI or SUCI from the PDU session establishment request message in the SEPP security database, reject the PDU session establishment request message.

[0027]

According to yet another aspect of the subject matter described herein, the SEPP roaming security controller is configured to, in response to locating a record corresponding to the SUPI or SUCI from the PDU session establishment request message in the SEPP security database and determining that a PLMN ID or an access type in the record does not match the PLMN ID or the access type in the PDU session establishment request message, reject the PDU session establishment request message.

[0028]

According to yet another aspect of the subject matter described herein, the SEPP roaming security controller is configured to reject the PDU session establishment request message by discarding the PDU session establishment request message and sending a PDU session establishment error response.

[0029]

According to yet another aspect of the subject matter described herein, the SEPP roaming security controller is configured to, in response to locating a record corresponding to the SUPI or SUCI from the PDU session establishment request message in the SEPP security database, determining that a PLMN ID and an access type in the record does match the PLMN ID and the access type in the PDU session establishment request message, allow the PDU session establishment request message, wherein allowing the PDU session establishment request message includes forwarding the PDU session establishment request message from the SEPP to a home session management function (SMF).

[0030]

According to yet another aspect of the subject matter described herein, a non-transitory computer readable medium having stored thereon executable instructions that when executed by a processor of a computer control the computer to perform steps is described. The steps include, receiving, at a security edge protection proxy (SEPP), user equipment (UE) registration messages for outbound roaming subscribers. The steps further include creating, in a SEPP security database, UE roaming registration records derived from UE registration messages. The steps further include receiving, at the SEPP, a packet data unit (PDU) session establishment request message. The steps further include performing, using at least one parameter value extracted from the PDU session establishment request, a lookup in the SEPP security database for a UE roaming registration record. The steps further include determining, by the SEPP and based on results of the lookup, whether to allow or reject the PDU session establishment request message.

[0031]

The subject matter described herein may be implemented in hardware, software, firmware, or any combination thereof. As such, the terms “function” “node” or “module” as used herein refer to hardware, which may also include software and/or firmware components, for implementing the feature being described. In one exemplary implementation, the subject matter described herein may be implemented using a computer readable medium having stored thereon computer executable instructions that when executed by the processor of a computer control the computer to perform steps. Exemplary computer readable media suitable for implementing the subject matter described herein include non-transitory computer-readable media, such as disk memory devices, chip memory devices, programmable logic devices, and application specific integrated circuits. In addition, a computer readable medium that implements the subject matter described herein may be located on a single device or computing platform or may be distributed across multiple devices or computing platforms.

BRIEF DESCRIPTION OF THE DRAWINGS

[0032]

The subject matter described herein will now be explained with reference to the accompanying drawings of which:

[0033]

FIG. 1 is a network diagram illustrating an exemplary 5G network architecture;

[0034]

FIG. 2 is a flow diagram illustrating UDM registration for an outbound roaming subscriber;

[0035]

FIG. 3 is a call flow diagram illustrating PDU session establishment for an outbound roaming subscriber;

[0036]

FIG. 4 is a call flow diagram illustrating a fake PDU session establishment request sent by a hacker for an outbound roaming subscriber;

[0037]

FIG. 5 is a call flow diagram illustrating UDM registration and the blocking of a fake PDU session establishment message using an SEPP;

[0038]

FIG. 6 is a block diagram illustrating an exemplary SEPP for mitigating 5G roaming security attacks; and

[0039]

FIG. 7 is a flow chart illustrating an exemplary process for mitigating 5G roaming security attacks using an SEPP.

DETAILED DESCRIPTION

[0040]

The subject matter described herein relates to methods, systems, and computer readable media for mitigating 5G roaming security attacks using an SEPP. FIG. 1 is a block diagram illustrating an exemplary 5G system network architecture. The architecture in FIG. 1 includes NRF 100 and SCP 101, which may be located in the same home public land mobile network (HPLMN). As described above, NRF 100 may maintain profiles of available producer NF service instances and their supported services and allow consumer NFs or SCPs to subscribe to and be notified of the registration of new/updated producer NF service instances. SCP 101 may also support service discovery and selection of producer NFs. In addition, SCP 101 may perform load balancing of connections between consumer and producer NFs.

[0041]

NRF 100 is a repository for NF profiles. In order to communicate with a producer NF, a consumer NF or an SCP must obtain the NF profile from NRF 100. The NF profile is a JavaScript object notation (JSON) data structure defined in 3GPP TS 29.510. The NF profile definition includes at least one of a fully qualified domain name (FQDN), an Internet protocol (IP) version 4 (IPv4) address or an IP version 6 (IPv6) address.

[0042]

In FIG. 1, any of the nodes (other than SCP 101 and NRF 100) can be either consumer NFs or producer NFs, depending on whether they are requesting or providing services. In the illustrated example, the nodes include a policy control function (PCF) 102 that performs policy related operations in a network, a user data management (UDM) function 104 that manages user data, and an application function (AF) 106 that provides application services. The nodes illustrated in FIG. 1 further include a session management function (SMF) 108 that manages sessions between access management function (AMF) 110 and PCF 102. AMF 110 performs mobility management operations similar to those performed by a mobility management entity (MME) in 4G networks. An authentication server function (AUSF) 112 performs authentication services for user equipment (UEs), such as UE 114, seeking access to the network.

[0043]

A network slice selection function (NSSF) 116 provides network slicing services for devices seeking to access specific network capabilities and characteristics associated with a network slice. A network exposure function (NEF) 118 provides application programming interfaces (APIs) for application functions seeking to obtain information about Internet of things (loT) devices and other UEs attached to the network. NEF 118 performs similar functions to the service capability exposure function (SCEF) in 4G networks.

[0044]

A radio access network (RAN) 120 connects UE 114 to the network via a wireless link. Radio access network 120 may be accessed using a g-Node B (gNB) (not shown in FIG. 1) or other wireless access point. A user plane function (UPF) 122 can support various proxy functionality for user plane services. One example of such proxy functionality is multipath transmission control protocol (MPTCP) proxy functionality. UPF 122 may also support performance measurement functionality, which may be used by UE 114 to obtain network performance measurements. Also illustrated in FIG. 1 is a data network (DN) 124 through which UEs access data network services, such as Internet services.

[0045]

SEPP 126 filters incoming traffic from another PLMN and performs topology hiding for traffic exiting the home PLMN. SEPP 126 may communicate with an SEPP in a foreign PLMN which manages security for the foreign PLMN. Thus, traffic between NFs in different PLMNs may traverse two SEPP functions, one for the home PLMN and the other for the foreign PLMN. As will be described in detail below, SEPP 126 may be used to mitigate 5G roaming security attacks for outbound roaming subscribers by performing an authorization lookup for incoming PDU session establishment requests for outbound roaming subscribers and for disallowing requests from entering the home network when the authorization lookup fails.

[0046]

The interface that SEPP 126 uses to connect with SEPPs in other networks is the N32-f interface. The N32-f interface that an attacker can exploit to send fake PDU session establishment requests. However, before illustrating a fake PDU session establishment request scenario, registration and authentication signaling that is transmitted over the N32-f interface will now be described. FIG. 2 is a call flow diagram illustrating UE registration signaling for an outbound roaming subscriber that is exchanged between a home SEPP and a visited SEPP over the N32-f interface. Referring to FIG. 2, home SEPP 126A sits at the edge of a subscriber's home network and receives signaling from a visited network for an outbound roaming subscriber. Home network also includes home AUSF 112A, home UDM 104A, and home PCF 102A. A visited network includes visited SEPP 126B, visited PCF 102B, and visited AMF 110.

[0047]

Referring to the signaling message flow in FIG. 2, in line 1, when a UE moves into an area served by visited AMF 110, visited AMF 110 sends an Nausf_UE_Authentication_Authenticate request message to the home AUSF 112A in the roaming subscriber's home network. The Nausf_UE_Authentication_Authenticate_Request message may contain either the subscription concealed identifier (SUCI) or the subscription permanent identifier (SUFI). The Nausf_UE_Authentication_Authenticate_Request message also includes the serving network name or VPLMN ID. The Nausf_UE_Authentication_Authenticate_Request message may also identify the access type, i.e., whether the access is 3GPP or non-3GPP. As will be described in further detail below, home SEPP 126A may use a combination of the SUPI, the serving network name or VPLMN ID, and the access type to authorize or not authorize PDU session establishment requests. However, such functionality is not specified as part of the SEPP functionality in 3GPP TS 33.501, which defines the security architecture for the 5G system.

[0048]

Visited SEPP 126B receives the Nausf_UE_Authentication_Authenticate_Request message and forwards the message to home SEPP 126A over the N32-f interface. Home SEPP 126A forwards the message to home AUSF 112A.

[0049]

Upon receiving the Nausf_UE_Authentication_Authenticate_Request message, home AUSF 112A determines whether the requesting AMF or security anchor function (SAF) in the serving network is entitled to using the serving network named in the Nausf_UE_Authentication_Authenticate_Request by comparing the serving network name with the expected serving network name. Home AUSF 112A stores the received serving network name temporarily. If the serving network is not authorized to use the serving network identified by the serving network name, home AUSF 112A will respond with certain “serving network not authorized” in an Nausf_UE_Authentication_Authenticate_Response message.

[0050]

In the illustrated example, it is assumed that the serving network name in the Nausf_UE_Authentication_Authenticate_Request matches the expected serving network name. Accordingly, home AUSF 112A sends an Nudm_UE_Authentication_Get_Request to home UDM 104A. The home Nudm_UE_Authentication_Get_Request message includes the SUCI or SUPI and the serving network name.

[0051]

Upon receipt of the Nudm_UE_Authentication_Get_Request message, home UDM 104A invokes a subscription identifier deconcealing function (SIDF) if the SUCI is included. The SIDF is used for deconcealing the SUPI from the SUCI. If the SUPI is included, home UDM 104A will choose the authentication method based on the subscription data. Home UDM 104A will respond with authentication challenge information in an Nudm_UE_Athentication_Get_Response message as indicated by line 5 of the message flow diagram.

[0052]

In line 6 of the message flow diagram, home AUSF 112A sends an Nausf_UE_Authentication_Authenticate_Response message with authentication challenge information through home SEPP 126A.

[0053]

In lines 7 and 8 of the message flow diagram, the authenticate response message is delivered to visited AMF 110. Visited AMF 110 may forward the authentication challenge information to the UE, which calculates an authentication response. In line 9 of the message flow diagram, visited AMF and home AUSF exchange additional authentication messages before the UE is authenticated.

[0054]

Once the UE is authenticated, visited AMF 110 can register as the subscriber serving AMF in home UDM 104A. The registration procedure begins in line 10 of the message flow diagram where visited AMF 110 sends a UECM_Registration_Request to home UDM 104A. In line 11, visited SEPP 126B sends the UECM_Registration_Request to home SEPP 126A. Home SEPP 126A may determine whether the UECM_Registration_Request is associated with a recent authentication from a visited network and, if not, discard the message. In this example, it is assumed that the UECM_Registration_Request is associated with a recent authentication. Accordingly, in line 12, home SEPP 126A forwards the UECM_Registration_Request to UDM 104A.

[0055]

Home UDM 104A receives the UECM_Registration_Request, updates the subscriber's subscription data to include the identity of the visited AMF, and returns subscription data in a UECM_Registration_Response message in line 14 of the message flow diagram. In lines 13 through 15, the UECM_Registration_Response message is delivered to visited AMF 110.

[0056]

FIG. 3 is a message flow diagram illustrating exemplary messages exchange for PDU session establishment for an outbound roaming subscriber. Referring to FIG. 3 in line 1, when a UE initiates establishment of a new PDU session by sending an non-access stratum (NAS) message containing a PDU session establishment request to visited AMF 110B, visited AMF 110B selects a visited SMF 108B and sends an Nsmf_PDU_Session_Create_SM_Context_Request message to visited SMF 108B.

[0057]

In line 2 of the message flow diagram, visited SMF 108B responds to the Nsmf_PDU_Session_Create_SM_Context_Request with an Nsmf_PDU_Session_Create_SM_Context_Response message to visited AMF 110B. In line 3 of the message flow diagram, visited SMF 108B signals with visited UPF 122B for N4 session establishment.

[0058]

In line 4 of the message flow diagram, visited SMF 108B sends a PDU session establishment request to visited SEPP 126B. The PDU session establishment request includes an SUPI and a network slice selection assistance information (NSSAI) parameter. In line 5, visited SEPP 126B sends the PDU session establishment request to home SEPP 126A over the N32-f interface. Home SEPP 126A does not perform authentication for the PDU session establishment request and, in line 6, forwards the PDU session establishment request to home SMF 108A. In line 7, home SMF 108A signals with home UDM 104A to obtain subscription data and the subscriber's registration information. Again, there is no security check to between home SMF 108A and home UDM 104A. Accordingly, an attacker could send the false PDU session establishment request and overwhelm the resources at home SMF 108A and home UDM 104A. In line 8 of the message flow diagram, home SMF 108A signals with home UPF 122A to configure the user plane function and N4 session. In line 9, home SMF 108A sends a PDU session establishment response to home SEPP 126A. In line 10, home SEPP 126A sends the PDU session establishment response to visited SEPP 126B over the N32-f interface. In line 11, visited SEPP 126B sends the PDU session establishment response to visited SMF 108B. In line 12, visited SMF and visited AMF 1108 signal to finalize establishment of the PDU session.

[0059]

As long as PDU session establishment is legitimate, resources in the home network are not wasted by processing the PDU session establishment request. However, there are scenarios where hackers can initiate denial of service attacks by spoofing inter-PLMN messages due to a compromise in an interconnect network or a remote PLMN network. Inter-PLMN traffic can go through multiple intermediate hops or IP exchange (IPX) providers. Some mobile network operators (MNOs) can even outsource SEPP functionality to IPX providers, leaving security gaps, which may result in attacks.

[0060]

As described above, hackers can initiate signaling storms of fake PDU session establishment requests for outbound roaming subscribers towards the home network SMF. The UDM does not perform any cross-verification of subscriber UE registration status (AMF registration for 3GPP access data) stored in the UDM, even though such data is received through earlier UECM registration messages from the AMF. The UDM always responds to the home SMF for SMF registration requests. As a result, both the SMF and the UDM in the home network can be overloaded due to signaling storms of fake PDU session creation requests and SMF registration requests generated by the SMF towards the UDM based on fake PDU session creation requests, leading to denial of service attacks for legitimate subscribers.

[0061]

FIG. 4 is a signaling message flow diagram illustrating fake PDU session establishment requests sent by a hacker for an outbound roaming subscriber. Referring to FIG. 4, in line 1, an attacker posing as an SMF, illustrated by fake SMF 108C, sends a PDU establishment request to home SEPP 126A. The PDU session establishment request includes the SUPI or SUCI, a serving PLMN ID, and an access type. These parameters may be fake or spoofed, since fake SMF 108C is not serving a real outbound roaming subscriber. Because there are no 3GPP defined security procedures for PDU session establishment requests, home SEPP 126A does not screen PDU session establishment requests to determine whether the request is fake by examining one or more of the parameter values present in the PDU session establishment request.

[0062]

In line 2, home SEPP 126A forwards the fake PDU session establishment request to home SMF 108A. In line 3, home SMF 108A signals with home UDM 104A to obtain SMF registration and subscription data. In line 4, home SMF 108A generates and sends a PDU session establishment response to home SEPP 126A. The resources of home SMF 108A and home UDM 104A are consumed by processing the fake PDU session establishment request. In line 5, home SEPP 126A sends the PDU session establishment response to fake SMF 108C.

[0063]

Fake SMF 108C may send a storm of PDU session establishment requests, such as that illustrated in FIG. 4, and will overwhelm home SMF 108A and home UDM 104A. No security check for the PDU session establishment request is performed based on prior registration data. To avoid these types of attacks, the subject matter described herein includes an SEPP that implements a stateful security countermeasure by correlating data extracted from UECM registration and PDU session creation messages for outbound roaming subscribers. The home network SEPP stores a record in a database upon receiving an Nudm_UECM_Registration_Request message from a visited network AMF during the UE registration process. In the record, the home SEPP may include the SUPI, the visited network PLMN ID, and the access type. When a PDU session establishment message is received, the home network SEPP may perform a lookup in the database based on the SUPI or SUCI. If no record is found or if there is a mismatch between the PLMN ID or access type, the SEPP will mark the PDU session creation request as an attack message and will reject or drop the message.

[0064]

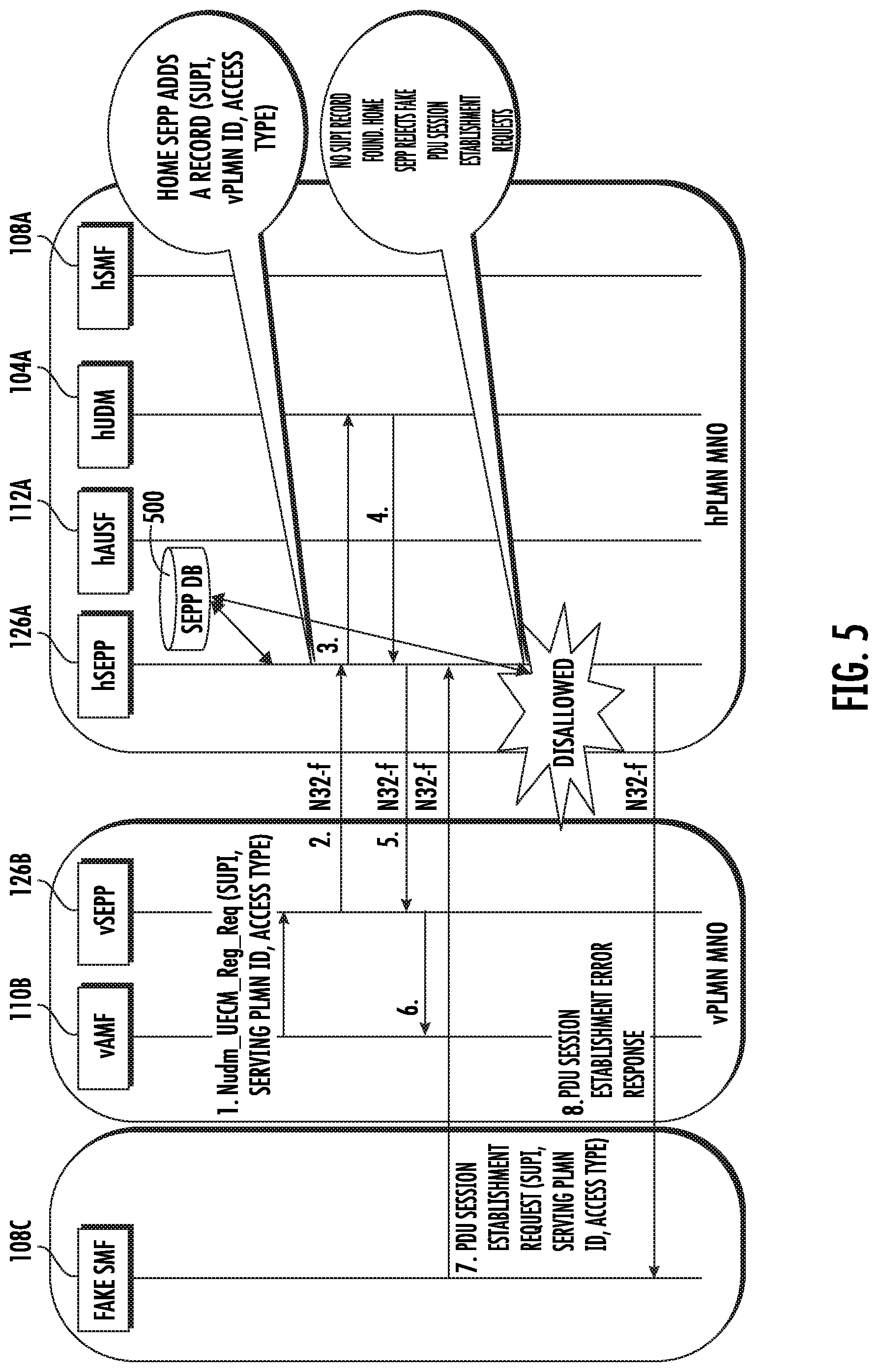
FIG. 5 is a message flow diagram illustrating home SEPP 126A blocking a fake PDU session establishment request from an attacker using prior UE registration data. Referring to FIG. 5, in line 1, when a real subscriber registers with visited AMF 1108, visited AMF 1108 sends an Nudm_UECM_Registration_Request message to the subscriber's home network via visited SEPP 126B. In line 2, visited SEPP 126B sends the Nudm_UECM_Registration_Request message to the home network via home SEPP 126A. Home SEPP 126A creates a record in an SEPP security database 500 including the SUPI, VPLMN ID, and access type extracted from Nudm_UECM_Registration_Request message. In line 3, home SEPP 126A forwards the Nudm_UECM_Registration_Request message to home UDM 104A. In lines 4 through 6, UDM 104A sends a Nudm_UECM_Registration_Response message to the visited AMF 1108.

[0065]

In line 7 of the message flow diagram, fake SMF 108C sends a fake PDU session establishment request to the home network. Home SEPP 126A receives the fake PDU session establishment request and performs a lookup in SEPP security database 500. If no SUPI record is found or if a record is found and the VPLMN ID or access type does not match the VPLMN ID and access type for an existing record for the same SUPI, home SEPP 126A disallows the PDU session establishment request, shielding home SMF 122A and home UDM 104A from unnecessary processing caused by the attack. In line 8, home SEPP 126A sends a PDU session establishment error message to fake SMF 108C. Thus, using a registration check, home SEPP 126A can reduce the effect of a signaling storm from a fake SMF by blocking fake PDU session establishment requests at the edge of the home network, shielding home SMF 122A and home UDM 104A from attack signaling traffic.

[0066]

FIG. 6 is a block diagram illustrating an exemplary home network SEPP for performing security checks for outbound roaming subscribers. Referring to FIG. 6, home SEPP 126A includes at least one processor 600 and memory 602. Home SEPP 126A further includes an SEPP roaming security controller 604 that may be implemented using computer executable instructions stored in memory 602 and executable by processor 600. Home SEPP 126A also includes SEPP security database 500, which stores records derived from registration messages for outbound roaming subscribers and used to block the fake PDU session establishment requests that may be part of a denial of service attack. SEPP roaming security controller 604 may receive registration messages relating to outbound roaming subscribers, extract registration information from the messages, and use the registration information to create outbound roaming UE registration records in SEPP security database 500. Such records may include the SUCI and/or the SUPI, VPLMN ID, and the access type. Table 1 shown below illustrates an example of a UE registration record that may be created in database 500.

[0000]

Outbound subscriber Roaming UE Registration Record
SUPI or SUCIVPLMN IDAccess Type
SUPI 1VPLMN ID xyz3GPP

[0067]

In Table 1, the outbound roaming subscriber registration record includes parameters that are usable to verify whether subsequent messages, such as PDU session establishment messages, are legitimate or not. In the illustrated example, these parameters include the SUPI or SUCI, the VPLMN ID, and the access type. It is understood that additional or alternate parameters derived from an Nudm_UECM_Registration_Request message may be used without departing from the scope of the subject matter described herein. An attacker seeking to overwhelm the resources of the home network may not have access to legitimate UE registration information. As a result, when home SEPP 126A performs a look up in database 500 and fails to locate a matching record, the PDU session establishment request for the fake subscriber will be blocked by the home SEPP and prevented from entering the home network.

[0068]

FIG. 7 is a flow chart illustrating an exemplary process for mitigating 5G roaming security attacks using an SEPP. Referring to FIG. 7, in step 700, the process includes receiving, at a home SEPP, UE registration messages for outbound roaming subscribers. For example, home SEPP 126A may receive Nudm_UE_Registration_Request messages for outbound roaming subscribers. The Nudm_UE_Registration_Request messages may include the SUPI or SUCI, the serving PLMN ID, and the access type. Nudm_UE_Registration_Request messages may originate from AMF located in networks where subscribers are roaming.

[0069]

In step 702, the process includes creating UE roaming registration records in SEPP security database 500 using information derived from the UE registration messages in the SEPP security database. For example, home SEPP 126A may create UE roaming registration records, such as the record illustrated above in Table 1, that contain the SUPI or SUCI, the VPLMN ID, and the access type obtained from Nudm_UE_Registration_Request messages.

[0070]

In step 704, the process includes receiving a PDU session establishment request. For example, home SEPP 126A may receive PDU session establishment request from a real SMF serving a legitimate outbound roaming subscriber or from an attacker posing as a real SMF.

[0071]

In step 706, the process includes performing, using one or more parameters from the PDU session establishment request, a lookup in the SEPP security database for a matching UE roaming registration record. For example, SEPP roaming security controller 604 may extract the SUPI or SUCI from the PDU session establishment request and perform a lookup in SEPP security database 500 using the SUPI or SUCI.

[0072]

In step 708, the process includes determining whether a record is found. For example, SEPP roaming security controller 604 may determine whether or not a record corresponding to the SUPI or SUCI exits in roaming security database 500.

[0073]

If no record is found, control proceeds to step 710 where the PDU session establishment request is rejected as fake. Rejecting the PDU session establishment request may occur at home SEPP 126A and may prevent fake PDU session establishment requests from affecting nodes, such as home UDM 104A and home SMF 122A in the home network. Rejecting fake PDU session establishment requests may include discarding the fake PDU session establishment requests and sending an error message to the sender.

[0074]

Returning to step 708, if a record corresponding to the SUPI or SUCI from the PDU session establishment request is found in SEPP security database 500, control proceeds to step 712 where it is determined whether the record includes matching UE registration information. For example, roaming security controller 604 of home SEPP 126A may locate a record corresponding to the SUPI or SUCI in the PDU session establishment request. If the remaining parameters in the PDU session establishment request match the corresponding parameters in the record, control proceeds to step 714 where the PDU session establishment request is allowed to enter the home network. In such a case, home SEPP 126A may forward the PDU session establishment request to home SMF 108A. Home SMF 108A may obtain the corresponding registration information from home UDM 104A. Home SMF 108A may respond to the PDU session establishment request by sending a message to home SEPP 126A indicating successful PDU session establishment. Home SEPP 126A may forward the PDU session establishment response to the visited network. In the visited network, the PDU session establishment response is forwarded to the AMF where the subscriber is currently registered.

[0075]

In step 712, if the parameters in the PDU session establishment request do not match the parameters in the corresponding record in database 500, control proceeds to step 710 where the PDU session establishment requested is rejected. The process in FIG. 7 may be performed continually to protect the home network against denial of service attacks while allowing PDU session establishment requests from legitimate outbound roaming subscribers.

[0076]

The proposed solution mitigates the DoS security attacks initiated through fake PDU session establishment requests using an SEPP. The solution reduces the likelihood of overloading of the home network SMF and UDM handling PDU session establishment and SMF registration messages. The solution avoids unnecessary subsequent signaling traffic at the SMF and UDM to free resources caused by fake PDU session establishment requests.

[0077]

The proposed solution allows MNOs to mitigate DoS attacks due to roaming PDU session creation signaling for outbound roaming subscribers and protect 5G core NFs (SMFs and UDMs) using a proposed security countermeasure at the SEPP by correlating UECM registration and PDU session creation signaling related to outbound roaming subscribers.

[0078]

The disclosure of each of the following references is hereby incorporated herein by reference in its entirety.

REFERENCES

[0000]

  • 3GPP TS 33.501, 3rdGeneration Partnership Project; Technical Specification Group Services and System Aspects; Security architecture and procedures for 5G system (Release 16) V16.2.0, (2020-03).
  • 3GPP TS 33.517, 3rdGeneration Partnership Project; Technical Specification Group Services and System Aspects; 5G Security Assurance Specification (SCAS) for the Security Edge Protection Proxy (SEPP) network product class (Release 16) V16.1.0 (2019-12).
  • 3GPP TS 23.502, Technical Specification Group Services and System Aspects; Procedures for the 5G System (5Gs), Stage 2, (Release 16) V16.4.0 (2020-03).

[0082]

It will be understood that various details of the presently disclosed subject matter may be changed without departing from the scope of the presently disclosed subject matter. Furthermore, the foregoing description is for the purpose of illustration only, and not for the purpose of limitation.

Как компенсировать расходы
на инновационную разработку
Похожие патенты