заявка
№ US 20210343829
МПК H01L49/02

DRAM INTERCONNECT STRUCTURE HAVING FERROELECTRIC CAPACITORS EXHIBITING NEGATIVE CAPACITANCE

Авторы:
John H. ZHANG
Правообладатель:
Номер заявки
17373586
Дата подачи заявки
12.07.2021
Опубликовано
04.11.2021
Страна
US
Как управлять
интеллектуальной собственностью
Чертежи 
10
Реферат

[0000]

An interconnect structure for use in coupling transistors in an integrated circuit is disclosed, including various configurations in which ferroelectric capacitors exhibiting negative capacitance are coupled in series with dielectric capacitors. In one embodiment, the negative capacitor includes a dielectric/ferroelectric bi-layer. When a negative capacitor is electrically coupled in series with a conventional dielectric capacitor, the series combination behaves like a stable ferroelectric capacitor for which the overall capacitance can be measured experimentally, and tuned to a desired value. The composite capacitance of a dielectric capacitor and a ferroelectric capacitor having negative capacitance coupled in series is, in theory, infinite, and in practice, very large. A series combination of positive and negative capacitors within a microelectronic interconnect structure can be used to make high capacity DRAM memory cells.

[00000]

Формула изобретения

1. A method, comprising:

forming a thin dielectric layer on a substrate;

forming openings in the thin dielectric layer;

forming an array of lower electrodes in the thin film dielectric layer by filling the openings in the thin dielectric layer with a conductive material;

planarizing the thin dielectric layer and array of lower electrodes;

forming a thick dielectric layer over the thin dielectric layer and the array of lower electrodes;

forming openings in the thick dielectric layer;

forming an array of middle electrodes in the thick dielectric layer by filling the openings in the thick dielectric layer with a first conductive material;

forming a ferroelectric layer over the thick dielectric layer and the array of middle electrodes, the ferroelectric layer having an upper surface opposite the array of middle electrodes;

forming openings in the upper surface of the ferroelectric layer; and

forming an array of upper electrodes in the upper surface of the ferroelectric layer by filling the openings in the upper surface of the ferroelectric layer with a second conductive material.

2. The method of claim 1, wherein the thin dielectric layer and thick dielectric layer are formed from the same material.

3. The method of claim 1, wherein the ferroelectric layer comprises a plurality of ferroelectric sub-layers.

4. The method of claim 1, further comprising forming a plurality of deep filled trenches extending from the upper surface of the ferroelectric layer to a lower surface of the thin dielectric layer, each of the plurality of deep filled trenches extending between adjacent lower electrodes, middle electrodes and upper electrodes.

5. The method of claim 1, further comprising depositing the ferroelectric layer in contact with the thick dielectric layer.

6. The method of claim 1, wherein forming the ferroelectric layer includes forming three ferroelectric sub-layers.

7. The method of claim 6, wherein the three ferroelectric sub-layers each include a different ferroelectric material.

8. The method of claim 7, wherein the ferroelectric layer includes one or more of BaTiO3, PbTiO3, and Pb(ZrxTiy)O3.

9. The structure of claim 8, wherein the ferroelectric layer includes SrTiO3.

10. The structure of claim 9, wherein the ferroelectric layer includes of SrRuO3.

11. The method of claim 1, wherein the thick dielectric material includes SiO2.

12. The method of claim 1, wherein the conductive material includes titanium or tantalum.

13. A method, comprising:

forming an array of lower electrodes on a substrate;

forming a thin dielectric layer on the array of lower electrodes, the thin dielectric layer having an upper surface;

forming a thick dielectric layer on the upper surface of the thin dielectric layer, the thick dielectric layer having an upper surface opposite the upper surface of the thin dielectric layer;

forming in the upper surface of the thick dielectric layer an array of middle electrodes;

forming a ferroelectric layer on the upper surface of the thick dielectric layer and the array of middle electrodes, the ferroelectric layer having an upper surface opposite the upper surface of the thick dielectric layer; and

forming an array of upper electrodes in the upper surface of the ferroelectric layer.

14. The method of claim 13, wherein forming the arrays of lower, middle and upper electrodes comprise forming the arrays of lower, middle and upper electrodes through respective damascene processes.

15. The method of claim 13, further comprising:

forming deep trenches extending from the upper surface of the ferroelectric layer to lower surfaces of the array of lower electrodes; and

filling the deep trenches with a metal material.

16. A method, comprising:

forming, over a semiconductor substrate, a capacitive structure including a ferroelectric capacitor having a negative capacitance and a dielectric capacitor coupled in series with the ferroelectric capacitor and having a positive capacitance, forming the capacitive structure including:

forming a first parallel conducting plate over the substrate;

forming a second parallel conducting plate over the first parallel conducting plate;

forming a third parallel conducting plate over the second parallel conducting plate;

forming a ferroelectric layer between the first and third parallel conducting plates providing the negative capacitance;

forming an ultra-low-k dielectric layer between the second and third parallel conducting plates providing the positive capacitance of the ferroelectric and dielectric capacitors between the first and third electrodes.

17. The method of claim 16, wherein forming the ferroelectric layer includes forming a plurality of ferroelectric sub-layers.

18. The method of claim 17, wherein the ferroelectric sub-layers each include a different ferroelectric material.

19. The method of claim 16, wherein the ferroelectric layer includes PZT.

20. The method of claim 16, further comprising forming the ferroelectric layer in contact with the ultra-low-k dielectric layer.

Описание

BACKGROUND

Technical Field

[0001]

The present disclosure generally relates to high speed integrated circuits, and in particular, to the use of ferroelectric capacitors to improve performance of DRAM memory cells.

Description of the Related Art

[0002]

Transistor devices are coupled together by multi-layer metal interconnect structures to form integrated circuits (ICs) such as logic devices, or processors, and random access memory arrays such as static RAM (SRAM), dynamic RAM (DRAM), and flash memory. As the dimensions of integrated circuit elements continue to shrink below 20 nm, integration of new materials within the interconnect structures becomes more challenging. Materials used to form the interconnect structure at the 20 nm technology node include various metals and ultra-low-k (ULK) dielectrics that provide insulation between stacked metal layers, and between adjacent metal lines. To achieve fast device operation, it is important that vertical capacitances between the metal layers and horizontal capacitances between the metal lines are minimized. While it is desirable to reduce the vertical capacitances as much as possible by using ULK dielectrics, such materials tend to be porous and lack structural integrity, as is described in U.S. patent application Ser. Nos. 14/098,286 and 14/098,346 to the same inventor as the inventor of this patent application. While device speeds benefit from small capacitances, DRAMs and other high speed, high density memories under development require larger capacitances for increased storage capacity, and low power operation. Thus a conflict arises, for memory ICs in particular, between the need for higher speed and larger storage capacity.

[0003]

As is well known in the art, conventional dielectric capacitors include two conducting plates separated by a dielectric material such as, for example, silicon dioxide (SiO2). When a voltage is applied across the plates, dipole moments within the dielectric material align to produce an internal polarization P that opposes the electric field E associated with the applied voltage, thus allowing positive charge to remain on one metal plate and negative charge to remain on the other conducting plate, as stored charge. The amount of charge stored on the plates is proportional to the applied voltage, according to the linear relationship Q=CV. The constant of proportionality, C, is known as capacitance, which is a positive value. A conventional capacitor has a fixed capacitance that is independent of the circuit in which it is used. Furthermore, the relationship between the polarization P and the applied electric field E is also linear.

[0004]

There also exist ferroelectric capacitors in which a ferroelectric material is substituted for the dielectric material between the conducting plates. Behavior of ferroelectric capacitors for use in nanoscale devices is described by Salahuddin and Datta (Nano Letters, Vol. 8, No. 2, pp. 405-410). At certain temperatures, ferroelectric materials exhibit spontaneous polarization P that can be reversed by applying an electric field. Materials that have ferroelectric properties at, or close to, room temperature include, for example, barium titanate (BaTiO3), lead titanate (PbTiO3), and lead zirconate titanate (PZT). In analogy with ferromagnetic materials, the relationship between the polarization P and the applied electric field E of a ferroelectric capacitor exhibits hysteresis and is therefore non-linear. Furthermore, there can be a region of the associated hysteresis curve in which the slope dP/dE is negative and the capacitor is unstable. Normally, the induced polarization opposes the applied electric field. However, during an intermittent time interval during which the slope of the hysteresis curve is negative, the induced polarization enhances the applied field, thus creating positive feedback.

[0005]

Because the ferroelectric material is already polarized before a voltage is even applied, the charge stored in the ferroelectric capacitor is not zero when V=0. Instead, the relationship between the stored charge and the capacitance is given by

[0000]


Q=Co(V+αQ).  (1)

[0000]

In Equation (1) αQ is a feedback voltage that is proportional to the charge Q on the capacitor, wherein α is a constant of proportionality. The effective capacitance Ceff that satisfies the relationship Q=CeffV is then given by Ceff=Co/(1−αCo), which theoretically can be a negative number when αCo>1. Negative values of Ceff are associated with the unstable region of the hysteresis curve and are unlikely to be observed experimentally.

BRIEF SUMMARY

[0006]

When a ferroelectric capacitor having a negative effective capacitance is electrically coupled in series with a conventional dielectric capacitor, the series combination behaves like a stable ferroelectric capacitor. In other words, the series configuration has a stabilizing effect on the negative capacitor, such that the overall capacitance can be measured experimentally, and tuned to a desired value. It is well known that connecting two identical conventional dielectric capacitors in series lowers the overall capacitance by half:

[0000]


Ctot=[1/C1+1/C1]−1=C1/2.  (2)

[0007]

Thus, by forming positive capacitors in series within a transistor interconnect structure, the need for reduced interconnect capacitance is satisfied. Applying equation (2) to determine the overall, or composite, capacitance of a dielectric capacitor C1 and a ferroelectric capacitor—C1 coupled in series yields

[0000]


Ctot=[1/C1+1/(−C1)]−1=0−1=∞.  (3)

[0008]

While an infinite capacitance is not realistic, equation (3) predicts a very large value for a series combination of positive and negative capacitors. Thus, by forming positive and negative capacitors in series within the interconnect structure, high capacity DRAM memory cells are also provided.

[0009]

Based on these predictions, an interconnect structure for use in coupling transistors in an integrated circuit is presented herein, including various configurations in which ferroelectric capacitors exhibiting negative capacitance are coupled in series with dielectric capacitors. In one embodiment, the ferroelectric capacitors include a dielectric/ferroelectric bi-layer.

BRIEF DESCRIPTION OF THE SEVERAL VIEWS OF THE DRAWINGS

[0010]

In the drawings, identical reference numbers identify similar elements. The sizes and relative positions of elements in the drawings are not necessarily drawn to scale.

[0011]

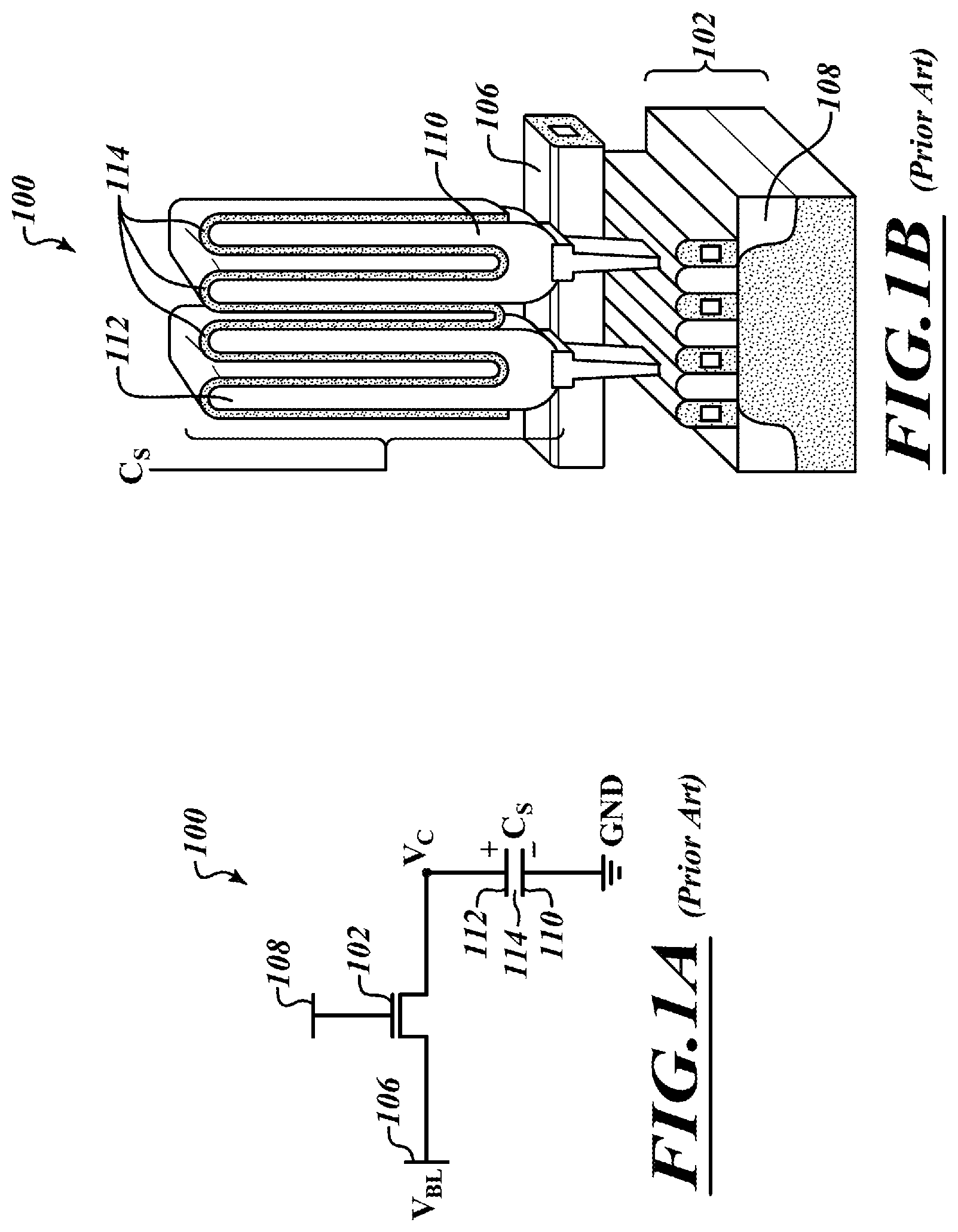
FIG. 1A is a circuit schematic of a conventional dynamic random access memory (DRAM) cell, according to the prior art.

[0012]

FIG. 1B is a cross-sectional view of a conventional DRAM cell shown in FIG. 1A, according to the prior art.

[0013]

FIG. 2A is a pictorial perspective view of a prior art dielectric/ferroelectric bi-layer.

[0014]

FIG. 2B is a circuit schematic of the dielectric/ferroelectric bi-layer shown in FIG. 2A.

[0015]

FIG. 2C is a plot of polarization as a function of applied electric field for a prior art ferroelectric capacitor exhibiting negative capacitance.

[0016]

FIG. 3A is a plot of capacitance for a single layer prior art PZT ferroelectric capacitor, in response to an applied current pulse.

[0017]

FIG. 3B is a plot of capacitance for a prior art series combination of a ferroelectric capacitor and a dielectric capacitor, in response to an applied current pulse.

[0018]

FIG. 3C is a family of plots of inverse capacitance as a function of dielectric thickness showing positive capacitance for a prior art dielectric capacitor and negative capacitance for a prior art ferroelectric capacitor.

[0019]

FIG. 4 is a pictorial view of a pair of ferroelectric DRAM cells according to the prior art.

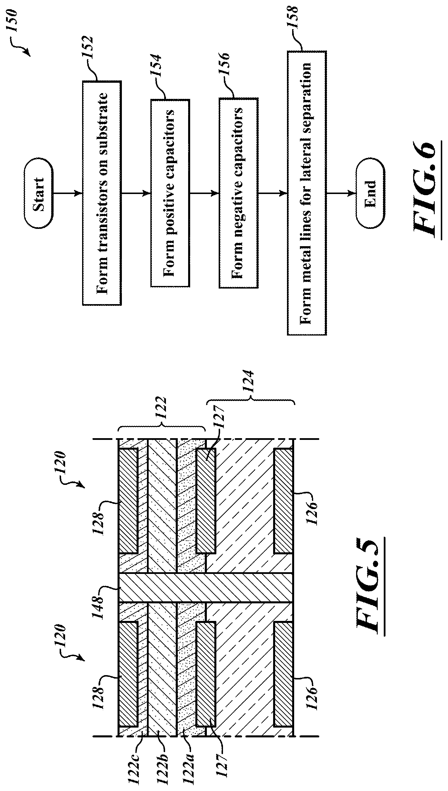
[0020]

FIG. 5 is a cross-sectional view of a pair of capacitive structures for use in integrated circuit ferroelectric DRAM cells, according to one embodiment described herein.

[0021]

FIG. 6 is a flow diagram showing generalized steps in a method of fabricating an array of ferroelectric capacitive cells, as described herein.

[0022]

FIG. 7 is a cross-sectional view of a positive capacitor array, according to one embodiment described herein.

[0023]

FIG. 8 is a cross-sectional view of a negative capacitor array, according to one embodiment described herein.

[0024]

FIG. 9 is a cross-sectional view of a completed array of ferroelectric capacitive cells, according to a first embodiment described herein.

[0025]

FIG. 10 is a cross-sectional view of a completed array of ferroelectric capacitive cells, according to a second embodiment described herein.

[0026]

FIG. 11 is a cross-sectional view of a completed array of ferroelectric capacitive cells, according to a third embodiment described herein.

DETAILED DESCRIPTION

[0027]

In the following description, certain specific details are set forth in order to provide a thorough understanding of various aspects of the disclosed subject matter. However, the disclosed subject matter may be practiced without these specific details. In some instances, well-known structures and methods of semiconductor processing comprising embodiments of the subject matter disclosed herein have not been described in detail to avoid obscuring the descriptions of other aspects of the present disclosure.

[0028]

Unless the context requires otherwise, throughout the specification and claims that follow, the word “comprise” and variations thereof, such as “comprises” and “comprising” are to be construed in an open, inclusive sense, that is, as “including, but not limited to.”

[0029]

Reference throughout the specification to “one embodiment” or “an embodiment” means that a particular feature, structure, or characteristic described in connection with the embodiment is included in at least one embodiment. Thus, the appearance of the phrases “in one embodiment” or “in an embodiment” in various places throughout the specification are not necessarily all referring to the same aspect. Furthermore, the particular features, structures, or characteristics may be combined in any suitable manner in one or more aspects of the present disclosure.

[0030]

Reference throughout the specification to integrated circuits is generally intended to include integrated circuit components built on semiconducting substrates, whether or not the components are coupled together into a circuit or able to be interconnected. Throughout the specification, the term “layer” is used in its broadest sense to include a thin film, a cap, or the like and one layer may be composed of multiple sub-layers.

[0031]

Reference throughout the specification to conventional thin film deposition techniques for depositing silicon nitride, silicon dioxide, metals, or similar materials include such processes as chemical vapor deposition (CVD), low-pressure chemical vapor deposition (LPCVD), metal organic chemical vapor deposition (MOCVD), plasma-enhanced chemical vapor deposition (PECVD), plasma vapor deposition (PVD), atomic layer deposition (ALD), molecular beam epitaxy (MBE), electroplating, electro-less plating, and the like. Specific embodiments are described herein with reference to examples of such processes. However, the present disclosure and the reference to certain deposition techniques should not be limited to those described. For example, in some circumstances, a description that references CVD may alternatively be done using PVD, or a description that specifies electroplating may alternatively be accomplished using electro-less plating. Furthermore, reference to conventional techniques of thin film formation may include growing a film in-situ. For example, in some embodiments, controlled growth of an oxide to a desired thickness can be achieved by exposing a silicon surface to oxygen gas or to moisture in a heated chamber.

[0032]

Reference throughout the specification to conventional photolithography techniques, known in the art of semiconductor fabrication for patterning various thin films, includes a spin-expose-develop process sequence typically followed by an etch process. Alternatively or additionally, photoresist can also be used to pattern a hard mask (e.g., a silicon nitride hard mask), which, in turn, can be used to pattern an underlying film.

[0033]

Reference throughout the specification to conventional etching techniques known in the art of semiconductor fabrication for selective removal of polysilicon, silicon nitride, silicon dioxide, metals, photoresist, polyimide, or similar materials includes such processes as wet chemical etching, reactive ion (plasma) etching (RIE), washing, wet cleaning, pre-cleaning, spray cleaning, chemical-mechanical planarization (CMP) and the like. Specific embodiments are described herein with reference to examples of such processes. However, the present disclosure and the reference to certain deposition techniques should not be limited to those described. In some instances, two such techniques may be interchangeable. For example, stripping photoresist may entail immersing a sample in a wet chemical bath or, alternatively, spraying wet chemicals directly onto the sample.

[0034]

Specific embodiments are described herein with reference to ferroelectric capacitors that have been produced; however, the present disclosure and the reference to certain materials, dimensions, and the details and ordering of processing steps are exemplary and should not be limited to those shown.

[0035]

FIG. 1A shows a conventional dynamic random access memory (DRAM) cell 100, which is well known in the art. The DRAM cell 100 includes a transistor 102 and a storage capacitor Cs. Multiple DRAM cells 100 are typically arranged in a two-dimensional memory array such that each DRAM cell can be addressed by specifying a bit line 106 (column) and a word line 108 (row) of the array. To read the DRAM cell 100, the bit line 106 can be brought to a voltage that is half of the voltage stored as a logic 1 on a capacitor. The transistor 102 is then turned on by energizing the word line 108, causing current to flow between the storage capacitor Cs and the bit line 106. If the storage capacitor contains a logic 1, the voltage Vc exceeds the bit line voltage VBL, and thus current flows from the storage capacitor to the bit line. If the storage capacitor Cs contains a logic 0, VC is less than the bit line voltage, so current flows from the bit line to the storage capacitor Cs. The voltage on the bit line is then sensed to determine whether it increased toward a logic 1 or decreased toward a logic zero in order to read the value stored on the capacitor. To write to the DRAM cell 100, the bit line 106 is used to charge the storage capacitor Cs to the desired value.

[0036]

FIG. 1B shows a cross section of the DRAM cell 100, in which the storage capacitor Cs is fabricated on a silicon substrate, on top of the transistor 102. Parts of the storage capacitor Cs, including the bottom electrode 110, top electrode 112, and dielectric 114, are clearly shown. In a DRAM, higher capacitance allows for greater storage capacity. High capacitance, C=κεA/d, corresponds to capacitor plates having a large surface area, A, and a small spacing, d. On the other hand, transistor switching speed for operating the memory increases as the dimensions get smaller. So, there is an inherent conflict between the need for higher speed, which is achieved with smaller dimensions, and the need for larger storage capacity, which is achieved with larger size capacitors. One way to compensate for this, according to the prior art, is to have the capacitors extend vertically above the transistor, as shown in FIG. 1B.

[0037]

FIG. 2A shows a molecular model of a ferroelectric capacitor 120 as envisioned by C. S. Hwang of Seoul National University in a presentation entitled “Semiconductor Memory Technology: It Is Time to Shift the Paradigm,” presented at the Spring, 2013 meeting of the Materials Research Society, held in San Francisco, Calif. The ferroelectric capacitor 120 includes a ferroelectric layer 122 and a dielectric layer 124, sandwiched between a metallic layer 126, which serves as a lower electrode, and an upper electrode 128. The ferroelectric layer 122 is made of Pb(Zr0.2 Ti0.8)O3, or “PZT”, and the dielectric layer 124 is made of SrTiO3. The ferroelectric layer 122 is shown as three molecules thick, while the metallic layer is shown as two molecules thick. Together the layers 122 and 124 form a ferroelectric bi-layer. A voltmeter 125 is shown coupled across the ferroelectric capacitor 120 to monitor the polarization response.

[0038]

FIG. 2B shows a circuit schematic 125 that corresponds to the ferroelectric capacitor 120. In the circuit schematic 125, the upper electrode 128 is coupled to a voltage source Vs and the metallic layer 126 is grounded. FIG. 2C shows a polarization curve 130 showing the electric polarization of the ferroelectric capacitor 120 in response to application of a voltage. The polarization curve 130 is part of a hysteresis curve that resembles a conventional ferromagnetic hysteresis curve in certain respects. As the electric field associated with the applied voltage increases, the electric polarization increases monotonically. At 131 and 133, the slope of the polarization curve is positive, similar to a conventional ferromagnetic hysteresis curve. Unlike a conventional ferromagnetic hysteresis curve, however, a portion of the polarization curve 130 shown within the dashed box 132 exhibits a negative slope 134 that corresponds to a negative capacitance. In accordance with the theory set forth by Salahuddin, the polarization curve 130 predicts that when such a ferroelectric capacitor 120 having negative capacitance is placed in series with a conventional capacitor, the capacitance of the series combination will be very large, despite the dimensions of the device being very small. By producing such a large capacitance, the series combination overcomes the scaling limitations that have traditionally posed a challenge to DRAM cell development.

[0039]

FIGS. 3A, 3B, 3C, and 4 are excerpted from Hwang. FIGS. 3A-3C show experimental data confirming that the theoretically predicted capacitance behavior is observed for the bi-layer ferroelectric capacitor 120. FIG. 3A shows a first series of plots 136 of capacitance as a function of time for a single layer of ferroelectric material, e.g., the layer 122 alone, for comparison with the bi-layer capacitor. The FE in this example is a 150-nm thick layer of PZT. The maximum capacitance 138 of the FE layer alone in response to a series of applied charging current pulses is about 30 nF.

[0040]

FIG. 3B shows a second series of plots 140 of capacitance as function of time for a ferroelectric bi-layer, e.g., layers 122 and 124 together, for comparison with the first series of plots 136 shown in FIG. 3A. The ferroelectric bi-layer in this example includes the 150-nm thick ferroelectric layer made of PZT, and a 4.5-nm thick dielectric layer made of SiO2. It is observed that, in response to a series of applied charging current pulses, the ferroelectric bi-layer exhibits a transient capacitance spike 142 to about 375 nF, ten times greater than the transient response shown in FIG. 3A that is observed for a single layer of 150-nm thick PZT without the SiO2 layer. The capacitance spike 142 thus confirms the behavior predicted by the polarization curve and Equation (3). While the capacitance spike is not infinite, it satisfies the prediction because the capacitance spike 142 is so large.

[0041]

FIG. 3C shows a plot of bi-layer capacitance as a function of the thickness of the SiO2 dielectric layer. For dielectric layer thicknesses less than 2.0 nm, the transient capacitance observed in response to an applied current pulse is negative. For thicknesses greater than 2.0 nm, e.g., the case shown in FIG. 3B, the capacitance observed in response to an applied current pulse is positive. Thus, the negative capacitance values shown within the circle 144 along the line corresponding to pulsed measurements 145 is limited to a range of dielectric thicknesses, as well as being a transient effect, i.e., limited to within a short time interval.

[0042]

FIG. 4 shows a cross-sectional view of an inventive ferroelectric DRAM cell 146 in which the conventional dielectric storage capacitor Cs has been replaced with a pair of bi-layer ferroelectric capacitors 120 on top of vertical transistors 102. Within the ferroelectric capacitor 120 are shown the ferroelectric layer 122, the dielectric layer 124, and electrodes 126, 128. The ferroelectric capacitor on the right-hand side is shown overlying a vertical transistor 102 in which a section is cut away, revealing interior layers of the transistor.

[0043]

DRAM structures that show details of the vertical transistor 102 are disclosed in U.S. Pat. Nos. 7,824,982 and 6,734,484. Portions of the ferroelectric capacitor 120 of the ferroelectric DRAM cell 146 are shown in FIG. 5 as an inventive integrated structure formed on a semiconductor substrate. FIGS. 6-10 below then describe the process of forming an integrated array of such DRAM cells 146.

[0044]

With reference to FIG. 5, completed ferroelectric capacitor portions of the ferroelectric DRAM cell 146 are shown, including the ferroelectric layer 122, the dielectric layer 124, and lower, middle, and upper electrodes 126, 127, and 128, respectively. The lower and middle electrodes, 126 and 127, provide circuit designers with electrical access to positive capacitors Cp between adjacent metal lines. Series combinations of such positive capacitors yield very small overall capacitances. Meanwhile, the lower and upper electrodes, 126 and 128, provide electrical access to the very large overall capacitance of the FE/dielectric series combination. A deep filled trench 148 provides lateral separation between the two capacitors 120.

[0045]

With reference to FIGS. 6-10, fabrication of one embodiment of an array of ferroelectric DRAM cells 146 according to an exemplary method 150 is shown and described. FIG. 6 shows a high level sequence of steps in the exemplary method 150. FIGS. 7-10 illustrate formation of the ferroelectric capacitor portions of the ferroelectric DRAM cells 146, step-by-step, following the exemplary method 150. In this embodiment, positive and negative capacitors Cp and Cn are incorporated into an interconnect structure so as to influence operating characteristics of the interconnect structure, for example, RC delays and the like.

[0046]

At 152, vertical transistors 102 are formed on a semiconductor substrate according to methods that are well known in the art, for example, as described in U.S. Pat. Nos. 7,824,982 and 6,734,484.

[0047]

At 154, an array of positive capacitors Cp is formed on the substrate, including bottom electrodes 126, the dielectric layer 124, and middle electrodes 127.

[0048]

At 156, an array of negative capacitors Cn is formed on the substrate, including the ferroelectric layer 122 and upper electrodes 128. In the embodiment shown and described, the ferroelectric layer 122 is a ferroelectric film stack that includes three sub-layers, 122a, 122b, and 122c, each sub-layer made of a different ferroelectric material.

[0049]

At 158, the deep filled trenches 148 are formed as separators between adjacent pairs of capacitors.

[0050]

FIG. 7 shows the formation of a positive capacitor Cp at 154, according to one embodiment. The positive capacitor Cp includes the bottom electrodes 126, the middle electrodes 127, and the dielectric layer 124. First, a thin layer of dielectric material is formed on the substrate using a standard deposition process such as CVD, PVD, or the like. The thin dielectric layer is preferably about 10 nm thick but could be up to about 60 nm thick. The thin dielectric layer is made of silicon dioxide (SiO2), for example, or any ultra-low-k dielectric material having a dielectric constant within the range of about 1.5-3.0.

[0051]

Following deposition, an array of bottom electrodes 126 is formed in the thin layer of dielectric material using a damascene process. The thin layer of dielectric material is patterned using a photoresist mask or a hard mask, and openings are etched in a conventional way. The width of the openings is desirably within the range of 1-20 nm. The openings are then filled with an interconnect metal, for example, a metal liner made of titanium (Ti), or titanium nitride (TiN), or tantalum nitride (TaN) followed by a bulk metal such as tungsten (W), copper (Cu), or aluminum (Al). If the bulk metal is copper, then the metal liner used may be TaN, for example. If the bulk metal is not copper, the metal liner used may be Ti or TiN, as other examples. The interconnect metal is then polished back to the level of the dielectric layer using a CMP process, thereby creating a structure having a substantially planar surface.

[0052]

A thick layer of dielectric material is then deposited over the array of bottom electrodes. The thickness of the thick dielectric layer is desirably within the range of about 20-40 nm. The dielectric layer 124 includes the thick layer and the original thin layer of dielectric material. The two layers within the dielectric layer 124 are desirably made of the same material. However, this is not required. For example, the thin layer may be made of a silicon dioxide material while the thick layer is made of silicon nitride.

[0053]

An array of middle electrodes 127 is then formed in the dielectric layer 124, again using a damascene process similar to that used to form the array of bottom electrodes described above. The array of middle electrodes 127 is similar to the array of bottom electrodes 126, again presenting a substantially planar surface to the next layer that will be formed on top of the inlaid middle electrodes.

[0054]

FIG. 8 shows the formation of the negative capacitor Cn at 156, according to one embodiment. The negative capacitor Cn includes the upper electrodes 128 and the ferroelectric film stack sub-layers 122a, 122b, and 122c, and shares the middle electrodes 127 with the positive capacitor Cp. First, a first layer of ferroelectric material 122a is formed on the substrate. In one embodiment, the first layer of ferroelectric material 122a is 1-20 nm of strontium ruthanate, also known as SRO (SrRuO3). Next, a second layer of ferroelectric material 122b is formed on the substrate. In one embodiment, the second layer of ferroelectric material 122b is 1-20 nm of strontium titanate (SrTiO3). Next, a third layer of ferroelectric material 122c is formed on the substrate. In one embodiment, the third layer of ferroelectric material 122c is 1-20 nm of lead zirconate titanate, also known as PZT ((Pb(Zr0.2 Ti0.3)O3). Alternatively, the third layer of ferroelectric material 122c can include BaTiO3 or PbTiO3. Deposition methods for ferroelectric materials are currently under development and many are available in the market today. More will be developed in the future. Any such methods that are appropriate and effective can be used to deposit any of the ferroelectric materials described herein, for the purposes of forming the ferroelectric layer 122. Such methods include, but are not limited to, CVD, PVD, sputtering deposition, electrophoretic deposition (EPD), and chemical solution deposition (CSD). An embodiment may also include barrier layers at least partially surrounding the ferroelectric materials, and/or intervening between a given ferroelectric material and another material, to prevent shorts forming through adjacent dielectric materials, and to sufficiently contain the ferroelectric materials.

[0055]

An array of upper electrodes 128 is formed in the third layer of ferroelectric material 122c, again using a damascene process similar to that used to form the arrays of bottom and middle electrodes 126 and 127, respectively, as described above. The size and materials of the array of upper electrodes 128 are similar to those of the arrays of bottom and middle electrodes 126.

[0056]

FIG. 9 shows the formation, at 158, of the array of the deep filled trenches 148, according to one embodiment. Deep trenches are etched through all of the layers, down to the substrate, using, for example, a high power anisotropic etch process which is well known in the art as being suitable for etching vias. The dimensions of the trenches will determine, in part, the inter-trench capacitance and trench resistance. The trenches are then filled, first with two conformal liners, and then with bulk metal. The first trench liner is an insulator such as, for example, silicon carbide (SiC). The second trench liner and the bulk metal are the standard metal liner and bulk metals which are also used in forming the metal electrodes 126, 127, and 128. The trench fill materials are then polished back to be coplanar with the third layer of ferroelectric material 122c.

[0057]

FIG. 10 shows a second, alternative embodiment of the completed array of capacitors, in which the ferroelectric layer 122 is formed first, and the dielectric layer 124 is formed on top of the ferroelectric layer 122.

[0058]

FIG. 11 shows a third, alternative embodiment of the completed array of capacitors, which excludes the metal electrodes 126, 127, and 128. The array shown in FIG. 11 serves as a high density, high performance metal interconnect structure, with negligible RC delays. Structural compensation for the lack of electrodes can be made by using a ULK dielectric 124 that has a high dielectric constant, about 4.0. Such a ULK dielectric 124 provides enhanced structural stability during formation of the array, especially prior to completion of the deep filled trenches 148. Total capacitance between adjacent metal lines (i.e., the deep filled trenches 148) used as interconnects can be tuned to approximately zero by designing Cn and Cp to have substantially equal capacitance values, Cn=−Cp, so they cancel out one another.

[0059]

The various embodiments described above can be combined to provide further embodiments. All of the U.S. patents, U.S. patent application publications, U.S. patent applications, foreign patents, foreign patent applications and non-patent publications referred to in this specification and/or listed in the Application Data Sheet are incorporated herein by reference, in their entirety. Aspects of the embodiments can be modified, if necessary to employ concepts of the various patents, applications and publications to provide yet further embodiments.

[0060]

It will be appreciated that, although specific embodiments of the present disclosure are described herein for purposes of illustration, various modifications may be made without departing from the spirit and scope of the present disclosure. Accordingly, the present disclosure is not limited except as by the appended claims.

[0061]

These and other changes can be made to the embodiments in light of the above-detailed description. In general, in the following claims, the terms used should not be construed to limit the claims to the specific embodiments disclosed in the specification and the claims, but should be construed to include all possible embodiments along with the full scope of equivalents to which such claims are entitled. Accordingly, the claims are not limited by the disclosure.

Как компенсировать расходы
на инновационную разработку
Похожие патенты