заявка
№ US 20210123709
МПК F42B5/307

Multi-Piece Polymer Ammunition Cartridge

Авторы:
Lonnie Burrow Christopher William Overton BURROW LONNIE
Все (6)
Правообладатель:
Номер заявки
17122193
Дата подачи заявки
15.12.2020
Опубликовано
29.04.2021
Страна
US
Дата приоритета
15.12.2025
Номер приоритета
Страна приоритета
Как управлять
интеллектуальной собственностью
Чертежи 
11
Реферат

The present invention provides a molded polymer ammunition, ammunition cartridge, ammunition case, and ammunition mid-case, that is overmolded over a primer insert and into a flash aperture of the primer insert fitted to a polymer nose to be used to make polymer ammunition.

Формула изобретения

1. A polymeric ammunition cartridge comprising:

a substantially cylindrical insert comprising

a top surface opposite a bottom surface and a substantially cylindrical coupling element that extends from the bottom surface,

a primer recess in the top surface that extends toward the bottom surface,

a primer flash hole positioned in the primer recess to extend through the bottom surface, and

a flange that extends circumferentially about an outer edge of the top surface; and

a substantially cylindrical polymeric middle body comprising

a substantially cylindrical polymeric bullet-end and

a substantially cylindrical polymeric coupling end connected by a powder chamber, wherein the substantially cylindrical polymeric coupling end extends over the substantially cylindrical coupling element and covers an circumferential surface of the primer flash hole.

2. The polymeric ammunition cartridge of claim 1, wherein the substantially cylindrical polymeric middle body is formed from a ductile polymer.

3. The polymeric ammunition cartridge of claim 1, wherein the substantially cylindrical polymeric middle body comprise a nylon polymer.

4. The polymeric ammunition cartridge of claim 1, wherein the substantially cylindrical polymeric middle body is formed from a fiber-reinforced polymeric composite.

5. The polymeric ammunition cartridge of claim 4, wherein the fiber-reinforced polymeric composite contains between about 10 and about 70 wt % glass fiber fillers, mineral fillers, or mixtures thereof.

6. The polymeric ammunition cartridge of claim 1, wherein the substantially cylindrical polymeric bullet-end and bullet are further welded or bonded together.

7. The polymeric ammunition cartridge of claim 1, wherein the substantially cylindrical polymeric bullet-end comprises a forward opening end having a first and a second mechanical interlock for engagement between the forward opening end and a bullet.

8. The polymeric ammunition cartridge of claim 1, wherein the forward opening end comprises one or more cannelures formed on an outer circumferential surface of the forward opening end.

9. The polymeric ammunition cartridge of claim 1, wherein the forward opening end comprises one, two, three, or more annular rings that mate with one, two, three, or more corresponding annular grooves positioned on the bullet.

10. The polymeric ammunition cartridge of claim 1, wherein the forward opening end is crimped so that a polymeric material flows into an annular groove of a bullet.

11. The polymeric ammunition cartridge of claim 1, wherein a bullet is adhesively fitted to the forward opening end.

12. The polymeric ammunition cartridge of claim 1, wherein the substantially cylindrical polymeric middle body comprise a polymers selected from the group consisting of polyurethane prepolymer, cellulose, fluoro-polymer, ethylene inter-polymer alloy elastomer, ethylene vinyl acetate, nylon, polyether imide, polyester elastomer, polyester sulfone, polyphenyl amide, polypropylene, polyvinylidene fluoride or thermoset polyurea elastomer, acrylics, homopolymers, acetates, copolymers, acrylonitrile-butadinen-styrene, thermoplastic fluoro polymers, inomers, polyamides, polyamide-imides, polyacrylates, polyatherketones, polyaryl-sulfones, polybenzimidazoles, polycarbonates, polybutylene, terephthalates, polyether imides, polyether sulfones, thermoplastic polyimides, thermoplastic polyurethanes, polyphenylene sulfides, polyethylene, polypropylene, polysulfones, polyvinylchlorides, styrene acrylonitriles, polystyrenes, polyphenylene, ether blends, styrene maleic anhydrides, polycarbonates, allyls, aminos, cyanates, epoxies, phenolics, unsaturated polyesters, bismaleimides, polyurethanes, silicones, vinylesters, urethane hybrids, polyphenylsulfones, copolymers of polyphenylsulfones with polyethersulfones or polysulfones, copolymers of poly-phenylsulfones with siloxanes, blends of polyphenylsulfones with polysiloxanes, poly(etherimide-siloxane) copolymers, blends of polyetherimides and polysiloxanes, and blends of polyetherimides and poly(etherimide-siloxane) copolymers.

13. The polymeric ammunition cartridge of claim 1, wherein the forward opening end comprises a neck with a plurality of internal structures for supporting a bullet.

14. The polymeric ammunition cartridge of claim 1, wherein the substantially cylindrical coupling element is a male coupling element with a straight skirt interlock surface that tapers to a smaller diameter at the forward portion on the skirt tip to mate with a female coupling element of the substantially cylindrical polymeric coupling end.

15. The polymeric ammunition cartridge of claim 1, further comprising a diffuser positioned in the primer recess comprising a diffuser flash hole aligned with the primer flash hole.

Описание

CROSS-REFERENCE TO RELATED APPLICATIONS

[0001]

This application is a Continuation Application of U.S. patent application Ser. No. 15/808,859 filed Nov. 9, 2017, which incorporates the contents of each by reference in their entirety U.S. patent application Ser. No. 14/011,202 filed on Aug. 27, 2013 (now U.S. Pat. No. 9,546,849) which is a Divisional Application of U.S. patent application Ser. No. 13/292,843 filed on Nov. 9, 2011 (now U.S. Pat. No. 8,561,543) which claims the benefit of U.S. Provisional Patent Application Ser. No. 61/456,664, filed Nov. 10, 2010.

TECHNICAL FIELD OF THE INVENTION

[0002]

The present invention relates in general to the field of ammunition, specifically to compositions of matter and methods of making and using polymeric ammunition cartridge casings having at least 2 portions.

STATEMENT OF FEDERALLY FUNDED RESEARCH

[0003]

None.

INCORPORATION-BY-REFERENCE OF MATERIALS FILED ON COMPACT DISC

[0004]

None.

BACKGROUND OF THE INVENTION

[0005]

Without limiting the scope of the invention, its background is described in connection with lightweight polymer cartridge casing ammunition. Conventional ammunition cartridge casings for rifles and machine guns, as well as larger caliber weapons, are made from brass, which is heavy, expensive, and potentially hazardous. There exists a need for an affordable lighter weight replacement for brass ammunition cartridge cases that can increase mission performance and operational capabilities. Lightweight polymer cartridge casing ammunition must meet the reliability and performance standards of existing fielded ammunition and be interchangeable with brass cartridge casing ammunition in existing weaponry. Reliable cartridge casings manufacture requires uniformity (e.g., bullet seating, bullet-to-casing fit, casing strength, etc.) from one cartridge to the next in order to obtain consistent pressures within the casing during firing prior to bullet and casing separation to create uniformed ballistic performance. Plastic cartridge casings have been known for many years but have failed to provide satisfactory ammunition that could be produced in commercial quantities with sufficient safety, ballistic, handling characteristics, and survive physical and natural conditions to which it will be exposed during the ammunition's intended life cycle; however, these characteristics have not been achieved.

[0006]

Shortcomings of the known methods of producing plastic or substantially plastic ammunition include the possibility of the projectile being pushed into the cartridge casing, the bullet being held too light such that the bullet can fall out, the bullet being held insufficient to create sufficient chamber pressure, the bullet pull not being uniform from round to round, and the cartridge not being able to maintain the necessary pressure, portions of the cartridge casing breaking off upon firing causing the weapon to jam or damage or danger when subsequent rounds are fired or when the casing portions themselves become projectiles. To overcome the above shortcomings, improvements in cartridge case design and performance polymer materials are needed.

BRIEF SUMMARY OF THE INVENTION

[0007]

The present invention provided polymer ammunition cases (cartridges) injection molded over a primer insert and methods of making thereof. The present invention provided polymer ammunition noses that mate to the polymer ammunition cases to be loaded to make polymer ammunition and methods of making thereof.

BRIEF DESCRIPTION OF THE SEVERAL VIEWS OF THE DRAWINGS

[0008]

For a more complete understanding of the features and advantages of the present invention, reference is now made to the detailed description of the invention along with the accompanying figures and in which:

[0009]

FIG. 1 depicts a side, cross-sectional view of a polymeric cartridge case according to one embodiment of the present invention;

[0010]

FIG. 2 depicts a side, cross-sectional view of a portion of the polymeric cartridge case according to one embodiment of the present invention;

[0011]

FIG. 3 depicts a side, cross-sectional view of a polymeric cartridge case having a diffuser according to one embodiment of the present invention;

[0012]

FIG. 4 depicts a partial view of a 2 piece polymer case having a nose and a mid-case connected at a joint.

[0013]

FIG. 5 depicts a partial view of a 2 piece polymer case having a nose and a mid-case connected at a joint.

[0014]

FIGS. 6-14 depict a partial view of a 2 piece polymer case having a nose and a mid-case connected at a joint.

DETAILED DESCRIPTION OF THE INVENTION

[0015]

While the making and using of various embodiments of the present invention are discussed in detail below, it should be appreciated that the present invention provides many applicable inventive concepts that can be embodied in a wide variety of specific contexts. The specific embodiments discussed herein are merely illustrative of specific ways to make and use the invention and do not delimit the scope of the invention.

[0016]

To facilitate the understanding of this invention, a number of terms are defined below. Terms defined herein have meanings as commonly understood by a person of ordinary skill in the areas relevant to the present invention. Terms such as “a”, “an” and “the” are not intended to refer to only a singular entity, but include the general class of which a specific example may be used for illustration. The terminology herein is used to describe specific embodiments of the invention, but their usage does not delimit the invention, except as outlined in the claims.

[0017]

Reliable cartridge manufacture requires uniformity from one cartridge to the next in order to obtain consistent ballistic performance. Among other considerations, proper bullet seating and bullet-to-casing fit is required. In this manner, a desired pressure develops within the casing during firing prior to bullet and casing separation. Historically, bullets employ a cannelure, which is a slight annular depression formed in a surface of the bullet at a location determined to be the optimal seating depth for the bullet. In this manner, a visual inspection of a cartridge could determine whether or not the bullet is seated at the proper depth. Once the bullet is inserted into the casing to the proper depth, one of two standard procedures is incorporated to lock the bullet in its proper location. One method is the crimping of the entire end of the casing into the cannelure. A second method does not crimp the casing end; rather the bullet is pressure fitted into the casing.

[0018]

The polymeric ammunition cartridges of the present invention are of a caliber typically carried by soldiers in combat for use in their combat weapons. The present invention is not limited to the described caliber and is believed to be applicable to other calibers as well. This includes various small and medium caliber munitions, including 5.56 mm, 7.62 mm and .50 caliber ammunition cartridges, as well as medium/small caliber ammunition such as 380 caliber, 38 caliber, 9 mm, 10 mm, 20 mm, 25 mm, 30 mm, 40 mm, 45 caliber and the like. The cartridges, therefore, are of a caliber between about 0.05 and about 5 inches. Thus, the present invention is also applicable to the sporting goods industry for use by hunters and target shooters.

[0019]

FIG. 1 depicts a side, cross-sectional view of a polymeric cartridge case according to one embodiment of the present invention. A cartridge 10 suitable for use with high velocity rifles is shown manufactured with a polymer casing 12 showing a powder chamber 14 with projectile (not shown) inserted into the forward end opening 16. Polymer casing 12 has a substantially cylindrical open-ended polymeric bullet-end 18 extending from forward end opening 16 rearward to opposite end 20. The bullet-end component 18 may be formed with coupling end 22 formed on end 20. Coupling end 22 is shown as a female element, but may also be configured as a male element in alternate embodiments of the invention. The forward end of bullet-end component 18 has a shoulder 24 forming chamber neck 26. The bullet-end component typically has a wall thickness between about 0.003 and about 0.200 inches and more preferably between about 0.005 and more preferably between about 0.150 inches about 0.010 and about 0.050 inches.

[0020]

The middle body component 28 is connected to a substantially cylindrical coupling element 30 of the substantially cylindrical insert 32. Coupling element 30, as shown may be configured as a male element, however, all combinations of male and female configurations is acceptable for coupling elements 30 and coupling end 22 in alternate embodiments of the invention. Coupling end 22 of bullet-end component 18 fits about and engages coupling element 30 of a substantially cylindrical insert 32. The substantially cylindrical insert 32 includes a substantially cylindrical coupling element 30 extending from a bottom surface 34 that is opposite a top surface 36. Located in the top surface 36 is a primer recess 38 that extends toward the bottom surface 34. A primer flash hole 40 is located in the primer flash hole 40 and extends through the bottom surface 34 into the powder chamber 14. The coupling end 22 extends the polymer through the primer flash hole 40 to form an aperture coating 42 while retaining a passage from the top surface 36 through the bottom surface 34 and into the powder chamber 14 to provide support and protection about the primer flash hole 40. When contacted the coupling end 22 interlocks with the substantially cylindrical coupling element 30, through the coupling element 30 that extends with a taper to a smaller diameter at the tip 44 to form a physical interlock between substantially cylindrical insert 32 and middle body component 28. Polymer casing 12 also has a substantially cylindrical open-ended middle body component 28. The middle body component extends from a forward end opening 16 to coupling element 22. The middle body component typically has a wall thickness between about 0.003 and about 0.200 inches and more preferably between about 0.005 and more preferably between about 0.150 inches about 0.010 and about 0.050 inches.

[0021]

The bullet-end 16, middle body 18 and bottom surface 34 define the interior of powder chamber 14 in which the powder charge (not shown) is contained. The interior volume of powder chamber 14 may be varied to provide the volume necessary for complete filling of the chamber 14 by the propellant chosen so that a simplified volumetric measure of propellant can be utilized when loading the cartridge. Either a particulate or consolidated propellant can be used.

[0022]

The substantially cylindrical insert 32 also has a flange 46 cut therein and a primer recess 38 formed therein for ease of insertion of the primer (not shown). The primer recess 38 is sized so as to receive the primer (not shown) in an interference fit during assembly. A primer flash hole 40 communicates through the bottom surface 34 of substantially cylindrical insert 32 into the powder chamber 14 so that upon detonation of primer (not shown) the powder in powder chamber 14 will be ignited.

[0023]

Projectile (not shown) is held in place within chamber case neck 26 at forward opening 16 by an interference fit. Mechanical crimping of the forward opening 16 can also be applied to increase the bullet pull force. The bullet (not shown) may be inserted into place following the completion of the filling of powder chamber 14. Projectile (not shown) can also be injection molded directly onto the forward opening 16 prior to welding or bonding together using solvent, adhesive, spin-welding, vibration-welding, ultrasonic-welding or laser-welding techniques. The welding or bonding increases the joint strength so the casing can be extracted from the hot gun casing after firing at the cook-off temperature.

[0024]

The bullet-end and bullet components can then be welded or bonded together using solvent, adhesive, spin-welding, vibration-welding, ultrasonic-welding or laser-welding techniques. The welding or bonding increases the joint strength so the casing can be extracted from the hot gun casing after firing at the cook-off temperature. An optional first and second annular grooves (cannelures) may be provided in the bullet-end in the interlock surface of the male coupling element to provide a snap-fit between the two components. The cannelures formed in a surface of the bullet at a location determined to be the optimal seating depth for the bullet. Once the bullet is inserted into the casing to the proper depth to lock the bullet in its proper location. One method is the crimping of the entire end of the casing into the cannelures.

[0025]

The bullet-end and middle body components can then be welded or bonded together using solvent, adhesive, spin-welding, vibration-welding, ultrasonic-welding or laser-welding techniques. The welding or bonding increases the joint strength so the casing can be extracted from the hot gun casing after firing at the cook-off temperature.

[0026]

FIG. 2 depicts a side, cross-sectional view of a portion of the polymeric cartridge case according to one embodiment of the present invention. A portion of a cartridge suitable for use with high velocity rifles is shown manufactured with a polymer casing 12 showing a powder chamber 14. Polymer casing 12 has a substantially cylindrical opposite end 20. The bullet-end component 18 may be formed with coupling end 22 formed on end 20. Coupling end 22 is shown as a female element, but may also be configured as a male element in alternate embodiments of the invention. The middle body component (not shown) is connected to a substantially cylindrical coupling element 30 of the substantially cylindrical insert 32. Coupling element 30, as shown may be configured as a male element, however, all combinations of male and female configurations is acceptable for coupling elements 30 and coupling end 22 in alternate embodiments of the invention. Coupling end 22 fits about and engages coupling element 30 of a substantially cylindrical insert 32. The substantially cylindrical insert 32 includes a substantially cylindrical coupling element 30 extending from a bottom surface 34 that is opposite a top surface 36. Located in the top surface 36 is a primer recess 38 that extends toward the bottom surface 34. A primer flash hole 40 is located in the primer recess 28 and extends through the bottom surface 34 into the powder chamber 14. The coupling end 22 extends the polymer through the primer flash hole 40 to form an aperture coating 42 while retaining a passage from the top surface 36 through the bottom surface 34 and into the powder chamber 14 to provide support and protection about the primer flash hole 40. When contacted the coupling end 22 interlocks with the substantially cylindrical coupling element 30, through the coupling element 30 that extends with a taper to a smaller diameter at the tip 44 to form a physical interlock between substantially cylindrical insert 32 and middle body component 28. Polymer casing 12 also has a substantially cylindrical open-ended middle body component 28.

[0027]

FIG. 3 depicts a side, cross-sectional view of a polymeric cartridge case having a diffuser according to one embodiment of the present invention. The diffuser 50 is a device that is used to divert the affects of the primer off of the polymer and directing it to the flash hole. The affects being the impact from igniting the primer as far as pressure and heat. A cartridge 10 suitable for use with high velocity rifles is shown manufactured with a polymer casing 12 showing a powder chamber 14 with projectile (not shown) inserted into the forward end opening 16. Polymer casing 12 has a substantially cylindrical open-ended polymeric bullet-end 18 extending from forward end opening 16 rearward to the opposite end 20. The bullet-end component 18 may be formed with coupling end 22 formed on end 20. Coupling end 22 is shown as a female element, but may also be configured as a male element in alternate embodiments of the invention. The forward end of bullet-end component 18 has a shoulder 24 forming chamber neck 26.

[0028]

The middle body component 28 is connected to a substantially cylindrical coupling element 30 of the substantially cylindrical insert 32. Coupling element 30, as shown may be configured as a male element, however, all combinations of male and female configurations is acceptable for coupling elements 30 and coupling end 22 in alternate embodiments of the invention. Coupling end 22 of bullet-end component 18 fits about and engages coupling element 30 of a substantially cylindrical insert 32. The substantially cylindrical insert 32 includes a substantially cylindrical coupling element 30 extending from a bottom surface 34 that is opposite a top surface 36. Located in the top surface 36 is a primer recess 38 that extends toward the bottom surface 34. A primer flash hole 40 is located in the primer flash hole 40 and extends through the bottom surface 34 into the powder chamber 14. The coupling end 22 extends the polymer through the primer flash hole 40 to form an aperture coating 42 while retaining a passage from the top surface 36 through the bottom surface 34 and into the powder chamber 14 to provides support and protection about the primer flash hole 40. When contacted the coupling end 22 interlocks with the substantially cylindrical coupling element 30, through the coupling element 30 that extends with a taper to a smaller diameter at the tip 44 to form a physical interlock between substantially cylindrical insert 32 and middle body component 28. Polymer casing 12 also has a substantially cylindrical open-ended middle body component 28. The middle body component extends from a forward end opening 16 to coupling element 22. Located in the top surface 36 is a primer recess 38 that extends toward the bottom surface 34 with a diffuser 50 positioned in the primer recess 38. The diffuser 50 includes a diffuser aperture 52 that aligns with the primer flash hole 40. The diffuser 50 is a device that is used to divert the affects of the primer (not shown) off of the polymer. The affects being the impact from igniting the primer as far as pressure and heat to divert the energy of the primer off of the polymer and directing it to the flash hole.

[0029]

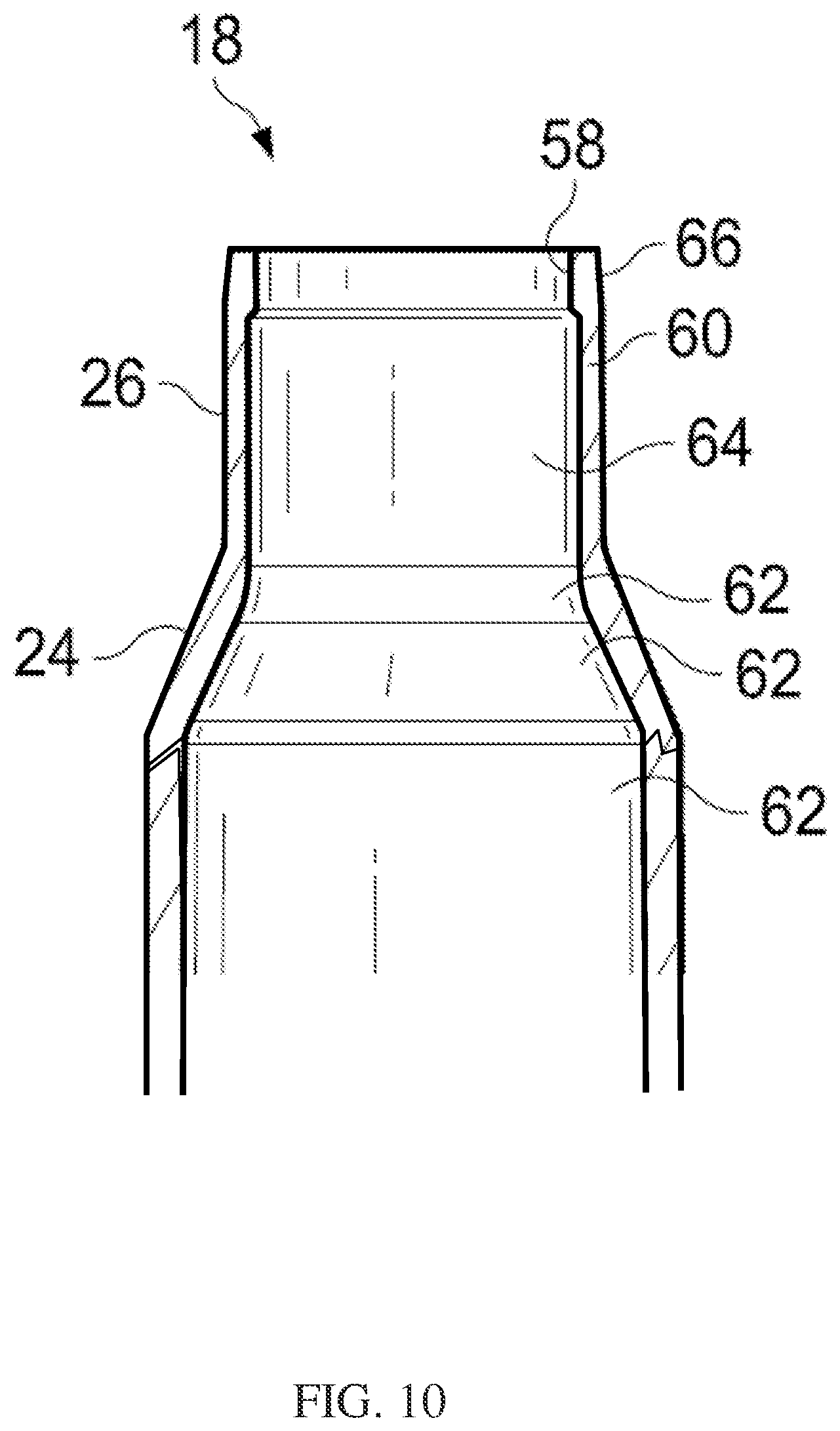
FIG. 4 depicts a partial view of a 2 piece polymer case having a nose and a mid-case connected at a joint. The substantially cylindrical open-ended polymeric bullet-end 18 having a shoulder 24a forming chamber neck 26a and a bullet (not shown). One embodiment includes modifications to strengthen the neck of the mouth 58 and to the internal area 62 to reduce nose tearing and lodging in the chamber. The substantially cylindrical open-ended polymeric bullet-end 18 can include a lock (e.g., 0.030×0.003) and added a step to allow for the lock to flex out during firing. Polymer was added to the external area to strengthen the neck of the mouth 58 and to the internal area 62. The interference of the bullet to the neck 26a was increased by adding polymer to the inside of the neck 26a and the exit lock modified by adding an angle to the rim 66. The substantially cylindrical open-ended polymeric bullet-end 18 includes an external shoulder 24a and an external neck 26a that are a fixed dimension as requires by the chamber (not shown) in which they fit. As a result, the shoulder length extending from the external neck 26a to the external side wall 29a is of a fixed length. Similarly, the external shoulder plane angle 27a to the external neck 26a or alternatively to the external side wall 29a is fixed relative to the chamber. Similarly, the substantially cylindrical open-ended polymeric bullet-end 18 includes an internal shoulder 24b and an internal neck 26b that are not fixed dimension and may be varied as desired. As a result, the internal shoulder length 25a is determined by the distance from the internal shoulder top 25b that extends from the internal neck 26b to internal shoulder bottom 25c that extends from the internal side wall 29b. This internal shoulder length 25a may be varied as necessary to achieve the desired properties (e.g., pressure, velocity, temperature, etc.). The internal shoulder plane angle 27b is defined as the angle between the internal shoulder 24b, and the internal neck 26b or the angle between the internal shoulder 24b and the internal side wall 29b.

[0030]

The external shoulder 24a, the external neck 26a, and the external shoulder plane angle 27a have fixed values to mate them to the chamber. The relationship between the external shoulder 24a, an external neck 26a, and external shoulder plane angle 27a are caliber ammunition and weapons platform specific and have values. In contrast, the internal shoulder 24b, the internal neck 26b, and the internal shoulder plane angle 27b have no such constraints and can be varied to form the desired internal shoulder profile.

[0031]

For example, when the internal shoulder plane angle 27b is the same as the external shoulder plane angle 27a the external shoulder 24a and internal shoulder 24b are parallel. When the internal shoulder plane angle 27b is the same as the external shoulder plane angle 27a, the external shoulder 24a and internal shoulder 24b are parallel. When the internal shoulder plane angle 27b is the larger than the external shoulder plane angle 27a, internal shoulder 24b is longer than the external shoulder 24a such that the internal shoulder 24b transitions to the internal side wall 29b at a distance further away from the external shoulder 24a. Thus making a larger distance from the internal shoulder 24b to the external shoulder 24a as you move toward the shoulder bottom 25c. Conversely, when the internal shoulder plane angle 27b is the smaller than the external shoulder plane angle 27a, there is a larger distance from the internal shoulder 24b to the external shoulder 24a as you move up the shoulder toward internal shoulder 24b. As a result, the internal shoulder length 25a is determined by the distance from the internal shoulder top 25b that extends from the internal neck 26b to internal shoulder bottom 25c that extends from the internal side wall 29b. This internal shoulder length 25a may be varied as necessary to achieve the desired properties (e.g., pressure, velocity, temperature, etc.). The internal shoulder plane angle 27b is defined as the angle between the internal shoulder 24b, and the internal neck 26b or the angle between the internal shoulder 24b and the internal side wall 29b.

[0032]

FIG. 5 depicts a partial view of a 2 piece polymer case having a nose and a mid-case connected at a joint. FIG. 5 depicts a partial view of the substantially cylindrical open-ended polymeric bullet-end 18 having a shoulder 24a forming chamber neck 26a and a bullet aperture 58. The interference of the bullet (not shown) to the neck 26a can be increased by adding polymer to the inside of the neck 26a or making the neck from a more ridged polymer. The substantially cylindrical open-ended polymeric bullet-end 18 includes an external shoulder 24a and an external neck 26a that are of fixed dimension as requires by the chamber (not shown) in which they fit. As a result, the shoulder length extends from the external neck 26a to the external side wall 29a as a fixed length. Similarly, the external shoulder plane angle 27a relative to the external neck 26a (or alternatively to the external side wall 29a) is a fixed angle relative to the chamber. Similarly, the substantially cylindrical open-ended polymeric bullet-end 18 includes an internal shoulder 24b and an internal neck 26b that are not of fixed dimension but may be varied as desired. In some embodiments, the internal shoulder 24b may be connected to one or more transition segments 24c to form a transition from the internal shoulder 24b to the internal neck 26b or the internal side wall 29b. The one or more transition segments 24c may be straight, curved or a mix thereof. For example, the internal shoulder 24b is connected to one or more transition segments 24c (although 2, 3, 4, 5, 6, 7, 8, 9, 10, 11, 12, 13, 14, 15, 16, 17, 18, 19, 20, 21, 22, 23, 24, 25, 26, 27, 28, 29, 30, 31, 32, 33, 34, 35, 36, 37, 38, 39, 40, 41, 42, 43, 44, 45, 46, 47, 48, 49, 50 or more segments can be used). The internal shoulder 24b extends from the internal shoulder top 25b to the internal shoulder bottom 25c. The internal shoulder 24b has a shoulder plane angle 27b that is the same as the external shoulder plane angle 27a. Therefore the internal shoulder 24b is parallel to the shoulder 24a over the internal shoulder length. The one or more transition segments 24c have a transition plane angle 27c that is larger than the external shoulder plane angle 27a and the internal shoulder plane angle 27b. The one or more transition segments 24c extend from the internal shoulder bottom 25c to the transition bottom 25d; however, the transition plane angle 27c is not the same as the external shoulder plane angle 27a or the internal shoulder plane angle 27b. Although this example depicts an internal shoulder 24b and one or more transition segments 24c, 3, 4, 5, 6, 7, 8, 9, 10, 11, 12, 13, 14, 15, 16, 17, 18, 19, 20, 21, 22, 23, 24, 25, 26, 27, 28, 29, 30, 31, 32, 33, 34, 35, 36, 37, 38, 39, 40, 41, 42, 43, 44, 45, 46, 47, 48, 49, 50 or more internal shoulders and/or transition segments 24c can be used.

[0033]

Therefore the internal shoulder 24b is parallel to the external shoulder 24a over the internal shoulder length. The skilled artisan will readily understand that the transition plane angle 27c can be adjusted to move the transition bottom 25d up and down the interior side wall 29b. Similarly the number of transition segments 24c can be varied to adjust to move the transition bottom 25d up and down the interior side wall 29b. In addition, the transition segments 24c may be a plethora of short segments connected together to from an arc or radii. The number of transition segments 24c may be such that an almost smooth arc is formed or so few that an angular profile is formed. Similarly, the angle of each transition segments 24c relative to the adjacent transition segments may be similar or different as necessary.

[0034]

The external shoulder 24a, the external neck 26a, and the external shoulder plane angle 27a have fixed values to mate them to the chamber. The relationship between the external shoulder 24a, an external neck 26a, and external shoulder plane angle 27a are caliber ammunition and weapons platform specific and have values. In contrast, the internal shoulder 24b, the internal neck 26b, and the internal shoulder plane angle 27b have no such constraints and can be varied to form the desired internal shoulder profile.

[0035]

For example, when the internal shoulder plane angle 27b is the same as the external shoulder plane angle 27a the external shoulder 24a and internal shoulder 24b are parallel. When the internal shoulder plane angle 27b is the same as the external shoulder plane angle 27a, the external shoulder 24a and internal shoulder 24b are parallel. When the internal shoulder plane angle 27b is the larger than the external shoulder plane angle 27a, internal shoulder 24b is longer than the external shoulder 24a such that the internal shoulder 24b transitions to the internal side wall 29b at a distance further away from the external shoulder 24a. Thus making a larger distance from the internal shoulder 24b to the external shoulder 24a as you move toward the shoulder bottom 25c. Conversely, when the internal shoulder plane angle 27b is the smaller than the external shoulder plane angle 27a, there is a larger distance from the internal shoulder 24b to the external shoulder 24a as you move up the shoulder toward internal shoulder 24b.

[0036]

FIG. 6 depicts a partial view of a 2 piece polymer case having a nose and a mid-case connected at a joint. The joint may be located in the middle body component 28 or in the middle body-shoulder transition region 31a to 31b. Specifically, the joint 33a and 33b may be located anywhere within the middle body-shoulder transition region 31a to 3 lb. The mid-case-shoulder transition region 31a covers the neck 26 to shoulder transition area and extends to the shoulder-mid-case transition region. The mid-case-shoulder transition region 31b is located on the upper portion of the middle body component 28. The joint 31 may be of any configuration that allows the connection of the nose 18 and the middle body component 28. For example, the joint may be a butt joint, a bevel lap splice joint, a half lap joint, a lap joint, a square joint, a single bevel joint, double bevel joint, single J joint, double J joint, single v joint, double v joint, single U joint, double U joint, flange joint, tee joint, flare joint, edge joint, rabbit joint, dado and any other joint. In addition, the joint type may be modified to allow a gap at regions in the joint. For example, a dado joint may be formed where the fit is not square allowing gaps to form at the corner of the dado. Similarly, a compound joint may be used, e.g., rabbit joint transitioning to a butt joint transitioning to a bevel joint (modified to have a gap in the fit) transitioning to a butt joint and ending in a lap joint or rabbit joint. In addition the angle of the joint need not be at 90 and 180 degrees. The joint angle may be at any angle from 0-180 degrees and may vary along the joint. For instance the joint may start at a 0 degree move to a +45 degree angle transition to a −40 degree angle and conclude by tapering at a 10 degree angle. The Variation in the joint type, position, and internal shoulder length, internal shoulder angle, transition region angle, transition region length and other parameters are shown in FIGS. 6-14.

[0037]

The chamber neck 26 and the internal neck 26b are shown as generally parallel to each other; however, the chamber neck 26 and the internal neck 26b may be tapered such that at the mouth 58 the distance from the chamber neck 26 to the internal neck 26b is less than the distance from the chamber neck 26 to the internal neck 26b at the shoulder 24. In addition, the mouth 58 may include a groove (not shown) that extends around the internal neck 26b. The internal neck 26b may include a texturing; however, distance from the internal neck 26b to the chamber neck 26 may be accessed using the average distance from the top texture surface (not shown) to the bottom texture surface (not shown) of the texturing, the top texture surface (not shown) of the texturing or the bottom texture surface (not shown) of the texturing.

[0038]

The insert may be made by any method including MIM, cold forming, milling, machining, printing, 3D printing, etching and so forth.

[0039]

The polymeric and composite casing components may be injection molded including overmolding into the flash aperture. Polymeric materials for the bullet-end and middle body components must have propellant compatibility and resistance to gun cleaning solvents and grease, as well as resistance to chemical, biological and radiological agents. The polymeric materials must have a temperature resistance higher than the cook-off temperature of the propellant, typically about 320° F. The polymeric materials must have elongation-to-break values that to resist deformation under interior ballistic pressure as high as 60,000 psi in all environments (temperatures from about −65 to about 320° F. and humidity from 0 to 100% RH). According to one embodiment, the middle body component is either molded onto or snap-fit to the casing head-end component after which the bullet-end component is snap-fit or interference fit to the middle body component. The components may be formed from high-strength polymer, composite or ceramic.

[0040]

Examples of suitable high strength polymers include composite polymer material including a tungsten metal powder, nylon 6/6, nylon 6, and glass fibers; and a specific gravity in a range of 3-10. The tungsten metal powder may be 50%-96% of a weight of the bullet body. The polymer material also includes about 0.5-15%, preferably about 1-12%, and most preferably about 2-9% by weight, of nylon 6/6, about 0.5-15%, preferably about 1-12%, and most preferably about 2-9% by weight, of nylon 6, and about 0.5-15%, preferably about 1-12%, and most preferably about 2-9% by weight, of glass fibers. It is most suitable that each of these ingredients be included in amounts less than 10% by weight. The cartridge casing body may be made of a modified ZYTEL resin, available from E.I. DuPont De Nemours Co., a modified 612 nylon resin, modified to increase elastic response.

[0041]

Examples of suitable polymers include polyurethane prepolymer, cellulose, fluoro-polymer, ethylene inter-polymer alloy elastomer, ethylene vinyl acetate, nylon, polyether imide, polyester elastomer, polyester sulfone, polyphenyl amide, polypropylene, polyvinylidene fluoride or thermoset polyurea elastomer, acrylics, homopolymers, acetates, copolymers, acrylonitrile-butadinen-styrene, thermoplastic fluoro polymers, inomers, polyamides, polyamide-imides, polyacrylates, polyatherketones, polyaryl-sulfones, polybenzimidazoles, polycarbonates, polybutylene, terephthalates, polyether imides, polyether sulfones, thermoplastic polyimides, thermoplastic polyurethanes, polyphenylene sulfides, polyethylene, polypropylene, polysulfones, polyvinylchlorides, styrene acrylonitriles, polystyrenes, polyphenylene, ether blends, styrene maleic anhydrides, polycarbonates, allyls, aminos, cyanates, epoxies, phenolics, unsaturated polyesters, bismaleimides, polyurethanes, silicones, vinylesters, or urethane hybrids. Examples of suitable polymers also include aliphatic or aromatic polyamide, polyeitherimide, polysulfone, polyphenylsulfone, poly-phenylene oxide, liquid crystalline polymer and polyketone. Examples of suitable composites include polymers such as polyphenylsulfone reinforced with between about 30 and about 70 wt %, and preferably up to about 65 wt % of one or more reinforcing materials selected from glass fiber, ceramic fiber, carbon fiber, mineral fillers, organo nanoclay, or carbon nanotube. Preferred reinforcing materials, such as chopped surface-treated E-glass fibers provide flow characteristics at the above-described loadings comparable to unfilled polymers to provide a desirable combination of strength and flow characteristics that permit the molding of head-end components. Composite components can be formed by machining or injection molding. Finally, the cartridge case must retain sufficient joint strength at cook-off temperatures. More specifically, polymers suitable for molding of the projectile-end component have one or more of the following properties: Yield or tensile strength at −65° F. >10,000 psi Elongation-to-break at −65° F. >15% Yield or tensile strength at 73° F. >8,000 psi Elongation-to-break at 73° F. >50% Yield or tensile strength at 320° F.>4,000 psi Elongation-to-break at 320° F.>80%. Polymers suitable for molding of the middle-body component have one or more of the following properties: Yield or tensile strength at −65° F. >10,000 psi Yield or tensile strength at 73° F. >8,000 psi Yield or tensile strength at 320° F. >4,000 psi.

[0042]

Commercially available polymers suitable for use in the present invention thus include polyphenylsulfones; copolymers of polyphenylsulfones with polyether-sulfones or polysulfones; copolymers and blends of polyphenylsulfones with polysiloxanes; poly(etherimide-siloxane); copolymers and blends of polyetherimides and polysiloxanes, and blends of polyetherimides and poly(etherimide-siloxane) copolymers; and the like. Particularly preferred are polyphenylsulfones and their copolymers with poly-sulfones or polysiloxane that have high tensile strength and elongation-to-break to sustain the deformation under high interior ballistic pressure. Such polymers are commercially available, for example, RADEL R5800 polyphenylesulfone from Solvay Advanced Polymers. The polymer can be formulated with up to about 10 wt % of one or more additives selected from internal mold release agents, heat stabilizers, anti-static agents, colorants, impact modifiers and UV stabilizers.

[0043]

The polymers of the present invention can also be used for conventional two-piece metal-plastic hybrid cartridge case designs and conventional shotgun shell designs. One example of such a design is an ammunition cartridge with a one-piece substantially cylindrical polymeric cartridge casing body with an open projectile-end and an end opposing the projectile-end with a male or female coupling element; and a cylindrical metal cartridge casing head-end component with an essentially closed base end with a primer hole opposite an open end having a coupling element that is a mate for the coupling element on the opposing end of the polymeric cartridge casing body joining the open end of the head-end component to the opposing end of the polymeric cartridge casing body. The high polymer ductility permits the casing to resist breakage.

[0044]

One embodiment includes a 2 cavity prototype mold having an upper portion and a base portion for a 5.56 case having a metal insert over-molded with a Nylon 6 (polymer) based material. In this embodiment the polymer in the base includes a lip or flange to extract the case from the weapon. One 2-cavity prototype mold to produce the upper portion of the 5.56 case can be made using a stripper plate tool using an Osco hot spur and two subgates per cavity. Another embodiment includes a subsonic version, the difference from the standard and the subsonic version is the walls are thicker thus requiring less powder. This will decrease the velocity of the bullet thus creating a subsonic round.

[0045]

The extracting inserts is used to give the polymer case a tough enough ridge and groove for the weapons extractor to grab and pull the case out the chamber of the gun. The extracting insert is made of 17-4 ss that is hardened to 42-45rc. The insert may be made of aluminum, brass, cooper, steel or even an engineered resin with enough tensile strength.

[0046]

The insert is over molded in an injection molded process using a nano clay particle filled Nylon material. The inserts can be machined or stamped. In addition, an engineered resin able to withstand the demand on the insert allows injection molded and/or even transfer molded.

[0047]

One of ordinary skill in the art will know that many propellant types and weights can be used to prepare workable ammunition and that such loads may be determined by a careful trial including initial low quantity loading of a given propellant and the well known stepwise increasing of a given propellant loading until a maximum acceptable load is achieved. Extreme care and caution is advised in evaluating new loads. The propellants available have various burn rates and must be carefully chosen so that a safe load is devised.

[0048]

The description of the preferred embodiments should be taken as illustrating, rather than as limiting, the present invention as defined by the claims. As will be readily appreciated, numerous combinations of the features set forth above can be utilized without departing from the present invention as set forth in the claims. Such variations are not regarded as a departure from the spirit and scope of the invention, and all such modifications are intended to be included within the scope of the following claims.

[0049]

It is contemplated that any embodiment discussed in this specification can be implemented with respect to any method, kit, reagent, or composition of the invention, and vice versa. Furthermore, compositions of the invention can be used to achieve methods of the invention.

[0050]

It will be understood that particular embodiments described herein are shown by way of illustration and not as limitations of the invention. The principal features of this invention can be employed in various embodiments without departing from the scope of the invention. Those skilled in the art will recognize, or be able to ascertain using no more than routine experimentation, numerous equivalents to the specific procedures described herein. Such equivalents are considered to be within the scope of this invention and are covered by the claims.

[0051]

All publications and patent applications mentioned in the specification are indicative of the level of skill of those skilled in the art to which this invention pertains. All publications and patent applications are herein incorporated by reference to the same extent as if each individual publication or patent application was specifically and individually indicated to be incorporated by reference.

[0052]

The use of the word “a” or “an” when used in conjunction with the term “comprising” in the claims and/or the specification may mean “one,” but it is also consistent with the meaning of “one or more,” “at least one,” and “one or more than one.” The use of the term “or” in the claims is used to mean “and/or” unless explicitly indicated to refer to alternatives only or the alternatives are mutually exclusive, although the disclosure supports a definition that refers to only alternatives and “and/or.” Throughout this application, the term “about” is used to indicate that a value includes the inherent variation of error for the device, the method being employed to determine the value, or the variation that exists among the study subjects.

[0053]

As used in this specification and claim(s), the words “comprising” (and any form of comprising, such as “comprise” and “comprises”), “having” (and any form of having, such as “have” and “has”), “including” (and any form of including, such as “includes” and “include”) or “containing” (and any form of containing, such as “contains” and “contain”) are inclusive or open-ended and do not exclude additional, unrecited elements or method steps.

[0054]

The term “or combinations thereof” as used herein refers to all permutations and combinations of the listed items preceding the term. For example, “A, B, C, or combinations thereof” is intended to include at least one of: A, B, C, AB, AC, BC, or ABC, and if order is important in a particular context, also BA, CA, CB, CBA, BCA, ACB, BAC, or CAB. Continuing with this example, expressly included are combinations that contain repeats of one or more item or term, such as BB, AAA, AB, BBC, AAABCCCC, CBBAAA, CABABB, and so forth. The skilled artisan will understand that typically there is no limit on the number of items or terms in any combination, unless otherwise apparent from the context.

[0055]

All of the compositions and/or methods disclosed and claimed herein can be made and executed without undue experimentation in light of the present disclosure. While the compositions and methods of this invention have been described in terms of preferred embodiments, it will be apparent to those of skill in the art that variations may be applied to the compositions and/or methods and in the steps or in the sequence of steps of the method described herein without departing from the concept, spirit and scope of the invention. All such similar substitutes and modifications apparent to those skilled in the art are deemed to be within the spirit, scope and concept of the invention as defined by the appended claims.

[0056]

This application incorporated the contents of each by reference in their entirety U.S. patent application Ser. No. 14/011,202 filed on Aug. 27, 2013 (now U.S. Pat. No. 9,546,849) which is a Divisional Application of U.S. patent application Ser. No. 13/292,843 filed on Nov. 9, 2011 (now U.S. Pat. No. 8,561,543) which claims the benefit of U.S. Provisional Patent Application Ser. No. 61/456,664, filed Nov. 10, 2010.

Как компенсировать расходы
на инновационную разработку
Похожие патенты