A cyclic redundancy code (CRC) update device includes an input coupled to obtain an old CRC that corresponds to an old header of a communication packet, a CRC storage device to store CRC coefficients, a CRC calculator coupled to receive a modified old header of the communication packet and calculate a new CRC on the modified old header, and a polynomial multiplier coupled to the CRC storage device to receive the new CRC, obtain a corresponding coefficient from the CRC storage device, and generate an update for the CRC of the frame.
1. A method of updating a cyclic redundancy code (CRC) of a packet in an apparatus, the method comprising:
processing the packet as the packet traverses a datapath of the apparatus, the processing comprising:
determining whether a header of the packet has changed to a new header; and in response to a determination that the header has changed, modifying the packet by updating an existing CRC to a new CRC without using a contribution of a payload of the packet to the updating. 2. The method of calculating an existing contribution of the header to the existing CRC; and calculating a new contribution of the new header to the new CRC; wherein the updating comprises replacing the existing contribution with the new contribution. 3. The method of 4. The method of advancing the existing CRC comprises advancing the existing CRC by a number of bytes occurring after all headers of the packet prior to changing the header of the packet to the new header, and advancing the new CRC comprises advancing the existing CRC by a number of bytes occurring after all headers of the packet after changing the header of the packet to the new header. 5. The method of determining whether the header has changed to a second header; and in response to a determination that the header has changed to the second header, calculating a second contribution of the second header to the new CRC; and the updating comprises replacing the first contribution with the second contribution if the header has changed and maintaining the first contribution if the header has not changed. 6. The method of 7. The method of a first latency is associated with calculating the existing contribution, a second latency is associated with calculating the new contribution, a sum of the first and second latency is shorter than a latency associated with changing the header to the new header and compacting the packet. 8. The method of 9. The method of parsing the packet and determining a routing modification of the packet; and providing packet to a data plane interface of the apparatus. 10. The method of 11. An apparatus comprising processing circuitry and memory,
wherein the processing circuitry is configured to:
determine whether a header of a packet traversing a datapath of the apparatus has changed to a new header; and in response to a determination that the header has changed, modify the packet by updating an existing cyclic redundancy code (CRC) to a new CRC without using a contribution of a payload of the packet to the updating, and the memory is configured to store the payload, the new header of the packet. 12. The apparatus of calculate an existing contribution of the header to the existing CRC; and calculate a new contribution of the new header to the new CRC; and update the CRC by replacing the existing contribution with the new contribution. 13. The apparatus of 14. The apparatus of advance the existing CRC by advancing the existing CRC by a number of bytes occurring after all headers of the packet prior to changing the header of the packet to the new header, and advance the new CRC by advancing the existing CRC by a number of bytes occurring after all headers of the packet after changing the header of the packet to the new header. 15. The apparatus of determine whether the header has changed to a second header; and in response to a determination that the header has changed to the second header, calculate a second contribution of the second header to the new CRC; and update the CRC by replacing the first contribution with the second contribution if the header has changed and maintaining the first contribution if the header has not changed. 16. The apparatus of 17. The apparatus of a first latency is associated with calculating the existing contribution, a second latency is associated with calculating the new contribution, a sum of the first and second latency is shorter than a latency associated with changing the header to the new header and compacting the packet. 18. The apparatus of 19. The apparatus of parse the packet and determine a routing modification of the packet; and provide packet to a data plane interface of the apparatus. 20. The apparatus of
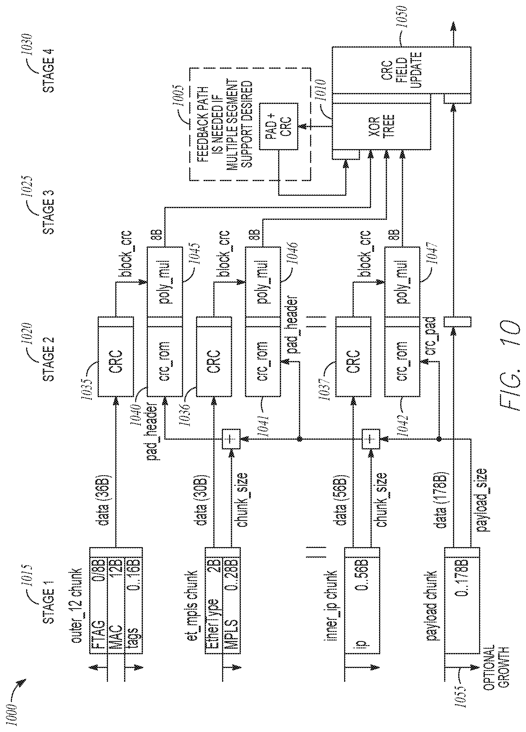
This application is a continuation of U.S. patent application Ser. No. 14/866,180, filed Sep. 25, 2015, which is incorporated herein by reference in its entirety. Embodiments described generally herein relate to processing of data packets sent or received through a network. Some embodiments relate updating a CRC of a data packet based on changes to a data packet. Modern switching hardware supports packet rates exceeding 800 million packets per second, with multiple header updates per packet. Previous solutions re-compute the Ethernet cyclic redundancy check (CRC) after these header updates, rather than updating the CRC, due to complexities involved in updating the CRC at wide datapath endpoints where the data is serial. As a result, previous solutions cannot detect soft errors occurring in the datapath. The result is that soft errors occurring in the datapath are undetectable. In the drawings, which are not necessarily drawn to scale, like numerals may describe similar components in different views. Like numerals having different letter suffixes may represent different instances of similar components. The drawings illustrate generally, by way of example, but not by way of limitation, various embodiments discussed in the present document. In modern digital networks, data to be transmitted is often formatted into packets for transmission. A packet typically includes the data, or payload, to be transmitted, along with information necessary to route the packet from a source to a destination. Routing information may be placed in a packet header that includes, for example, a network address of the source device and a network address of the destination device, with a cyclic redundancy check (CRC) appended at the end of the message. Upon receipt of the packet, the destination device recomputes the CRC from the received bits in the header and the payload of the packet. The destination device compares the recomputed CRC and the transmitted CRC to determine whether an error has occurred during transmission. Packets can take any number of routes between the source device and the destination device, and packets can also be re-routed through intermediate devices during transmission. Such re-routing may result in a change to a packet's header. Some available systems provide ways to recompute the packet CRC in order to reflect the changes in the header. This recomputing can be time consuming and computationally expensive. Additionally, an end receiver of packets may expect the CRC to detect soft errors within the datapath whereas the CRC will be unable to detect these soft errors. Accordingly, some CRCs are not currently protecting portions of the packet that CRCs were designed to protect. Embodiments provide a CRC update mechanism that maintains a CRC through an entire datapath, and updates the CRC as portions of the data are modified in a wide datapath. The CRC of various embodiments can detect multiple soft errors arising in a packet payload at any point in the datapath, including during packet storage, field extraction, and recompaction. The CRC update mechanism in one embodiment is implemented in hardware and uses coefficient read-only memory (ROMs) (e.g., a CRC storage device or similar module), such as a count-indexed ROM, accessible by the CRC update mechanism to enable highly parallel ROM access and CRC update calculations. Latency is extremely low, and mostly hidden by (i.e., simultaneous with) the latency of packet header modification and compaction. In various embodiments, the CRC update mechanism may be used in conjunction with error correction code (ECC) memory to enhance soft-error performance. Soft errors that are not detected by the ECC are extremely likely to be detected by the CRC. Various embodiments, rather than recomputing the entire CRC, do an update to the CRC by computing a change (i.e., “delta”) and applying the delta at end of the frame. An example switching platform is first described, followed by a description of modification of communication packet headers in a single cycle using multiple stages to place words of the headers in a correct lane. The CRC update mechanism is then described in the context of updating a packet CRC based on changes to the headers and avoiding recalculation of the CRC over the entire packet, which includes a payload. The update mechanism may perform the CRC update over a wide datapath in a single cycle, providing low latency. The control device 102 initializes the hardware switch 104 and programs the switch ports of the hardware switch 104 facing the data plane devices 106, using flexible interfaces, to provide scalable flow processing that can be adapted for various usage models in addition to other data center usage models. The hardware switch 104 also receives packet streams and connects to other devices or systems using Ethernet ports 111. The control device 102 can execute (e.g., “run”) on a specialized core in some embodiments. Alternatively, in other embodiments, the control device 102 (or processing circuitry of the control device 102) can be distributed among one or more Intel Architecture® (IA) cores 114, by way of nonlimiting example. The data plane device 106 also includes a control interface 202 to communicate with one or more control devices 102 ( The data plane device 106 includes processing circuitry 204 to perform functions such as packet header compaction and updating CRC of headers. It will be understood that any or all of the functions performed by processing circuitry 204 can be executed with hardware, software, firmware, or any combination thereof, on one or more processing cores, for example IA cores 114 or a core of the control device 102. In embodiments, the processing circuitry 204 can determine destination lanes for multiple received headers that have been received at the switch interface 200 and permute words of the multiple received headers as described later herein with respect to The headers are received at 315. The length in words for each header is calculated via an adder as shown at 320, 321, and 322, and lanes for each header are output at lines 325, 326, 327, etc. In one embodiment, there are 16 adders and outputs corresponding to a 256 byte header, where each byte is a word comprising 8 bits. A running length calculation on header lengths is performed to determine the correct output lane or lanes for each header. For example, the first header calculation is trivial, because the first header is first. The first word of the first header becomes output word zero, followed by the rest of the words of the first header occupying word one, two, etc., up to the length of the header in words. The ultimate location of the second header depends on the size of the first header. If the first header had seven words, then the second header starts at word 7, and may also occupy words 8, 9, etc., up to the length in words of the second header. If the second header stops at word 9, by way of nonlimiting example, then the third header resumes at word 10. The lanes for each header determined by the control stage 310 are then used to control a level 1 permutation 330 coupled to the control stage 310. Level 1 permutation 330 includes multiple crossbar switches indicated at 333, 334, etc. In one embodiment, 16 such crossbar switches are used in the level 1 permutation 330. Each crossbar switch receives 16 words, with the first crossbar switch 333 receiving input words 0-15 as indicated at 336, the second crossbar switch 334 receiving input words 16-31 as indicated at 337, etc. The level 1 permutation 330 places all the words into the correct lane MOD 16 words as directed by the control stage 310. If the individual headers are already compacted, the level 1 permutation 330 performs a simple rotation of 16 word chunks. A level 2 permutation 340 consisting of multiple crossbar switches indicated at 342, 343, etc., is coupled to the level 1 permutation 330. The level 2 permutation 340 places all the words into the correct lane MOD 256 words. The representation of the levels or stages is compacted for ease of illustration, and thus not all individual elements and connections are visible, but would be apparent to one of skill in the art. In one embodiment, crossbar 342 handles words placed to 0 MOD 16, which includes words zero, 16, 32, 48, etc. Crossbar 343 handles words placed 1 MOD 16, which includes words one, 17, 33, 49, etc. The crossbars of the level 2 permutation 340 produce an interleaved output of the headers. If there are more than 256 words, then additional levels continue the pattern. The header is now fully compacted and correctly ordered for transfer from the switching platform 100. Level 1 permutation at 415 places all words into the correct lane MOD 16 words. In this example embodiment, the individual headers are already internally compacted when received by mechanism 400, so this is a simple rotation within 16-word chunks, which results in savings on the amount of control utilized to transform the headers. Each header is 1-2 chunks and the payload is 5 chunks. This rotation is conflict-free because each chunk of header is at most 16 words. Therefore, the destination lanes of these 16 words do not have any conflicts MOD 16. This property holds even if the headers had not initially been compacted. Given any set of 16 words to be compacted in one of the level 1 permutation crossbars, the resulting positions are a consecutive run of no more than 16 words, and therefore each of these words is destined to a different level 2 permutation crossbar. A similar property holds at each later stage or level. The level 2 permutation at 420 places all words into the correct output lane. The placement is achieved via 16 independent 10×10-word crossbars in one embodiment. The control logic for the level 2 permutation at 420 can be computed as a 160-bit destination-mask per chunk. The mask is set to Is over the range (start . . . start+length−1) that was calculated for that chunk in the control logic 410. For lowest latency, this mask generation occurs in parallel with the level 1 permutation. The crossbar function in the level 2 permutation 420 takes each output word from the word having the same position MOD 16, and its corresponding destination mask bit set. This amounts to a 10-input mux per output, with one-hot control per mux. At 520, words of the headers are permuted in a level 1 permutation to place words into a correct lane according to the determined destination lanes. In one embodiment, the compactor receives multiple headers for a packet comprising 256 words. The level 1 permutation may use crossbar switches to place all the words into the correct lane MOD 16 words as directed by the control stage. Note that 16 is the square root of 256. If the individual headers are already compacted, the level 1 permutation performs a simple rotation of 16 word chunks. At 530, words received from the level 1 permutation are permuted in a level 2 permutation to place each word into a correct destination lane according to the determined destination lane. Multiple crossbar switches may be used in the level 2 permutation to place all the words into the correct lane MOD 256 words. In one embodiment, a first crossbar switch handles words placed to 0 MOD 16, which includes words zero, 16, 32, 48, etc. A next crossbar switch handles words placed 1 MOD 16, which includes words one, 17, 33, 49, etc. The crossbars of the level 2 permutation produce an interleaved output of the headers. If there are more than 256 words, then additional levels continue the pattern. The header is now fully compacted and correctly ordered for transfer from the switching platform. A control stage is indicated at 610 and includes logic to calculate output lanes of all words. In addition to other operations, the control stage 610 can remove invalid words. In the example of The level 1 permutation at 615 receives the rotated input at 620 and places all words into correct position MOD 4. Since the input blocks are already compacted, this is just a rotation. Level 1 permutation also calculates a 16-bit destination mask for each rotated block as shown at 625. In the level 1 permutation at 615. A, B. C and D are processed independently and accordingly space can be saved in various embodiments at least because only 4×4 crossbars are needed in the level 1 permutation 615. Level 2 permutation is indicated at 630 and may be an array of 4-input muxes, each controlled by 1-of-4 one-hot. The level 2 permutation result is indicated at 635 and shows each word in a correct lane, resulting in a compacted contiguous header block as an output for the packet. In the level 2 permutation indicated at 630, each output (e.g., output 0, 1, 2, 3, 4, 5, 6, 7 and 8 shown in The hardware switch 104 includes a control interface 704 to communicate with a control device 102 and a switch data plane interface 706 to communicate with one or more data plane processors 106. Accordingly, a basic switch 104 pipeline can include receiving data at ingress/egress ports 702, performing processing at ingress/egress ports 702 (such as parsing, routing modification of packets, etc.), and providing packets to the data plane interface 706 or other circuitry. The switch 104 pipeline can include further combinations of the above, for example, after modification of packets is complete, parsing may be performed again. Packet processing and modification can also be implemented in the one or more data plane devices 106. As described later herein, the hardware switch 104 generates an updated CRC according to algorithms described later herein. The hardware switch 104 can include memory 708 or can access other memory to retrieve CRC coefficients as described later herein. In one embodiment, a CRC is updated based on the changed headers to obtain a valid CRC for the corresponding communication packet without recomputing the CRC for the entire packet. The headers may be changed using the compactors described above, or via any other mechanism that changes only a portion of the packet, such as one or more headers of a packet. The packet may also be referred to as a frame, but a frame is not limited to being packet for purposes of updating a CRC. A frame may be any chunk of data on which it is desired to have a CRC to correct an error in the data. A delta based on the changed data may be calculated and used to modify the CRC for the packet that existed prior to the modification of the header. In one embodiment, the CRC comprises an Ethernet CRC capable of correcting a bit error and updating the CRC is a low latency computation. In one embodiment, the CRC may be updated in a parallel datapath that modifies a portion of the data (e.g. a header or a portion of a header, or one header of a plurality of headers) in a frame. A packet is received by mechanism 800 at 810 wherein an input is coupled to obtain an old CRC that corresponds to an old portion (e.g., an old header) of a packet. As mentioned above, the packet may also be referred to as a frame of data, or a block of data that already has a CRC calculated over it. In the context of a packet, the packet may be processed in a wide datapath. This means that the packet is broken into two or more pieces that may be processed in parallel. As indicated in the header compaction mechanism examples described above, the packet headers are split into words, such as 256 words that may be processed in a wide datapath consisting of 16 crossbars per stage as described earlier herein with respect to In mechanism 800, logic (e.g., a CRC calculator module) calculates an old header CRC 815 over the header, and splits the old header CRC 815 off from the packet. The headers of the packet may proceed to a change header path 820 where the headers are changed, transformed or otherwise modified. The payload of the packet may be stored at 825. Logic (e.g., the CRC calculator) can calculate a new header CRC 830 over the changed header. Circuitry or logic can compact and combine the changed headers with the stored packet payload at 835. Packet header modifications can insert or delete bytes, so that the header length (and therefore the whole packet length) can change. The recombined packet and the new header CRC are then provided to a CRC field update logic module 840. In one embodiment, the old header packet 815 is used to negate the contribution of the old header values to the CRC over the packet. To make this value mathematically compatible with the CRC field, the CRC is advanced by the number of bytes occurring after all headers in the received packet. In latency-sensitive applications, this is achieved via a coefficient ROM per header and by the use of polynomial multiplication using logic (e.g., a polynomial multiplier module). “+new header CRC” at 830 takes into account the contribution of the new header values. To make the new header CRC 830 value mathematically compatible with the CRC field, the CRC is advanced by the number of bytes occurring after all headers, similarly as that described earlier. When the CRC field is received, both updates are added to it at 840, and the value is added into the CRC field. For a large packet, this may occur several cycles after the packet headers are modified. All of the CRC calculation latency may be hidden by header changes and compaction, because the CRC updates performed at 830 in various embodiments are performed in parallel to compaction at 835. The effective latency is therefore only the single-cycle latency of combining the three final components and inserting them into the CRC field. While example embodiments below are described with reference to one set of inputs, and modules (e.g., polynomial multiples, CRC calculators, etc.), it will be appreciated that the mechanism 800 can comprise multiple sets of inputs, CRC calculators and polynomial multipliers. These multiple components, inputs, modules, etc., can be disposed in a parallel datapath to generate multiple updates for the CRC of the frame corresponding to multiple headers of the frame. Known solutions lead to holes in CRC protection, or serial, highly-replicated CRC blocks that add more area and power. Additionally, use of serial blocks in a large system can require repeatedly converting back and forth between serial and parallel implementations, which adds latency and complexity. In previous solutions, the ingress and egress CRC must both be calculated. To cover soft error gaps, these solutions would have to calculate old and new CRC in the same place, requiring all ingress headers to be copied, costing substantial area and power. Previous solutions also require shifting the final CRC by an arbitrary variable amount, which increases cost on a wide datapath. Previous software solutions overcome the variable shifting problem by using a data-byte-indexed ROM (e.g., CRC_TABLE stored in ROM in pseudocode examples later herein) to calculate the CRC (crc in pseudocode examples below). Such solutions are completely impractical for hardware because this ROM is consulted sequentially for every byte in the packet. In contrast, present embodiments may use a count-indexed ROM, which is accessed only once per packet header. Furthermore, all accesses to this ROM can occur simultaneously. For example, considering the example of advancing a CRC by N=100 bytes. In a standard data-byte-indexed ROM, a system would have to do 100 lookups in sequence, causing the latency to be 100 times the table-lookup time, according to the pseudocode below: In practice, some operators may generate CRC of specific sizes, resulting in the need for multiple circuits, and ever-increasing numbers of gates, to deal with the various possible packet sizes that can be needed in modern networking systems. In contrast, various embodiments use a count-indexed ROM, as below: In one embodiment, a CRC is calculated for individual headers as illustrated in block diagram form in For example, an Ethernet packet is carried through a 256-byte (128-word) datapath 905 in one or more cycles 910, 915, and 920. In each cycle, one 256-byte segment is processed. The first segment contains 3 headers 925, 930, 935. For each header, a packet parser has provided the number of bytes that follow that header in the segment as indicated at 940, 945, and 950. For example, there are pad_header[1] bytes as indicated at 940 from the end of header 1 to the end of the segment 1. There are pad_header[2] bytes as indicated at 945 from the end of header 2 to the end of segment 1. There are pad_header[3] bytes as indicated at 950 from the end of header 3 to the end of segment 1. Segment 2 includes a payload, and segment 3 includes a pad segment and the CRC field, which signifies the end of the packet. The CRC may be calculated according to a standard of the Institute of Electrical and Electronics Engineers (IEEE) family of standards. In some embodiments, the CRC is calculated in accordance with IEEE 802.3 or versions thereof. A packet in one embodiment may be represented as a polynomial. The terms of the polynomial are powers of the symbol x, and the coefficients are bits MOD 2. The constant x0term is the last bit transmitted; the x1term is the second-last transmitted, etc. Embodiments can be used to calculate any checksum that is “packet MOD P” where the arithmetic is in GF2[x] MOD P (x) (where GF2 refers to the Galois field as understood by those of ordinary skill in the art) for some reducing polynomial P. Some example reducing polynomials can include CRC-32, CRC-32K (Koopman), CRC-32C (iSCSI), CRC-32Q (AIXM), etc., although embodiments are not limited to just these reducing polynomials. IEEE 802.3 specifies an Ethernet CRC Polynomial, which is notated as P. A packet's CRC is calculated by taking the packet polynomial modulo P. In one embodiment, the CRC of a packet consisting of header H and payload Y is calculated. Such a packet has a form shown by (1): where “n” is the number of bytes after the header. The CRC of the packet is calculated by feeding n into a ROM implementing x8nmod P. The formula used for the calculation may be derived according to the derivation (2) as follows: Note that “×” is polynomial multiplication, which has lower hardware complexity than integer multiplication. The algorithm in (2) also generalizes to multiple headers as shown in (3): where CRC(packet) is the overall CRC of the entire packet, CRC(Y) is the CRC of the payload. ROM(n1), ROM(n2), ROM(n3), etc. are x8nmod P, where n is the number of bytes after each of the respective headers H1, H2 and H3. Assuming that modifications to the packet do not affect the payload Y, CRC(Y) is not changed by packet modification. Therefore, the difference between old and new packet CRC does not depend on Y. In more detail, ROMs are constructed when a designer first calculates the range of possible values for n. For example, if the minimum possible header size is 14 bytes, and the maximum packet size is 256 byres, then the range of n is 0 to 42. Next, the constant values x{circumflex over ( )}(8*0) . . . x{circumflex over ( )}(242*0) are fed to a standard ROM generator. To update a packet's CRC, the following algorithm may be applied to both the old and new packet headers. The payload is not involved in the calculation. In the following annotated pseudo-code, “CRC” is a standard fixed-function Ethernet CRC implemented as an exclusive OR (XOR) tree; it performs a full modulo reduction of any input polynomial (of known maximum size) and produces a 32-bit result. It will be appreciated that some of the above-described embodiments may be used for cases in which an entire packet is processed as a unit. However, in cases where this is not practical, because of large packet sizes, a more general algorithm can be performed by taking a larger packet in segments consisting of a known or limited number of bytes per segment. To handle packets larger than 256 bytes, a feedback path 1005 may be used. Pseudocode shown in Table 3, supra, can be used in the feedback path 1005. For segments that are not the last segment, this path 1000 easily fits in 1 cycle because it is a fixed XOR-tree operation as indicated at 1010, to CRC a 64-bit input followed by 256 bytes of 0. This assumes that only the last segment can be less than 256 bytes as represented in segment 3 in For the last segment, there may be additional latency for ROM lookup of CRC (1«8*pad_segment) and polynomial multiplication requiring additional stages. However, a throughput of one segment per cycle is still possible because the last-segment latency can be pipelined. Furthermore, some embodiments may not experience significant ROM lookup latency because, after the first segment, only the polynomial multiplication contributes latency. The ROM lookup can be done earlier in the pipeline in various embodiments because the segment length is known earlier and the ROM only needs the segment length, based on a reasonable assumption that modifications only occur in the first segment, the lengths of the later segments do not change and hence are known earlier in the pipeline. Datapath 1000 is shown divided into four stages generally illustrated at 1015, 1020, 1025, and 1030. Stage 1015 receives packet data in a wide path and provides the changed headers to CRC blocks indicated at 1035, 1036, 1037, etc. Note that not all bocks are illustrated for convenience of illustration. Each CRC block has access to a CRC ROM as indicated at 1040, 1041, and 1042, and uses the CRC ROM for each header to look up a value to multiply the old CRC by to calculate a new CRC, which is provided via a polynomial multipliers 1045, 1046, 1047 to the XOR tree 1010, which provides a CRC field update at 1050. Note that while the wide path is 256 B in this example, optional growth in the size is indicated by arrows such as arrow 1055. Note also that the size of the ROM may be much less than the size of the packet. The size of the ROM is related to the size of the headers in the packet, and is likely much smaller than the overall size of the packet, which may be quite large. In one embodiment, the size of the ROM is equal to the number of bytes in the segment. In a further embodiment illustrated in block diagram form in Data is received at expand blocks 1135 and provided to a CRC multiplier 1145 which uses the CRC ROM 1140 to provide the new CRC for each header to the XOR tree 1010. The expand blocks 1135 may also provide data for the headers to the half-butterfly compactor 1110 for compaction and placement into output lanes as described earlier herein. The term “module” is understood to encompass a tangible entity, be that an entity that is physically constructed, specifically configured (e.g., hardwired), or temporarily (e.g., transitorily) configured (e.g., programmed) to operate in a specified manner or to perform at least part of any operation described herein. Considering examples in which modules are temporarily configured, a module need not be instantiated at any one moment in time. For example, where the modules comprise a general-purpose hardware processor configured using software; the general-purpose hardware processor may be configured as respective different modules at different times. Software may accordingly configure a hardware processor, for example, to constitute a particular module at one instance of time and to constitute a different module at a different instance of time. The term “application,” or variants thereof, is used expansively herein to include routines, program modules, programs, components, and the like, and may be implemented on various system configurations, including single-processor or multiprocessor systems, microprocessor-based electronics, single-core or multi-core systems, combinations thereof, and the like. Thus, the term application may be used to refer to an embodiment of software or to hardware arranged to perform at least part of any operation described herein. While a machine-readable medium may include a single medium, the term “machine-readable medium” may include a single medium or multiple media (e.g., a centralized or distributed database, and/or associated caches and servers). The term “machine-readable medium” may include any medium that is capable of storing, encoding, or carrying instructions 205 for execution by a machine (e.g., the control device 102 or any other module) and that cause the machine to perform any one or more of the techniques of the present disclosure, or that is capable of storing, encoding or carrying data structures used by or associated with such instructions. In other words, the processing circuitry 204 ( The instructions 205 may further be transmitted or received over a communications network using a transmission medium utilizing any one of a number of transfer protocols (e.g., frame relay, internet protocol (IP), TCP, user datagram protocol (UDP), hypertext transfer protocol (HTTP), etc.). Example communication networks may include a local area network (LAN), a wide area network (WAN), a packet data network (e.g., the Internet), mobile telephone networks ((e.g., channel access methods including Code Division Multiple Access (CDMA). Time-division multiple access (TDMA), Frequency-division multiple access (FDMA), and Orthogonal Frequency Division Multiple Access (OFDMA) and cellular networks such as Global System for Mobile Communications (GSM), Universal Mobile Telecommunications System (UMTS), CDMA 2000 1×* standards and Long Term Evolution (LTE)), Plain Old Telephone (POTS) networks, and wireless data networks (e.g., Institute of Electrical and Electronics Engineers (IEEE) 802 family of standards including IEEE 802.11 standards (WiFi). IEEE 802.16 standards (WiMax®) and others), peer-to-peer (P2P) networks, or other protocols now known or later developed. The term “transmission medium” shall be taken to include any intangible medium that is capable of storing, encoding or carrying instructions for execution by hardware processing circuitry, and includes digital or analog communications signals or other intangible medium to facilitate communication of such software. Example 1 includes subject matter (such as a control device, interplane control device, control plane processor, CRC update device, computer device and or any other electrical apparatus, device or processor) including an input coupled to obtain an old CRC that corresponds to an old header of a communications packet; a CRC storage device to store CRC coefficients; a CRC calculator coupled to receive a modified old header and calculate a new CRC on the modified old header; and a polynomial multiplier coupled to the CRC storage device to obtain a coefficient from the CRC storage device, the polynomial multiplier further coupled to the CRC calculator to receive the new CRC, wherein the polynomial multiplier is configured to generate an updated CRC. In Example 2, the subject matter of Example 1 can optionally include multiple sets of inputs, multiple CRC calculators and multiple polynomial multipliers disposed in a parallel datapath to generate multiple updated CRCs corresponding to multiple headers of the frame. In Example 3, the subject matter of Example 2 can optionally include wherein the CRC storage device is accessible by the multiple polynomial multipliers in parallel. In Example 4, the subject matter of any of Examples 1-3 can optionally include wherein the CRC storage device comprises a count-indexed read only memory (ROM). In Example 5, the subject matter of any of Examples 2-4 can optionally include circuitry to combine the multiple updated CRCs. In Example 6, the subject matter of Example 5 can optionally include wherein the circuitry to combine the multiple updated CRCs comprises an exclusive OR (XOR) tree. In Example 7, the subject matter of any of Examples 5-6 can optionally include circuitry to combine the combined multiple updated CRCs with a CRC over a remainder of the frame to provide an updated frame CRC. In Example 8, the subject matter of any of Examples 5-7 can optionally include a feedback path coupled to the circuitry to combine multiple updates to support multiple segments. In Example 9, the subject matter of any of Examples 2-8 can optionally include a compactor coupled to receive multiple headers and place the headers into correct lanes. In Example 10, the subject matter of any of Examples 1-9 can optionally include wherein the CRC comprises an Ethernet CRC. Example 11 includes subject matter include a method, the method comprising receiving a communications packet; obtaining an old cyclic redundancy check (CRC) corresponding to an old header of the communications packet; obtaining at least one change to at least one header to provide at least one changed header; calculating a CRC over the at least one changed header to generate a calculated CRC; and updating the old CRC based on the calculated CRC. In Example 12, the subject matter of Example 11 optionally includes wherein the at least one change comprises a plurality of changes to a plurality of headers. In Example 13, the subject matter of Example 12 optionally includes calculating the CRC over the plurality of changes to the plurality of headers by calculating a CRC for each of the plurality of changes to the plurality of headers in parallel datapaths. In Example 14, the subject matter of Example 13 optionally includes wherein updating the old CRC is based on the calculated CRCs for each of the plurality of changes. In Example 15, the subject matter of any of Examples 12-14 can optionally include wherein calculating the CRC over the at least one changed portion comprises obtaining CRC coefficients from a storage device; and using the CRC coefficient in a polynomial multiplication representative of the packet to advance the CRC corresponding to a position of the changed header in the packet. In Example 16, the subject matter of any of Examples 12-15 can optionally include wherein the coefficients are bits MOD 2. In Example 17, the subject matter of any of Examples 12-16 can optionally include wherein the CRC of the packet is calculated by feeding n into the storage device implementing xs mod P where n is the number of bytes following the changed header and P an Ethernet CRC polynomial. Example 18 include a mechanism (e.g., a hardware switch fixed-logic silicon switch, etc.) comprising ingress ports for receiving a data packet having multiple headers and an old cyclic redundancy code (CRC) that corresponds to an old header of the data packet, and to provide the multiple headers; and control circuitry coupled to the ingress ports and configured to receive the packet, the old CRC, and a modified old header of the data packet, calculate a new CRC on the modified old header, and generate an update for the CRC of the frame based on a CRC coefficient. In Example 19, the subject matter of Example 18 can optionally further include storage to store CRC coefficients. In Example 20, the subject matter of any of Examples 18-19 can optionally include wherein the storage is accessible by multiple paths of the control circuitry in parallel. Example 21 includes subject matter (such as a control device, interplane control device, control plane processor, CRC update device, computer device and or any other electrical apparatus, device or processor) including a plurality of sets of inputs, each of the plurality of sets of inputs to receive respective headers of a communication packet and old CRCs for the respective headers; a CRC calculator and a polynomial multiplier coupled to each of the set of inputs to calculate an updated CRC for each respective header based at least on respective old CRCs; and a compactor coupled to receive each updated CRC, to and to generate a final CRC for the communication packet. In Example 22, the subject matter of Example 21 can optionally further include wherein each of the plurality of sets of inputs includes an expander circuit to expand data from each respective header of the communication packet and to provide expanded data to the compactor. In Example 23, the subject matter of any of Examples 21 and 22 can optionally include circuitry to combine the updated CRCs for each respective header. In Example 24, the subject matter of Example 23 can optionally include wherein the circuitry to combine the updated CRCs comprises an exclusive OR (XOR) tree. In Example 25, the subject matter of Example 24 can optionally include wherein the XOR tree provides an output to the compactor for generating the final CRC. Example 26 include a mechanism (e.g., a hardware switch, fixed-logic silicon switch, etc.) comprising ingress ports for receiving a data packet having multiple headers; and control circuitry coupled to the ingress ports and configured to receive the packet, the old CRC, and a modified old header of the data packet, calculate a new CRC on the modified old header, generate an update for the CRC of the frame based on a CRC coefficient, and perform a compaction, and generate a final CRC for the communication packet based on the compaction. Example 27 includes subject matter include a method, the method comprising receiving a plurality of headers of a communication packet; calculating, based on a polynomial multiplier using a coefficient storage device, an updated CRC for each respective header; compacting each updated CRC, and data for the communication packet, into output lanes; and generating a final CRC, subsequent to the compacting. The above detailed description includes references to the accompanying drawings, which form a part of the detailed description. The drawings show, by way of illustration, specific embodiments that may be practiced. These embodiments are also referred to herein as “examples.” Such examples may include elements in addition to those shown or described. However, also contemplated are examples that include the elements shown or described. Moreover, also contemplate are examples using any combination or permutation of those elements shown or described (or one or more aspects thereof), either with respect to a particular example (or one or more aspects thereof), or with respect to other examples (or one or more aspects thereof) shown or described herein. Publications, patents, and patent documents referred to in this document are incorporated by reference herein in their entirety, as though individually incorporated by reference. In the event of inconsistent usages between this document and those documents so incorporated by reference, the usage in the incorporated reference(s) are supplementary to that of this document; for irreconcilable inconsistencies, the usage in this document controls. In this document, the terms “a” or “an” are used, as is common in patent documents, to include one or more than one, independent of any other instances or usages of “at least one” or “one or more.” In this document, the term “or” is used to refer to a nonexclusive or, such that “A or B” includes “A but not B.” “B but not A,” and “A and B,” unless otherwise indicated. In the appended claims, the terms “including” and “in which” are used as the plain-English equivalents of the respective terms “comprising” and “wherein.” Also, in the following claims, the terms “including” and “comprising” are open-ended, that is, a system, device, article, or process that includes elements in addition to those listed after such a term in a claim are still deemed to fall within the scope of that claim. Moreover, in the following claims, the terms “first,” “second,” and “third,” etc. are used merely as labels, and are not intended to suggest a numerical order for their objects. The above description is intended to be illustrative, and not restrictive. For example, the above-described examples (or one or more aspects thereof) may be used in combination with others. Other embodiments may be used, such as by one of ordinary skill in the art upon reviewing the above description. The Abstract is to allow the reader to quickly ascertain the nature of the technical disclosure and is submitted with the understanding that it will not be used to interpret or limit the scope or meaning of the claims. Also, in the above Detailed Description, various features may be grouped together to streamline the disclosure. However, the claims may not set forth features disclosed herein because embodiments may include a subset of said features. Further, embodiments may include fewer features than those disclosed in a particular example. Tus, the following claims are hereby incorporated into the Detailed Description, with a claim standing on its own as a separate embodiment. The scope of the embodiments disclosed herein is to be determined with reference to the appended claims, along with the full scope of equivalents to which such claims are entitled.TECHNICAL FIELD
BACKGROUND
BRIEF DESCRIPTION OF THE DRAWINGS
DETAILED DESCRIPTION
for (i=0; i<N; i++) crc=CRC_TABLE[crc{circumflex over ( )}data]{circumflex over ( )}(crc>>8); crc=(CRC_TABLE[N] * crc) MOD P
Wherein the * operator and the MOD operator occur in GF2[x].
packet=crc32= 0; //this is a 32-bit accumulator. crc64; //this is a temporary, 64-bit accumulator. for each segment (header[ ], pad_header[ ], pad_segment) { // pad previous segment crc32 to current end-of-segment rom_entry = CRC(1 <<8*pad_segment); crc64= crc32 * rom_entry; // polynomial multiplication // pad each header to end-of-segment if (first segment) for each header[i] { rom_entry = CRC(1 <<8*pad header[i]); // ROM lookup; i =0. .255 header_crc = CRC(header[i]); crc64 += rom_entry * header_crc; // polynomial multiplication and XOR } //final modulo reduction crc32 = CRC(crc64) } Additional Notes & Examples