A package includes a device die, a molding material molding the device die therein, a through-via penetrating through the molding material, and an alignment mark penetrating through the molding material. A redistribution line is on a side of the molding material. The redistribution line is electrically coupled to the through-via.
1. A method comprising:
forming a first dielectric layer; performing a plating process to form an alignment mark over the first dielectric layer; placing a device die over the first dielectric layer, wherein the placing is performed using the alignment mark for aligning a position of the device die; encapsulating the alignment mark in an encapsulant; and forming a plurality of redistribution lines electrically connecting to the device die, wherein the plurality of redistribution lines are formed using the alignment mark for aligning positions. 2. The method of forming a seed layer comprising a portion contacting the alignment mark; and plating a metallic material on the seed layer. 3. The method of 4. The method of forming a seed layer, wherein the seed layer is in physical contact with a metal pillar of the device die, and the seed layer is insulation from the alignment mark by a dielectric layer; and plating a metallic material on the seed layer. 5. The method of 6. The method of 7. The method of before the forming the plurality of redistribution lines, forming a second dielectric layer to cover the encapsulant and the alignment mark; and forming an opening exposing the device die, wherein one of the plurality of redistribution lines extends into the opening to connect to the device die, and wherein the forming the opening is performed using the alignment mark for alignment. 8. The method of 9. The method of 10. The method of 11. A method comprising:
forming a first redistribution line; forming an alignment mark over and electrically connecting to the first redistribution line, wherein the forming the alignment mark comprises plating; depositing a dielectric layer over the alignment mark; and forming a plurality of redistribution lines comprising first portions over the dielectric layer, and second portions extending into the dielectric layer, wherein the plurality of redistribution lines are formed using the alignment mark for aligning, and wherein at a time after the plurality of redistribution lines is formed, the alignment mark is fully covered by the dielectric layer. 12. The method of forming a plurality of openings in the dielectric layer, with the second portions of the plurality of redistribution lines being in the plurality of openings, wherein the forming the plurality of openings is performed using the alignment mark for aligning positions. 13. The method of 14. The method of 15. The method of 16. A method comprising:
forming an alignment mark; encapsulating a device die and the alignment mark in an encapsulant; forming a first dielectric layer over and contacting the device die and the alignment mark; and forming a plurality of redistribution lines over the encapsulant, with the alignment mark used for aligning positions of the plurality of redistribution lines, wherein the plurality of redistribution lines comprise a portion extending into the first dielectric layer to contact a top surface of a metal pillar in the device die, and after the plurality of redistribution lines are formed, the alignment mark is electrically floating. 17. The method of forming a first redistribution line; forming a second dielectric layer covering the first redistribution line; and forming a via in the second dielectric layer, wherein the alignment mark is over and contacting the via. 18. The method of 19. The method of 20. The method of
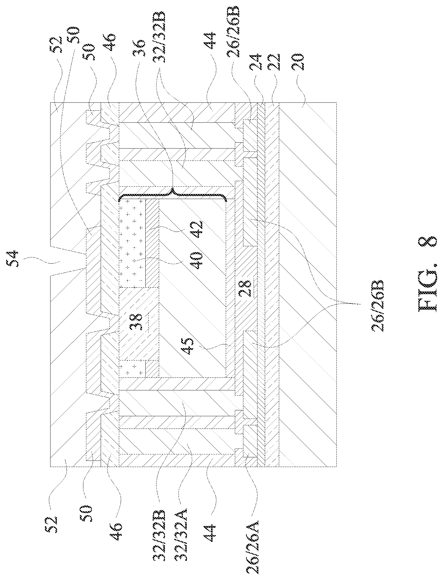
This application is a continuation of U.S. patent application Ser. No. 15/596,593, entitled “Alignment Mark Design for Packages,” filed on May 16, 2017, which is a continuation of U.S. patent application Ser. No. 14/465,474, entitled “Alignment Mark Design for Packages,” filed on Aug. 21, 2014, now U.S. Pat. No. 9,666,522 issued May 30, 2017, which claims the benefit of Provisional Application No. 62/004,365, filed May 29, 2014, and entitled “Through Integrated Fan-out Via Alignment Mark Structure,” which applications are hereby incorporated herein by reference. The fabrication of modern circuits typically involves several steps. Integrated circuits are first fabricated on a semiconductor wafer, which contains multiple duplicated semiconductor chips, each comprising integrated circuits. The semiconductor chips are then sawed from the wafer and packaged. The packaging processes have two main purposes: to protect delicate semiconductor chips and connect interior integrated circuits to exterior pins. With the increasing demand for more functions, Package-on-Package (PoP) technology, in which two or more packages are bonded to expand the integration ability of the packages, was developed. With a high degree of integration, the electrical performance of the resulting PoP package is improved due to the shortened connecting paths between components. By using PoP technology, package design becomes more flexible and less complex. Time-to-market is also reduced. In accordance with some aspect of the present disclosure, a package includes a device die, a molding material molding the device die therein, a through-via penetrating through the molding material, and an alignment mark penetrating through the molding material. A redistribution line is on a side of the molding material. The redistribution line is electrically coupled to the through-via. Other embodiments are also disclosed. The advantageous features of the present disclosure include improved accuracy in alignment without incurring additional manufacturing cost. Aspects of the present disclosure are best understood from the following detailed description when read with the accompanying figures. It is noted that, in accordance with the standard practice in the industry, various features are not drawn to scale. In fact, the dimensions of the various features may be arbitrarily increased or reduced for clarity of discussion. The following disclosure provides many different embodiments, or examples, for implementing different features of the invention. Specific examples of components and arrangements are described below to simplify the present disclosure. These are, of course, merely examples and are not intended to be limiting. For example, the formation of a first feature over or on a second feature in the description that follows may include embodiments in which the first and second features are formed in direct contact, and may also include embodiments in which additional features may be formed between the first and second features, such that the first and second features may not be in direct contact. In addition, the present disclosure may repeat reference numerals and/or letters in the various examples. This repetition is for the purpose of simplicity and clarity and does not in itself dictate a relationship between the various embodiments and/or configurations discussed. Further, spatially relative terms, such as “underlying,” “below,” “lower,” “overlying,” “upper” and the like, may be used herein for ease of description to describe one element or feature's relationship to another element(s) or feature(s) as illustrated in the figures. The spatially relative terms are intended to encompass different orientations of the device in use or operation in addition to the orientation depicted in the figures. The apparatus may be otherwise oriented (rotated 90 degrees or at other orientations) and the spatially relative descriptors used herein may likewise be interpreted accordingly. Dielectric layer 24 is formed on release layer 22. In some embodiments, dielectric layer 24 is formed of a polymer, which may also be a photo-sensitive material such as polybenzoxazole (PBO), polyimide, benzocyclobutene (BCB), or the like, that may be easily patterned using a photo lithography process. In alternative embodiments, dielectric layer 24 is formed of a nitride such as silicon nitride, an oxide such as silicon oxide, PhosphoSilicate Glass (PSG), BoroSilicate Glass (BSG), Boron-doped PhosphoSilicate Glass (BPSG), or the like. Referring to Referring to Referring to Through-vias 32 includes 32A and 32B. In accordance with some embodiments of the present disclosure, through-vias 32A are placed outside design area 34. In accordance with alternative embodiments, through-vias 32A may also be placed inside design area 34. In some embodiments, through-vias 32A may have a different top-view shape and/or size from through-vias 32B for easy identification. For example, as shown in In some exemplary embodiments, metal pillar(s) 38 (such as a copper post) are pre-formed as the topmost portion of device die 36, wherein metal pillar 38 is electrically coupled to the integrated circuit devices such as transistors in device die 36. In some embodiments, a polymer fills the gaps between neighboring metal pillars 38 to form top dielectric layer 40, wherein top dielectric layer 40 may also be on top of and contact passivation layer 42. Polymer layer 40 may be formed of PBO in some embodiments. In some embodiments, passivation layer 42 comprises silicon nitride, silicon oxynitride, silicon oxide, or multi-layers thereof. Next, molding material 44 is molded on device die 36. Molding material 44 fills the gaps between neighboring through-vias 32 and the gaps between through-vias 32 and device die 36. Molding material 44 may include a molding compound, a molding underfill, an epoxy, or a resin. The top surface of molding material 44 is higher than the top ends of metal pillar 38. Next, a planarization such as a Chemical Mechanical Polish (CMP) step or a grinding step is performed to thin molding material 44 until through-vias 32 and metal pillar 38 are exposed. Due to the grinding, the top ends of through-vias 32 are substantially level (coplanar) with the top surfaces of metal pillars 38, and are substantially coplanar with the top surface of molding material 44. Referring to In accordance with some embodiments, the formation of openings 48 is also performed using alignment marks 32A as alignment marks so that openings 48 may be accurately aligned to the respective through-vias 32 and metal pillar 38. Next, referring to Referring to As shown in Next, package 100 is de-bonded from carrier 20. Adhesive layer 22 is also cleaned from package 100. The resulting structure is shown in Tape 68 is then adhered onto dielectric layer 24, which is exposed. Laser marking is then performed on tape 68 to form identification marks 70. Identification marks 70 are hence the recesses in tape 68 and may carry the identification information of the respective package. Identification marks 70 may include letters, number, or other identifiable patterns. The formation of identification marks 70 may be performed through laser drilling. Referring to In subsequent steps, carrier 64 and adhesive 66 are removed from package 100. A die saw step is performed to saw package 100 into a plurality of packages 102, each including device die 36, through-vias 32B, and alignment marks 32A. In the die-saw step in accordance with some embodiments, kerves 74 are kept away from alignment marks 32A. Accordingly, the resulting package 102 includes both alignment marks 32A and through-vias 32B. In the package 102 as shown in Alignment marks 32A are outside of scribe lines 104 and hence will not be sawed. This is advantageous since alignment marks 32A have a height equal to the thickness of device die 36 ( In accordance with some embodiments, diameter D1 (or the length and the width of through-vias 32B) is in the range between about 150 μm and about 300 μm. The length L1 and width W1 of alignment marks 32A are in the range between about 100 μm and about 300 μm. Distance D2 and D3 between alignment marks 32A and scribe lines 104 are equal to or greater than the respective length L1 and width W1 of alignment marks 32A. It is appreciated, however, that the values recited throughout the description are merely examples and may be changed to different values. In the embodiments shown in In In each of The embodiments of the present disclosure have some advantageous features. By forming the alignment marks for each of the plurality of packages, the device dies may be accurately placed. The shifting and the rotation of the device dies relative to the through-vias are thus substantially eliminated or at least reduced. Furthermore, the alignment marks are formed at the same time the through-vias (for electrical connections) are formed, and hence no extra manufacturing cost is incurred. In accordance with some embodiments of the present disclosure, a package includes a device die, a molding material molding the device die therein, a through-via penetrating through the molding material, and an alignment mark penetrating through the molding material. A redistribution line is on a side of the molding material. The redistribution line is electrically coupled to the through-via. In accordance with alternative embodiments of the present disclosure, a package includes a device die including a metal pillar at a surface of the device die, a plurality of through-vias surrounding the device die, and an alignment mark. The alignment mark is electrically floating. A molding material molds the device die, the alignment mark, and the plurality of through-vias therein. A first plurality of redistribution lines is on a first side of the molding material. A second plurality of redistribution lines is on a second side of the molding material, with the second side being opposite to the first side. The first plurality of redistribution lines is electrically coupled to the second plurality of redistribution lines through the plurality of through-vias. In accordance with yet alternative embodiments of the present disclosure, a method includes forming a through-via and an alignment mark simultaneously as well as placing a device die adjacent to the through-via and the alignment mark. The step of placing is performed using the alignment mark for alignment. The method further includes molding the through-via, the alignment mark, and the device die in a molding material and performing a planarization to expose the through-via, the alignment mark, and a metal pillar of the device die. A plurality of redistribution lines is formed to electrically connect to the through-via and the metal pillar of the device die. The foregoing outlines features of several embodiments so that those skilled in the art may better understand the aspects of the present disclosure. Those skilled in the art should appreciate that they may readily use the present disclosure as a basis for designing or modifying other processes and structures for carrying out the same purposes and/or achieving the same advantages of the embodiments introduced herein. Those skilled in the art should also realize that such equivalent constructions do not depart from the spirit and scope of the present disclosure, and that they may make various changes, substitutions, and alterations herein without departing from the spirit and scope of the present disclosure.PRIORITY CLAIM AND CROSS-REFERENCE
BACKGROUND
BRIEF SUMMARY OF THE INVENTION
BRIEF DESCRIPTION OF THE DRAWINGS
DETAILED DESCRIPTION