A first user equipment (UE)—during a real time text (RIT) communication session with a second UE—may make a control function available to a local user of the first UE, who may invoke the control function to break up his/her RTT content within organized conversation bubbles. In an example process, after displaying first text character(s)—which was input by the local user—within a first conversation bubble designated for the first UE (or the local user thereof), the first UE may detect an invocation of the control function, followed by additional user input requesting to type one or more second text characters. Invocation of the control function prior to the additional user input requesting to type the second text character(s) may cause the first UE to display the second text character(s) within a second conversation bubble designated for the first UE, rather than the first conversation bubble.
1. A user equipment (UE) comprising:
a processor; an input device; a network interface; a display; and memory storing computer-executable instructions that, when executed by the processor, cause a first UE to, during a real time text (RT) communication session:
detect, via the input device, a first user input generating first RT content; display, on the display, the first RTT content with a designation for the first UE; send, without user intervention and in response to a predetermined event, at least one RTT packet of multiple RT packets to a second UE, the at least one RT packet comprised of the first RT content; detect, after sending the at least one RT packet and via the UE, a second user input invoking a control mechanism; detect a third user input generating second RT content; and display, on the display and based at least in part on the control mechanism, the second RT content, separate from the first RTT content, with the designation for the first UE. 2. The UE of receive, after sending the at least one RT packet, at least one received RT packet associated with the second UE and including received RTT content; display, on the display, the received RT content with a designation for the second UE; and send, to the second UE, a notification that the control mechanism was invoked at the UE. 3. The UE of 4. The UE of a RTT packet carrying one or more control characters; the RIT packet carrying the one or more control characters with a marker bit (m-bit) included in the RT packet; or the RIT packet carrying the m-bit and no control characters. 5. The first UE of receive, from the second UE, a RT packet carrying RT content generated by a user of the second UE; detect, via the input device, fourth user input generating third RT content; determine that a time period from receiving the RT packet to detecting the fourth user input exceeds a threshold time period; display, based at least in part on the time period exceeding the threshold time period, the third RIT content, separate from the first RIT content and the second RUT content, with the designation for the first UE; and send, without user intervention and in response to the predetermined event, at least one third RUT packet of the multiple RUT packets to the second UE, the at least one third RUT packet comprised of the third RUT content. 6. The first UE of receive, before detecting the first user input, at least one received RUT packet carrying third RUT content generated by a user of the second UE; display, before detecting the first user input, the third RUT content with a designation for the second UE; receive, after sending the at least one RTT packet, at least one additional received RTT packet carrying fourth RTT content generated by the user of the second UE; determine the third RTT content has moved outside a defined boundary of a RTT conversation area; and display, based at least in part on the third RTT content having moved outside of the defined boundary of the RTT conversation area, the fourth RTT content, separate from the third RTT content, with the designation for the second UE. 7. The first UE of the input device comprises a touch screen; the control mechanism is visually represented on the display during the RTT communication session by a selectable element presented on the display; and detecting the second user input invoking the control mechanism comprises detecting, based on touch input received via the touch screen, a selection of the selectable element. 8. A method to be implemented by a first user equipment (UE), during a real time text (RTT) communication session, the method comprising:
detecting, via an input device associated with the first UE, one or more first user inputs; sending, without user intervention and at a predetermined frequency, at least one first RTT packet of multiple RTT packets, the at least one first RTT packet comprising at least a first user input of the one or more first user inputs; detecting, via the input device, one or more second user inputs; determining, based at least in part on the one or more first user inputs and the one or more second user inputs, whether a control mechanism has been satisfied; and sending, without user intervention and at a predetermined frequency, at least one second RTT packet of the multiple RTT packets, the at least one second RTT packet comprising at least a second user input of the one or more second user inputs. 9. The method of detecting, via the input device and after sending the at least one first RTT packet, an indication of a control function, the control function comprising at least one of:
a soft button, displayed by the first UE and selectable by a user of the first UE, including an identifying characteristic; a hard button, included by the first UE and selectable by the user; or a voice command, detectable by the UE and determined by the user. 10. The method of receiving, from a second UE and after sending the at least one first RTT packet, at least one received RTT packet, the at least one received RTT packet including one or more received inputs; and determining that a time period between receiving the at least one received RTT packet and detecting the one or more second user inputs exceeds a time period threshold. 11. The method of determining whether an event has occurred, wherein the event is at least one of the following:
receiving at least one RTT packet from a second UE; detecting the one or more first user inputs; and determining that the user has finished the one or more first user inputs; and determining that a time period between the event and detecting the one or more second user inputs exceeds a time period threshold. 12. The method of determining that the one or more first user inputs have moved from a location at least partially within a RIT conversation area to a second location outside the RIT conversation area. 13. The method of determining, by the first UE and prior to detecting the one or more first user inputs, that a second UE is not RT-capable, but is RT-to-teletypewriter (TTY) capable; establishing the RTT communication session as a TTY communication session with RTT-to-TTY transcoding; and sending, prior to the at least one second RTT packet and based at least in part on the second UE being TTY-capable, a RTT packet carrying one or more displayable text characters indicating that the control mechanism has been invoked at the first UE. 14. The method of 15. The method of setting a marker bit (m-bit) in the at least one second RTT packet; and sending the at least one second RTT packet comprising at least the second user input along with the m-bit, the m-bit acting as a notification that the control mechanism is satisfied at the first UE. 16. A method to be implemented by a first user equipment (UE), the method comprising, during a real time text (RTT) communication session:
receiving, without user intervention and at a predetermined frequency, at least one first RTT packet of multiple RTT packets transmitted from a second UE, the at least one first RTT packet including a received content; designating, with a designation, the received content as associated with the second UE; receiving, from the second UE, an indication that a control mechanism was triggered by the second UE; receiving, without user intervention and at the predetermined frequency, at least one second RIT packet of the multiple RIT packets that are transmitted from the second UE, the at least one second RIT packet including a second received content; and designating, with a second designation and based in part on the indication received before the at least one second RTT packet, the second received content as associated with the second UE. 17. The method of before the receiving of the at least one second RTT packet:
detecting, via an input device of the first UE, a first user content; and designating, with a third designation, the first user content as associated with the first UE; and wherein the designating, with the second designation, the second received content as associated with the second UE is further based on determining that the first user content is designated as associated with the first UE upon receiving the second RT packet. 18. The method of 19. The method of wherein the receiving of the indication comprises receiving, from the second UE, at least one of:
a RTT packet carrying one or more control characters; the RTT packet carrying the one or more control characters with a marker bit (m-bit) included in the RTT packet; or the RTT packet carrying no control characters, but including the m-bit. 20. The method of
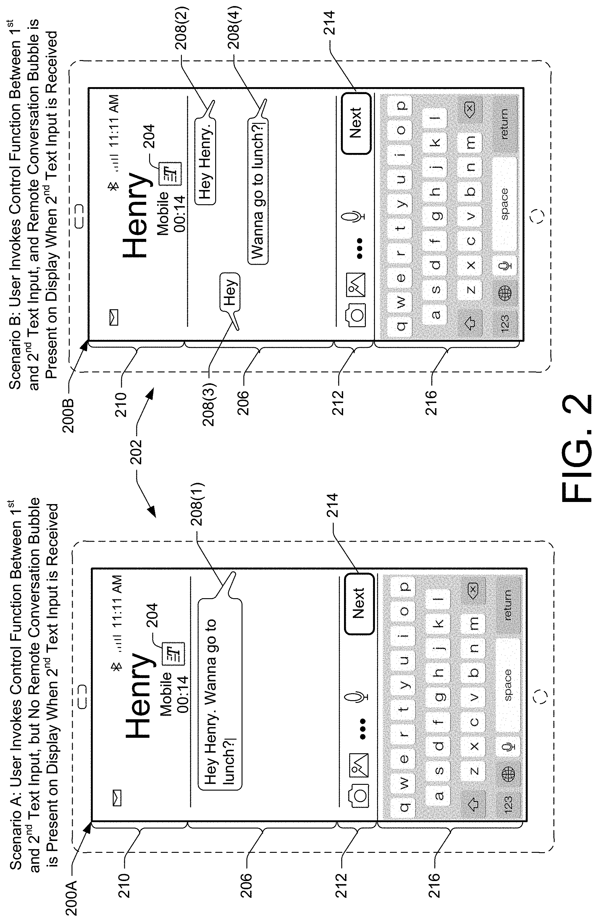
This application is a continuation of, and claims priority to, co-pending, commonly-owned, U.S. patent application Ser. No. 15/828,322, filed on Nov. 30, 2017, which claims priority filing benefit from U.S. Provisional Patent Application No. 62/531,732, filed Jul. 12, 2017, and to U.S. Provisional Patent Application No. 62/564,873, filed Sep. 28, 2017. Application Ser. Nos. 15/828,322, 62/531,732, and 62/564,873 are fully incorporated herein by reference. Real time text (RT) allows for a near instantaneous transmission of text content between Internet Protocol (IP)-based terminals. As a user of a source device types a RTT message, the text content of the RTT message is (without providing a “send” button for the user to select) transmitted to, and displayed on, a destination device in real-time. The transmission of text content can occur character-by-character such that the user of the destination device may see each character appear on the display of the destination device in real-time, as the characters are typed by the user of the source device. This near instantaneous transmission of text content resembles a more natural conversation that is preferred by the hearing and speech impaired over traditional text messaging (e.g., Short Message Service (SMS) text). However, this near instantaneous transmission of text content can also cause challenges in presenting the text content on a display in a way that is user-friendly and easy for a user to visually follow the written conversation. For instance, if RIT content is to be displayed within conversation bubbles using a “strictly sequential” approach for displaying text characters as they are received by the device (either through direct user input or over a network from another device), the resulting written conversation may be displayed in an overly interrupted or fragmented manner that is difficult, if not impossible, to follow. Using this strictly sequential approach, phrases, and even individual words, may be fragmented across the display in multiple conversation bubbles, rendering words illegible and phrases difficult to piece together. For example, text characters of a single word may be distributed across different conversation bubbles on the display because each party of the conversation may be typing at nearly the same time, interrupting the other party's thought. In an extreme example, during a RTT session between User A and User B, User A may type a text character of a word, which is displayed in a first conversation bubble at the top of the screen, which is followed by User B typing a text character of a word, which is displayed in a different conversation bubble below User A's first conversation bubble, which is followed by User A typing yet another text character of the same, original word, which is displayed in yet another conversation bubble below User B's conversation bubble, and so on and so forth. It can be appreciated that a written RTT conversation can appear extremely fragmented and illegible on a display using a strictly sequential approach, as described above. At the other extreme, if each user's RTT content were to be displayed in a single conversation bubble designated for each user, the written conversation would lose its natural back-and-forth sequence, which, in its own right, makes the written conversation difficult, if not impossible to follow on a display. Traditional messaging applications, like SMS, do not experience these challenges because text content of traditional messaging applications is not transmitted over the network unless and until a user selects the “send” button. Thus, in traditional messaging applications (i.e., non-RTT messaging applications) a user can type out a complete thought before deciding to select the “send” button. Upon selecting the send button, a conversation bubble is created containing the user's complete thought. In RT communication sessions, the omission of this “send” button, coupled with the fact that text content is transmitted in real-time (i.e., near instantaneous transmission of text content), without user intervention, presents unique challenges to presenting a written RT conversation using conversation bubbles such that the written conversation is easy for a user to visually follow on a display. The detailed description is set forth with reference to the accompanying figures, in which the left-most digit of a reference number identifies the figure in which the reference number first appears. The use of the same reference numbers in different figures indicates similar or identical items or features. Described herein are, among other things, techniques and systems for controlling when and how real time text (RT) content is partitioned and displayed within conversation bubbles on a display of a user equipment (UE). RIT allows users to enter content (e.g., by typing text content) at a UE, and the UE is configured to display the content on a display, as well as transmit the content, in real-time, to another UE for display thereon. For instance, a first UE may display text content that is input by a local user within a conversation bubble(s) designated for the first UE (or the local user thereof), while displaying text content received from a second, remote UE within a conversation bubble(s) designated for the second UE (or the remote user thereof). Described herein are control mechanisms that can be utilized by a UE, such as the first UE and/or the second UE, in order to partition the RIT content exchanged during a RIT communication session so that the RTT content can be organized in a logical manner within conversation bubbles on a display. One such control mechanism may comprise a control function that a UE makes available to a local user thereof, and which may be invoked (e.g., selected) by the local user in order to partition his/her RTT content and display the portioned content within separate, organized conversation bubbles. This may occur locally on the UE of the local user, and the UE of the local user may also be configured to notify a second UE (of the remote user) to display the local user's RIT content in the same, or a similar, way on the second UE. This lets the local user dictate when and how his/her RT content is to be broken up among separate conversation bubbles in a written conversation presented on a display. In an example process, after displaying a first text character(s)—which was input by the local user—within a first conversation bubble designated for the first UE (or the local user thereof), the first UE may detect user input requesting invocation of the control function, followed by additional user input requesting to type one or more second text characters. Invocation of the control function prior to detecting the additional user input requesting to type the second text character(s) may cause the first UE to display the second text character(s) within a second conversation bubble designated for the first UE, rather than displaying the second text character(s) within the first conversation bubble that contains the first text character(s). By providing the user with a control function usable to partition RTT content so that it is displayed within separate, organized conversation bubbles, the user can dictate when and how RT content (e.g., text content) is broken up amongst conversation bubbles on the display. In the above example, the local user invoked the control function in order to display the first text character(s) and the second text character(s) in respective conversation bubbles on the display. In this manner, a written conversation can be presented in a way that is legible and easy for a user to follow (e.g., to determine who said what, and when it was said during the conversation) without fragmenting individual words across multiple conversation bubbles, and while still preserving the natural back-and-forth sequence of the conversation. In some embodiments, the first UE may be configured to determine a presence, on the display of the first UE, of a conversation bubble designated for the second UE (or the remote user thereof) before allowing a local user's invocation of the control function to cause the local user's text content to be partitioned and displayed in separate conversation bubbles designated for the first UE (or the local user thereof). In this embodiment, and continuing with the above example, the first UE may be configured to display the second text character(s) within the second conversation bubble designated for the first UE (or the local user thereof) if two conditions are met at a time when the local user inputs the second text character(s). The first condition to be met in this example is that the control function has been invoked by the local user prior to the local user inputting the second text character(s). The second condition to be met in this example is that an active conversation bubble designated for the second UE (or the remote user thereof) is present on the display at a time when the local user inputs the second text character(s). If these two conditions are not met at a time when the local user inputs the second text character(s), the first UE may be configured to display the second text character(s) within the same, first conversation bubble that contains the first text character(s). This additional control mechanism may be utilized for finer-tuned control over when and how RT content is to be partitioned amongst separate conversation bubbles. It is to be appreciated that the techniques and systems described herein may improve the display functionality of a computing device (e.g., a UE), as compared to existing methods of displaying RTI content during a RTI communication session. As noted above, following a “strictly sequential” approach to displaying RTT content can result in an overly fragmented presentation of content, rendering text content illegible in some cases. At the other extreme, displaying all of a user's RTT content in a single conversation bubble designated for that user loses the natural back-and-forth of a conversation, making it difficult to follow along with the written conversation (i.e., determine who said what, and when it was said during the conversation). The techniques and systems described herein allow for logically breaking up RTT content within organized conversation bubbles so that a user can easily, and intuitively, follow along with a written conversation during a RTT communication session. The techniques and systems described herein may further allow one or more devices to conserve resources with respect to communications bandwidth resources, processing resources, memory resources, power resources, and/or other resources. Additional technical effects can also be realized from an implementation of the technologies disclosed herein. Also described herein are systems and devices comprising one or more processors and one or more memories, as well as non-transitory computer-readable media storing computer-executable instructions that, when executed, by one or more processors perform various acts and/or processes disclosed herein. In accordance with various embodiments described herein, the terms “user equipment (UE),” “communication device,” “device,” “wireless communication device,” “wireless device,” “mobile device,” “terminal,” “wireless terminal,” “mobile terminal,” and “client device.” may be used interchangeably herein to describe any UE, such as the UE 102, that is capable of transmitting/receiving data. wirelessly and/or over wired networks, using any suitable communications/data technology, protocol, or standard, such as Global System for Mobile Communications (GSM), Time Division Multiple Access (TDMA), Universal Mobile Telecommunications System (UMTS), Evolution-Data Optimized (EVDO), Long Term Evolution (LTE), Advanced LTE (LTE+), Generic Access Network (GAN), Unlicensed Mobile Access (UMA), Code Division Multiple Access (CDMA), Orthogonal Frequency Division Multiple Access (OFDM), General Packet Radio Service (GPRS), Enhanced Data GSM Environment (EDGE), Advanced Mobile Phone System (AMPS), High Speed Packet Access (HSPA), evolved HSPA (HSPA+), Voice over IP (VoIP), Voice over LTE (VoLTE), IEEE 802.1x protocols, WiMAX, Wi-Fi, Data Over Cable Service Interface Specification (DOCSIS), digital subscriber line (DSL), and/or any future IP-based network technology or evolution of an existing IP-based network technology. Furthermore, the UE 102 may be implemented as any suitable type of communication device configured to communicate over a telecommunications network, including, without limitation, a mobile phone (e.g., a smart phone), a tablet computer, a laptop computer, a portable digital assistant (PDA), a wearable computer (e.g., electronic/smart glasses, a smart watch, fitness trackers, etc.), an in-vehicle (e.g., in-car) computer, and/or any similar communication device. In addition, the UE 102 may be a mobile device, or it may be non-mobile (or situated) communication devices including, without limitation, a television (smart television), a set-top-box (STB), a game console, a desktop computer, and the like. In the example of It is to be appreciated that the local user of the first UE 102 in Referring again to The example of The conversation bubbles 108 that are displayed within the RT conversation area 106 may include RTT content, such as text content (e.g., text characters), that is input by the local user, as well as RTT content that is received in packets from the second UE over a telecommunications network. As used herein, “RT content” refers to any suitable type of digital content that can be exchanged via a RT media stream during a RTT communication session, such as a RTT call. Although text content (e.g., typographical text characters, such as letters, numbers, words, phrases, symbols, etc.) is an exemplary type of RTT content that can be exchanged via RT packets, it is to be appreciated that other types of RTT content can include, without limitation, image content (e.g., digital pictures, photos, etc.), video content, multimedia content, graphical content, geolocation content (e.g., a digital map indicating a geographic location of a UE), contacts/address book content, calendar content, recorded audio content (e.g., audio clips), and/or other types of digital files that include content. For example, the local user of the first UE 102 may select an enhanced content icon within the middle portion 112 of the user interface 100A/B in order to insert image content, video content, audio content, text content converted from speech-to-text, or the like. Many of the examples described herein are provided with respect to text content for ease of illustration, although it is to be appreciated that RTT content is not limited to text content. In Scenario A of In Scenario A of By contrast, Scenario B of In Scenario B, as the local user continues to type the text characters of the RTT message (e.g., “e”, followed by “y”, followed by “space”, followed by “H”, and so on), the text characters may be displayed within the conversation bubble 108(2) that was initially created when the first text character “H” was typed by the local user. In Scenario B, however, after the local user types the text punctuation character “.” following the word “Henry”, the local user invokes the control function 114 by selecting the selectable element 114. The selectable element 114 is shown in Although touch-based input can be utilized to input (e.g., type) text characters, touch-based typing of text characters is merely one exemplary form of user input that may be utilized in order to input text content of a RTT message. Accordingly, it is to be appreciated that a user may utilize other forms of input, such as voice input (detected via a microphone of the first UE 102) to input text characters. In Scenario B, for example, the first UE 102 may include voice recognition software to transform speech that is detected by the microphone(s) of the first UE 102 into text, which may allow the local user to utter the phrase “Hey Henry,” followed by the user uttering the word “Next” (to invoke the control function 114), followed by the user uttering the phrase “Wanna go to lunch?”. By contrast, in Scenario B, the local user may type the same message as described in Scenario A, the difference being that the remote user in Scenario B types the word “Hey” after the local user started typing the first portion of text content (e.g., “Hey Henry.” in Thus, in Scenario A of By contrast, in Scenario B of In this manner, For example, as shown in Scenario A of Consider a scenario where the remote user is in the middle of typing the message “My address is 4324 Glendale Drive” when the local user of the first UE 402 provides user input to the first UE 402 requesting to type the text characters that are displayed in the second conversation bubble 408(2) designated for the first UE 402 (or the local user thereof). For example, the remote user may have only finished typing “My address is” when the local user started typing the message shown in the second conversation bubble 408(2) designated for the first UE 402 (or the local user thereof). In Scenario A of By contrast, in Scenario B of As shown in In some embodiments, the RTT media stream is assigned a QoS Class Identifier (QCI) value that is suitable for real time transmission, such as a QCI value of 1, as defined in LTE. This QCI value may correspond to the QoS that is the same QoS given to voice data during a communication session. QCI is a scalar denoting a set of transport characteristics (e.g., bearer with/without guaranteed bit rate (GBR), priority, packet delay budget, packet error loss rate, etc.) and is used to infer specific parameters related to packet forwarding (e.g., scheduling weights, admission thresholds, queue management thresholds, link-layer protocol configuration, etc.). The Internet Engineering Task Force (IETF) Request for Comments (RFC) 4103 sets forth a technical specification for carrying text content of an RTT message in RTP packets. The Alliance for Telecommunication Industry Solutions (ATIS) 0700029 sets forth an additional technical specification for certain aspects of the mobile device behavior for handling RTT to facilitate communication between mobile devices (including emergency services) across multiple Commercial Mobile Service Providers (CMSPs). Unless otherwise specified, RTT content carried in RTT packets, such as the RTT packets 512, can be transmitted as part of a RTT media stream using the same or similar details (e.g., techniques, parameters, etc.) specified in the IETF RFC 4103 and/or ATIS 0700029 specifications. As shown in The inclusion of the m-bit 514 in the first RTT packet of the RTT packets 144 may serve as a notification to the second UE 500 to create a new conversation bubble 108/208/308/408 designated for the first UE 502 (or the local user thereof) on the display of the second UE 500. This is why the m-bit 514 may be included in the very first RTT packet 512 carrying the very first text character of the message typed at 508 by the local user at the first UE 502. Accordingly, at 516, the second UE 500 may receive the first RTT packet of the RTT packets 512 along with the m-bit 514, and may respond by displaying the first text character(s) in a first conversation bubble 108/208/308/408 designated for the first UE 502 (or the local user thereof). At 518, the second UE 500 may detect, via an input device of the second UE 500, user input provided by the user of the second UE 500 requesting to type one or more text characters. At 520, in response to detecting the user input at 518, the second UE 500 may display the text character(s) typed by the remote user of the second UE 500 in a conversation bubble 108/208/308/408 designated for the second UE 500 (or the remote user thereof), which is a different bubble than the initial conversation bubble 108/208/308/408 designated for the first UE 502 (or the local user thereof). In addition, the second UE 500 may send, via a network interface of the second UE 500, and over the telecommunications network 504 to the first UE 502, RT packets 522, individual ones of the RTT packets 522 carrying the text character(s) typed by the remote user of the second UE 500 at 518. Again, multiple RTT packets, such as the RTT packets 522, may be transmitted, without user intervention, at a predetermined frequency to enable real-time transmission of text content between the UEs 502/500. The second UE 500 is also configured to send a very first RTT packet of the RTT packets 522, which carries the first text character typed at 518, along with a m-bit 514. The first UE 502 may receive the RTT packets 522, including a first-received RTT packet of the RTT packets 522 that includes the m-bit 514, which indicates to the first UE 502 that the text characters carried by the RTT packets 522 including, and following, the first-received RTT packet, are to be displayed in a new conversation bubble 108/208/308/408 designated for the second UE 500 (or the remote user thereof). Thus, at 524, the first UE 502 may display the text character(s) typed by the remote user of the second UE 502 at 518 within a conversation bubble 108/208/308/408 designated for the second UE 502 (or the remote user thereof) on a display of the first UE 502. The local user of the first UE 502 may then invoke a control function 114/214/314/414 (e.g., by selecting a selectable element 114/214/314/414 to invoke the control function). At 526, the first UE 502 detects this user input invoking the control function 114/214/314′414. In the example of Accordingly, at 528, the first UE 502 may detect, via the input device (e.g., a touchscreen) of the first UE 502, second user input. The second user input detected at 528 may include user input requesting to type one or more second text characters of a RTT message. In response to detecting this second user input at 528, and because the second user input detected at 528 was detected after detecting the user input at 526 requesting invocation of the control function 114/214/314/414, the first UE 502 may display, at 530, the second text character(s) in a second conversation bubble 108/208/308/408 designated for the first UE 502 (or the local user thereof), which is different from the first conversation bubble containing the first text character(s) displayed at 510. Furthermore, because the local user invoked the control function 114/214/314/414 prior to typing the second text character(s), the first UE 502 may send a very first RTT packet of multiple RTT packets 532 along with a m-bit 514 to notify the second UE 500 that the control function 114/214/314/414 was invoked at the first UE 502, and that the second UE 500 is to display the second text character(s) carried by the RTT packets 532 within a new conversation bubble 108/208/308/408 designated for the first UE 502 (or the local user thereof) on the display of the second UE 500. Accordingly, the second UE 500, upon receiving the first RTT packet of the RTT packets 532 with the m-bit 514, may display the second text character(s) carried by that first-received RTT packet, and by the following RTT packets 532, within a new conversation bubble 108/208/308/408 designated for the first UE 502 (or the local user thereof) on the display of the second UE 500. Thus, As shown at 602, the RIT packets 512 sent by the first UE 502 to the second UE 500 in As shown at 604, at some point in time after the transmission of the RTT packets 512 shown in 602, the first UE 502 may send additional RT packets 532 carrying additional text characters. Referring briefly again to Upon receipt of the RTT packet 728, the second UE 700 may, at 730, display an empty conversation bubble 108/208/308/408 designated for the first UE 702 (or the local user thereof) because the RT packet 728 may not carry any displayable text characters, as described above. Thus, the second UE 700 may display the conversation bubble 108/208/308/408 designated for the first UE 702 (or the local user thereof) without any text characters, and may wait for a following RTT packet that includes one or more text characters typed by the local user of the first UE 702 before displaying those text characters. At 732, the first UE 702 may detect user input requesting to type one or more text characters, and the first UE 702 may, at 734, display the text character(s) within a conversation bubble 108/208/308/408 designated for the first UE 702 (or the local user thereof) on a display of the first UE 702. The first UE 702 may also send multiple RI packets 736 at a predetermined frequency, individual ones of the RT packets 736 carrying the text character(s) typed by the local user at the first UE 702. The second UE 700 may receive the RTT packets 736 carrying the text character(s) typed by the local user at the first UE 702, and may, at 738, display the text character(s) typed by the local user at the first UE 702 within the conversation bubble 108/208/308/408 that was previously-created and displayed at 730. Thus, In Thus, during a setup of the communication session involving the first and second UEs 802/800, the first UE 802 may determine that the second UE 800 is not RTT-capable, but is TTY-capable. The first UE 802 may make this determination based at least in part on an omission of a feature tag from a Session Initiation Protocol (SIP) response received by the first UE 802 during a session setup of the communication session. The feature tag omitted from the SIP response may be used to indicate that a UE supports the exchange of content via RTT messages, which means that the second, TTY-capable UE 800 would not include this feature tag in a SIP response during setup of the communication session, seeing as how the second UE 800 does not have this capability. Accordingly, when the user invokes the control function 814 after typing the message “Hey Henry”, the first UE 802 may be configured to send, over the telecommunications network 804 to the second UE 800, a RT packet carrying one or more displayable text characters (e.g., the displayable text characters “GA”). When the second UE 800 receives transcoded TTY messages with the text characters for the control characters “GA” following the receipt of TTY messages for the message “Hey Henry,” the second UE displays the text characters “GA” following the message “Hey Henry,” which indicates, to the remote user of the second UE 800, that the control function 814 has been invoked at the first UE 802. The processes described in this disclosure may be implemented by the architectures described herein, or by other architectures. These processes are illustrated as a collection of blocks in a logical flow graph. Some of the blocks represent operations that can be implemented in hardware, software, or a combination thereof. In the context of software, the blocks represent computer-executable instructions stored on one or more computer-readable storage media that, when executed by one or more processors, perform the recited operations. Generally, computer-executable instructions include routines, programs, objects, components, data structures, and the like that perform particular functions or implement particular abstract data types. The order in which the operations are described is not intended to be construed as a limitation, and any number of the described blocks can be combined in any order or in parallel to implement the processes. It is understood that the following processes may be implemented on other architectures as well. At 902, during a RTT communication session between a first UE 102 and a second UE (e.g., the second UE 500/700/800), the first UE 102 may detect, via an input device of the first UE 102, first user input requesting to type one or more first text characters. At 904, the first UE 102 may display, on a display of the first UE 102, the one or more first text characters within a first conversation bubble 108(2) designated for the first UE 102. At 906, the first UE 102 may send, via a network interface of the first UE 102, and over a telecommunications network to the second UE involved in the RTT communication session, at least one first RTT packet of multiple RTT packets (e.g., the RTT packets 512) that are transmitted, without user intervention, at a predetermined frequency, the at least one first RIT packet carrying the one or more first text characters. At 908, the first UE 102 may detect, after sending the at least one first RTT packet to the second UE and via the input device of the first UE 102, second user input requesting invocation of a control function 114. At 910, the first UE 102 may detect, after the invocation of the control function 114 and via the input device of the first UE 102, third user input requesting to type one or more second text characters. At 912, the first UE 102 may display, on the display of the first UE 102 and based at least in part on the invocation of the control function 114 before the third user input was detected, the one or more second text characters within a second conversation bubble 108(3) designated for the first UE 102. At 914, the first UE 102 may send, via the network interface of the first UE 102, and over the telecommunications network to the second UE, at least one second RTT packet of the multiple RTT packets that are transmitted, without user intervention, at the predetermined frequency, the at least one second RTT packet carrying the one or more second text characters. At 1002, during a RTT communication session established between a first UE 502 and a second UE 500, the second UE 500 may receive, via a network interface of the second UE 500, and over a telecommunications network 504 from a first UE 502, at least one first RT packet of multiple RT packets (e.g., the RT packets 512) that are transmitted from the first UE 502, without user intervention, at a predetermined frequency. The at least one first RTT packet carries one or more first text characters typed by a user of the first UE 502. At 1004, the second UE 500 may display, on a display of the second UE 500, the one or more first text characters within a first conversation bubble 108/208/308/408 designated for the first UE 502. At 1006, the second UE 500 may receive, via the network interface of the second UE 500, and over the telecommunications network 504 from the first UE 502, a notification that a control function 114/214/314/414 was invoked at the first UE 502. This notification can be received in various forms described herein, such as in the form of a m-bit 514 received in an incoming RTT packet with new RTT content, a RT packet carrying a non-displayable control character, a RTT packet carrying no text characters and sent along with a m-bit 514, or a silent packet (no text characters or control characters) sent along with a m-bit 514, or the like. At 1008, the second UE 500 may receive, via the network interface of the second UE 500, and over the telecommunications network 504 from the first UE 502, at least one second RTI packet of the multiple RTI packets (e.g., the RTI packets 532) that are transmitted from the first UE 502, without user intervention, at the predetermined frequency. The at least one second RTT packet carries one or more second text characters typed by the user of the first UE 502. At 1010, the second UE 500 may display, on the display of the second UE 500 and based at least in part on the notification that the control function 114/214/314/414 was invoked at the first UE 502 before the receiving of the at least one second RTT packet at 1008, the one or more second text characters within a second conversation bubble 108/208/308/408 designated for the first UE 502. At 1102, during a RTT communication session between a first UE 102 and a second UE (e.g., the second UE 500/700/800), the first UE 102 may detect, via an input device of the first UE 102, first user input requesting to type one or more first text characters. At 1104, before, during, or after displaying the first text character(s) on a display of the first UE 102, the first UE 102 may send, via a network interface of the first UE 102, and over a telecommunications network to the second UE involved in the RTT communication session, multiple RTT packets (e.g., the RTT packets 512) that are transmitted, without user intervention, at a predetermined frequency. A first RTT packet sent at 1104 is sent with a m-bit 514 and carries at least a first text character of the first text character(s), while the following RTT packets sent at 1104 carry the remaining text character(s) and do not include the m-bit 514. At 1106, the first UE 102 may detect, after sending the RTT packets at 1104, and via the input device of the first UE 102, second user input requesting invocation of a control function 114. At 1108, the first UE 102 may register the invocation of the control function 114 and wait for additional user input requesting to type additional text characters. At 1110, the first UE 102 may detect, after the invocation of the control function 114 and via the input device of the first UE 102, third user input requesting to type one or more second text characters. At 1112, before, during, or after displaying the first text character(s) on a display of the first UE 102, the first UE 102 may send, via a network interface of the first UE 102, and over a telecommunications network to the second UE, multiple RTT packets (e.g., the RTT packets 532) that are transmitted, without user intervention, at a predetermined frequency. A first RIT packet sent at 1112 is sent with a m-bit 514 and carries at least a first text character of the second text character(s), while the following RUT packets sent at 1112 carry the remaining text character(s) and do not include the m-bit 514. This m-bit 514 at block 1112 acts as a notification that the control function was invoked at the first UE 102 at block 1106 At 1202, during a RTT communication session between a first UE 102 and a second UE (e.g., the second UE 500/700/800), the first UE 102 may detect, via an input device of the first UE 102, first user input requesting to type one or more first text characters. At 1204, before, during, or after displaying the first text character(s) on a display of the first UE 102, the first UE 102 may send, via a network interface of the first UE 102, and over a telecommunications network to the second UE involved in the RT communication session, multiple RTT packets (e.g., the RTT packets 512) that are transmitted, without user intervention, at a predetermined frequency. A first RT packet sent at 1204 is sent with a m-bit 514 and carries at least a first text character of the first text character(s), while the following RTT packets sent at 1204 carry the remaining text character(s) and do not include the m-bit 514. At 1206, the first UE 102 may detect, after sending the RT packets at 1204, and via the input device of the first UE 102, second user input requesting invocation of a control function 114. At 1208, the first UE 102 may send, via the network interface of the first UE 102, and over the telecommunications network to the second UE, a notification that the control function 114 was invoked at the first UE. As shown by block 1208(1), the sending of the notification can occur by sending a RTT packet carrying one or more control characters without a m-bit, or sending the RTT packet carrying one or more control characters with a m-bit 514 included in the RTT packet. The RTT packet sent at block 1208(1) may not carry any text characters. The control character(s) at block 1208(1) may not be displayable, and, in this manner, the control character(s) may be discarded (i.e., not displayed) by the second UE upon receipt at the second UE. As shown by block 1208(2), the sending of the notification can occur by sending a “silent” RTT packet carrying no control characters or text characters, but including a m-bit 514. At 1210, the first UE 102 may detect, after the invocation of the control function 114 and via the input device of the first UE 102, third user input requesting to type one or more second text characters. At 1212, before, during, or after displaying the first text character(s) on a display of the first UE 102, the first UE 102 may send, via a network interface of the first UE 102, and over a telecommunications network to the second UE, multiple RT packets (e.g., the RTT packets 532) that are transmitted, without user intervention, at a predetermined frequency. At least one of the RTT packets sent at block 1212 carries the second text character(s), and these RTT packets may not include a m-bit 514 due to the fact that a notification was sent at block 1208 to indicate to the second UE that a new conversation bubble is to be created for the second text character(s). At 1302, during a RTI communication session established between a first UE 102 and a second UE, a first UE 102 may detect user input requesting to type, or may receive multiple RTT packets carrying, one or more first text characters. At 1304, the first UE 102 may display, on a display of the first UE 102, the first text character(s) within a first conversation bubble. Depending on whether the first text character(s) were input at the first device 102 or received via a RTT packet(s) over the telecommunications network, the first conversation bubble may be designated for a particular UE and/or user of the communication session. At 1306, the first UE 102 may detect user input requesting to type, or may receive multiple RTT packets carrying, one or more second text characters. At 1308, the first UE 102 may determine whether one or more conditions are met at a time of detecting/receiving the second text character(s) at block 1306. For example, as described with respect to Additionally, or alternatively, a second condition may be met at block 1308 if the first UE 102 determines a presence of conversation bubbles 108/208/308/408 associated with both UEs on the display of the first UE 102. In other words, if the first UE 102, at 1302 and 1306, detects the input of first and second text characters, respectively, which were typed by a local user of the first UE 102, a condition is met at block 1308 if the first UE 102 determines a presence of a conversation bubble 108/208/308/408 designated for the second UE (or a remote user thereof) on a display of the first UE 102 at the time of detecting the user input requesting to type the second text character(s) at block 1306. This works in the opposite direction as well. For example, if the first UE 102, at 1302 and 1306, receives first and second text characters, respectively, which were typed by a remote user of the second UE, a condition is met at block 1308 if the first UE 102 determines a presence of a conversation bubble 108/208/308/408 designated for the first UE 102 (or a local user thereof) on a display of the first UE 102 at the time of receiving the RTT packets carrying the second text character(s) at block 1306. Additionally, or alternatively, a third condition may be met at block 1308 if a timer expired at the time when the first UE 102 detects/receives the second text character(s) at block 1306. The time period may be measured from a time when first text characters are detected/received at block 1302 to a time when second text characters are detected/received at block 1306. Alternatively, the time period may be measured from a time when text characters from a second UE are received to a time when the first device 102 detects input of the second text characters at block 1306, or the time period may be measured from a time when input of text characters is detected at the first UE 102 to a time when the second text characters are received at block 1306 from a second device. If any of these time periods were to exceed a threshold time period, the condition is met at block 1308. Additionally, or alternatively, a fourth condition may be met at block 1308 if the first conversation bubble of block 1304 has moved out of screen (e.g., outside of a defined boundary of a RTT conversation area 406) at a time when the second text character(s) are detected/received at block 1306. For example, another conversation bubble displayed below the first conversation bubble may, due to the size of the other conversation bubble, push the first conversation bubble outside of the defined boundary of the RTT conversation area 406, and when this occurs at a time that the second text character(s) are detected/received at block 1306, the condition is met at block 1308. In the event than any one, or multiple ones, of the conditions described herein are met at block 1308, the process 1300 follows the “yes” route from block 1308 to block 1310 where the first UE 102 displays the second text character(s) within a second conversation bubble 108/208/308/408, different from the first conversation bubble 108/208/308/408 that contains the first text character(s). If, on the other hand, any or all of the conditions are not met at block 1308, the process 1300 follows the “no” route from block 1308 to block 1312, where the first UE 102 displays the second text character(s) within the same, first conversation bubble 108/208/308/408 that contains the first text character(s). As shown, the UE 1400 may include one or more processors 1402 and one or more forms of computer-readable memory 1404. The UE 1400 may also include additional storage devices. Such additional storage may include removable storage 1406 and/or non-removable storage 1408. The UE 1400 may further include input devices 1410 (e.g., touch screen, microphone(s)) communicatively coupled to the processor(s) 1402 and the computer-readable memory 1404. The user input described herein may be detected via the input device(s) 1410, as described herein. The UE 1400 may further include output devices 1412 (e.g., a display) communicatively coupled to the processor(s) 1402 and the computer-readable memory 1404. The UE 1400 may further include communications interface(s) 1414 (or network interface(s) 1414) that allow the UE 1400 to communicate with other computing devices 1416 (e.g., IMS nodes, other UEs) such as via a network. The communications interface(s) 1414 may facilitate transmitting and receiving wired and/or wireless signals over any suitable communications/data technology, standard, or protocol, as described herein. For example, the communications interface(s) 1414 can comprise one or more of a cellular radio, a wireless (e.g., IEEE 802.1x-based) interface, a Bluetooth® interface, and so on. In some embodiments, the communications interface(s) 1414 may include radio frequency (RF) circuitry that allows the UE 1400 to transition between different RATs, such as transitioning between communication with a 4G or 5G LTE RAT and a legacy RAT (e.g., 3G/2G). The communications interface(s) 1414 may further enable the UE 1400 to communicate over circuit-switch domains and/or packet-switch domains. In various embodiments, the computer-readable memory 1404 comprises non-transitory computer-readable memory 1404 that generally includes both volatile memory and non-volatile memory (e.g., random access memory (RAM), read-only memory (ROM), erasable programmable read-only memory (EEPROM), Flash Memory, miniature hard drive, memory card, optical storage, magnetic cassettes, magnetic tape, magnetic disk storage or other magnetic storage devices, or any other medium). The computer-readable memory 1404 may also be described as computer storage media and may include volatile and nonvolatile, removable and non-removable media implemented in any method or technology for storage of information, such as computer readable instructions, data structures, program modules, or other data. Computer-readable memory 1404, removable storage 1406 and non-removable storage 1408 are all examples of non-transitory computer-readable storage media. Computer-readable storage media include, but are not limited to, RAM, ROM, EEPROM, flash memory or other memory technology, compact disc read-only memory (CD-ROM), digital versatile disks (DVD) or other optical storage, magnetic cassettes, magnetic tape, magnetic disk storage or other magnetic storage devices, or any other medium which can be used to store the desired information and which can be accessed by the UE 1400. Any such computer-readable storage media may be part of the UE 1400. The memory 1404 can include a RTT client 1418 including a content partitioning module 1420 (i.e., computer-executable instructions (or logic)) that, when executed, by the processor(s) 1402, perform the various acts and/or processes disclosed herein. The environment and individual elements described herein may of course include many other logical, programmatic, and physical components, of which those shown in the accompanying figures are merely examples that are related to the discussion herein. The various techniques described herein are assumed in the given examples to be implemented in the general context of computer-executable instructions or software, such as program modules, that are stored in computer-readable storage and executed by the processor(s) of one or more computers or other devices such as those illustrated in the figures. Generally, program modules include routines, programs, objects, components, data structures, etc., and define operating logic for performing particular tasks or implement particular abstract data types. Other architectures may be used to implement the described functionality, and are intended to be within the scope of this disclosure. Furthermore, although specific distributions of responsibilities are defined above for purposes of discussion, the various functions and responsibilities might be distributed and divided in different ways, depending on circumstances. Similarly, software may be stored and distributed in various ways and using different means, and the particular software storage and execution configurations described above may be varied in many different ways. Thus, software implementing the techniques described above may be distributed on various types of computer-readable media, not limited to the forms of memory that are specifically described.CROSS REFERENCE TO RELATED APPLICATIONS
BACKGROUND
BRIEF DESCRIPTION OF THE DRAWINGS
DETAILED DESCRIPTION