Methods and systems of managing communications through a bridge between a gateway and a node in a long-range wireless wide area network include receiving at the bridge through a gateway a message with information for a node in accordance with a first communication protocol, identifying by the bridge the node to which the information is directed, and transmitting a message with at least a portion of the information to the identified node in accordance with a second communication protocol that is different from the first communication protocol.
1. A method of managing communications through a bridge between a gateway and a plurality of nodes in a long-range wireless wide area network, the method comprising steps of:
receiving at the bridge through a gateway a message with information for a node in accordance with a first communication protocol; identifying by the bridge the node to which the information is directed; and transmitting a message including at least a portion of the information to the identified node in accordance with a second communication protocol that is different from the first communication protocol. 2. The method of 3. The method of 4. The method of 5. The method of 6. The method of 7. The method of 8. The method of 9. A bridge for communicating between a gateway and a plurality of nodes in a long-range wireless wide area network, the bridge comprising:
logic configured to receive at the bridge through a gateway a message with information for a node in accordance with a first communication protocol; logic configured to identify by the bridge the node to which the information is directed; and logic configured to transmit a message with at least a portion of the information to the identified node in accordance with a second communication protocol that is different from the first communication protocol. 10. The bridge of 11. The bridge of 12. The bridge of 13. The bridge of 14. The bridge of 15. The bridge of 16. The bridge of
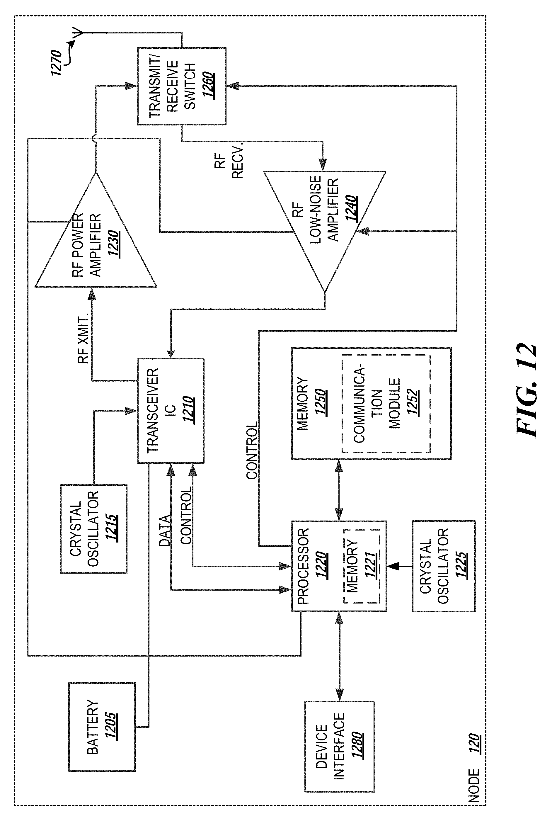
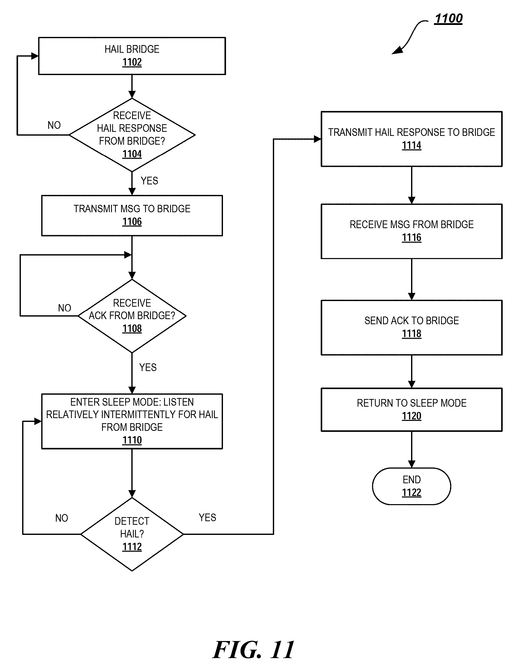
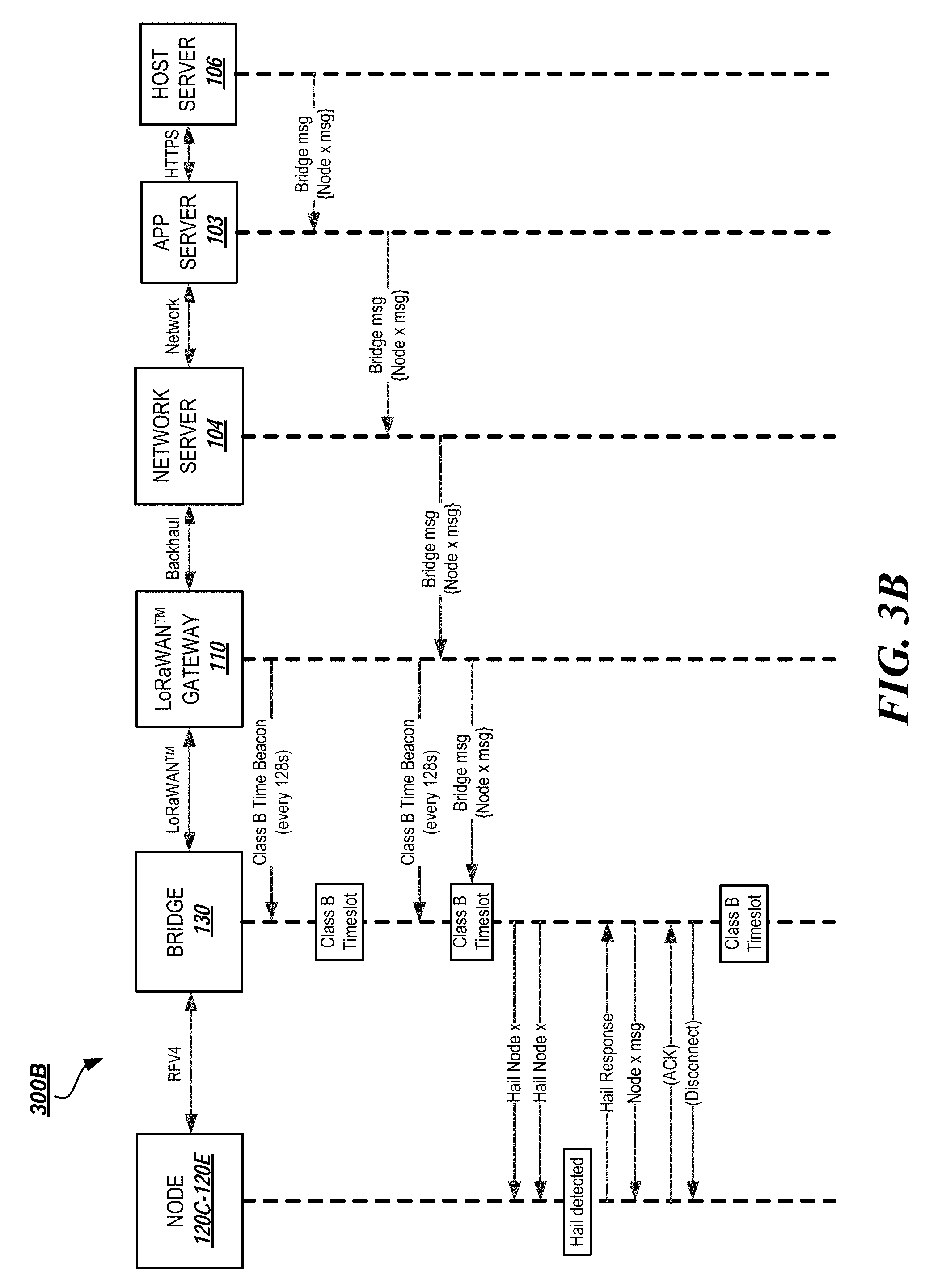
This disclosure relates to networks, and more specifically, to data communications between devices in a network. A utility provider, such as a gas, electricity, or water provider, among others, may have a large number of control, measuring, and sensing devices installed in the field in order to control transmission and distribution of the product, measure and record product usage, and detect problems. Such devices may include water, gas, or electrical meters, remotely controlled valves, flow nodes, leak detection devices, etc. Utility meters may have wireless communication capabilities to send and receive wireless communications with a remote communication device, enabling remote reading of meters. Advanced Metering Infrastructure (AMI), Automatic Meter Reading (AMR), and Advanced Metering Management (AMM) are systems that measure, collect, and analyze utility data using advanced metering devices such as water meters, gas meters, and electricity meters. As the techniques for monitoring utility data continue to evolve, the use of end-devices to provide additional functionality to unsophisticated sensors has become more commonplace. A typical network may include thousands of end-devices, also known as endpoints or nodes. A node, as used herein, may refer to either a composite device in a network capable of performing a specific function, or a communication module connected to such a device and configured to provide communications for the device. Thus, for example, rather than requiring manual, human-based collection of resource measurement data from sensors placed in geographically distinct locations, nodes may report resource data to centralized locations using wired and/or wireless communications. Due to the nature of the types of resources being monitored and/or controlled, these nodes and associated sensors may be placed in remote or difficult to access locations. Consequently, it is advantageous for these end computing devices to transmit resource measurement data over longer distances. LoRa™ RF technology from Semtech™ Corporation is one type of long-range wireless communication technology, among others, that has been developed to enable communications to be made over long distances. Long-range wireless communications may be used with devices, including sensors and actuators, for mobile-to-mobile (M2M) and Internet of Things (IoT) applications, such as industrial automation, low power applications, battery operated sensors, smart city, agriculture, metering, and street lighting. An open long-range wireless wide area network, one non-limiting example being a LoRaWAN™ network, refers to a long-range wide area network with an open standard geared toward a large number of endpoints sending relatively small amounts of data through the network to an associated host server or network server. LoRaWAN™ refers to a standard sponsored by the LoRa Alliance™. Regardless of any particular standard, long-range wireless networks often include fairly sophisticated long-range wireless gateways for communicating with endpoints. The cost of building, deploying, and maintaining such gateways can be fairly high and is often only cost effective when it will enable a significant number of endpoints to communicate within the network. Long-range wireless network gateways forward incoming packets from endpoints to an associated server, which may be located in a cloud network, and broadcast outgoing packets received from servers. It can be difficult or impossible in many networks to choose locations for an efficient number of gateways to reach all endpoints within a geographical area. Disclosed are methods (and devices providing methods disclosed herein) of managing communications through a bridge between a gateway and a plurality of nodes in a long-range wireless wide area network that includes receiving at the bridge from a gateway a message with information for a node in accordance with a first communication protocol, identifying by the bridge the node to which the information is directed, and transmitting a message with at least a portion of the information to the identified node in accordance with a second communication protocol that is different from the first communication protocol. Various implementations described in the present disclosure may include additional systems, methods, features, and advantages, which may not necessarily be expressly disclosed herein but will be apparent to one of ordinary skill in the art upon examination of the following detailed description and accompanying drawings. It is intended that all such systems, methods, features, and advantages be included within the present disclosure and protected by the accompanying claims. The features and components of the following figures are illustrated to emphasize the general principles of the present disclosure. Corresponding features and components throughout the figures may be designated by matching reference characters for the sake of consistency and clarity. The present disclosure can be understood more readily by reference to the following detailed description, examples, drawing, and claims. However, before the present devices, systems, and/or methods are disclosed and described, it is to be understood that this disclosure is not limited to the specific devices, systems, and/or methods disclosed unless otherwise specified, as such can, of course, vary. It is also to be understood that the terminology used herein is for the purpose of describing particular aspects only and is not intended to be limiting. To address problems associated with using an efficient number of gateways in a long-range wireless network, such as a LoRaWAN™ network, the present disclosure provides for a bridge to reach a relatively small number of nodes (endpoints) within a particular geographical area. In addition, since AC power may not always be available, the bridge is able to efficiently operate on DC power while providing on-demand two-way communication. According to various embodiments, the host server 106 may effectively communicate with downlink devices, including the nodes 120 and one or more bridges 130 through one or more LoRaWAN™ gateways 110, network server 104, and application server 103. According to some embodiments, a join server 102 may be a separate server, as shown in Bridge 130 may act as an intermediary for a set of end-devices (e.g., nodes 120C-120E as shown in In an example in which the bridge 130 is battery (DC) powered, preferably has at least a 10-year battery life which could be easily deployed by the service provider at a relatively low cost at a fixed location. According to some embodiments, in order to meet the battery life requirements for a typical AMI network for a utility provider, the bridge 130 will need to be in its lowest power sleep state most of the time and only wake to perform required tasks. In one example, the bridge 130 may function utilizing two RF personalities, one as a LoRaWAN™ device toward the LoRaWAN™ gateway 110, and the other as a private network device, e.g., a radio frequency version 4 (RFV4) DC bridge, toward the nodes 120C-120E. The RFV4 protocol is one non-limiting example of a wireless radio frequency protocol used by Mueller Systems, and other implementations utilize other types of wireless network protocols. The bridge 130 (along with nodes 120A, 120B) may therefor communicate as part of a LoRaWAN™ network as any (class B, in one implementation) LoRaWAN™ device would, which allows the host server 106 to manage and send messages to the bridge 130. Nodes 120C-120E may also effectively, or indirectly, communicate with such a LoRaWAN™ network by sending messages through the bridge 130 using a private (non-LoRaWAN™) network protocol, such as RFV4. The host server 106 can send messages to the nodes 120C-120E through the bridge 130. According to some embodiments, node(s) 120C-120E and bridge 130 are able to enter a sleep mode and listen relatively intermittently for a hail from the other device. The node listening rate, which can be once every three seconds, for example, is less than, in other words “more intermittent” than, the bridge 130 listening rate, which may be once every 750 ms. One way to maximize battery life of a node and of a bridge powered by DC is for portions of the node or bridge to only intermittently “listen” for a hailing communication from another network device, whereby portions of the receiving device may only be powered on (i.e., “awake”) for around three milliseconds (ms) to detect whether any hail messages are being sent over predefined alternating hailing channels, and if not, to power off (i.e., “sleep”) for a predesignated time, such as three seconds, for example. This waking-sleeping sequence repeats, with the listening during waking moments called sniffs or sniff windows, and the interval between sniffs (in this example, three seconds for nodes) known as a sniffing interval. For example, in one implementation of the present disclosure, nodes 120C-120E may have a 3-second sniffing interval, while an infrastructure component such as the bridge 130 may have a 0.75-second sniffing interval. One way to address the differences, disclosed in U.S. patent application Ser. No. 15/206,851, which is hereby incorporated by reference in its entirety, is to configure a hailing device to use a hailing implementation specifically tailored for a given sniffing interval of a target device. As disclosed in that application, hail message preamble length and spacing between the hail messages may both differ, depending on whether the target device has a 3-second, as opposed to a 0.75-second, sniffing interval. Further, nodes 120C-120E and bridge 130 may experience a relative time drift between their respective internal time sources because even though the bridge 130 preferably periodically listens (approximately every 10 minutes, in one example) to receive a time beacon transmitted from the gateway 110 every 128 seconds (in one embodiment), the nodes 120C-120E do not receive a time synchronized beacon. According to some embodiments described herein, in order to meet battery life goals for DC powered devices and remote nodes, nodes 120C-120E are not configured to repeatedly listen for and process time beacons, which significantly improves battery life. Therefore, when a node is communicating to a bridge (e.g., nodes 120C-120E), there needs to be a method to overcome this potential time drift between each node 120C-120E and bridge 130 during hailing. As discussed in copending U.S. patent application Ser. No. 15/206,851, hailing messages are asynchronous with respect to listening rate of the end-device receiving the hailing message, thus the timing at which hail messages are sent is independent or asynchronous of the timing of the listening instances. Sporadic time updates may be provided to the nodes 120C-120E by the bridge 130 in occasional hailing messages in some embodiments. In some embodiments, the nodes 120 can transmit and receive data via a long range, wide area network, for example, in accordance with a LoRa™ modulation protocol provided by Semtech, or in accordance with the LoRaWAN™ specification provided by the LoRa Alliance™. Both LoRaWAN™ and RFV4 protocols are a form of Digital Sequence Spread Spectrum (DSSS) technology. According to some embodiments, as opposed to RFV4, some other type of private network and/or protocol may be utilized. For example, in some embodiments, each node 120 can include a Gaussian Frequency Shift Keying (GFSK) or Frequency Shift Keying (FSK) link capability, or other communication physical layer and a different modulation scheme. According to some embodiments, RFV4 can be a connection-based protocol since ping/pong can be used to identify a sender and a receiver, whereas LoRaWAN™ protocol can be more of a connection-less protocol. A LoRaWAN™ network can support various classes of communication. Class A end-devices are often battery powered, communicating with unicast messages, small payloads, long intervals, where the end-device initiates communication (uplink message). End-devices of Class A allow for bi-directional communications whereby each end-device's uplink transmission is followed by two short downlink receive windows. This Class A operation can be the lowest power end-device system for applications that only require downlink communication from the server shortly after the end-device has sent an uplink transmission. Downlink communications from a server at any other time will have to wait (and be queued) until the next end-device initiated uplink. Class B end-devices are bi-directional with scheduled receive slots, in addition to having Class A communication abilities. Class B end-devices provide lower latency (i.e., more “on demand”) communication for both unicast and multicast messages. In order for the end-device to open its Class B receive window at precisely scheduled times, it receives and uses the time synchronized beacon from the LoRaWAN™ gateway 110, as discussed above, which may be informed by time source 118. This allows the LoRaWAN™ gateway 110 to know when a Class B end-device (such as nodes 120A-120B or bridge 130) is listening. For example, a LoRaWAN™ gateway 110 may be GPS-enabled and able to receive a highly accurate time value from a GPS receiver. Other accurate time sources 118 may include a cellular network connection, an integrated accurate real-time clock component, and the like. Because the LoRaWAN™ gateway 110 may be connected to fixed power sources, these devices may be able to maintain accurate current time without the need for reduced power consumption required by downstream devices. According to an example embodiment, nodes 120A-120B and bridge 130 support Class A and Class B functionality through direct communication with the LoRaWAN™ gateway 110. Through leveraging the Class A and Class B functionality of bridge 130, nodes 120C-120E are also able to achieve latency approximating that of nodes 120A-120B without being connected directly to the LoRaWAN™ gateway 110 or being registered as Class A or B devices. According to some embodiments, the bridge 130 joins the network and negotiates Class B timeslots (registers as a Class B device) with the LoRaWAN™ gateway 110 after first joining as a Class A device. Once the bridge 130 has accepted a message from one of the nodes 120C-120E, it can decrypt the message in some embodiments and then encrypt the message and add hardware preamble (i.e., preamble added by the hardware), header, and CRC and transmit it to the LoRaWAN™ gateway 110 (to be forwarded to the application server 103 for decryption and forwarding to host server 106) and then listen to receive responses at each of the Class A receive windows based on the timing of the transmission. Any responsive message that is received by the bridge 130 from the LoRaWAN™ gateway 110 during an associated window can be sent within a message that is sent back to the associated node of nodes 120C-120E that recently initiated the communication process. Other implementations do not use the Class A downlink path for messages from the host server 106 to the nodes 120C-120E, but instead rely only on Class B communications to the bridge 130, which then communicates to the nodes 120C-120E. In some embodiments, both the bridge 130 and nodes 120C-120E have separate encryption keys so that, among other reasons, when a message is sent to one of the nodes 120C-120E via a bridge 130, some messages would include double encryption of some portions (to enable end-to-end encryption form host server 106 to nodes 120C-120E) and single encryption of other portions (used by bridge 130 to route messages). According to some embodiments, for Class B functionality, when the host server 106 initiates a process to send a message to a particular node of the nodes 120C-120E, the host server 106 effectively instructs the LoRaWAN™ gateway 110 (via communications to the application server 103) to encapsulate that message for the particular node of nodes 120C-120E within a LoRaWAN™ message to the bridge 130 that also includes bridge header information to identify the particular node 120-C-120E. The bridge 130 regularly monitors its assigned Class B timeslots for incoming data, and when a LoRaWAN™ message is received, the bridge 130 can interpret (including preferably decrypting) at least a portion of the LoRaWAN™ message to determine if it includes a message for one of the nodes 120C-120E, responsive to which the bridge 130 hails the particular node of nodes 120C-120E and effectively sends it the portion of the message through the communication protocol established between the bridge 130 and node 120C-120E. Consequently, the host server 106 can essentially send nodes 120C-120E messages using a method that is somewhat similar to Class B timing by instructing the LoRaWAN™ gateway 110 to encapsulate them into LoRaWAN™ messages addressed to the bridge 130, though the bridge 130 is preferably not able to decrypt the primary message for the node 120C-120E in some embodiments in which end-to-end downstream decryption of class B messages is provided by the host server 106 having access to encryption keys for the nodes 120C-120E. Further, in the exemplary embodiment, nodes directly connected to the LoRaWAN™ gateway 110 are Class B end-devices (e.g., nodes 120A,B as shown in The communication links shown in Next, in block 808, the bridge 130 waits until the next class B timeslot (listening window), and at block 810, awakens when the next the Class B time slot occurs. At decision block 812, the bridge 130 determines if a message is received from the application server 103 via the LoRaWAN™ gateway 110. If no message is received from the LoRaWAN™ gateway 110, the bridge 130 returns to block 808 and waits until the next Class B timeslot. If a message is received from the LoRaWAN™ gateway 110, then the method 800 continues to block 814, and the bridge 130 identifies the intended recipient for the message, including determining whether the message is for the bridge 130 (only) or for a node 120C-120E. Analysis of the message from the gateway 110 may include, in one example, at least partial decryption with the bridge 130 keys in order read a bridge header to identify the intended recipient node 120C-120E (full decryption if the message is only for the bridge 130). Next, at block 816, the bridge 130 hails the intended node 120C-120E, and at decision block 818, the bridge 130 determines if a hail response is received back from the intended node 120C-120E. If no response from the intended node 120C-120E, the bridge 130 continues to hail the node 120C-120E at block 816 until at block 818 a hail response is received (or the process times out and ends, not shown). Once a hail response is received at decision block 818, the method 800 proceeds to block 820 where the bridge 130 encapsulates (converts) the message into an RFV4 protocol format, and at block 822, transmits the message to the intended node 120C-120E via RFV4 protocol. Next, at decision block 824, the bridge 130 waits until an ACK message is received from the intended node 120C-120E. If an ACK message is received, the bridge 130 than bubbles up the ACK message via LoRaWAN™ protocol to the host server 106 via the LoRaWAN™ gateway 110 and network server 104. Method 800 then proceeds to end block 834. Next, if at decision block 1004 the bridge 130 detects the hail(s) from the node 120C-120E, the bridge 130 transmits a hail response to the node 120C-120E from which it received the hail block 1006. Next, at decision block 1008, the bridge 130 waits for a message from the node 120C-120E, which will typically be an uplink data message having a payload that is to form a FRMPayload of a LoRaWAN™ PHYPayload of the MACPayload uplink type. As discussed herein, the bridge 130 may wait in a sleep mode for the message, or in the example embodiment, since the bridge 130 and node 120C-120E are in an active communication session, the bridge 130 may stay awake for a predetermined time waiting to receive the message from the node 120C-120E. Next, if at decision block 1008 the bridge 130 receives the message from the node 120C-120E, the method 1000 continues to block 1010, where the bridge 130 transmits an ACK message in response to the node 120C-120E. Next, the method 1000 continues to block 1012, where the bridge 130 prepares a LoRaWAN™ message to be bubbled up to application server 103 and then host server 106 through network 150 (via LoRaWAN™ gateway 110 and network server 104) utilizing LoRaWAN™ protocol, as discussed with respect to At block 1016, the bridge 130 waits for a Class A MACPayload response delay, per LoRaWAN™ protocol. According to the example embodiment, the Class A window for receiving a MACPayload downlink message in response to a MACPayload uplink message is 1 second, and the receiving end-device, here bridge 130, listens for the MACPayload downlink message during a Class A response window of 40 μs, which is ±20 μs at the 1 second mark. Next, at decision block 1018, the bridge 130 waits and determines if it receives a LoRaWAN™ MACPayload downlink message from the LoRaWAN™ gateway 110 during the Class A response window. According to the exemplary embodiment, the bridge 130 is listening for the LoRaWAN™ MACPayload downlink message from the LoRaWAN™ gateway 110 from 1 second minus 20 μs to 1 second plus 20 μs, thus a 40 μs Class A window. In further embodiments, the Class A response window may be a different predetermined period of time. Next, if at decision block 1018 the bridge 130 does not receive a LoRaWAN™ MACPayload downlink message from the LoRaWAN™ gateway 110 within the Class A window, the method 1000 may advance to block 1020, where method 1000 ends as failing to receive a downlink. In some embodiments, such as if the Class A window is too short for a response to normally be received, the method show in Next, after the bridge 130 hails node 120C-120E at block 1022, the method 1000 continues to decision block 1024, where the bridge 130 determines if it received a hail response from the node 120C-120E, and continues to hail the node 120C-120E at block 1022 until it receives a hail response, as shown in The node 120 may include at least one battery 1205 that powers a transceiver integrated circuit (IC) 1210, a processor 1220 having a built-in memory 1221, an RF power amplifier 1230, an RF low-noise amplifier 1240, a memory 1250, and other components. Memory 1250 is an “external” memory in the sense that it is separate from, and not contained within, another node component, unlike built-in memory 1221, for example. References to “external” memory herein are intended to refer to memory of the configuration illustrated in The built-in memory 1221 and external memory 1250 may each comprise a processor-readable storage medium for storing processor-executable instructions, data structures and other information. The built-in memory 1221 and external memory 1250 may include a non-volatile memory, such as read-only memory (ROM) and/or FLASH memory, and a random-access memory (RAM), such as dynamic random access memory (DRAM) or synchronous dynamic random access memory (SDRAM). The built-in memory 1221 and external memory 1250 may store firmware that comprises commands and data necessary for the nodes 120, LoRaWAN™ gateways 110, and bridges 130 to communicate with other devices in the communication system 100 as well as perform other operations of the nodes. According to some embodiments, the external memory 1250 may store a communication module 1252 comprising processor-executable instructions that, when executed by the processor 1220, perform at least portions of the method 900 for joining a LoRaWAN™ network through a bridge 130 via RFV4 protocol, or directly through a LoRaWAN™ gateway 110 via LoRaWAN™ protocol ( In addition to the memory 1250, the node 120 may have access to other processor-readable media storing program modules, data structures, and other data described herein for accomplishing the described functions. It will be appreciated by those skilled in the art that processor-readable media can be any available media that may be accessed by the processor 1220 or other computing system, including processor-readable storage media and communications media. Communications media includes transitory signals. Processor-readable storage media includes volatile and non-volatile, removable and non-removable storage media implemented in any method or technology for the non-transitory storage of information. For example, processor-readable storage media includes, but is not limited to, RAM, ROM, erasable programmable ROM (EPROM), electrically-erasable programmable ROM (EEPROM), FLASH memory or other solid-state memory technology, compact disc ROM (CD-ROM), digital versatile disk (DVD), high definition DVD (HD-DVD), BLU-RAY or other optical storage, magnetic cassettes, magnetic tape, magnetic disk storage or other magnetic storage devices and the like. According to some embodiments, the processor 1220 may be further connected to other components of the node 120 through a device interface 1280. In some embodiments, the device interface 1280 may connect to a metering component, such as a water meter, a gas meter, or an electricity meter, that allows the meter to provide usage data to the host server 106 through the communication system 100. In further embodiments, the device interface 1280 may connect to nodes or detection components, such as a leak detection device. In still further embodiments, the device interface 1280 may connect to a control component, such as an electronically actuated water valve, that allows the host server 106 and/or other devices in the communication system 100 to control aspects of the utility provider's infrastructure. In some embodiments, the node 120 may be connected to one or more sensors via one or more wired or wireless connections. For example, the connections may include, but are not limited to, one or more of RFV4 protocol, LoRaWAN™ protocol, Bluetooth, etc., and any protocols or standards discussed herein. In some embodiments, the node 120 may pull data from a sensor, and in some embodiments, the sensor may push data to the node 120. For example, the node 120 may query a sensor to read one or more water meters associated with the sensor, or the node 120 may receive data transmitted by the sensor to the node 120. These examples are not meant to be limiting, and those of skill in the art will recognize that alternative device components that may be interfaced with the node 120 through the device interface 1280. For example, the device interface 1280 may connect to a control component (valve actuator) and a data reading port (water meter readings) at the same time. It will be appreciated that the structure and/or functionality of the node 120 may be different than that illustrated in In some embodiments, the bridge 130 has similar hardware elements as those shown in The CPUs 1304 preferably perform operations by transitioning from one discrete, physical state to the next through the manipulation of switching elements that differentiate between and change these states. Switching elements may generally include electronic circuits that maintain one of two binary states, such as flip-flops, and electronic circuits that provide an output state based on the logical combination of the states of one or more other switching elements, such as logic gates. These basic switching elements may be combined to create more complex logic circuits, including registers, adders-subtractors, arithmetic logic units, floating-point units, or the like. The chipset 1306 provides an interface between the CPUs 1304 and the remainder of the components and devices on the baseboard. The chipset 1306 may provide an interface to a memory 1308. The memory 1308 may include a random access memory (RAM) used as the main memory in the computer 1302. The memory 1308 may further include a computer-readable storage medium such as a read-only memory (ROM) or non-volatile RAM (NVRAM) for storing basic routines that that help to startup the computer 1302 and to transfer information between the various components and devices. The ROM or NVRAM may also store other software components necessary for the operation of the computer 1302 in accordance with the embodiments described herein. According to various embodiments, the computer 1302 may operate in a networked environment using logical connections to remote computing devices through one or more networks 1312, such as the LoRaWAN™ network described herein, a local-area network (LAN), a wide-area network (WAN), the Internet, or any other networking topology known in the art that connects the computer 1302 to the devices and other remote computers. The chipset 1306 includes functionality for providing network connectivity through one or more network interface controllers (NICs) 1310, such as a gigabit Ethernet adapter. For example, the NIC 1310 may be capable of connecting the computer 1302 to other computer devices in the utility provider's systems. It should be appreciated that any number of NICs 1310 may be present in the computer 1302, connecting the computer to other types of networks and remote computer systems beyond those described herein. The computer 1302 may be connected to at least one mass storage device 1318 that provides non-volatile storage for the computer 1302. The mass storage device 1318 may store system programs, application programs, other program modules, and data, which are described in greater detail herein. The mass storage device 1318 may be connected to the computer 1302 through a storage controller 1314 connected to the chipset 1306. The mass storage device 1318 may consist of one or more physical storage units. The storage controller 1314 may interface with the physical storage units through a serial attached SCSI (SAS) interface, a serial advanced technology attachment (SATA) interface, a fiber channel (FC) interface, or other standard interface for physically connecting and transferring data between computers and physical storage devices. The computer 1302 may store data on the mass storage device 1318 by transforming the physical state of the physical storage units to reflect the information being stored. The specific transformation of physical state may depend on various factors, in different implementations of this description. Examples of such factors may include, but are not limited to, the technology used to implement the physical storage units, whether the mass storage device 1318 is characterized as primary or secondary storage, or the like. For example, the computer 1302 may store information to the mass storage device 1318 by issuing instructions through the storage controller 1314 to alter the magnetic characteristics of a particular location within a magnetic disk drive unit, the reflective or refractive characteristics of a particular location in an optical storage unit, or the electrical characteristics of a particular capacitor, transistor, or other discrete component in a solid-state storage unit. Other transformations of physical media are possible without departing from the scope and spirit of the present description, with the foregoing examples provided only to facilitate this description. The computer 1302 may further read information from the mass storage device 1318 by detecting the physical states or characteristics of one or more particular locations within the physical storage units. The mass storage device 1318 may store an operating system 1320 utilized to control the operation of the computer 1302. According to some embodiments, the operating system comprises the LINUX operating system. According to another embodiment, the operating system comprises the WINDOWS® SERVER operating system from MICROSOFT Corporation of Redmond, Wash. According to further embodiments, the operating system may comprise the UNIX or SOLARIS operating systems. It should be appreciated that other operating systems may also be utilized. The mass storage device 1318 may store other system or application programs and data utilized by the computer 1302, such as a LoRaWAN™ module 1322 utilized by the computer to manage communications in a communication network utilizing LoRaWAN™ protocol, as described herein. In some embodiments, the mass storage device 1318 may be encoded with computer-executable instructions that, when loaded into the computer 1302, transforms the computer 1302 from being a general-purpose computing system into a special-purpose computer capable of implementing the embodiments described herein. These computer-executable instructions transform the computer 1302 by specifying how the CPUs 1304 transition between states, as described above. According to some embodiments, from the host server 106 perspective, the mass storage device 1318 stores computer-executable instructions that, when executed by the computer 1302, perform portions of the method 800 of managing communications to a node 120 in a communication network utilizing a LoRaWAN™ protocol with or without a bridge 130, as described herein. In further embodiments, the computer 1302 may have access to other computer-readable storage medium in addition to or as an alternative to the mass storage device 1318. For example, according to some embodiments, from the join server 102 perspective, the mass storage device 1318 stores computer-executable instructions that, when executed by the computer 1302, perform portions of the method 700 of managing a join procedure with a bridge 130 and join procedures with nodes 120A-120B. The computer 1302 may also include an input/output controller 1330 for receiving and processing input from a number of input devices, such as a keyboard, a mouse, a touchpad, a touch screen, an electronic stylus, or other type of input device. Similarly, the input/output controller 1330 may provide output to a display device, such as a computer monitor, a flat-panel display, a digital projector, a printer, a plotter, or other type of output device. It will be appreciated that the computer 1302 may not include all of the components shown in Various other modifications are contemplated as being within the scope of the present disclosure. In a further implementation, if immediate communication is not needed by the host server 106 from the node 120A-120E, the host server 106 can queue a message up for a particular node 120A-120E at the LoRaWAN™ gateway 110 or network server 104, so when the node 120A-120E regularly reports to the network (once a day, once an hour, etc.) the message will be ready to be delivered to any one particular node 120A-120E. In some embodiments, the communication system 100 may operate in accordance with one or more International Telecommunications Union (ITU) Regions. In some embodiments, the communication system 100 is operable in ITU Region 1 (e.g., EU868 MHz ISM Band (863 to 870 MHz), including Europe, Africa, the Middle East, and the former USSR); in some embodiments, the communication system 100 is operable in ITU Region 2 (US915 MHz ISM Band (902 to 928 MHz), including North and South America); and in some embodiments, the communication system 100 is operable in ITU Region 3 (China 779 to 787 MHz ISM Band, which allows for operation in most of Asia, Indonesia, India, and Australia; AS923 915-928 MHz ISM Band, which allows for operation in Japan, Hong Kong, Taiwan, Singapore, Thailand, and others). To adapt the communication system 100 disclosed herein to different regions internationally (ITU Region 1, 2, or 3), some embodiments include changing of the RF (radio frequency) components (e.g., surface acoustic wave (SAW) filter, lumped element matching, antenna, etc.) and software reconfiguration. Generally speaking, the communication system 100 can be adopted to any frequency, including between 400 MHz to 960 MHz, and can be configured for either LoRa™ (long range wide area network, such as in accordance with the LoRa Alliance™), FSK, GFSK, on-off keying (OOK) modulation, or any low power wide area network modulation techniques. According to one embodiment, bridge 130 to nodes 120C-120E communications occur on 500 Khz channels in order to comply with the United States Federal Communications Commission (FCC) rules for the ISM band. Embodiments of the methods and systems are described above with reference to block diagrams and flowchart illustrations of methods, systems, and apparatuses. It will be understood that each block of the block diagrams and flowchart illustrations, and combinations of blocks in the block diagrams and flowchart illustrations, respectively, can be implemented by program instructions. These program instructions may be programmed into programmable processing elements to produce logic as part of the processing elements implementing the functions specified in the flowchart block or blocks, which describe and reference specific algorithms and inherent structure for accomplishing the functions as described and further explained herein. These program instructions may also be stored in a processor-readable memory that can direct a processing apparatus to function in a particular manner, such that the instructions stored in the processor-readable memory produce an article of manufacture including processor-readable instructions for implementing the function specified in the flowchart block or blocks. The program instructions may also be loaded onto a processing apparatus to cause a series of operational steps to be performed on the programmable apparatus to produce a processor-implemented process such that the instructions that execute on the programmable apparatus provide steps for implementing the functions specified in the flowchart block or blocks. Accordingly, blocks of the block diagrams and flowchart illustrations support combinations of elements for performing the specified functions, combinations of steps for performing the specified functions and program instructions for performing the specified functions. It will also be understood that each block of the block diagrams and flowchart illustrations, and combinations of blocks in the block diagrams and flowchart illustrations, can be implemented by general purpose or special purpose hardware-based systems that perform the specified functions or steps, or combinations of special purpose hardware and instructions. Moreover, the above description is provided as an enabling teaching in its best, currently known embodiments. To this end, those skilled in the relevant art will recognize and appreciate that many changes can be made to the various disclosed aspects described herein, while still obtaining the beneficial results of the present disclosure. It will also be apparent that some of the desired benefits can be obtained by selecting some of the features without utilizing or including other features. Accordingly, those who work in the art will recognize that many modifications and adaptations are possible and can even be desirable in certain circumstances and are a part of the present disclosure. Thus, the above description is provided as illustrative of the principles of the present disclosure and not in limitation thereof. In addition, as used throughout, the singular forms “a,” “an” and “the” include plural referents unless the context clearly dictates otherwise. Thus, for example, reference to “a panel” can include two or more such panels unless the context indicates otherwise. Ranges can be expressed herein as from “about” one particular value, and/or to “about” another particular value. When such a range is expressed, another aspect comprises from the one particular value and/or to the other particular value. Similarly, when values are expressed as approximations, by use of the antecedent “about,” it will be understood that the particular value forms another aspect. It will be further understood that the endpoints of each of the ranges are significant both in relation to the other endpoint, and independently of the other endpoint. For purposes of the current disclosure, a material property or dimension measuring about X on a particular measurement scale measures within a range between X plus and industry-standard upper tolerance for the specified measurement and X minus an industry-standard lower tolerance for the specified measurement. Because tolerances can vary between different materials, processes and between different models, the tolerance for a particular measurement of a particular component can fall within a range of tolerances. As used herein, the terms “optional” or “optionally” mean that the subsequently described event or circumstance may or may not occur, and that the description comprises instances where said event or circumstance occurs and instances where it does not. It is further understood that the disclosure is not limited to the specific embodiments disclosed hereinabove, and that many modifications and other embodiments are intended to be included within the scope of the appended claims. Moreover, although specific terms are employed herein, as well as in the claims which follow, they are used only in a generic and descriptive sense, and not for the purposes of limiting the described disclosure, nor the claims which follow.TECHNICAL FIELD
BACKGROUND
SUMMARY
BRIEF DESCRIPTION OF THE DRAWINGS
DETAILED DESCRIPTION