An assembly comprising first and second structural elements having aligned holes, an fastener that occupies at least respective portions of the holes without a surrounding sleeve, and a mating part that is coupled to the fastener. The fastener comprises: a head; a circular cylindrical shank extending from the head; a mating portion comprising external projections; and a transition portion disposed between the shank and the mating portion. The transition portion comprises a first radiused lead-in section that meets the shank at a shank/lead-in intersection and a second radiused lead-in section that meets the first radiused lead-in section. The first radiused lead-in section curves gradually in a first axial direction toward the mating portion and has a first profile that is a circular arc having a first radius, while the second radiused lead-in section curves abruptly in the first axial direction and has a second profile that is a circular arc having a second radius which is much smaller than the first radius.
1. A fastener comprising:
a head; a shank extending from the head, the shank comprising an external surface that is circular cylindrical; a mating portion comprising external projections; and a transition portion disposed between the shank and the mating portion, wherein the transition portion comprises a first radiused lead-in section that meets the shank at a shank/lead-in intersection and a second radiused lead-in section that meets the first radiused lead-in section, the first radiused lead-in section curves gradually in a first axial direction toward the mating portion and has a first profile that is a circular arc having a first radius, and the second radiused lead-in section curves abruptly in the first axial direction and has a second profile that is a circular arc having a second radius which is smaller than the first radius. 2. The fastener as recited in 3. The fastener as recited in 4. The fastener as recited in 5. The fastener as recited in 6. A method for fastening a first structure having a first hole and a second structure having a second hole, the first and second holes having a same hole diameter, comprising:
placing the first and second structures together with the first and second holes aligned; inserting a mating portion of a fastener into the first hole until an edge of the first hole in the first structure is in contact with and surrounds a radiused lead-in section of the fastener that tapers gradually toward the mating portion, the fastener further comprising a head and a circular cylindrical shank connecting the head to the radiused lead-in section, the shank having a shank diameter greater than the hole diameter; forcing the fastener further into the aligned holes of the first and second structures to cause the shank to contact the edge of the first hole, push through the first hole, and then push through the second hole until the mating portion of the fastener projects beyond the second structure; and coupling a mating part to the mating portion of the fastener. 7. The method as recited in 8. The method as recited in 9. The method as recited in 10. The method as recited in 11. The method as recited in 12. An assembly comprising a first structural element having a first hole, a second structural element having a second hole aligned with the first hole of the first structural element, a fastener that occupies at least respective portions of the first and second holes in the first and second structural elements without a surrounding sleeve and extends beyond the second structural element, and a mating part that abuts the second structural element and is coupled to the fastener, wherein the fastener comprises:
a head; a shank extending from the head, the shank comprising an external surface that is circular cylindrical; a mating portion comprising external projections; and a transition portion disposed between the shank and the mating portion, wherein the transition portion comprises a first radiused lead-in section that meets the shank at a shank/lead-in intersection and a second radiused lead-in section that meets the first radiused lead-in section, the first radiused lead-in section curves gradually in a first axial direction toward the mating portion and has a first profile that is a circular arc having a first radius, and the second radiused lead-in section curves abruptly in the first axial direction and has a second profile that is a circular arc having a second radius which is smaller than the first radius. 13. The assembly as recited in 14. The assembly as recited in 15. The assembly as recited in 16. The assembly as recited in 17. The assembly as recited in 18. The assembly as recited in 19. The assembly as recited in 20. The assembly as recited in
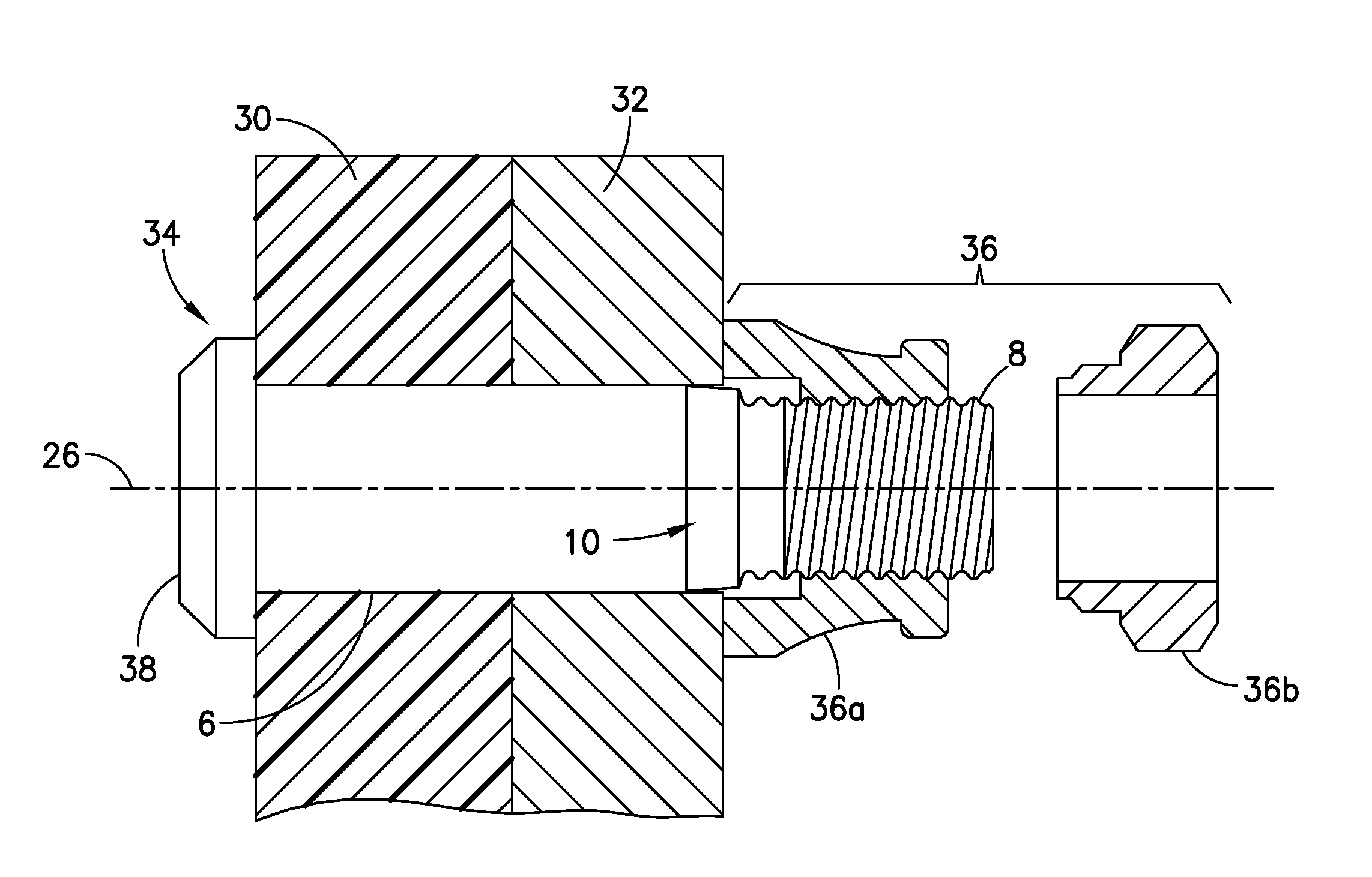
This disclosure generally relates to the use of fasteners to secure two or more structures or workpieces (at least one of which is made of composite material, such as fiber-reinforced plastic) in a manner such that high interference fit of the fasteners within their respective holes in the layers is achieved. In particular, this disclosure relates to interference fit fastener assemblies comprising a bolt or a pin and a mating part (e.g., a nut or a collar) and not including a sleeve surrounding the fastener. Normal practice for fastening multiple layers of material together is to clamp up the layers, drill holes, and then insert some type of fastener into the holes and thereby secure the layers together. The fasteners are usually inserted in a net or clearance fit in the receiving holes in the layers. For many applications this will be sufficient. However, when the assembled structure is subjected to cyclic loading, the looseness of the fit of the fasteners within their holes will result in continual working of the fasteners within their holes. This in turn may lead to fretting and fatigue issues with either the fastener or the surrounding region of the layers adjacent a particular hole. To solve the foregoing problems, it is known that the utilization of a high interference fit of the fastener in the hole can effectively prevent the majority of this fretting due to cyclic loading of the assembled structure. High interference creates a tighter joint that reduces movement, resulting in enhanced fatigue performance. In many cases an oversized fastener will be driven directly into the receiving hole in the layers. Typically, some lubricant is applied to the fastener and hole before assembly to reduce the tendency toward abrasion as the fastener is pushed into the hole. In other cases a sleeve is slipped into the hole in a net or clearance fit followed by the drive-in of an oversized fastener with or without lubricant to radially expand the sleeve in order to create an interference fit condition. Currently there are two primary solutions for fasteners used in the assembly of composite wing structures in aircraft production: (1) sleeved bolt systems; and (2) clearance fit fasteners with cap seals. The use of sleeved bolt systems has the following drawbacks: (a) the parts require complicated installation methods; (b) the parts require careful handling to prevent damage; and (c) the system requires extensive in-process measurements (resulting in longer assembly time). The use of clearance fit fasteners with cap seals has the following drawbacks: (a) this system allows for increased joint deflection over time, affecting fatigue performance; and (b) the amount of time involved in seal cap application increases assembly time. In addition, existing interference fit solutions used in metallic aircraft structure may not be optimized to reduce the installation force load when a fastener is installed. A high installation force load may cause composite material to crack or excessively delaminate. It would be desirable to provide improved interference fit fasteners for installation in composite material which reduce installation force loads and address one or more of the drawbacks identified in the preceding paragraph. The subject matter disclosed in detail below is directed to interference fit fasteners for attaching two or more structures together. Each interference fit fastener comprises a fastener that has a radiused lead-in section between the shank and the external threads. This radiused lead-in geometry decreases installation forces in interference fit holes, thereby increasing joint fatigue life, enhancing fluid tightness, and reducing susceptibility to electromagnetic effects. A radiused lead-in geometry accomplishes the foregoing by promoting gradual compression of material as the bolt is pushed through the structures to be fastened. In accordance with at least some embodiments, the interference fit fastener comprises a fastener having a transition portion disposed between a shank and a mating portion having external projections, which transition portion comprises a first radiused lead-in section that meets the shank at a shank/lead-in intersection and a second radiused lead-in section that meets the first radiused lead-in section. The first radiused lead-in section curves gradually in a first axial direction toward the mating portion and has a first profile that is a circular arc having a first radius, and the second radiused lead-in section curves abruptly in the first axial direction and has a second profile that is a circular arc having a second radius which is much smaller than the first radius. In other words, the diameter of the fastener in the first radiused lead-in section gradually decreases starting from the diameter of the circular cylindrical shank; and the diameter of the fastener in the second radiused lead-in section gradually decreases starting from a minimum diameter of the first radiused lead-in section to a minimum diameter of the second radiused lead-in section circular cylindrical shank. The aforementioned diameters are measured in planes perpendicular to the central axis of the fastener, while the aforementioned radii are measured in a plane that is parallel to and intersects the central axis of the fastener. As used herein, the term “external projections” should be construed broadly to encompass at least the following types: (1) external threads and (2) external annular rings. For the purpose of illustration, examples of fasteners having externals threads are described below. However, the concepts disclosed and claimed herein also have application to interference fit fasteners having external annular rings. Thus the subject matter disclosed in detail below may be characterized by one or more of the following aspects. One aspect of the subject matter disclosed in detail below is a fastener comprising: a head; a shank extending from the head, the shank comprising an external surface that is circular cylindrical; a mating portion comprising external projections; and a transition portion disposed between the shank and the mating portion, wherein the transition portion comprises a first radiused lead-in section that meets the shank at a shank/lead-in intersection and a second radiused lead-in section that meets the first radiused lead-in section. The first radiused lead-in section curves gradually in a first axial direction toward the mating portion and has a first profile that is a circular arc having a first radius, while the second radiused lead-in section curves abruptly in the first axial direction and has a second profile that is a circular arc having a second radius which is much smaller than the first radius. In addition, the mating portion has a maximum diameter less than a minimum diameter of the second radiused lead-in section. The first profile is a profile of an external surface of the first radiused lead-in section in a plane that intersects a central axis of the fastener, while the second profile is a profile of an external surface of the second radiused lead-in section in the plane that intersects the central axis of the fastener. In accordance with one embodiment, a profile of the shank in the plane that intersects the central axis of the fastener is tangent to the first profile. Another aspect of the subject matter disclosed herein is a method for fastening a first structure having a first hole and a second structure having a second hole, the first and second holes having the same hole diameter, comprising: placing the first and second structures together with the first and second holes aligned; inserting a mating portion of a fastener into the first hole until an edge of the first hole in the first structure is in contact with and surrounds a radiused lead-in section of the fastener that tapers gradually toward the mating portion, the fastener further comprising a head and a circular cylindrical shank connecting the head to the tapered lead-in section, the shank having a shank diameter greater than the hole diameter; forcing the fastener further into the aligned holes of the first and second structures to cause the shank to contact the edge of the first hole, push through the first hole, and then push through the second hole until the mating portion of the fastener projects beyond the second structure; and coupling a mating part to the mating portion of the fastener. The amount of interference between the shank and the first hole is no more than 0.004 inch. A maximum diameter of the radiused lead-in section equals the diameter of the shank and a minimum diameter of the radiused lead-in section is less than the diameter of the first and second holes. A further aspect of the subject matter disclosed herein is an assembly comprising a first structural element having a first hole, a second structural element having a second hole aligned with the first hole of the first structural element, a fastener that occupies at least respective portions of the first and second holes in the first and second structural elements without a surrounding sleeve and extends beyond the second structural element, and a mating part that abuts the second structural element and is coupled to the fastener, wherein the fastener comprises: a head; a shank extending from the head, the shank comprising an external surface that is circular cylindrical; a mating portion comprising external projections; and a transition portion disposed between the shank and the mating portion, wherein the transition portion comprises a first radiused lead-in section that meets the shank at a shank/lead-in intersection and a second radiused lead-in section that meets the first radiused lead-in section. The first radiused lead-in section curves gradually in a first axial direction toward the mating portion and has a first profile that is a circular arc having a first radius, while the second radiused lead-in section curves abruptly in the first axial direction and has a second profile that is a circular arc having a second radius which is much smaller than the first radius. In accordance with some embodiments, one of the first and second structural elements is made of composite material and the other of the first and second structural elements is made of metallic material. In accordance with other embodiments, both structural elements are made of composite material. The shank of the fastener and the first and second structural elements are in contact without a sleeve therebetween. Other aspects of improved interference fit fasteners for attaching two or more structures to each other are disclosed below. The features, functions and advantages discussed in the preceding section can be achieved independently in various embodiments or may be combined in yet other embodiments. Various embodiments will be hereinafter described with reference to drawings for the purpose of illustrating the above-described and other aspects. Reference will hereinafter be made to the drawings in which similar elements in different drawings bear the same reference numerals. Various embodiments of an interference fit fastener will now be described in detail for the purpose of illustration. At least some of the details disclosed below relate to optional features or aspects, which in some applications may be omitted without departing from the scope of the claims appended hereto. In particular, illustrative embodiments of an interference fit fastener for attaching two structures to each other are described in some detail below. In the examples given below, one of the structures is made of metallic material (e.g., a metal alloy) and the other structure is made of composite material (e.g., fiber-reinforced plastic). However, in alternative examples, both structures can be made of composite material or both structures can be made of metallic material. In addition, it should be appreciated that the concept disclosed herein also has application in the attachment of three or more structures together. The first radiused lead-in section 12 curves gradually in a first axial direction toward the threaded portion 8 and has a first profile that is a circular arc having a first radius. The second radiused lead-in section 16 curves abruptly in the first axial direction and has a second profile that is a circular arc having a second radius which is smaller than the first radius. For the avoidance of doubt, the first and second profiles of the transition portion 10 are defined as follows. The first profile is a profile of an external surface of the first radiused lead-in section 12 in a plane that intersects a central axis 26 of bolt 2. The second profile is an external surface of the second radiused lead-in section 16 in the plane that intersects the central axis 26. In accordance with one embodiment, the profile of the shank 6 in the plane that intersects the central axis 26 is tangent to the first profile of the transition portion 10. The non-linear lead-in geometry of the first radiused lead-in section 12 promotes gradual compression of material as the bolt 2 is pushed through the structures to be fastened. It should be appreciated that the dimensions of bolt 2 will vary depending on the thicknesses of the structures being fastened together and the diameters of the aligned holes in those structures. In accordance with various examples, the length and radius of the first radiused lead-in section 12 may be in respective ranges of 0.062 to 0.092 inch and 0.34 to 0.68 inch for bolts or pins having a shank diameter in a range of 6/32 to 16/32 inch, and the second radius r of the second radiused lead-in section 16 may be about 0.01 inch. During installation, a manual rivet gun or automated system can be used to push the bolt 2 through the aligned holes of the structures to be fastened. As previously described, the bolt 2 comprises a circular cylindrical shank 6 having a diameter greater than the diameter of the holes in the structures (one-half of the difference between the shank diameter and the hole diameter will be referred to below as the “amount of interference”), a first radiused lead-in section 12, a second radiused lead-in section 16 and a threaded portion 8. A maximum diameter of the first radiused lead-in section 12 equals the diameter of the shank 6 and a minimum diameter of the first radiused lead-in section 12 is less than the diameter of the holes in the structures. The edge of the first hole slides along the first radiused lead-in section 12 as the bolt 2 is pushed into the hole. That edge may be radiused. Depending on the amount of interference (preferably not in excess of 0.004 inch) and the radius of the first radiused lead-in section 12, the edge of the hole will slide gradually along the first radiused lead-in section 12 for a varying percentage of the length of the first radiused lead-in section 12 during bolt insertion. During installation, the bolt 2 will be pushed through the aligned holes of the structures to be fastened until the threaded portion 8 projects beyond the last structure. A mating part (not shown in Although not shown in detail, the pin 34 depicted in The procedure for installing fastener assemblies of the type depicted in Although not shown in detail, the pin 40 depicted in The pin 40 shown in The bolts and pins disclosed herein are preferably made of a metal alloy such as titanium alloy, aluminum alloy, Inconel or corrosion-resistant steel. The collars disclosed herein are preferably made of titanium alloy, aluminum alloy or corrosion-resistant steel. The bolts, pins and collars are preferably coated or partially coated. The coating could be any combination of aluminum pigment coating, solid film lubricant, metallic plating (cadmium plate, zinc-nickel, etc.). Each coating could have an additional lubricant such as cetyl alcohol applied over the top. The interference fit fasteners disclosed herein are especially useful in the assembly of composite wing structures during aircraft production. The proposed system has the following benefits over the existing systems. The interference fit fasteners disclosed herein have advantages over sleeved bolts in that, by eliminating the sleeve element, the proposed fastener assembly reduces manufacturing complexity and decreases part cost. By installing these bolts or pins in interference, the assembly time is drastically reduced compared to the traditional sleeved bolt assembly process. The interference fit fasteners disclosed herein have advantages over installing clearance fit fasteners with cap seals in that fatigue results are improved with interference fit fasteners compared to clearance fit fasteners. These fasteners are installed in the most fatigue-critical areas of the aircraft. Currently, the radii of fasteners in the industry are not optimized with the lead-in to promote interference fit in composite material (which may produce high installation forces due to the non-optimal lead-in geometry). The lead-in geometry proposed herein helps preclude fasteners from “sticking” in the hole or causing excessive damage to the structure during installation. Since this system does not need to add cap seals, the assembly time is decreased. While interference fit fasteners for attaching two structures to each other have been described with reference to various embodiments, it will be understood by those skilled in the art that various changes may be made and equivalents may be substituted for elements thereof without departing from the scope of the claims set forth hereinafter. In addition, many modifications may be made to adapt the teachings herein to a particular situation without departing from the scope of the claims. As used in the claims, the term “external projections” should be construed broadly to encompass at least the following types: (1) external threads and (2) external annular rings. As used in the claims, the category “mating parts” comprises internally threaded nuts and collars and swaged collars. As used in the claims, the term “fastener assembly” should be construed broadly to read on at least each of the following: (1) a bolt and a nut coupled to each other; (2) a bolt and a collar coupled to each other; (3) a pin and a collar coupled to each other; and (4) a pin and a nut coupled to each other.BACKGROUND
SUMMARY
BRIEF DESCRIPTION OF THE DRAWINGS
DETAILED DESCRIPTION