A data center including a data center management controller and a plurality of floor tiles. Each floor tile includes a tile management controller coupled to the data center management controller. The data center management controller aggregates floor tile information from each floor tile and provides floor tile configuration information to each floor tile.
1. A server rack, comprising:
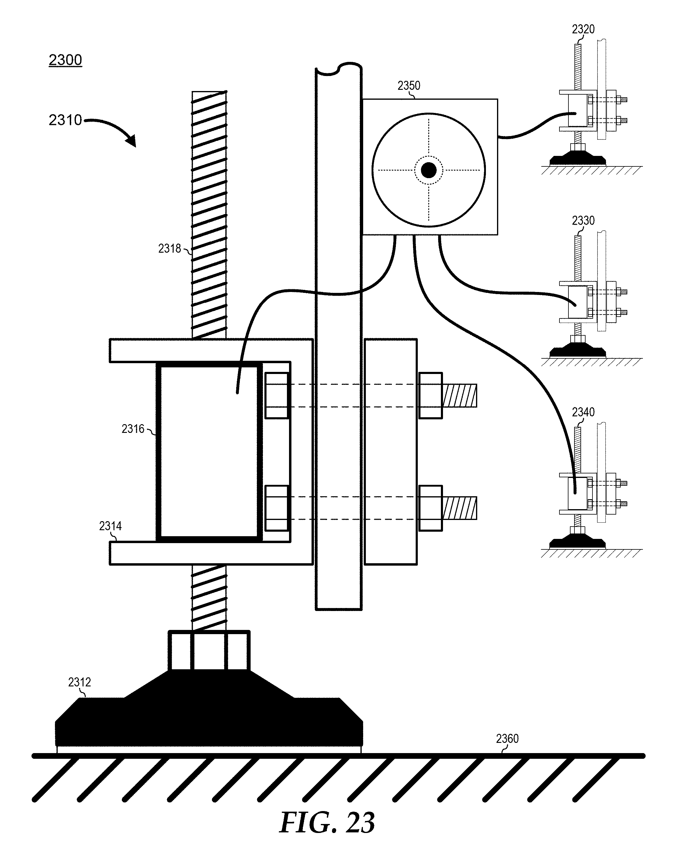
a plurality of foot assemblies, each foot assembly including a foot and an adjustment servo, wherein when the adjustment servo of a particular foot assembly is engaged in a first direction, the associated foot is moved downward toward a floor, and when the adjustment servo of the particular foot assembly is engaged in a second direction, the associated foot is moved upward away from the floor; and a leveling controller coupled to the adjustment servo of each foot assembly and configured to determine whether the server rack is level, and when the server rack is not level, to engage each adjustment servo to move the associated foot to level the server rack. 2. The server rack of 3. The server rack of 4. The server rack of a plurality of casters, wherein when each foot assembly is moved upward away from the floor, the server rack is lowered onto the casters. 5. The server rack of 6. The server rack of 7. A server rack, comprising:
a plurality of interlocks, each interlock co-located with a rack unit location of the server rack, each interlock configured in a first position to permit the installation and removal of equipment from the associated rack unit location, and configured in a second position to prevent the installation and removal of the equipment from the associated rack unit location; and a rack interlock controller configured to control the interlocks to be in one of the first or second positions. 8. The server rack of 9. The server rack of 10. The server rack of 11. The server rack of 12. The server rack of a plurality of foot assemblies configured to raise the server rack off a floor and to lower the server rack onto the floor; wherein the interlock controller is further configured prevent the foot assemblies from lowering the server rack onto the floor when the center of gravity is above the centerline. 13. The server rack of 14. The server rack of a handle at a back side of the server rack, the back side being opposite a front side of the server rack were the equipment is accessed for installation or removal. 15. The server rack of 16. A server rack, comprising:
a side panel; and a side panel detector configured to determine whether or not the side panel is installed in the server rack, and to provide a first indication when the side panel is not installed in the server rack. 17. The server rack of a server rack management controller configured to receive the first indication. 18. The server rack of a side panel ground detector configured to determine whether or not the side panel is grounded, and to provide a second indication when the side panel is not grounded. 19. The server rack of 20. The server rack of
This application is a continuation of U.S. patent application Ser. No. 14/199,748 entitled “System and Method for Providing a Data Center Management Controller,” filed on Mar. 6, 2014, which is soon to issue as U.S. Pat. No. 9,923,766 the disclosure of which is hereby expressly incorporated by reference in its entirety. This disclosure relates generally to information handling systems, and more particularly relates to a system and method for providing a management controller to a server rack. As the value and use of information continues to increase, individuals and businesses seek additional ways to process and store information. One option is an information handling system. An information handling system generally processes, compiles, stores, and/or communicates information or data for business, personal, or other purposes. Because technology and information handling needs and requirements may vary between different applications, information handling systems may also vary regarding what information is handled, how the information is handled, how much information is processed, stored, or communicated, and how quickly and efficiently the information may be processed, stored, or communicated. The variations in information handling systems allow for information handling systems to be general or configured for a specific user or specific use such as financial transaction processing, reservations, enterprise data storage, or global communications. In addition, information handling systems may include a variety of hardware and software resources that may be configured to process, store, and communicate information and may include one or more computer systems, data storage systems, and networking systems. A data center is a facility to house a group of networked information handling systems typically used by organizations for the remote storage, processing, or distribution of large amounts of data, and includes associated components, such as telecommunication systems, storage systems, power supplies, environmental controls, and security infrastructure. A data center includes a group of server racks that house the information handling systems, and that are located on floor tiles of a raised floor. A space below the raised floor can be utilized to provide an air flow from an AC system to the server racks. It will be appreciated that for simplicity and clarity of illustration, elements illustrated in the Figures have not necessarily been drawn to scale. For example, the dimensions of some of the elements are exaggerated relative to other elements. Embodiments incorporating teachings of the present disclosure are shown and described with respect to the drawings presented herein, in which: The use of the same reference symbols in different drawings indicates similar or identical items. The following description in combination with the Figures is provided to assist in understanding the teachings disclosed herein. The following discussion will focus on specific implementations and embodiments of the teachings. This focus is provided to assist in describing the teachings, and should not be interpreted as a limitation on the scope or applicability of the teachings. However, other teachings can certainly be used in this application. The teachings can also be used in other applications, and with several different types of architectures, such as distributed computing architectures, client/server architectures, or middleware server architectures and associated resources. Server aisle 110 includes server racks 112, 114, 116, 118, and 120 that operate to perform the data storage and processing functions of data center 100. Floor 130 is a false-floor that forms a platform above a ground level floor, crating sub-floor 160, an area between floor 130 and the ground level floor. Sub-floor 160 provides for power routing and cabling for servers 112, 114, 116, 118, and 120, and acts as a conduit for air conditioning (AC) to provide temperature controlled air flow to the servers. As such, floor 130 includes floor tiles 132, 134, 136, 138, and 140 that each include vents that permit the temperature controlled air to pass from sub-floor 160 to cold aisle 170. There, the temperature controlled air is drawn through the equipment in server racks 112, 114, 116, 118, and 120 to cool the equipment, and the air flows out the back of the server racks, removing the heat from the equipment, and passing to hot aisle 180, where the hot air is recirculated through an AC system. The skilled artisan will recognize that other floor configurations than the illustrated raised floor configuration shown herein can be utilized in combination with the teachings of the present disclosure, as needed or desired. Further, the skilled artisan will recognize that other air flows than the air flows from the floor to the cold aisle to the hot isle as illustrated herein can be utilized in combination with the teachings of the present disclosure, as needed or desired. In an embodiment, DCMC 150 operates to provide a management network for the equipment in server racks 112, 114, 116, 118, and 120. For example, one or more of the elements of server racks 112, 114, 116, 118, and 120 can include a service processor such as a baseboard management controller, an Integrated Dell Remote Access Controller (iDRAC), another service processor, or a combination thereof, such that DCMC 150 can remotely manage the equipment in the server racks. An example of a DCMC includes a dedicated hardware device, a software stack on a dedicated server, a software stack on a server of data center 100, or other hardware, software, or firmware located in the data center or remote from the data center, as needed or desired. In a particular embodiment, the floor tiles operate to provide information to respective server racks. In a first case, the information is communicated via a passive communication channel. In another case, the information is communicated via an active communication channel, and the floor tiles include a tile management controller (TMC). In another embodiment, the information is provided to a rack management controller (RMC). In either of the above embodiments, each TMC can be in communication with DCMC 150, each RMC can be in communication with the DCMC, or both the TMCs and the RMCs can be in communication with the DCMC. In a particular embodiment, the RMCs operate to provide an Internet Protocol-based (IP) keyboard-video-mouse (KVM), an Ethernet management switch (EMS), and a serial aggregator. Moreover, the RMCs operate to provide a U-space aligned description of the equipment in the server rack. Here, the U-space alignment is determined based upon a management connection between the RMC and the equipment, or based upon a power connection between a power distribution unit (PDU) and the equipment. In another embodiment, the RMCs operate to provide a common real-time clock function for the equipment in the server rack, and to provide other common functions of the equipment in the server rack. In another embodiment the RMCs operate to provide virtual local area network (vLAN) mapping for the equipment in the server rack. In a first case, the vLAN mapping is provided based upon the location of a management connection between the RMC and the equipment. In another case, the vLAN mapping is provided based upon the location of a power connection between the PDU and the equipment. In another embodiment, a power map of the data center is obtained based upon the location of a power connection between the RMC and the PDU. In another embodiment, the data center operates to provide preemptive/proactive cooling of the equipment in the server racks on a per rack basis and on a data center wide basis. Further, one or more of the tile and the server racks operate to provide closed loop thermal control. In a first case, a floor tile operates to control whether or not air is permitted to flow through the vent of the floor tile. In another embodiment, an air flow based power generator is provided for the floor tiles, in order to provide power for the TMC. In another embodiment, one or more of the floor tiles and the server racks operate to determine the weight of the server rack and to calculate weight related parameters, such as safety margins, for the server rack. In a particular embodiment, the leveling feet of the server racks operate to determine the weight of the rack. In yet another embodiment, the leveling feet of the server racks are automatically controlled to provide leveling of the server racks. In another embodiment, the RMCs operate to determine when a server rack is top heavy, for example, when several pieces of equipment have been removed from the bottom of a server rack and other equipment has been left in place in the top of the server rack. Here, the RMCs operate to provide an interlock to keep service personnel from removing the equipment from the top of the rack. In another embodiment, the RMCs operate to detect when a side panel of the server rack has been removed or a ground is not connected. RFID tags 203, 205, and 207 are activated by a magnetic field created by an RFID tag reader, and provide the stored information via radio waves that are received by the RFID tag reader. In a particular embodiment, RFID tags 203, 205, and 207 are passive devices that receive operating power from the magnetic field. In another embodiment, RFID tags 203, 205, and 207 are active devices that are activated by the magnetic field, but that include a power source, such as a battery, to generate the radio waves to provide the stored information to the RFID reader. In either case, RFID tags 203, 205, and 207 can be provided in the form of adhesive stickers that are applied to the respective floor tiles 202, 204, and 206, or the RFID tags can be embedded in the respective floor tiles, as needed or desired. Further, RFID tags 203, 205, and 207 can be pre-programmed with the information prior to delivery to a data center, or the RFID tags can be programmed at the data center. In a particular embodiment, floor tiles 202-218 can include near-field communication (NFC) devices in the place of the RFID tags. Here, the NFC devices can store information similar to the information stored in the RFID tags. However, here, the NFC devices can be configured such that the stored information is rewriteable. In this way, floor tiles 202-218 can be mass produced and programmed with the desired information at the data center, and can also be reprogrammed if the needs of the data center change, or if a particular floor tile needs to be replaced. The skilled artisan will recognize that, in certain situations, not all floor tiles of a floor will need to include an RFID tag or a NFC device. For example, in a common configuration, one server rack is located on two floor tiles, and multiple floor tiles may be provided as walkway space in front of and in back of the server racks. Here, only one of the floor tiles under each server rack would need to include location information, and the other floor tiles under the server racks and the floor tiles in the aisles would not need to include RFID tags or NFC devices. The skilled artisan will recognize that other passive devices can be utilized to perform the functions of the RFID tags as disclosed herein, as needed or desired. Further, the skilled artisan will recognize that devices other than RFID tags can be utilized, such as another memory device, as needed or desired. In a particular embodiment, RFID tags 203, 205, and 207 include a subset of the information, such as a grid location and a pointer to a remote storage device, from which the complete information can be retrieved. Communication module 420 includes a communication port 422 that is operable to provide communications outside of floor tile 400. In particular, communication port 422 can be connected to a server rack to provide information 432 to the server rack. In addition, the server rack can direct TMC 410 to update or modify the contents of information 432. For example, if a server rack located on floor tile 400 is reconfigured to have a different range of IP addresses, the server rack can direct TMC 410 to update the IP address ranges in information 432. In this way, if the server rack is removed and a new server rack is located in its place, floor tile 400 includes the updated server rack configuration information which can be uploaded to the new server rack. Further, a manufacturer of floor tile 400 can use communication port 422 to pre-program information 432 on the floor tile, in accordance with a customer request, and the floor tile can be supplied to a data center with the configuration information already in place, thereby speeding the installation of the server rack located at the floor tile. In another embodiment, floor tile 400 is received in an unconfigured state, and information 432 is provided at the time of installation. An example of communication port 422 includes a wired communication port, such as an RS-232 port, an Ethernet port, a Universal Serial Bus (USB) port, an IEEE 1394 (Firewire) port, a Controller Area Network (CAN) port, an Inter-Integrated Circuit (I2C) port, a Serial Peripheral Interface (SPI) port, or another wired communication port, a wireless communication port, such as an NFC port, an IEEE 803.11 (WiFi) port, a Bluetooth port, or another wireless communication port, or a combination thereof. In a particular embodiment, described fully below, floor tile 400 operates to communicate with one or more adjacent floor tiles. In this embodiment, communication module 410 operates to provide communication to both the server rack and the adjacent floor tiles via communication port 422. In another case, communication module 410 includes one or more additional communication ports similar to communication port 422. Here, communication port 422 can be dedicated to the communication between TMC 410 and the server rack, and the additional communication port can be dedicated to communication between the TMC and the one or more adjacent floor tiles. Sensors 440 operate to provide TMC 410 with information related to the environment surrounding floor tile 400. For example, sensors 440 can include temperature and humidity sensors on the top side and the bottom side of floor tile 400, and TMC 410 can provide the temperature and humidity information to a server rack or to a DCMC to provide accurate, localized feedback as to the performance of an AC system in the data center. In another example, sensors 440 can include a strain gage or other weight sensor to measure the weight of a server rack that is located on floor tile 400, and TMC 410 can provide the weight information to the server rack or the DCMC to provide a warning that the server rack is over loaded. Power source 450 represents a source of power for operating TMC 410, communication module 420, memory 430, and sensors 440. An example of power source 450 includes an off-tile power source, such as a plug in power connection to an AC power supply, a DC power supply, a Power-Over-Ethernet source, or another power connection, an on-tile power source such as a battery or generator, or a combination thereof. In a particular embodiment, information 432 includes a subset of the information, such as a grid location and a pointer to a remote storage device, from which the complete information can be retrieved. Communication module 920 includes a communication port 922 that is operable to provide communications outside of server rack 900. In particular, communication port 922 can be connected to an active floor tile such as active floor tile 400 to provide information 932 to the active floor tile. In addition, the active floor tile can direct RMC 910 to update or modify the contents of information 932 and to modify the configurations of the equipment in server rack 900. For example, if server rack 900 is reconfigured to have a different range of IP addresses, the server rack can direct the active floor tile to update the IP address ranges in the information stored therein. In this way, if server rack 900 is removed and a new server rack is located in its place, the active floor tile includes the updated server rack configuration information which can be uploaded to the new server rack. Further, a manufacturer of server rack 900 can use communication port 922 to pre-program information 932 on the server rack, in accordance with a customer request, and the server rack can be supplied to a data center with the configuration information already in place, thereby speeding the installation of the server rack. In another embodiment, server rack 900 is received in an unconfigured state, and information 932 is provided at the time of installation. An example of communication port 922 includes a wired communication port, such as an RS-232 port, an Ethernet port, a USB port, a Firewire port, a CAN port, an I2C port, a SPI port, or another wired communication port, a wireless communication port, such as an NFC port, a WiFi port, a Bluetooth port, or another wireless communication port, or a combination thereof. Sensors 940 operate to provide RMC 910 with information related to the environment surrounding server rack 900 and of the data center. For example, sensors 940 can include temperature and humidity sensors on the top side and the bottom side of server rack 900, and RMC 910 can provide the temperature and humidity information to an active floor tile or to a DCMC to provide accurate, localized feedback as to the performance of an AC system in the data center. In another example, sensors 940 can include a strain gage or other weight sensor to measure the weight of server rack 900, and RMC 910 can provide the weight information to DCMC to provide a warning that the server rack is over loaded. For example, a static weight capacity can be exceeded, a location/floor weight capacity can be exceeded, or a server rack dynamic weight capacity can be exceeded. In a particular embodiment, RMC 910 operates to provide a management access point for the equipment in server rack 900, such that the RMC can manage the service processor functions for the entire server rack. For example, RMC 910 can provide for the management of the sensor data and power functions of the servers and chassis that are installed in server rack 900, manage the inventory of the server rack, monitor equipment hardware, operating software and environmental statuses in the servers and chassis, provide lifecycle management and firmware updates, or other service processor functions, as needed or desired. In another case, RMC 910 also operates as a management access point for passive and active floor tiles upon which server rack 900 is located. In another embodiment, RMC 900 operates to aggregate the management functions of other similar server racks, providing a centralized access point between the other server racks and the data center management system. Server rack 1100 is similar to server rack 900, and thus RMC 1130 is connected to a communication module, a memory, and one or more sensors (not illustrated) of server rack 1100. Aggregator 1140 includes the functions of an IP KVM that permits the remote access to the keyboard, video, and mouse functions of the equipment that is installed in server rack 1100. For example, a remote operator can access the keyboard, video, and mouse functions of a server that is installed in server rack 1100 by addressing IP packets to the Ethernet port of the server. The skilled artisan will recognize that other network protocols can be used to access the keyboard, video, and mouse functions of the equipment that is installed in server rack 1100, as needed or desired. Aggregator 1140 also includes the functions of a Ethernet management switch that establishes a management network between the service processors of the equipment installed in server rack 1100, and a management system of the data center. Aggregator 1140 also includes the functions of an I/O aggregator for stand-alone servers installed in server rack 1100. As such, aggregator 1140 integrates separate functions that would otherwise consume rack space 1110 into a separate unit that can be located in the top, the bottom, or the sides of server rack 1100. As illustrated, aggregator 1140 is included as an element of RMC 1130, but this implementation is only exemplary, and the functions of RMC 1130 and aggregator 1140 can be integrated into other devices as needed or desired. For example, an Ethernet management switch can be embodied which includes the functions of an IP KVM, an I/O aggregator, and a RMC, an IP KVM can be embodied to include the functions of an Ethernet management switch, and I/O aggregator, and a RMC, or another combination can be embodied, as needed or desired. Aggregator 1140 is connected to a service port 1142 associated with rack unit 1112, a service port 1144 associated with rack unit 1114, a service port 1146 associated with rack unit 1116, a service port 1148 associated with rack unit 1118, a service port 1150 associated with rack unit 1120, and a service port 1152 associated with rack unit 1122. For the purposes of this disclosure, a service port represents a data communication link that provides for a connection to one or more service processors on a management network of the data center. For example service ports 1142-1152 provide a connection to RMC 1130 and equipment that is connected to one of the service ports forms a node on the management network. Aggregator 1140 operates to distinguish between equipment that is connected to a first service port 1142, 1144, 1146, 1148, 1150, or 1152, and equipment that is connected to a second service port. In a particular embodiment, aggregator 1140 distinguishes between service ports because each service port is connected to a unique port of the aggregator. For example, utilizing the Ethernet management switch function of aggregator 1140, each of service ports 1142-1152 can be connected to a port of the aggregator that is uniquely associated with respective rack units 1112-1122, but this is not necessarily so, and the skilled artisan will recognize that other schemes for associating the service ports with the rack units can be utilized, as needed or desired. In a particular embodiment, service ports 1142-1152 are collocated physically with the associated rack units 1112-1122, as illustrated. In this embodiment, RMC 1130, aggregator 1140 and service ports 1142-1152 can be integrated into a single field replaceable unit (FRU) that is installed along the side of server rack 1100, such that the inclusion of the RMC, the aggregator, and the service ports does not necessitate an increase in the height of the server rack. For example, as described more fully below, RMC 1130, aggregator 1140 and service ports 1142-1152 can be integrated with a power distribution unit (PDU) of server rack 1100. The skilled artisan will recognize that rack units 1112-1122 can be ordered from the bottom of server rack 1130 to the top of the server rack, or can be ordered from the bottom of the server rack to the top of the server rack, as needed or desired. Note that, because aggregator 1140 operates to distinguish between equipment that is connected to service ports 1142-1152, RMC 1130 is operable to identify that 2-U server 1160 is connected at rack space 1112, that 2-U server 1170 is connected at rack space 1116, that 1-U server 1180 is connected at rack space 1120, and that 1-U server 1190 is connected at rack space 1122. In a particular embodiment, connector cables 1164, 1174, 1184, and 1194 are custom made such that they can only reach between one of service ports 1142-1152 a service port on a piece of equipment that is adjacent to the respective rack spaces 1112, 1114, 1116, 1118, 1120, and 1122. Thus, for example, connector cable 1184 is unable to span between service port 1150 and either service ports 1172 or 1192. In this way, not only are servers 1160, 1170, 1180, and 1190 uniquely associated with respective service ports 1142, 1146, 1150, and 1152, but also, the servers are identified as being physically located in respective rack spaces 1112, 1116, 1120, and 1122. Further, in a situation where 2-U servers 1160 and 1170 identify themselves to RMC 1130 as being 2-U pieces of equipment, then 2-U server 1160 is also identified as being physically located in rack spaces 1112 and 1114, and 2-U server 1170 is identified as being physically located in rack spaces 1116 and 1118. Even in an embodiment where connector cables 1164, 1174, 1184, and 1194 are general purpose cables that can reach between any one of service ports 1142, 1144, 1146, 1148, 1150, and 1152 and a service port on any piece of equipment installed in server rack 1100, the benefit of identifying the physical location of each piece of equipment is achieved by simply connecting each piece of equipment to the service port 1142-1152 that is most closely associated with the piece of equipment. In a particular embodiment, RMC 1130 provides a map of the physical locations of the equipment installed in server rack 1100 to a DCMC. Here, the DCMC operates to receive such location maps from each server rack in a data center, and creates a map of the physical locations of all of the equipment in the data center. In this way, when there is a problem with a particular piece of equipment, a service technician can be provided information that identifies the server rack that includes the piece of equipment, and the location within the server rack, eliminating the time-consuming process of tracking down the piece of equipment by hand. In a particular embodiment, a piece of equipment that is a multi-rack-unit piece of equipment can have a service port located proximate to other than a bottom rack unit. For example, a 2-U server can have a service port that is located proximate to a top of the server, a 3-U server can have a service port that is located proximate to a middle of the server, or another configuration for the service port can be provided by a server. Here, aggregator 1140 operates to determine the location of the equipment based upon information provided by the server as to the location of the service port in the equipment. In another embodiment, where a piece of equipment is a multi-rack-unit piece of equipment, the service port on the piece of equipment can be connected to the service port of the server rack that is associated with the top rack unit of the piece of equipment, and RMC 1130 operates to locate the piece of equipment based upon the connection. In this embodiment, the choice of connection to the service port associated with the top rack unit or to the service port associated with the bottom rack unit is user selectable. For example, service port 1162 can be connected to service port 1144, and service port 1172 can be connected to service port 1148, as illustrated by connectors 1166 and 1176, respectively Real time clock 1340 operates to provide a consistent time base for server rack 1300. In a particular embodiment, real time clock 1340 includes a battery operable to maintain power to a clock circuit that maintains an accurate time stamp. For example, real time clock 1340 can operate to provide an accuracy of 2 to 3 seconds per day. Additionally, RMC 1220 operates to make periodic contact with a time-base service such as an atomic clock system that provides a Network Time Protocol (NTP) based synchronized timestamp to maintain the accuracy of real time clock 1340. For example, using the NTP timestamp, real time clock 1340 can maintain an accuracy of better than one millisecond. Moreover, by coordinating real time clocks in other server racks of the data center, the entire data center can maintain a similar accuracy. In a particular embodiment, servers 1360, 1370, 1380, and 1390 operate to obtain the timestamp from real time clock 1340, such that the servers also maintain a high degree of accuracy. Moreover, because servers 1360, 1370, 1380, and 1390 obtain the timestamp from real time clock 1340, the servers do not include their own separate real time clock functions, thereby saving on the cost of the components to provide the real time clock function, and also saving space on the motherboards of the servers. In another embodiment, RMC 1310 also represents other shared functions for servers 1360, 1370, 1380, and 1390. For example, RMC 1310 can include warning or critical status handlers for servers 1360, 1370, 1380, and 1390, log handlers for the servers, housekeeping information for the servers, and the like. Rack switch 1450 includes a host port 1452 connected to a host port 1466 of server 1460, a host port 1454 connected to a host port 1476 of server 1470, a host port 1456 connected to a host port 1486 of server 1480, a host port 1458 connected to a host port 1496 of server 1490, and a service port 1459 connected to a service port 1432 of RMC 1430. For the purposes of this disclosure, a host port represents a data communication link that provides a connection between one or more host processors on a server to a primary network of the data center. For example host ports 1452-1458 provide a connection for servers 1460, 1470, 1480, and 1490 to have access to a network backbone or other server racks on the primary network of the data center. In a particular embodiment, RMC 1430 operates to detect, based upon the physical location within server rack 1400 of the servers 1460, 1470, 1480, and 1490, which host port 14521454, 1456, or 1458 is connected to which server. Here, RMC 1430 communicates via the management network to service processors of servers 1460, 1470, 1480, and 1490, and receives information related to the identifications of the respective host ports 1466, 1476, 1486, and 1496. For example, RMC 1430 can receive the MAC addresses of host ports 1466, 1476, 1486, and 1496, the IP addresses of the host ports, or other information that identifies the host ports. Further, RMC 1430 communicates via the management network to a service processor of rack switch 1450 and receives information related to which of host ports 1452-1458 are connected to the particular identified host ports 1466, 1476, 1486, and 1496 (i.e., to which particular MAC or IP address). In this way, RMC 1430 provides a physical port map of the connections on server rack 1400. Further, RMC 1430 operates to provide the port map to a DCMC of the data center, and the DCMC combines the port map with other similar port maps received from the other server racks to provide a physical port map of the connections within the data center. In a particular embodiment, vLAN setup module 1440 operates to determine, via the management network to service processors of servers 1460, 1470, 1480, and 1480, whether or not one or more of the servers are provisioned for any vLANs. For example, one or more of servers 1460, 1470, 1480, and 1490 can provide a virtualized operating environment that can establish a separate vLAN for each virtual machine that is instantiated on the server. Then, based upon the connection map, vLAN setup module 1440 directs, via the management network to a service processor of rack switch 1450, the rack switch to configure host ports 1452-1458 for the detected vLANs. Further, vLAN setup module 1440 operate to communicate via the management network to the DCMC and to other server racks, the configuration information for the vLANs, such that other network switching devices in the data center can be configured for the detected vLANs. In a particular embodiment, vLAN setup module 1440 operates to detect when a new vLAN is established and to automatically configure the backbone of the data center for the newly detected vLAN. In a particular embodiment, rack switch 1450 operates using a Spanning-Tree Protocol (STP) to prevent loops from being formed. In addition, RMC 1430 implements STP to prevent loops when one or more of service ports 1442-1447 are utilized in a failover condition. Moreover, because RMC 1430 communicates directly with rack switch 1450 via service ports 1432 and 1459, the RMC is in a position to detect when one of host ports 1452-1458 are operating in a loop, and to notify an administrator of the loop condition. Further, because RMC 1430 operates to create a port map of the host port connections on server rack 1400, loops can be proactively prevented, because the RMC can detect via the port map that redundant paths are available, and can direct rack switch 1450 to eliminate redundant paths in the rack switch's routing tables, thereby superseding the need of STP operations to shut down host ports or the rack switch. Power mapping module 1540 operates to distinguish between equipment that is connected to a first one of power receptacles 1542, 1544, 1546, 1548, 1550, or 1552, and equipment that is connected to a second power receptacle. In particular, power mapping module 1540 can be coupled to power receptacles 1542-1552 to receive an indication when a power cord is plugged into a power receptacle. In a particular embodiment, power cords 1564, 1574, 1584, and 1594 are custom made such that they can only reach between one of power receptacles 1542, 1544, 1546, 1548, 1550, and 1552 a power receptacle on a piece of equipment that is adjacent to the respective rack spaces. Thus, for example, power cord 1584 is unable to span between power receptacle 1550 and either power receptacles 1572 or 1592. In this way, not only are servers 1560, 1570, 1580, and 1590 uniquely associated with respective power receptacles 1542, 1546, 1550, and 1552, but also, the servers are identified as being physically located in the respective rack spaces. Even in an embodiment where power cords 1564, 1574, 1584, and 1594 are general purpose power cords that can reach between any one of power receptacles 1542, 1544, 1546, 1548, 1550, and 1552 and a power receptacle on any piece of equipment installed in server rack 1500, the benefit of identifying the physical location of each piece of equipment is achieved by simply connecting each piece of equipment to the power receptacle 1542-1542 that is most closely associated with the piece of equipment. In a particular embodiment, more than one power receptacle is provided for each rack space, such that, if a piece of equipment requires more power than the number of rack spaces that the piece of equipment occupies, the power cords to each power receptacle on the piece of equipment can still be plugged into the power receptacles associated with the occupied rack spaces. In another embodiment, multiple power receptacles are included for each rack space, and each power receptacle is associated with a different power whip of the data center. In this way, redundant power and power balancing can be achieved while maintaining the benefits of having the power receptacles associated with the rack spaces. In a particular embodiment, RMC 1530 provides a map of the physical locations of the equipment installed in server rack 1500 to a DCMC. Here, the DCMC operates to receive such location maps from each server rack in a data center, and creates a map of the physical locations of all of the equipment in the data center. In this way, when there is a problem with a particular piece of equipment, a service technician can be provided information that identifies the server rack that includes the piece of equipment, and the location within the server rack, eliminating the time-consuming process of tracking down the piece of equipment by hand. In a first case, power receptacles 1542-1552 include power line communication modules (PLC) which permit the transmitting and receiving of information from similarly equipped pieces of equipment over the power cords that connect the pieces of equipment to the power receptacles. Here, power mapping module 1540 directs each power receptacle 1542, 1546, 1550, and 1552 to broadcast a power receptacle identification to the respective servers 1560, 1570, 1580, and 1590, and the servers in turn report the power receptacle identification to RMC 1530 via the management network. In this way, RMC 1530 obtains the map of the physical locations of the equipment installed in server rack 1500. In a variation of the first case, power mapping module 1540 provides a unique identifier to each power receptacle 1542, 1546, 1550, and 1552 to be broadcast the respective servers 1560, 1570, 1580, and 1590, and the servers in turn report the unique identification to RMC 1530 via the management network. In a second case, RMC 1530 broadcasts a unique identifier over the management network to each of servers 1560, 1570, 1580, and 1590, and the servers each append their own identifications to the received unique identification and rebroadcast the unique identifiers via respective power receptacles 1562, 1572, 1582, and 1592 to the associated power receptacles 1542, 1546, 1550, and 1552. RMC 1530 then receives the unique identifiers back from power receptacles 1542, 1546, 1550, and 1552 and obtains the map of the physical locations of the equipment installed in server rack 1500. In a particular embodiment, RMC 1530 operates to track the amount of power delivered by power receptacles 1542-1552 to the pieces of equipment that are installed in server rack 1500. RMC 1530 also maintains power limits for each piece of equipment and for server rack 1500 as a whole. Then, when RMC 1530 detects that a power limit has been exceeded, the RMC can direct the equipment to take steps to reduce the power consumption associated with the power limit. For example if one of servers 1560, 1570, 1580, or 1590 is consuming more power than the limit set for the power consumption of that server, RMC 1530 can direct the server to take steps to reduce the power consumption, such as to throttle one or more processors of the server, reduce the I/O bandwidth of the server, or prioritize tasks that are being performed by the server. In a case where a piece of equipment that is exceeding its power limit is operating a virtualized environment, RMC 1430 can direct the piece of equipment to reduce the priority of a virtual machine that is determined to be consuming a large portion of the power. In another example, if server rack 1500 is exceeding its power limit, then RMC 1530 can take steps to reduce the running average power of the server rack by throttling one or more of the pieces of equipment that are installed in the server rack. The skilled artisan will recognize that the power levels can be tracked on a per-phase basis, and that the power levels can be balanced per phase. In another embodiment, RMC 1530 provides the power status of server rack 1500 to the DCMC of the data center, and other similarly enabled server racks provide their power status to the DCMC. Here, the DCMC operates to manage the running average power of the data center as a whole. For example, if a particular server rack is consistently consuming too much power, the DCMC can direct the migration of one or more workloads to a different server rack that is consuming less power, or can direct the RMC to throttle one or more pieces of equipment that are installed in the server rack. In a particular embodiment, RMC 1530 operates to manage power standby of the equipment that is installed in server rack 1500. For example, where a user of the data center provides a requirement for a number of servers to be placed in a standby (S5) state, RMC 1530 can monitor the utilization of servers 1560, 1570, 1580, and 1590, and determine that a usage threshold has been exceeded. In this case, RMC 1530 operates to power up one or more of servers 1560, 1570, 1580, or 1590 such that, if the usage continues to increase, the powered up server is already booted and ready to be added to the user's needs. In another case, when the utilization decreases, RMC 1530 operates to power down one or more of servers 1560, 1570, 1580, or 1590 to conserve power. In a particular embodiment, RMC 1530, power mapping module 1540, and power receptacles 1542-1552 can be integrated with a PDU of server rack 1500. In a particular embodiment, described more fully with respect to Communication module 1720 includes a communication port that is operable to provide communications outside of floor tile 1700. In particular, the communication port can be connected to a server rack such as server rack 1800, described below, to provide the information from memory 1730 to the server rack. In addition, the server rack can direct TMC 1710 to update or modify the contents of the information. An example of the communication port includes a wired communication port, such as an RS-232 port, an Ethernet port, a USB port, a Firewire port, a CAN port, an I2C port, a SPI port, or another wired communication port, a wireless communication port, such as an NFC port, a WiFi port, a Bluetooth port, or another wireless communication port, or a combination thereof. Sensors 1742 and 1744 operate to provide TMC 1710 with information related to the environment surrounding floor tile 1700. For example, sensors 1742 and 1744 can be located on the top side of floor tile 1700, on the bottom side of the floor tile, or on both the top side and the bottom side, and TMC 1710 can provide the temperature and humidity information to a server rack or to a DCMC to provide accurate, localized feedback as to the performance of an AC system in the data center. In another embodiment, sensors 1742 and 1744 can be remote from floor tile 1700, and the information from the sensors can be received via communication module 1720. Vent 1760 permits air flow 1770 of thermally controlled air from a data center AC system to pass from the bottom side of floor tile 1700 to the top side of the floor tile, to permit the thermally controlled air to pass to the equipment in server racks proximate to the floor tile. A portion 1772 of air flow 1770 passes next to sensors 1742 and 1744, and the sensors obtain a measurement of the temperature and humidity, respectively of the air flow. TMC 1710 operates to determine if the environment surrounding floor tile 1700 is such to necessitate the supply of more or less of air flow 1770 to the equipment in the server racks proximate to the floor tile, and to direct actuator 1762 to position baffle 1764 to restrict more or less of the air flow, as dictated by the environment surrounding the floor tile. In a particular embodiment, floor tile 1700 includes one or more additional sensors, such as pressure sensors, mass air flow sensors, and air flow velocity sensors, and TMC 1710 operates to regulate air flow 1770 based upon the one or more additional sensors. For example, air flow 1770 can be limited to a certain air flow volume, and if sensors 1742 and 1744 indicate that more air flow is needed than is permitted by the air flow volume limit, other steps to reduce the cooling demand of the server rack, such as migrating workloads, or throttling equipment in the server rack, can be performed. Communication module 1820 includes a communication port that is operable to provide communications outside of server rack 1800. In particular, the communication port can be connected to an active floor tile such as active floor tile 1700 to provide the information from memory 1830 to the active floor tile. In addition, the active floor tile can direct RMC 1810 to update or modify the contents of the information. An example of the communication port includes a wired communication port, such as an RS-232 port, an Ethernet port, a USB port, a Firewire port, a CAN port, an I2C port, a SPI port, or another wired communication port, a wireless communication port, such as an NFC port, a WiFi port, a Bluetooth port, or another wireless communication port, or a combination thereof. Sensors 1842 and 1844 operate to provide RMC 1810 with information related to the environment surrounding server rack 1800. For example, sensors 1842 and 1844 can be located on the top side of server rack 1800, on the bottom side of the server rack, or on both the top side and the bottom side, and RMC 1810 can provide the temperature and humidity information to a floor tile or to a DCMC to provide accurate, localized feedback as to the performance of an AC system in the data center. In another embodiment, sensors 1842 and 1844 can be remote from server rack 1800, and the information from the sensors can be received via communication module 1820. Server rack 1800 is illustrated as including a vent 1860 for permitting air flow 1870 of thermally controlled air to pass through the equipment the server rack. The skilled artisan will recognize that vent 1860 represents one or more actual air flows through the equipment in server rack 1800, and that the individual air flows in the equipment may be assisted by ventilation fans in the equipment to pass the thermally controlled air to cool the components of the equipment. Air flow 1870 passes next to sensors 1842 and 1844, and the sensors obtain a measurement of the temperature and humidity, respectively of the air flow. RMC 1810 operates to determine if the environment surrounding server rack 1800 is such to necessitate the supply of more or less of air flow 1870 to the equipment in the server rack, and to communicate the environmental information to the floor tile which can direct an actuator to position a baffle to restrict more or less of the air flow, as dictated by the environment surrounding the server rack, as described above. Alternatively, RMC 1810 operates communicate the environmental information to a temperature control module, such as temperature control module 1670 to provide preemptive/proactive cooling of the equipment in server rack 1800. In a particular embodiment, temperature sensors 1842 include a temperature sensor located at the bottom front of server rack 1800 to measure the temperature of the temperature controlled air entering the environment of the server rack, and another temperature sensor located at the top rear or the server rack to measure the temperature of the air leaving the environment of the server rack. In another embodiment, humidity sensors 1844 include a humidity sensor located at the bottom front of server rack 1800 to measure the humidity of the temperature controlled air entering the environment of the server rack, and another humidity sensor located at the top rear or the server rack to measure the humidity of the air leaving the environment of the server rack. Returning to In another embodiment, one or more of RMC 1612, TMC 1632, and temperature control module 1670 operates to provide preemptive/proactive cooling of the equipment in server rack 112 on a per rack basis or on a data center wide basis. Here, in a first case, RMC 1612 operates to detect a change in the power usage of server rack 112. For example, server rack 112 can be similar to server rack 1500, and is operable to detect changes in the power consumption of the equipment in the server rack. In this case, one or more of RMC 1612, TMC 1632, and temperature control module 1670 operate to control whether or not air is permitted to flow through vent 1652 to preemptively anticipate the air flow needs of server rack 112, based upon the detected change in power consumption and to proactively provide the needed air flow for the anticipated need. For example, where the power consumption of server rack 112 is detected to have increased, the selected device can direct the actuator to position the baffle to permit more air flow, and where the power consumption of the server rack is detected to have decreased, the selected device can direct the actuator to position the baffle to permit less air flow. Similarly, server racks 114-120, floor tiles 134-140, and temperature control module 1670 operate to control whether or not air is permitted to flow through respective vents 1654-1660 based upon changes in the power consumption of the equipment in the server racks. In a second case, RMC 1612 operates to recognize a routine change in the power usage of server rack 112. For example, server rack 112 can be similar to server rack 1500, and is not only operable to detect changes in the power consumption of the equipment in the server rack, but also is operable to provide a power consumption analysis over time to determine that server rack 112 has recognizable time periods of increased power consumption and recognizable time periods of decreased power consumption. In this case, one or more of RMC 1612, TMC 1632, and temperature control module 1670 operate to control whether or not air is permitted to flow through vent 1652 to preemptively anticipate the air flow needs of server rack 112, based upon the power consumption analysis and to proactively provide the needed air flow for the anticipated need. For example, where the power consumption of server rack 112 is analyzed to be routinely higher between 8 am and 12 pm on Monday through Friday, the selected device can direct the actuator to position the baffle to permit more air flow to the server rack, beginning at 7:55 am on Monday through Friday, and where the power consumption of the server rack is analyzed to be routinely lower between 2 am and 5 am each day of the week, the selected device can direct the actuator to position the baffle to permit less air flow, beginning at 1:55 am on each day of the week. Similarly, server racks 114-120, floor tiles 134-140, and temperature control module 1670 operate to control whether or not air is permitted to flow through respective vents 1654-1660 based upon a power consumption analysis over time for the equipment in the server racks. In a second case, temperature control module 1670 operates to recognize a routine change in the power usage of data center 100. Here, server racks 112-120 each provide a power consumption analysis over time to DCMC 150, and temperature control module 1670 aggregates the information to determine that data center 100 has recognizable time periods of increased power consumption and recognizable time periods of decreased power consumption. In this case, temperature control module 1670 operates to control a temperature setting for the AC system to preemptively anticipate the cooling needs of data center 100 based upon the power consumption analysis. For example, where the power consumption of data center 100 is analyzed to be routinely higher between 8 am and 12 pm on Monday through Friday, temperature control module 1670 can increase a temperature setting for the AC system beginning at 7:50 am on Monday through Friday, and where the thermal load of the data center is analyzed to be routinely lower between 2 am and 5 am each day of the week, the temperature control module can decrease the temperature setting for the AC system beginning at 1:50 am on each day of the week. Communication module 1920 includes a communication port that is operable to provide communications outside of floor tile 1900. In particular, the communication port can be connected to a server rack, to provide the information from memory 1930 to the server rack. In addition, the server rack can direct TMC 1910 to update or modify the contents of the information. An example of the communication port includes a wired communication port, such as an RS-232 port, an Ethernet port, a USB port, a Firewire port, a CAN port, an I2C port, a SPI port, or another wired communication port, a wireless communication port, such as an NFC port, a WiFi port, a Bluetooth port, or another wireless communication port, or a combination thereof. Power generator 1952 is situated in air flow 1960 of conditioned air from the AC system, and to generate power for floor tile 1900 from the air flow. In particular, power generator 1952 represents a wind powered generator or alternator, and power source 1950 operates to receive a DC or AC voltage from the power generator and utilize the received voltage to power the components of floor tile 1900. In a particular embodiment, power source 1950 includes a battery and utilized the received voltage from power generator 1952 to keep the battery charged. In this way, power generator 1952 can be sized to provide an amount of power to floor tile 1900 that is matched to the average power consumption of the floor tile, and does not need to be sized to provide an amount of power that is matched to the peak power consumption of the floor tile. Communication module 2020 includes a communication port that is operable to provide communications outside of floor tile 2000. In particular, the communication port can be connected to a server rack such as server rack 1800, described below, to provide the information from memory 2030 to the server rack. In addition, the server rack can direct TMC 2010 to update or modify the contents of the information. An example of the communication port includes a wired communication port, such as an RS-232 port, an Ethernet port, a USB port, a Firewire port, a CAN port, an I2C port, a SPI port, or another wired communication port, a wireless communication port, such as an NFC port, a WiFi port, a Bluetooth port, or another wireless communication port, or a combination thereof. Weight sensor 2046 operates to provide TMC 2010 with information related to the weight of equipment that is located on floor tile 2000. For example, sensor 2046 can represent a strain gage or a mechanical scale device embedded in the top side of floor tile 2000, and TMC 2010 can provide the weight information to a server rack or to a DCMC. In a particular embodiment, TMC 2010 receives the weight information from weight sensor 2046, compares it with a weight limit for floor tile 2000 as stored in memory 2030, and provides an alert to a RMC or a DCMC when the detected weight exceeds the weight limit. In another embodiment, TMC 2010 receives the weight information from weight sensor 2046, where the weight information shows that the weight of the equipment on floor tile 2000 is either increasing, indicating that equipment has been added to the server rack, or decreasing, indicating that the equipment has been removed from the server rack. Here, T M C 2010 provides an alert to the RMC or the DCMC that equipment has been added to or removed from the server rack. In another embodiment, where one server rack is located atop two or more floor tiles similar to floor tile 2000, the floor tiles add the weight information received from their respective weight sensors, and the weight limit stored in the respective memories represents a total weight limit for the two or more floor tiles. Communication module 2120 includes a communication port that is operable to provide communications outside of server rack 2100. In particular, the communication port can be connected to an active floor tile such as active floor tile 1700 to provide the information from memory 2130 to the active floor tile. In addition, the active floor tile can direct RMC 2110 to update or modify the contents of the information. An example of the communication port includes a wired communication port, such as an RS-232 port, an Ethernet port, a USB port, a Firewire port, a CAN port, an I2C port, a SPI port, or another wired communication port, a wireless communication port, such as an NFC port, a WiFi port, a Bluetooth port, or another wireless communication port, or a combination thereof. Weight sensor 2146 operates to provide RMC 2110 with information related to the weight of equipment that is installed in server rack 2100. For example, sensor 2146 can represent a strain gage or a mechanical scale device embedded in the bottom of server rack 2100, and RMC 2110 can provide the weight information to an active floor tile or to a DCMC. In a particular embodiment, RMC 2110 receives the weight information from weight sensor 2146, compares it with a weight limit for floor tile 2100 as stored in memory 2130, and provides an alert to a TMC or a DCMC when the detected weight exceeds the weight limit. In another embodiment, RMC 2110 receives the weight information from weight sensor 2146, where the weight information shows that the weight of the equipment in server rack 2100 is either increasing, indicating that equipment has been added to the server rack, or decreasing, indicating that the equipment has been removed from the server rack. Here, RMC 2110 provides an alert to the TMC or the DCMC that equipment has been added to or removed from the server rack. Foot assembly 2210 is movably affixed to server rack structural element 2230. In this regard, foot assembly 2210 is fixed to server rack structural element 2230 in a horizontal direction, but is free to move in a vertical direction to the extent that fasteners 2240 are limited by slots 2232. As such, when foot 2212 is adjusted such that the foot is off of floor 2250, foot assembly 2210, sliding bracket 2222 and fasteners 2240 are at a lower extreme of slots 2232. In this position, scale element 2224 is calibrated to register a minimum weight. For example, when positioned at the lower extreme of slots 2232, scale element 2224 can be calibrated to read a weight of server rack 2200 on foot 2212 of “zero” (e.g., pounds, kilograms, or other, as needed or desired), or the scale element can be calibrated to read a weight of the server rack as predetermined at a factory. Further, when foot 2212 is adjusted such that the foot is fully engaged with the floor (e.g., when the foot is supporting one quarter of the weight of server rack 2200 and the equipment installed therein), foot assembly 2210, sliding bracket 2222 and fasteners 2240 are at a higher extreme of slots 2232. In this position, scale element 2224 is calibrated to register a non-minimum weight. For example, when positioned at the higher extreme of slots 2232, scale element 2224 can be calibrated to read a weight of server rack 2200 and the installed equipment on foot 2212, or the scale element can be calibrated to read a weight of just the installed equipment. The skilled artisan will recognize that the above discussion was in terms of a single foot assembly 2100, but that the actual measurements will be of that portion of the weight of server rack 2100 and the installed equipment that is supported by the foot assembly, and that other portions of the weight of the server rack and the installed equipment will be measured by the other foot assemblies, giving a total weight of the server rack and the installed equipment. Moreover, the skilled artisan will recognize that the level of the higher extreme of slots 2232 to which foot assembly 2210, sliding bracket 2222 and fasteners 2240 are positioned will depend on the weight of server rack 2200 and the equipment installed therein, and that a greater or lesser weight will result in the foot assembly, the sliding bracket, and the fasteners being located at a different, higher or lower, respectively, position. In a particular embodiment, weight sensor 2226 operates receive an indication of the weight detected by scale element 2224, and to provide a RMC associated with server rack 2200 with information related to the weight of equipment that is installed in the server rack. For example, the RMC can provide the weight information to an active floor tile or to a DCMC. In a particular embodiment, the RMC receives the weight information from weight sensor 2226, compares it with a weight limit for the floor tile, and provides an alert to a TMC or a DCMC when the detected weight exceeds the weight limit. In another embodiment, the RMC receives the weight information from weight sensor 2226, where the weight information shows that the weight of the equipment installed in server rack 2200 is either increasing, indicating that equipment has been added to the server rack, or decreasing, indicating that the equipment has been removed from the server rack. Here, the RMC provides an alert to the TMC or the DCMC that equipment has been added to or removed from server rack 2200. In another embodiment, one or more of scale element 2224 and weight sensor 2226 operate to provide an indication as to whether or not foot 2212 is engaged with floor 2250. In a first case, scale element 2224 is configured to provide a visible indication of the position of foot 2212, such as a scale read out that shows a red indication when the foot is engaged and a green indication when the foot is not engaged based upon the amount of weight reported by the scale element. In a second case, weight sensor 2226 is configured to light a red indicator, such as a red LED indicator, when foot 2212 is engaged and a green indicator, such as a green LED indicator, when the foot is not engaged, based upon the weight indication received from scale element 2224. In an alternative, weight sensor 2226 can include a micro-switch that is engaged by foot 2212 when the foot is disengaged from floor 2250, such that the action of the micro-switch provides for the red and green indications. In a particular embodiment, a RMC can receive an indication of the position of foot 2212, and can report that indication via an indicator or to a DCMC. Leveling module 2350 is connected to adjusting servo 2316 and to the adjusting servos of foot assemblies 2320, 2330, and 2340. In a particular embodiment, leveling module 2350 operates to detect when server rack 2300 is level, that is, oriented in a vertical relationship with floor 2360. If server rack 2300 is not level, then leveling module 2350 directs one or more of adjusting servo 2316 and the adjusting servos on foot assemblies 2320, 2330, and 2340 to apply a rotation to the associated threaded shaft in order to bring the server rack into a level orientation. In an embodiment, foot assemblies 2310, 2320, 2330, and 2340 include a weight sensor similar to weight sensor 2226, and the determination that server rack 2300 is in a level orientation can be made in conjunction with the weight distribution on the foot assemblies. An example of leveling module 2350 includes a gyroscopic sensor, a distance sensor, and level indicator, a camera, or other leveling sensor, as needed or desired. In another embodiment, a RMC receives the information from leveling module 2350 and directs the activities of the servos. In In a particular embodiment, data center management appliance 2710 represents a function of a data center management system that is accessible to an administrator, and the administrator interfaces with the data center management appliance via the data center management system. In another embodiment, data center management appliance 2710 provides a function that is portable to a mobile device, such as a smart telephone or a tablet device. In either case, an administrator can be presented with a graphical representation of the entire data center 100, and can select a portion of the data center to focus on. The administrator can further select a particular server rack or active floor tile to access the features presented by the server rack and the active floor tile. The administrator can also select a particular server or piece of equipment in the server rack and gain access to the management functions of the server or piece or equipment, such as via a BMC. The administrator can even access an operating system environment of the server or piece of equipment, such as via an aggregator similar to aggregator 1140. In another embodiment, DCMC 150 includes a preset list of tasks to execute when a new server or server rack is installed into data center 100. Here, a BMC of a new server, or a RMC of a new server rack will provide information related to the server or server tack to DCMC 150. Based upon predetermined information, DCMC 150 operates to provide preset server names, prefixes, IP addresses, BMC names, and the like to the server or server rack, thereby automating the setup and install of equipment in data center 100. The preset list also includes other server configuration information, such as OS installation instructions, application software installation instructions, vLAN mappings, and the like, as needed or desired. In another embodiment, data center management appliance 2710 operates to provide a repair guide for an administrator of data center 100. As such, data center management appliance 2710 identifies a piece of equipment 2710 that is in need of service, and provides a visual representation of the location of the equipment. The repair guide further provides instructions for the specific service. For example, the repair guide can include instructions for replacing a field replaceable unit (FRU) such as a disk drive, a power module, or the like. In a particular embodiment, when a service need is identified, data center management appliance 2710 automatically issues a service ticket and provides for a request dispatch for a replacement part if a failing part of the equipment is identified. A decision is made as to whether or not the Y-counter is equal to N in decision block 2812. If not, the “NO” branch of decision block 2812 is taken and the method returns to block 2808 where the Y-counter is incremented by 1 (one) and the next RFID device is programmed in block 2810. If the Y-counter is equal to N, the “YES” branch of decision block 2812 is taken and the Y-counter is reset to 0 (zero) in block 2814. A decision is made as to whether or not the X-counter is equal to M in decision block 2816. If not, the “NO” branch of decision block 2816 is taken and the method returns to block 2806 where the X-counter is incremented by 1 (one) and the next row of RFID devices is programmed as described above. If the X-counter is equal to M, the “YES” branch of decision block 2816 is taken, indicating that all of the RFID devices have been programmed, and the method ends in block 2818. A decision is made as to whether or not the Y-counter is equal to N in decision block 3012. If not, the “NO” branch of decision block 3012 is taken and the method returns to block 3008 where the Y-counter is incremented by 1 (one) and the information for the next active floor panes is stored in the memory device in block 3010. If the Y-counter is equal to N, the “YES” branch of decision block 3012 is taken and the Y-counter is reset to 0 (zero) in block 3014. A decision is made as to whether or not the X-counter is equal to M in decision block 3016. If not, the “NO” branch of decision block 3016 is taken and the method returns to block 3006 where the X-counter is incremented by 1 (one) and the next row of RFID devices is programmed as described above. If the X-counter is equal to M, the “YES” branch of decision block 3016 is taken, indicating that all of the RFID devices have been programmed, and the method ends in block 3018. The host ports are mapped to the switch and the vLAN associations for the switch are determined based upon the service port connections and the host port connections with the server in block 3514, and the server vLANs are mapped in the server rack switch in block 3516. A decision is made as to whether or not the rack unit is the last rack unit of the server rack in decision block 3518. If so, the “YES” branch of decision block 3518 is taken and the method ends in block 3522. If the rack unit is not the last rack unit of the server rack, the “NO” branch of decision block 3518 is taken, the next rack unit is considered in block 3520, and the method proceeds to block 3504 where a next service port is associated with the next rack unit. A decision is made as to whether or not the server usage level is greater than ULHIGH1 in decision block 3808. If not, the “NO” branch of decision block 3808 is taken and a decision is made as to whether or not the server usage level is less than ULLOW1 in decision block 3810. If not, the “NO” branch of decision block 3810 is taken and the method returns to block 3806 where the server usage level is re-determined. In this sequence of events, the server usage level is determined to be within a nominal range and no changes are made to SON, SSB, or SOFF. Returning to decision block 3808, if the server usage level is greater than ULHIGH1, the “YES” branch is taken, SSB is increased by 1 (one) server, that is, the number of severs in the standby state is increased by 1 (one), in block 3812, and a decision is made as to whether or not the server usage level is also greater than ULHIGH2 in decision block 3814. If not, the “NO” branch of decision block 3814 is taken and the method returns to block 3806 where the server usage level is re-determined. If the server usage level is also greater than ULHIGH2, the “YES” branch of decision block 3814 is taken, SON is increased by 1 (one) server, that is, the number of severs in the in the power-on state is increased by 1 (one) in block 3816, and the method returns to block 3806 where the server usage level is re-determined. Returning to decision block 3810, if the server usage level is less than ULLOW1, the “YES” branch is taken, SSB is decreased by 1 (one) server, that is, the number of severs in the standby state is decreased by 1 (one), in block 3818, and a decision is made as to whether or not the server usage level is also less than ULLOW2 in decision block 3820. If not, the “NO” branch of decision block 3820 is taken and the method returns to block 3806 where the server usage level is re-determined. If the server usage level is also less than ULLOW2, the “YES” branch of decision block 3820 is taken, SOFF is increased by 1 (one) server, that is, the number of severs in the in the power-off state is increased by 1 (one) in block 3822, and the method returns to block 3806 where the server usage level is re-determined. Returning to decision block 3906, if more air flow is needed by the server rack, then the “YES” branch is taken, one or more of the DCMC, the RMC, and the TMC operate to direct the active floor tile to provide additional air flow to the server rack in block 3910, and method returns to block 3904 where the air flow needed for a server rack is determined. For example, TMC 1710 can operate to direct actuator 1762 to position baffle 1764 to restrict less of air flow 1770 to provide additional thermally controlled air to the server rack. Returning to decision block 3908, if less air flow is needed by the server rack, then the “YES” branch is taken, one or more of the DCMC, the RMC, and the TMC operate to direct the active floor tile to provide less air flow to the server rack in block 3912, and method returns to block 3904 where the air flow needed for a server rack is determined. For example, TMC 1710 can operate to direct actuator 1762 to position baffle 1764 to restrict more of air flow 1770 to provide less thermally controlled air to the server rack. Returning to decision block 4106, if the power usage in the server rack has increased, then the “YES” branch is taken, one or more of the DCMC, the RMC, and the TMC operate to direct additional air flow to the server rack in block 4110, and method returns to block 4104 where a change in the power usage of the server or the server rack is detected. For example, RMC 1810 can direct TMC 1710 to operate actuator 1762 to position baffle 1764 to restrict less of air flow 1770 to provide additional thermally controlled air to the server rack. Returning to decision block 4108, if the power usage in the server rack has decreased, then the “YES” branch is taken, one or more of the DCMC, the RMC, and the TMC operate to direct less air flow to the server rack in block 4112, and method returns to block 4104 where a change in the power usage of the server or the server rack is detected. For example, RMC 1810 can direct TMC 1710 to operate actuator 1762 to position baffle 1764 to restrict more of air flow 1770 to provide less thermally controlled air to the server rack. Returning to decision block 4126, if the power usage in the data center periodically increases, then the “YES” branch is taken, the DCMC operates to direct the AC system to reduce a temperature setting for the thermally controlled air in the data center in block 4130, and method returns to block 4124 where one or more of a RMC and a DCMC detects a periodic change in the power usage of a data center. For example, DCMC 150 can direct the AC system to reduce the temperature setting in data center 100. Returning to decision block 4128, if the power usage in the data center periodically decreases, then the “YES” branch is taken, the DCMC operates to direct the AC system to increase the temperature setting for the thermally controlled air in the data center in block 4132, and method returns to block 4124 where one or more of a RMC and a DCMC detects a periodic change in the power usage of a data center. For example, DCMC 150 can direct the AC system to increase the temperature setting in data center 100. A decision is made as to whether or not the measured weight has changed in block 4310. If not, the “NO” branch of decision block 4310 is taken and a decision is made as to whether or not the measured weight is greater than the weight limit information in decision block 4312. If not, the “NO” branch of decision block 4312 is taken and the method returns to block 4308 where one or more of the active floor tile and the server rack measures the weight of the server rack. Returning to decision block 4310, if the measured weight has changed, the “YES” branch is taken, one or more of a TMC and a RMC provides an alert that the weight of the server rack has been changed in block 4314, and the method returns to block 4308 where one or more of the active floor tile and the server rack measures the weight of the server rack. For example one or more pieces of equipment can have been removed from or installed into server rack 2100, and one or more of TMC 2010 and RMC 2110 can provide an alert to a DCMC, indicating that the one or more pieces of equipment have been removed or installed into the server rack. Returning to decision block 4312, if the measured weight is greater than the weight limit information, the “YES” branch is taken, one or more of a TMC and a RMC provides an alert that the weight of the server rack is greater than the weight limit in block 4316, and the method returns to block 4308 where one or more of the active floor tile and the server rack measures the weight of the server rack. For example one or more of TMC 2010 and RMC 2110 can provide an alert to a DCMC, indicating that the weight of the server rack is greater than the weight limit. Information handling system 5100 can include devices or modules that embody one or more of the devices or modules described above, and operates to perform one or more of the methods described above. Information handling system 5100 includes a processors 5102 and 5104, a chipset 5110, a memory 5120, a graphics interface 5130, include a basic input and output system/extensible firmware interface (BIOS/EFI) module 5140, a disk controller 5150, a disk emulator 5160, an input/output (I/O) interface 5170, and a network interface 5180. Processor 5102 is connected to chipset 5110 via processor interface 5106, and processor 5104 is connected to the chipset via processor interface 5108. Memory 5120 is connected to chipset 5110 via a memory bus 5122. Graphics interface 5130 is connected to chipset 5110 via a graphics interface 5132, and provides a video display output 5136 to a video display 5134. In a particular embodiment, information handling system 5100 includes separate memories that are dedicated to each of processors 5102 and 5104 via separate memory interfaces. An example of memory 5120 includes random access memory (RAM) such as static RAM (SRAM), dynamic RAM (DRAM), non-volatile RAM (NV-RAM), or the like, read only memory (ROM), another type of memory, or a combination thereof. BIOS/EFI module 5140, disk controller 5150, and I/O interface 5170 are connected to chipset 5110 via an I/O channel 5112. An example of I/O channel 5112 includes a Peripheral Component Interconnect (PCI) interface, a PCI-Extended (PCI-X) interface, a high-speed PCI-Express (PCIe) interface, another industry standard or proprietary communication interface, or a combination thereof. Chipset 5110 can also include one or more other I/O interfaces, including an Industry Standard Architecture (ISA) interface, a Small Computer Serial Interface (SCSI) interface, an Inter-Integrated Circuit (I2C) interface, a System Packet Interface (SPI), a Universal Serial Bus (USB), another interface, or a combination thereof. BIOS/EFI module 5140 includes BIOS/EFI code operable to detect resources within information handling system 5100, to provide drivers for the resources, initialize the resources, and access the resources. BIOS/EFI module 5140 includes code that operates to detect resources within information handling system 5100, to provide drivers for the resources, to initialize the resources, and to access the resources. Disk controller 5150 includes a disk interface 5152 that connects the disc controller to a hard disk drive (HDD) 5154, to an optical disk drive (ODD) 5156, and to disk emulator 5160. An example of disk interface 5152 includes an Integrated Drive Electronics (IDE) interface, an Advanced Technology Attachment (ATA) such as a parallel ATA (PATA) interface or a serial ATA (SATA) interface, a SCSI interface, a USB interface, a proprietary interface, or a combination thereof. Disk emulator 5160 permits a solid-state drive 5164 to be connected to information handling system 5100 via an external interface 5162. An example of external interface 5162 includes a USB interface, an IEEE 1394 (Firewire) interface, a proprietary interface, or a combination thereof. Alternatively, solid-state drive 5164 can be disposed within information handling system 5100. I/O interface 5170 includes a peripheral interface 5172 that connects the I/O interface to an add-on resource 5174 and to network interface 5180. Peripheral interface 5172 can be the same type of interface as I/O channel 5112, or can be a different type of interface. As such, I/O interface 5170 extends the capacity of I/O channel 5112 when peripheral interface 5172 and the I/O channel are of the same type, and the I/O interface translates information from a format suitable to the I/O channel to a format suitable to the peripheral channel 5172 when they are of a different type. Add-on resource 5174 can include a data storage system, an additional graphics interface, a network interface card (NIC), a sound/video processing card, another add-on resource, or a combination thereof. Add-on resource 5174 can be on a main circuit board, on separate circuit board or add-in card disposed within information handling system 5100, a device that is external to the information handling system, or a combination thereof. Network interface 5180 represents a NIC disposed within information handling system 5100, on a main circuit board of the information handling system, integrated onto another component such as chipset 5110, in another suitable location, or a combination thereof. Network interface device 5180 includes network channels 5182 and 5184 that provide interfaces to devices that are external to information handling system 5100. In a particular embodiment, network channels 5182 and 5184 are of a different type than peripheral channel 5172 and network interface 5180 translates information from a format suitable to the peripheral channel to a format suitable to external devices. An example of network channels 5182 and 5184 includes InfiniBand channels, Fibre Channel channels, Gigabit Ethernet channels, proprietary channel architectures, or a combination thereof. Network channels 5182 and 5184 can be connected to external network resources (not illustrated). The network resource can include another information handling system, a data storage system, another network, a grid management system, another suitable resource, or a combination thereof. The skilled artisan will recognize that, where a particular device type, standard, or operation is specified, that suitable alternatives as needed or desired can be incorporated along with the teachings herein. For example, where the present disclosure describes network communications such as Ethernet communications, other communication standards, hardware, or software can be utilized to provide communications of sufficient bandwidth to perform the operations, teachings, and methods as disclosed herein. Although only a few exemplary embodiments have been described in detail herein, those skilled in the art will readily appreciate that many modifications are possible in the exemplary embodiments without materially departing from the novel teachings and advantages of the embodiments of the present disclosure. Accordingly, all such modifications are intended to be included within the scope of the embodiments of the present disclosure as defined in the following claims. In the claims, means-plus-function clauses are intended to cover the structures described herein as performing the recited function and not only structural equivalents, but also equivalent structures. The above-disclosed subject matter is to be considered illustrative, and not restrictive, and the appended claims are intended to cover any and all such modifications, enhancements, and other embodiments that fall within the scope of the present invention. Thus, to the maximum extent allowed by law, the scope of the present invention is to be determined by the broadest permissible interpretation of the following claims and their equivalents, and shall not be restricted or limited by the foregoing detailed description.CROSS REFERENCE TO RELATED APPLICATION
FIELD OF THE DISCLOSURE
BACKGROUND
BRIEF DESCRIPTION OF THE DRAWINGS
DETAILED DESCRIPTION OF DRAWINGS