заявка
№ US 20180195186
МПК C25B11/03

Tunable Thin Liquid/Gas Diffusion Layers for Electrolyzers

Авторы:
Feng-Yuan Zhang
Номер заявки
15404410
Дата подачи заявки
12.01.2017
Опубликовано
12.07.2018
Страна
US
Как управлять
интеллектуальной собственностью
Реферат

[0000]

A liquid/gas diffusion layer (LGDL) 112 for use in a proton exchange membrane electrolyzer cell 100 includes a planar body 120 having first and second surfaces 128, 130 that are separated by a body thickness 126. The body defines 120 a plurality of straight-through, non-interconnected, pores 122 extending through the body thickness 126, between the first and the second surfaces 128, 130. Each pore 122 has a peripheral rim shape 124, a throat area, and is separated from one another by a land length distance. The body has a porosity c that is calculated by dividing a total throat area of the plurality of pores AP by a total surface area of the surface around the pores AH, and where the porosity ratio e is between approximately 0.20 and approximately 0.80.

[00000]

Формула изобретения

1. A liquid/gas diffusion layer for use in a proton exchange membrane electrolyzer cell comprising:

a planar body having a first surface and a second surface that are separated by a thickness, said body defining a plurality of straight-through, non-interconnected, pores extending through the thickness, between the first surface and the second surface, with each pore having a peripheral rim shape, a throat area, and where each pore is separated from one another by a land length distance; and

wherein said body has a porosity ratio that is calculated by dividing a total throat area of the plurality of pores by a total surface area of the first surface extending around the pores, and where the porosity ratio is between approximately 0.20 and approximately 0.80.

2. The liquid/gas diffusion layer of claim 1 wherein the calculated porosity ratio is between approximately 0.25 and approximately 0.35.

3. The liquid/gas diffusion layer of claim 2 wherein the calculated porosity ratio is between approximately 0.28 and approximately 0.32.

4. The liquid/gas diffusion layer of claim 1 wherein the calculated porosity ratio is between approximately 0.65 and approximately 0.75.

5. The liquid/gas diffusion layer of claim 4 wherein the calculated porosity ratio is between approximately 0.68 and approximately 0.72.

6. The liquid/gas diffusion layer of claim 1 wherein the peripheral shape of each pore is circular and each pore has a diameter and the diameter is between approximately 10 μm and 800 μm.

7. The liquid/gas diffusion layer of claim 6 wherein the diameter is between approximately 200 μm and 600 μm.

8. The liquid/gas diffusion layer of claim 7 wherein the diameter is between approximately 350 μm and 450 μm.

9. The liquid/gas diffusion layer of claim 1 wherein the peripheral rim shape of a pore is selected from the group consisting of circular, rectangular, square, and triangular.

10. The liquid/gas diffusion layer of claim 9 wherein the peripheral shape of each pore is the same shape.

11. The liquid/gas diffusion layer of claim 1 wherein the pores are uniformly distributed in a pattern.

12. The liquid/gas diffusion layer of claim 1 wherein the thickness of said body is less than 200 μm.

13. The liquid/gas diffusion layer of claim 12 wherein the thickness of said body is less than 30 μm.

14. The liquid/gas diffusion layer of claim 13 wherein the thickness of said body is approximately 25.4 μm.

15. The liquid/gas diffusion layer of claim 1 wherein said body is made of a titanium or titanium alloy material.

16. The liquid/gas diffusion layer of claim 1 wherein, when the plurality of pores is filled with air and the first surface is level, a contact angle between a drop of water and the first surface measures between approximately 60 degrees and approximately 85 degrees.

17. The liquid/gas diffusion layer of claim 1 wherein one of the first or the second surfaces is coated with a layer of catalyst material.

18. The liquid/gas diffusion layer of claim 17 wherein the catalyst material layer is between approximately 3 nm and 20 nm thick.

19. The liquid/gas diffusion layer of claim 18 wherein the catalyst material layer is approximately 15 nm thick.

20. The liquid/gas diffusion layer of claim 17 wherein the catalyst material layer is Pt.

21. The liquid/gas diffusion layer of claim 17 wherein the catalyst material layer is chosen from the group consisting of Ir, IrOx, and IrRuOx.

22. A proton exchange membrane electrolyzer cell comprising:

an anode liquid/gas diffusion layer having a planar body having a first surface and a second surface that are separated by a thickness, said body defining a plurality of straight-through, non-interconnected, pores extending through the thickness, between the first surface and the second surface, with each pore having a peripheral shape, a throat area, and where each pore is separated from one another by a land length distance; and

wherein said body has a porosity ratio that is calculated by dividing a total throat area of the plurality of pores by a total surface area of the first surface around the pores, and where the porosity ratio is between approximately 0.20 and approximately 0.80.

23. The liquid/gas diffusion layer of claim 20 wherein the peripheral shape of each pore is circular and each pore has a diameter and the diameter is between approximately 10 μm and 800 μm.

24. The liquid/gas diffusion layer of claim 20 wherein the peripheral shape of a pore is selected from the group consisting of circular, rectangular, square and triangular.

25. The liquid/gas diffusion layer of claim 20 wherein the thickness of said body is less than 200 μm.

26. The liquid/gas diffusion layer of claim 20 wherein one of the first or the second surfaces is coated with a layer of catalyst material.

27. The liquid/gas diffusion layer of claim 26 wherein the catalyst material layer is Pt.

28. The liquid/gas diffusion layer of claim 26 wherein the catalyst material layer is chosen from the group consisting of Ir, IrOx, and IrRuOx.

Описание

STATEMENT REGARDING FEDERALLY SPONSORED RESEARCH AND DEVELOPMENT

[0001]

This invention was made with government support under Contract No. DE-AC05-00OR22725 and DE-FE0011585 awarded by the U.S. Department of Energy. The government has certain rights in the invention.

CROSS-REFERENCE TO RELATED APPLICATIONS

[0002]

None.

THE NAMES OF THE PARTIES TO A JOINT RESEARCH AGREEMENT

[0003]

None.

INCORPORATION-BY-REFERENCE OF MATERIAL SUBMITTED ON A COMPACT DISC OR AS A TEXT FILE VIA THE OFFICE ELECTRONIC FILING SYSTEM (EFS-WEB)

[0004]

None.

STATEMENT REGARDING PRIOR DISCLOSURES BY THE INVENTOR OR A JOINT INVENTOR

[0005]

International Journal of Hydrogen Energy, Volume 41, Issue 4, 30 Jan. 2016, Pages 3128-3135, “Additive manufacturing of liquid/gas diffusion layers for low-cost and high-efficiency hydrogen production”, Jingke Mo, Ryan R. Dehoff, William H. Peter, Todd J. Toops, Johney B. Green Jr., Feng-Yuan Zhang, Received 9 Nov. 2015, Accepted 6 Dec. 2015, Available online 14 Jan. 2016. Science Advances, “Discovery of true electrochemical reactions for ultrahigh catalyst mass activity in water splitting”, Jingke Mo, Zhenye Kang, Scott T. Retterer, David A. Cullen, Todd J. Toops, Johney B. Green Jr., Matthew M. Mench, Feng-Yuan Zhang, Accepted 29 Sep. 2016, Published 18 Nov. 2016.

BACKGROUND OF THE INVENTION

1. Field of the Invention

[0006]

The present disclosure relates to proton exchange membrane electrolyzer cells (PEMEC) and particularly to liquid/gas diffusion layers (LGDL) used in a PEMEC.

[0007]

2. Description of the Related Art

[0008]

Renewable energy sources, including solar, wind, hydro, biomass and geothermal power, produce clean electricity in sustainable ways. However, most of these renewable sources are variable and often produce electricity intermittently (e.g., only during daylight or when windy), which present major challenges in delivering consistent power to operate today's electrical grid. In addition, the current electrical grid has very limited ability to react to the fluctuations from renewable energy sources. For this reason, a sustainable, high-efficiency, and robust electrochemical energy storage/conversion or a hybrid system to accommodate daily or even hourly changes becomes more critical.

[0009]

An advanced proton exchange membrane electrolyzer cell (PEMEC), which is a reverse PEM fuel cell (PEMFC), has been considered as a very attractive energy storage method for producing hydrogen/oxygen from water splitting when coupled with renewable energy sources. PEMECs have several advantages, such as: efficiency, compact design, large capacity, quick startup, and low maintenance activities, and effectively connect renewable electricity supply and multiscale energy demands including stationary, transportation, and portable applications. When renewable energy resources are available, hydrogen/oxygen is produced and stored with a PEMEC. Later, hydrogen/oxygen can be converted back to water and electricity with a PEM fuel cell (PEMFC), whether the renewable source is available or not. Additionally, surplus electricity in electric grids during off-peak periods can also be stored via the electrolyzer. This makes hybrid energy systems able to provide renewable and reliable energy at different scales whenever and wherever needed.

[0010]

Liquid/gas diffusion layers (LGDLs) are located between a catalyst layer and a flow field/current collector in an electrolyzer. The role of the LGDL is to transport fuel, electrons, heat and products, with minimum voltage, current, thermal and fluidic losses. Effective diffusion media will promote a uniform current/thermal distribution at the adjacent catalyst layer. The LGDL has the following functions: (1) Reactant permeability for providing reactant water access effectively from flow-field channels to catalyst layers; (2) Product permeability for providing passage for removal of products of H2/02 from catalyst-layer area to flow-field channels; (3) Electronic conductivity for providing electronic conductivity to reaction sites; (4) Thermal conductivity for providing efficient heat transport and uniform heat distribution; (5) Mechanical strength for providing mechanical support to the membrane electrode assembly (MEA) in case of reactant pressure difference between the anode and cathode gas channels, maintain good contact (i.e., good electrical and thermal conductivity) with the catalyst layer, and not compress into channels resulting in blocked flow and high channel pressure drop.

[0011]

Currently, titanium products of woven and sintered mesh, expanded foam and sintered fiber felt are utilized as the LGDL at the anode side, and carbon fibers are used for the cathode side. The thickness of the anode LGDL is larger than 0.5 mm with significant electrical conductive path and fluidic resistance. In addition, the pore morphology results in nonuniform interfacial contact resistance. More importantly, random and complicated structures in felt/foam or particles in sintered Titanium layers make it impossible to control the water/electron/thermal distribution. Furthermore, these structures include random pore morphologies and are difficult to model analytically as the random morphologies will differ from a static analytic model.

[0012]

LGDLs with minimum losses of transport, superior electrical and thermal properties combined with high durability in oxidizing and reducing environments are needed.

BRIEF SUMMARY OF THE INVENTION.

[0013]

Disclosed are several examples of a liquid/gas diffusion layer (LGDL) for use in a proton exchange membrane electrolyzer cell (PEMEC). An exemplary LGDL broadly includes a planar body having first and second surfaces that are separated by a body thickness. The body defines a plurality of straight-through, non-interconnected, pores extending through the thickness, between the first surface and the second surface. Each pore has a peripheral rim shape, a throat area or open cross sectional area, and is separated from one another by a land length distance or the distance between peripheral rims. The body has a porosity ratio that is calculated by dividing a total throat area of the plurality of pores by a total surface area of the second surface extending around the pores, and where the porosity ratio is between approximately 0.20 and approximately 0.80.

[0014]

The preceding summary is provided to facilitate an understanding of some of the innovative features unique to the embodiments and is not intended to be a full description. A full appreciation of the various aspects of the embodiments disclosed can be gained by taking the following specification, claims, drawings, and abstract as a whole.

BRIEF DESCRIPTION OF THE SEVERAL VIEWS OF THE DRAWING(S).

[0015]

The invention may be better understood with reference to the following drawings and description. Non-limiting and non-exhaustive descriptions are described with reference to the following drawings. The components in the figures are not necessarily to scale, emphasis instead being placed upon illustrating principles. In the figures, like referenced numerals may refer to like parts throughout the different figures unless otherwise specified.

[0016]

FIG. 1 is a simplified schematic representation of a portion of a proton exchange membrane electrolyzer cell (PEMEC) with the basic reactions shown.

[0017]

FIG. 2 is a scanning electron microscopic (SEM) image of a prior art liquid/gas diffusion layer (LGDL) for use in a proton exchange membrane electrolyzer cell.

[0018]

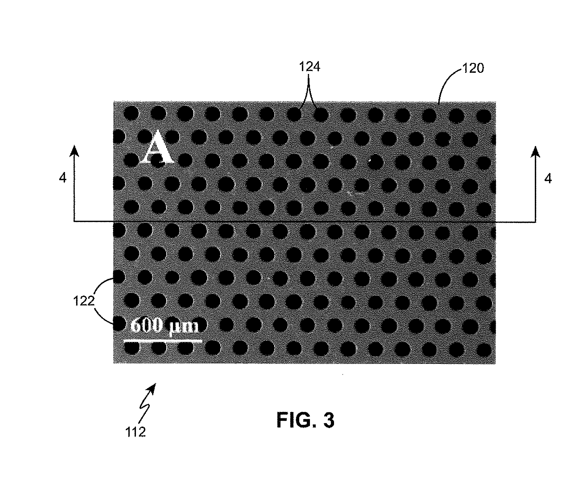
FIG. 3 is a scanning electron microscopic image of an exemplary LGDL, according to the present disclosure, for use in a proton exchange membrane electrolyzer cell and having a plurality of approximately circular shaped pores.

[0019]

FIG. 4 is a cross-sectional view of the exemplary LGDL from FIG. 3 taken along Line 4-4 with cross hatch patterning to identify areas of solid material.

[0020]

FIG. 5 is a scanning electron microscopic image of an exemplary LGDL for use in a proton exchange membrane electrolyzer cell and having a plurality of approximately circular shaped pores.

[0021]

FIG. 6 is a scanning electron microscopic image of an exemplary LGDL for use in a proton exchange membrane electrolyzer cell and having a plurality of approximately triangular shaped pores.

[0022]

FIG. 7 is a scanning electron microscopic image of an exemplary LGDL for use in a proton exchange membrane electrolyzer cell and having a plurality of approximately square shaped pores.

[0023]

FIG. 8 is a schematic illustration of an exemplary LGDL for use in a proton exchange membrane electrolyzer cell and having a plurality of approximately circular shaped pores of several different sizes.

[0024]

FIG. 9 is a schematic illustration of an exemplary LGDL for use in a proton exchange membrane electrolyzer cell and having a plurality of approximately square and circular shaped pores of several different sizes.

[0025]

FIG. 10 is a schematic representation of a droplet of liquid on an LGDL surface to illustrate a hydrophilic effect.

[0026]

FIG. 11 is a schematic illustration of a series of method steps for manufacturing a highly tunable LGDL according to the present disclosure.

[0027]

FIG. 12 is a scanning electron microscopic image, under varying magnifications, of an exemplary LGDL for use in a proton exchange membrane electrolyzer cell and having approximately square shaped pores and manufactured using a selective laser sintering (SLS) manufacturing method.

[0028]

FIG. 13 is an exploded illustration of a proton exchange membrane electrolyzer cell that was used to evaluate the performance of several LGDL embodiments according to the present disclosure.

[0029]

FIG. 14 is a chart illustrating the effects of liquid droplet contact angle α, on the liquid saturation distribution inside the LGDL.

[0030]

FIG. 15 is a chart illustrating the effects of liquid droplet contact angle α on the cell performance and efficiency.

[0031]

FIG. 16 is a chart illustrating the effects of LGDL thickness on the cell performance and efficiency.

[0032]

FIG. 17 is a chart illustrating the efficiency improvements of an exemplary LGDL, according to the present disclosure, over a conventional, felt LGDL.

[0033]

FIG. 18 is a chart illustrating the effects of pore size and porosity ratio of the exemplary LGDLs on cell efficiency.

[0034]

FIG. 19 is a chart illustrating the effects of pore size and porosity of the exemplary LGDLs on cell efficiency and is a magnified view of the upper-right hand portion of FIG. 18.

[0035]

FIG. 20 is a chart illustrating electrochemical impedance spectroscopy results of the exemplary LGDLs.

[0036]

FIG. 21 is a side-by-side schematic illustration of a catalyst coated membrane and a catalyst coated LGDL according to two examples.

[0037]

FIG. 22 is a chart illustrating the effect of the coated catalyst layer location on cell efficiency.

[0038]

FIG. 23 is a chart illustrating the mass activity of the catalyst based on the coated catalyst layer location.

DETAILED DESCRIPTION OF THE INVENTION

[0039]

With reference first to FIG. 1, a proton exchange membrane electrolyzer cell (PEMEC) 100 broadly comprises a catalyst-coated proton exchange membrane 102 sandwiched by anode 104 and cathode 106 electrodes. Each electrode 104, 106 includes a corresponding catalyst layer (CL) 108, 110, a corresponding liquid/gas diffusion layer (LGDL) 112, 114, and a corresponding bipolar plate (BP) 116, 118, which also acts as the current distributor (CD) and the flow field. After electricity is applied, water is split into molecular oxygen, protons, and electrons at the anode side.

[0040]

Dioxygen, as one product on the anode CL 108, is ideally transported from the anode CL 108 through the anode LGDL 112 back to the flow field to avoid blocking the anode LGDL 112, which can hinder the reaction. Electrons, which are also generated at anode CL 108, pass through the anode LGDL 112, anode BP 116, and external circuit, and then back to the cathode side 118. Meanwhile, protons pass through the catalyst-coated membrane 102 to the cathode 118 and react with electrons which come from the external circuit to form di-hydrogen. I-12 and 02 are produced and stored continuously as long as water and electricity are supplied. Thus, not only should the water be supplied continuously, but also the oxygen and hydrogen should be effectively removed through the anode and cathode LGDLs 112 and 114, respectively. This is especially important at high current density, where mass transport is a dominant limiting factor of PEMEC 100 performance.

[0041]

FIG. 2 is a SEM image of one example of an industry standard, prior art, anode LGDL 212 made of sintered Titanium felt. The individual fibers are coarse, approximately 20 μm in diameter, and create a non-ordered, interconnected, three-dimensional porous structure. With this structure, it is impossible to control individual pore size, pore distribution, and porosity ratio due to the random fiber morphology and interconnected flow channels. There is also significant fluidic and electrical conductive resistance and degradation of porosity and permeability over time.

[0042]

Non-exhaustive examples of anode liquid/gas diffusion layers (LGDLs) 112 for use in a PEMEC 100 are illustrated in FIGS. 3-9. In each example, LGDL 112 includes a planar body 120 made of a metallic alloy foil, including a plurality of straight-through, two-dimensional pores 122 or apertures defined by one or more peripheral rim 124 shapes. Pores 122 extend through body thickness 126 from a first surface—128—to a second surface—130—as shown best in FIG. 4.

[0043]

In the specific example of FIG. 3, the pores 122 have peripheral rim 124 shapes that are approximately circular and of approximately equal throat area, with pore diameters of approximately 100 μm and a porosity ratio ε of approximately 0.30. Each row of pores 122 is linearly offset from adjacent rows as shown. In the specific example of FIG. 5, the pores 122 have peripheral rim 124 shapes that are approximately circular and of approximately equal throat area, with pore diameters of approximately 200 μm and a porosity ratio of approximately 0.30. Each row of pores 122 is linearly offset from adjacent rows. In the example of FIG. 6, the pores 122 have peripheral rim 124 shapes that are approximately triangular shaped and of approximately equal throat area. In this example, adjacent pores 122 alternate their positions along each row. In the example of FIG. 7, the pores 122 have peripheral rim 124 shapes that are approximately square shaped and of approximately equal throat area. Each row of pores 122 is linearly aligned with adjacent rows. In the example of FIG. 8, the pores 122 have peripheral rim 124 shapes that are approximately circular shaped and of three different throat areas. In the example of FIG. 9, the pores 122 have peripheral rim 124 shapes that are approximately circular and square shaped and of several different throat areas. The parameters that control pore 122 morphology such as: pore shape, throat area, pore distribution, pore pattern and overall porosity ratio can be well controlled during their manufacture and will be discussed in greater detail later.

[0044]

The throat area of a pore 122 and the distance between adjacent pores 122 are defined as pore size and land length distances, which are represented by D and L, respectively in FIG. 4 for example. The porosity a of the LGDL of FIG. 3, is defined as the ratio of total pore area, AP, divided by the total area of the land surface around the pores, AH, which is provided as exemplary equation (1) below:

[0000]

ɛ=APAH=36πD2(D+L)2(1)

[0000]

Equation 1 is but one example of a porosity equation and additional porosity equations are published for different pore shapes and patterns. In general, a calculated porosity ratio of 1.0 is fully open with no land area and no restrictions, and a calculated porosity ratio of 0.0 is fully closed with full land area and no pores.

[0045]

Equation 1 was used to design a set of anode LGDLs 112 with different pore sizes and porosity ratios. Due to manufacturing tolerances, the exact parameters of each exemplary LGDL 112 were measured before evaluation. The pore size D and land length L distances were measured under an optical microscope so that the actual porosity a of each sample was calculated. Each sample was measured five times and the parameters are the average of the measured data, as shown in Table 1 below. Eight samples with different parameters, including pore sizes and porosities, were evaluated. Various pore sizes D ranging from approximately 100-800 μm with approximately 0.3 porosity ratio were prepared to investigate the effects of the pore size (A1-A5 samples). To study porosity, three additional LGDLs (B3-B5 samples) were made with 0.7 porosity ratio and pore sizes of about 400, 600, and 800 μm.

[0000]

Parameters of the exemplary titanium thin LGDLs
Index ofPore SizeLand LengthPoreCalculated
the LGDL(D) [μm](L) [μm]Distance [μm]Porosity (ε)
A1101.0677.07178.130.29
A2199.11142.41341.520.31
A3424.64292.91717.550.32
A4586.96448.511035.470.29
A5791.61589.511381.120.30
B3415.5152.74468.250.71
B4585.4689.91675.370.68
B5789.16113.21902.370.69

[0046]

With respect to the anode LGDLs 112 according to the present disclosure, calculated porosity ratios of between approximately 0.25 and approximately 0.35 are preferable. Calculated porosity ratios of between approximately 0.28 and approximately 0.32 are more preferable. Calculated porosity ratios of between approximately 0.65 and approximately 0.75 are even more preferable. Calculated porosity ratios of between approximately 0.68 and approximately 0.72 are most preferable.

[0047]

Circular pore size D of between approximately 10 μm and approximately 800 μm are contemplated. Circular pore size D of between approximately 100 μm and approximately 800 μm are preferable. Circular pore size D of between approximately 200 μm and approximately 600 μm are more preferable. Circular pore size D of between approximately 350 μm and approximately 450 μm are most preferable.

[0048]

As described briefly above with regard to the examples of FIGS. 3-9, each pore 122 is defined by a peripheral edge or rim 124 that outlines an aperture shape having a throat or flow area. The shape may be circular, rectangular, square, triangular or otherwise shaped. In some examples, the shape of each pore 122 in a plurality of pores is the same shape. In other examples, the shape of some of the pores 122 differs from the shape of other pores in a plurality of pores. In some examples, the throat area of each pore 122 in a plurality of pores is the same size. In some examples, the throat area of each pore 122 in a plurality of pores is not the same size. In preferred examples, the pores 122 are distributed in a uniform pattern of rows, but nonuniform distributions are also contemplated.

[0049]

The exemplary anode LGDLs 112 are thin and have a body thickness 126, which is preferably less than 200 μm thick. A thickness 126 of less than 30 μm thick is more preferable and a thickness 126 of approximately 25.4 μm is most preferable. The effect of anode LGDL 112 thickness on cell performance and efficiency is shown in FIG. 16.

[0050]

The exemplary LGDLs 112 are made of a thin titanium foil of grade 2 from Ulbrich Stainless Steels and Special Metals, Inc., while various grades of titanium may be used in this application.

[0051]

The well-tunable LGDLs 112 with straight through pores 122 are hydrophilic as illustrated in the schematic of FIG. 10. Hydrophilic surfaces are very wettable and are characterized by contact angles of less than 90 degrees. The water contact angle α on the thin titanium foil, before processing and without any pores, was measured to be around 45°, while the micro pore features on the exemplary LGDLs 112 cause a significant surface wettability reduction. For instance, the water contact angles α with air-filled pores 122 for samples A1, A4 and B4 were measured to be approximately 81°, 63° and 71°, respectively. During the PEMEC 100 operation, the anode LGDLs 112 are immersed in liquid water, and the pores 122 of LGDLs 112 are also water filled. Under these conditions, the LGDL contact angles α were found to decrease greatly and liquid water transported through the LGDLs 112 very quickly during the measurements. These phenomena show that the titanium thin/well-tunable LGDLs 112 exhibit very hydrophilic wettability, and significantly reduce the transport loss of liquid water from the flow field to the reaction sites in a PEMEC 100 as illustrated in the data of FIGS. 14-15.

[0052]

With reference now to FIG. 11, a procedure for fabricating the thin film LGDLs 112 will now be discussed. Although titanium has a lot of advantages as raw material for LGDLs 112 such as high corrosion resistance, excellent electric conductivity and good mechanical properties, the material itself can be difficult to fabricate into complex structures with conventional techniques. The titanium thin/well-tunable LGDLs 112 are manufactured from thin foils by using lithographically patterned masks and a chemical wet etching method.

[0053]

An exemplary fabrication procedure for an exemplary titanium thin LGDL 112 begins with the design and fabrication of the photomasks, which is the most important step to control the pore size, pore shape and porosity ratio. A mask pattern was designed using commercially available CAD/VLSI software (LayoutEditor, layouteditor.net). The design pattern was imported into a Heidelberg DWL 66 laser lithography system and patterned on a soda-lime glass mask plate that is pre-coated with chromium and photoresist. After patterning, the masks were developed for 1 minute in Microposit® MF® CD-26 Developer (Shipley Company, Marlborough, Mass.), rinsed with DI water, and dried with N2. Masks were then submerged in chrome etchant for 2 minutes, rinsed with DI water, and dried with N2. The remaining resist was subsequently removed in a heated bath (70° C.) of N-Methyl Pyrolidone (NMP). Masks were rinsed with DI water and then dried with N2. In order to provide structural integrity and backing of the extremely thin titanium foil, foils were affixed to a silicon wafer during processing. Substrates were treated with Microprime P20 Primer (Shin-Etsu MicroSi, Inc., Phoenix, Ariz.) adhesion promoter by coating the substrate with adhesion promoter, waiting for 10 seconds, and spin-drying the samples at 3000 rpm for 45 seconds. Subsequently Microposit SPR220 photoresist (Rohm and Haas, Marlborough, Mass.) was spin-coated onto samples at 3000 rpm for 45 seconds. The titanium film was then placed on the resist coated silicon wafer with special care due to its delicate features, and mildly heated to 115° C. for 90 seconds. A second layer of P20 and SPR 220 photoresist was applied to the titanium foil under identical conditions, and after heating to 115° C. for 90 seconds, exposed to UV light using conventional contact photolithography. They were then developed in Microposit® MF® CD-26 Developer (Shipley Company, Marlborough, Mass.), rinsed with DI water, and dried with N2. Finally, after patterning the photoresist mask on the foil, the patterned material was etched in HF.

[0054]

In another example of FIG. 12, an exemplary LGDL 112 was fabricated using a three dimensional printing (3D-Printing) selective laser sintering (SLS) method. Here, an electron beam is used to selectively melt a top layer of a bed of titanium powder to form the LGDL 112 layer by layer. The titanium metal powder was spread into 50 vim layers and sintered by the electron beam to form the solid LGDL 112 having approximately rectangular shaped pores as shown. The pore size, shape, and pattern are first modeled using computer aided design (CAD) and a STL file format guides the electron beam path within the X-Y plane for each consecutive layer.

[0055]

An exemplary PEMEC 100, as shown in FIG. 13, was used for evaluating the exemplary anode LGDLs 112. The PEMEC 100 includes two endplates 200 which are made from thick, commercial grade aluminum to provide even compression on the cell. In order to apply a current to the cell, a copper plate 202 was inserted at the cathode as a current distributor. A cathode bipolar plate 118 was manufactured from graphite with a parallel flow field to distribute the flow over the active area of the cell. The catalyst-coated membrane 102 was comprised of Nafion 115, a perfluorosulfonic polymer with a thickness of 125 μm, an anode catalyst layer 108 with an IrRuOx catalyst loading of 3 mg/cm2, and a cathode catalyst layer 110 with a platinum black (PtB) catalyst loading of 3 mg/cm2. The cell was compressed by eight evenly distributed bolts, which were tightened to 40 in.-lb. of torque during assembly.

[0056]

The electrolyzer had an active area of 5 cm2 and was operated at a temperature of 80° C. The PEMEC 100 was connected to a modular potentiostat system with a current booster, which can operate under a current range of up to 100 A and a voltage range of up to 5 V. The hardware was connected to the Bio-Logic software EC-Lab, which was used to conduct performance testing and electrochemical impedance spectroscopy (EIS). While the cathode tubing was employed to safely exhaust hydrogen gas that formed during electrolysis, water was circulated through the anode of the PEMEC at a constant volumetric flow rate of 20 ml/min by a diaphragm liquid pump from KNF Neuberger. For the performance evaluation, a constant current was applied to the PEMEC, while the required voltage was measured. The current density was increased from 0 A/cm2 to 2 A/cm2 in steps. At each current density, the potential of the cell was measured for five minutes before incrementing the current density again. Five minutes was chosen as an acceptable amount of time, after which the cell potential remained stable.

[0057]

FIG. 17 illustrates an efficiency improvement of approximately 9%, from 79.0% to 87.8%, at a current density of 2.0 A/cm2 from an exemplary thin film LGDL 112 when compared to a conventional anode LGDL 212 of titanium felt. Here, LGDL thickness is reduced from 350 μm to 25 μm with pore size of 100 μm and porosity of approximately 0.3.

[0058]

FIGS. 18-19 show the impact of the pore size and porosity on current density (A/cm2) and cell voltage (V). With a decrease in the pore size at the same porosity, the PEMEC performance decreases. With an increase of the porosity from 0.3 to 0.7, the performance of the PEMEC was significantly improved. The porosity has greater impact on the PEMEC performance than pore size in this range. The efficiencies of the sample LGDLs 112 of Table 1, as shown in FIGS. 18-19, are ranked from lowest to highest efficiency in the following order: A5, A4, A3, A2, A1, B5, B4, and B3.

[0059]

FIG. 20 shows the electrochemical impedance spectroscopy results of the exemplary LGDLs. The left x-intercepts (at the high frequency part) indicate the ohmic loss of the whole PEMEC, while the right one (at the low frequency part) is the sum of the resistance. The distance between the two intercepts indicates the sum of activation and mass transport losses. LGDLs with a porosity of 0.3 have larger ohmic resistances, and the value decreases with the increase of porosity. The ohmic loss decreases significantly from around 0.08 ohm*cm2 for the LGDL with a porosity of 0.7 to less than 0.07 ohm*cm2 for one with a porosity of 0.3. LGDLs having a porosity of 0.7 show smaller first and second arcs, which indicates that the activation and mass transfer losses decrease with the increase of porosity from 0.3 to 0.7, and the sum of activation and mass transfer losses are reduced from about 0.046 ohm*cm2 for 0.3 porosity LGDLs to 0.039 ohm*cm2 for 0.7 porosity LGDLs

[0060]

During some experiments, a transparent and reaction-visible PEMEC, coupled with a high-speed and microscale visualization system (HMVS) were used to visualize the electrochemical reactions of the exemplary LGDLs 112. In these experiments, the true mechanisms of the rapid, microscale electrochemical reactions of splitting water in PEMECs was revealed visually for the first time. Unexpectedly, the reaction sites, where the oxygen bubbles are generated, have some preferences and did not uniformly occupy the entire catalyst layer (CL) 108 surface. The oxygen bubbles appear to be generated only at the interface of the LGDL 112 and CL 108. The visualization results indicate that observable reactions occur almost exclusively along the peripheral rim 124 that is in contact with the CL 108. Few reactions occurred in the middle area of LGDL pores 122. This discovery presents an opportunity to enhance the multiphase interfacial reactions and significantly reduce the use of expensive catalyst materials for commercial applications through heterogeneous distribution of catalysts only along the CL-LGDL interfaces.

[0061]

The conventional method of catalyst layer fabrication is via directly spraying or brushing a catalyst material on the membrane 102. On the basis of our findings, it would appear that a lot of catalysts are wasted in the middle area of LGDL pores 122. To optimize catalyst use, in the example LGDL 112 of FIG. 21, we sputter-coated the catalyst of thin Pt film on the LGDL. In other examples, Ir, IROx, or IrRuOx was used as the catalyst material. It is noteworthy that the thickness of the CL 108 was reduced from 15 μm to 15 nm; thus, the mass activity of the catalyst with sputter coating on LGDL is far greater than that with the conventional method of loading platinum black (Pt/B) on the membrane. In other examples, a CL 108 between approximately 3 nm and 20 nm is applied. FIG. 22 compares the effect of the coated catalyst layer location on cell efficiency. FIG. 23 provides a comparison of mass activities of the catalyst between a catalyst coated membrane and a sputter-coated catalyst on the exemplary LGDL. The mass activity is more than 50 times greater on the catalyst coated LGDL. Modifications such as this will significantly reduce the use of expensive catalysts in PEMECs while maintaining or improving performance levels, addressing the major barrier to the broad commercialization of PEMECs.

[0062]

By taking advantage of advanced micro/nano-manufacturing techniques, a new thin, planar titanium LGDL with straight-through, non-interconnected pores and well-tunable pore morphologies is provided. In some examples, a catalyst layer is coated on the LDGL itself. The well-controllable pore size and porosity help to systematically examine the effects of the pore morphology, and to characterize the two-phase transport through the LGDL. The effects of well-defined pore parameters such as pore size and porosity on the PEMEC performance have been comprehensively disclosed. Both the electro-potential performance and electrochemical impedance are evaluated with the exemplary LGDLs, and significant improvements have been achieved. In addition, the LGDL thickness is reduced from greater than hundreds of micrometers of conventional LGDLs to only 25 microns for the exemplary LGDLs, which remarkably reduces the transport and ohmic resistances. More importantly, the development of thin, highly tunable LGDLs with straight pores permits direct visualizations of the electrochemical reactions, which facilitate better understanding of effects of the LGDL pore size and porosity.

[0063]

While this disclosure describes and enables several examples of anode liquid/gas diffusion layers and proton exchange membrane electrolyzer cells, other examples and applications are contemplated. Accordingly, the invention is intended to embrace those alternatives, modifications, equivalents, and variations as they fall within the broad scope of the appended claims. The technology disclosed and claimed herein may be available for licensing in specific fields of use by the assignee of record.

Как компенсировать расходы
на инновационную разработку
Похожие патенты